
Volume: 12 Issue: 07 | Jul 2025 www.irjet.net
![]()

Volume: 12 Issue: 07 | Jul 2025 www.irjet.net
1Priyanka Bhondve, 2Mayuri Desai, 3Suhani Kasliwal, 4Prof. Mrs. Sanjyot Thuse
123Student, 4Associate Professor 1234Electronics and Telecommunication, 1234P. E. S. Modern College of Engineering, Pune, India
Abstract The system captures live traffic footage and processes it to identify ambulances accurately. Upon detection, a signal is sent to the traffic control system, allowing automatic adjustments to traffic lights, ensuring a clear passage for the emergency vehicle. The integration of machine learning enhances detection accuracy, making the system efficient and reliable. By implementing this technology, response times for emergency services can be significantly improved, reducing delays caused by traffic congestion. This system has the potential to be integrated into smart city infrastructure, enhancing urban traffic management and emergency response efficiency.
Keywords – traffic, ambulance, emergency, detection, management
Trafficcongestioninurbanareashasbecomeagrowingconcern,particularlyinmetropolitancitieswhereroadnetworks are often overburdened. One of the most critical consequences of traffic congestion is the delay caused to emergency vehicles, such as ambulances. In life-threatening situations, every second counts, and any delay in reaching the hospital can have severe consequences for patients in critical condition. Conventional traffic control systems operate on fixed timing sequences and do not adapt to emergency requirements, leading to significant delays for ambulances stuck in traffic. To address this issue, an intelligent traffic control system is required that can dynamically manage traffic signals basedonreal-timeambulancedetection.
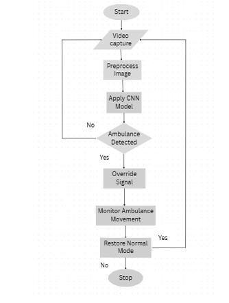
This project, Priority-Based Traffic Signal System for Ambulances, aims to develop a smart traffic management systemthatcanautomaticallydetectambulancesandadjusttrafficsignalsaccordingly.ThesystemutilizesaRaspberryPi as the primary computing unit, interfaced with a camera module to capture real-time traffic footage. The video feed is processed using a Convolutional Neural Network (CNN) algorithm, which is trained to accurately recognize ambulances withinthetraffic.Onceanambulanceisdetected,thesystemsendsa signal tothetrafficcontrol unit,allowingthetraffic lighttochangeinfavoroftheemergencyvehicle,therebyensuringaclearpassagethroughcongestedareas.
The core functionality of the project relies on machine learning-based image processing. CNN, a powerful deep learning model, is used for real-time object detection, ensuring accurate recognition of ambulances from the video feed. The Raspberry Pi processes the captured images, runs the trained CNN model, and communicates with the traffic light controller. By integrating these technologies, the system is capable of making real-time decisions, significantly reducing delaysforemergencyvehicles.
The proposedsystem offersseveral advantages overtraditional trafficmanagement methods.Unlikeconventional fixed-timer traffic signals, this system is adaptive and responsive, making it more efficient in handling emergency situations.Iteliminatestheneedforhumanintervention,reducingmanualerrorsandincreasingreliability.Furthermore, thesystemcanbeintegratedintosmartcityinfrastructures,enhancingoverallurbantrafficmanagementandemergency responseefficiency.
Thesuccessfulimplementationofthisprojecthasthepotentialtosavelivesbyreducingambulanceresponsetimes and ensuring timely medical attention for patients in need. With continuous advancements in artificial intelligence and embeddedsystems,thisapproachcanbefurtherenhancedbyintegratingvehicle-to-infrastructure(V2I)communication, IoT-based data exchange, and additional machine learning optimizations. This project lays the foundation for a more intelligentandresponsivetrafficmanagementsystem,contributingtosaferandsmartercitiesinthefuture.
This project aims to develop a real-time ambulance detection system using computer vision and deep learning techniquestoenhanceemergencyresponseefficiency.AConvolutionalNeuralNetwork(CNN)modelwillbeimplemented to accurately identify ambulances from live traffic footage. The system will integrate a Raspberry Pi-based embedded solution for processing image data and controlling traffic signals, enabling automated signal adjustments to prioritize International Research Journal of Engineering and Technology (IRJET) e-ISSN: 2395-0056

International Research Journal of Engineering and Technology (IRJET)
Volume: 12 Issue: 07 | Jul 2025 www.irjet.net
e-ISSN: 2395-0056
p-ISSN: 2395-0072
ambulancemovement.Byminimizingmanualinterventionintrafficmanagement,theprojectseekstoreducehumanerrors and response delays. Additionally, the system is designed to be cost-effective and scalable, ensuring seamless integration into existing traffic infrastructure. Ultimately, this project contributes to smart city traffic management by optimizing emergencyvehiclemovementandimprovingroadusageefficiency.
III. Block Diagram

IV. Proposed System
1. Camera Module:
Thecameracapturesreal-timeimagesoftheroadandapproachingvehicles.
Itactsastheprimaryinputdevice,providingimageframestotheRaspberryPiforprocessing.
Ahigh-resolutionUSBwebcamoraRaspberryPiCameraModuleisusedforaccurateimageacquisition.
2. Input as Image:
ThecapturedimagesfromthecameraareconvertedintodigitalformandsentasinputtotheRaspberryPi. Theseimagesarethenprocessedusingcomputervisiontechniquesbeforebeinganalyzedbythedeeplearningmodel.
3. Raspberry Pi (Main Processing Unit):
Thisisthecoreprocessingunitofthesystem,responsibleforambulancedetectionandsignalcontrol.
It performs several operations, including image preprocessing, feature extraction,and classification using a Convolutional NeuralNetwork(CNN)algorithm.

International Research Journal of Engineering and Technology (IRJET) e-ISSN: 2395-0056
Volume: 12 Issue: 07 | Jul 2025 www.irjet.net p-ISSN: 2395-0072
Basedonthedetectionresults,itdecideswhethertooverridethetrafficsignaltoallowambulancepassage.
4. Preprocessing:
Imagepreprocessingenhancesthequalityofcapturedimagesforbetteranalysis. Itincludesoperationssuchasgrayscaleconversion,noisereduction,resizing,andcontrastadjustments. ThisstepensuresthattheCNNmodelreceivesclearandoptimizedimagesforfeatureextraction.
5. Feature Extraction:
Inthisstep,importantfeaturessuchasambulanceshape,color,andemergencysirenpatternsareextracted.
TheCNNmodelprocessesthesefeaturestodistinguishanambulancefromothervehicles.
Thisensuresahighdetectionaccuracyundervariouslightingandtrafficconditions.
6. CNN Algorithm Working:
Atraineddeeplearningmodel(CNN)isusedtoclassifywhetherthedetectedvehicleisanambulanceoraregularvehicle.
TheCNNmodelconsistsofmultiplelayers,includingconvolutionallayers,poolinglayers,andfullyconnectedlayers,which analyzepatternsintheimages
Oncetrained,themodelcanidentifyambulanceswithhighaccuracyandmakereal-timedecisions.
7. Output – Ambulance Detected or Not:
Ifanambulanceisdetected,asignalissenttooverridethetrafficlightsystem,givingitthehighestpriority.
Ifnoambulanceisdetected,normaltrafficlightoperationscontinueasperstandardtimingcycles.
8. Traffic Signal Control:
TheRaspberryPicontrolsthetrafficsignalbasedonambulancedetectionresults.
Ifanambulanceisdetected,theredlightisoverridden,turningthesignalgreenfortheambulancetopass.
Oncetheambulancecrossestheintersection,thesystemresumesnormaltrafficlightoperations.
9. Power Supply
TheRaspberryPi4canbepoweredthroughaUSBportonthePCusingaUSB-Ccable.
ThePCprovides5VDCpowertotheRaspberryPi,ensuringstableoperation.
The camera module and other connected components also receive power through the Raspberry Pi’s GPIO or USB ports
ThePCcanalsoprocessanddisplayoutputsifneeded,providinganinterfaceformonitoringthesystem.

International Research Journal of Engineering and Technology (IRJET) e-ISSN: 2395-0056
Volume: 12 Issue: 07 | Jul 2025 www.irjet.net p-ISSN: 2395-0072
V. Flowchart

VI. Conclusion
Thedevelopmentofareal-timeambulancedetectionsystemusingcomputervisionanddeeplearningoffersasignificant advancementintrafficmanagementandemergencyresponse.ByimplementingaConvolutionalNeuralNetwork(CNN)for accurate ambulance identification and integrating a Raspberry Pi-based embedded system for automated traffic signal control,thisprojectensurespriorityclearanceforemergencyvehicles.Theautomationoftraffic signalsminimizeshuman intervention,reducingerrorsanddelayswhileimprovingoverallroadefficiency.Additionally,thesystemisdesignedtobe cost-effective and scalable, making it a viable solution for modern smart city infrastructure. Ultimately, this project enhances emergency response times, optimizes traffic flow, and contributes to a safer and more efficient urban transportationnetwork.
VII. Acknowledgement
We extend our heartfelt gratitude to everyone who contributed to the successful completion of our project, ‘PriorityBased Traffic Siignal System For Ambulances’. We are deeply appreciative of Mrs. Sanyjot Thuse, whose unwavering guidance, expertise, and encouragement have been instrumental in shaping this project. Her insightful feedback and constant support have greatly enriched our understanding and helped us navigate challenges effectively. Our sincere gratitudegoestoPrincipalK.R.Joshiforhersteadfastsupportandbeliefintheimportanceofinnovativeprojectslikethis. Herencouragementandleadershipprovideduswiththemotivationtopursuethisendeavorwithdedication.
We also express our appreciation to the Electronics and Telecommunication Department, particularly Dr. Mrs. R. S. Kamathe, for her technical expertise and invaluable assistance throughout the course of this project. The resources and guidanceprovidedbythedepartmentplayedavitalroleinitssuccessfulexecution.
[1]JananiSaradha,G.Vijayshri,T.Subha“IntelligentTrafficcontrolSystemforAmbulanceusingRFIDandCLOUD.“IEEE SecondInternationalConferenceOncomputingandCommunicationechnologies(ICCT‟17)201718-08-2017,15.14
[2] P.Shiny, I.Thasneem Banu, B.Thenmozhi, U.T.Sasikala & Dr.M.Ramkumar Prabhu “Intelligent Traffic Control System forCongestionControlusingImageProcessing,AmbulanceClearance,andStolenVehicleDetection”.“InternationalJournal ofAdvancedReasearchTrendsinEngineeringAndTechnology(IJARTET)2016”20-08-2017,09.00

International Research Journal of Engineering and Technology (IRJET) e-ISSN: 2395-0056
Volume: 12 Issue: 07 | Jul 2025 www.irjet.net p-ISSN: 2395-0072
[3]PrashantJadhav,PratikshaKelkar,KunalPatil,SnehalThorat“SmartTrafficControlSystemusingImageProcessing”. “InternationalResearchJournalofEngineeringAndTechnology(IRJET)2016”.25-082017,17.00
[4] Arif A. Bookseller, Rupali R. Jagtap “Image processing based adaptive traffic control system”.”IOSR Journal of ElectronicsandCommunicationEngineering(IOSR-JECE)”.30-08-2017,19.30
[5] Pandiaraj, K., et al. "RFID Based Automatic Lane Clearance for Ambulance." 2021 International Conference on AdvanceComputingandInnovativeTechnologiesinEngineering(ICACITE).IEEE,2021.
[6] Deepajothi, S., et al. "Intelligent Traffic Management for Emergency Vehicles using Convolutional Neural Network." 20217thInternationalConferenceonAdvancedComputingandCommunicationSystems(ICACCS).Vol.1.IEEE,2021
[7]Kamdar,Arihant,andJigarkumarShah."Smarttrafficsystemusingtrafficowmodels."2021InternationalConference onArtificialIntelligenceandSmartSystems(ICAIS).IEEE,2021.
[8]RachanaKP,AravindR,RanjithaM,SpoorthiJwanita,SoumyaK,2021,IOTBasedSmartTrafficManagementSystem, INTERNATIONALJOURNALOFENGINEERINGRESEARCH&TECHNOLOGY(IJERT)NCCDS–2021(Volume09–Issue12),
[9]V.Bali,S.Mathur,V.SharmaandD.Gaur,"SmartTrafficManagementSystemusingIoTEnabledTechnology,"2020 2nd International Conference on Advances in Computing, Communication Control and Networking (ICACCCN), 2020, pp. 565-568,doi10.1109/ICACCCN51052.2020.9362753.
[10] Lingani, Guy M., Danda B. Rawat, and Moses Garuba. "Smart traffic management system using deep learning for smart city applications." 2019 IEEE 9th annual computing and communication workshop and conference (CCWC). IEEE, 2019.
[11] Javaid, Sabeen, et al. "Smart traffic management system using Internet of Things." 2018 20th international conferenceonadvancedcommunicationtechnology(ICACT).IEEE,2018
[12]Ghazal,Bilal,etal."Smarttrafficlightcontrolsystem."2016thirdinternationalconferenceonelectrical,electronics, computerengineeringandtheirapplications(EECEA).IEEE,2016.
[13]Lanke,Ninad,andSheetalKoul."Smarttrafficmanagementsystem."InternationalJournalofComputerApplications 75.7(2013)
[14] Smart Traffic Control System for Emergency Vehicle Clearance, D.Aswani, Student, Department of ECE, C. Padma, (Ph.D), Assistant Professor, Department of ECE, Priyadarshini Institute of Technology, Ramachandrapuram, Tirupati, A.P., India.