Deutz-Fahr 5545 H 5565 H 5585 HT Combine Harvester Instruction book Manual - PDF DOWNLOAD

Page 22

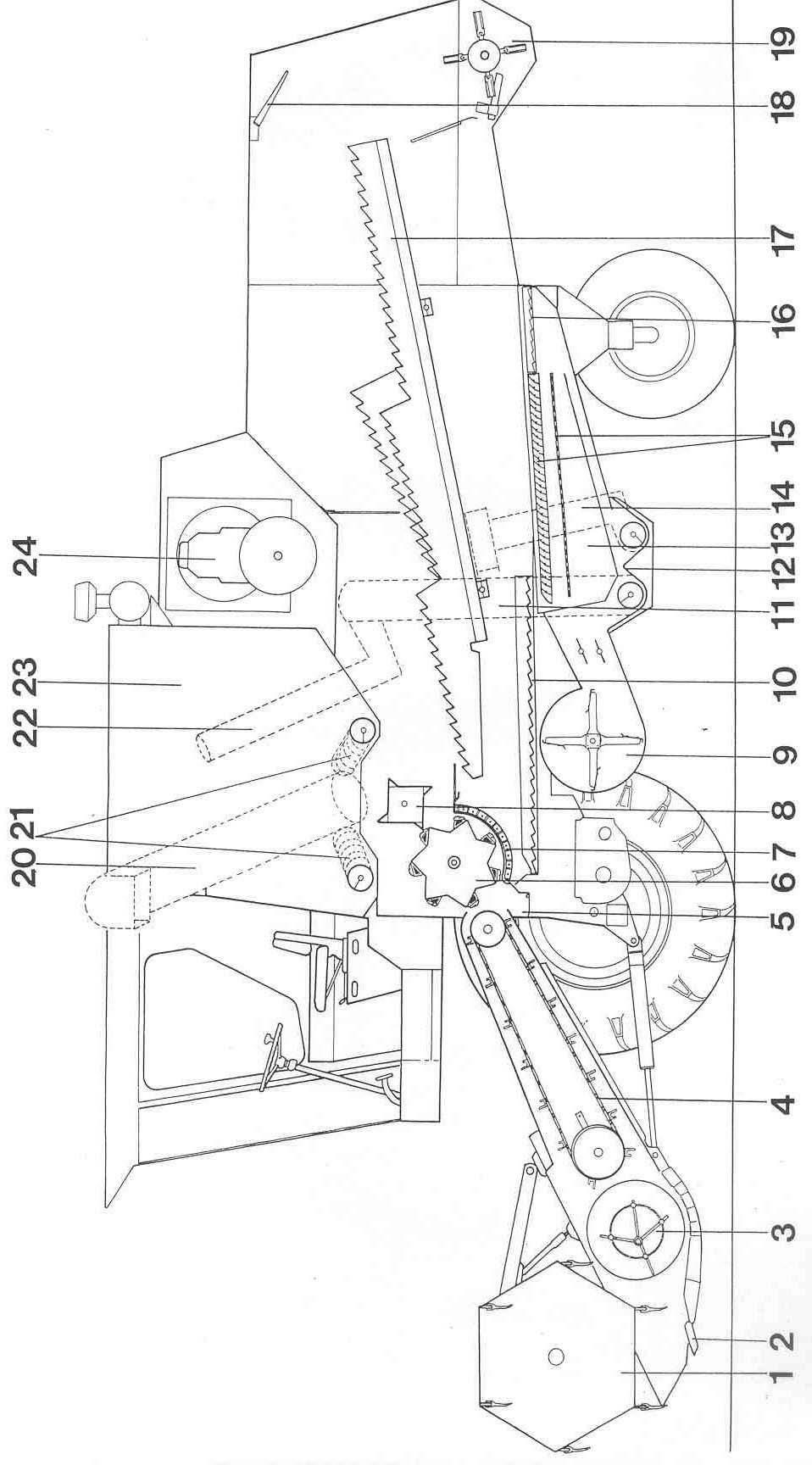
1. Pick-up reel 2. Cutter bar 3. Table auger 4. Crop elevator

5. Stone trap 6. Threshing cylinder 7. Concave 8. Rear beater

9. Fan 10. Grain pan 11. Grain elevator 12. Auger housing

20

13. Shaker shoe 14. Return auger 15. Sieves 16. Sieve extension

17. Straw walkers 18. Straw alarm 19. Straw chopper 20. Unloading pipe

CUT - AWAY PICTURE OF THE COMBINE

21. Bottom augers 22. Filling auger 23. Grain tank 24. Engine


Turn static files into dynamic content formats.

Create a flipbook
Issuu converts static files into: digital portfolios, online yearbooks, online catalogs, digital photo albums and more. Sign up and create your flipbook.
Deutz-Fahr 5545 H 5565 H 5585 HT Combine Harvester Instruction book Manual - PDF DOWNLOAD by www.heydownloads.com - Issuu