APLIKÁCIA PROGRESÍVNYCH
LABORATÓRNYCH METÓD NA HODNOTENIE
TERMICKEJ ODOLNOSTI RETARDAČNE
UPRAVENÉHO DREVA
Zvolen 2024
Táto publikácia bola podporená Agentúrou na podporu výskumu a vývoja na základe Zmluvy č. APVV-22-0030 „Návrh Smart riešení prepojenia výsledkov požiarneho skúšobníctva s počítačom podporovaným modelovaním pre zvýšenie kvality výstupov bezpečnostného výskumu“.
Autorky:
Ing. Elena Kmeťová, PhD.,
Technická univerzita vo Zvolene, Drevárska fakulta, Katedra protipožiarnej ochrany, T. G. Masaryka 2117/24, 960 01 Zvolen
prof. Bc. RNDr. Danica Kačíková, MSc., PhD.
Technická univerzita vo Zvolene, Drevárska fakulta, Katedra protipožiarnej ochrany, T. G. Masaryka 2117/24, 960 01 Zvolen
APLIKÁCIA PROGRESÍVNYCH LABORATÓRNYCH METÓD NA HODNOTENIE TERMICKEJ ODOLNOSTI RETARDAČNE UPRAVENÉHO DREVA
Vedecká monografia
Recenzenti: prof. Ing. Jozef Martinka, PhD., Slovenská technická univerzita v Bratislave prof. Bc. Ing. Linda Makovická Osvaldová, PhD., Žilinská univerzita v Žiline
I. vydanie v rozsahu 104 strán, 6,41 AH, 6,67 VH
Forma vydania: elektronická (online PDF)
Vydavateľ: Technická univerzita vo Zvolene
Rok vydania: 2024
Grafická úprava: autorky
Redakčná úprava: Vydavateľstvo Technickej univerzity vo Zvolene www.tuzvo.sk
Technická univerzita vo Zvolene
Ing. Elena Kmeťová, PhD. prof. Bc. RNDr. Danica Kačíková, MSc., PhD.
Vydanie schválila Edičná rada Technickej univerzity vo Zvolene dňa 19.2.2024, číslo EP 34/2024 ako vedeckú monografiu pre Technickú univerzitu vo Zvolene. Za vedeckú úroveň tejto publikácie zodpovedajú autorky a recenzenti. Rukopis neprešiel jazykovou úpravou.
ISBN 978-80-228-3435-3
Všetky práva sú vyhradené. Nijaká časť textu ani ilustrácie nemôžu byť použité na ďalšie šírenie akoukoľvek formou bez predchádzajúceho súhlasu autorov alebo vydavateľstva.
TECHNICKÁ UNIVERZITA VO ZVOLENE
DREVÁRSKA FAKULTA
APLIKÁCIA PROGRESÍVNYCH LABORATÓRNYCH METÓD NA HODNOTENIE TERMICKEJ ODOLNOSTI RETARDAČNE UPRAVENÉHO DREVA
Elena Kmeťová
Danica Kačíková
Predslov
Jedným z najrozšírenejších lignocelulózových materiálov používaných ako stavebný materiál je drevo. Používa sa v interiéroch a exteriéroch: stavebné prvky, obklady, podlahy, nábytok a pod. Drevo je obnoviteľný, ekologický materiál s mnohými vynikajúcimi mechanickými, fyzikálnymi a estetickými vlastnosťami.
V súčasnosti ale zohráva kľúčovú úlohu v oblasti stavebníctva otázka termickej odolnosti materiálov. Jej cieľom je zabezpečiť bezpečnosť a životaschopnosť materiálov a konštrukcií. Jedným z prístupov k zlepšeniu termickej odolnosti dreva je použitie retardérov horenia, ktoré ju môžu výrazne ovplyvniť Retardéry horenia sú chemické látky, ktoré môžu byť aplikované na povrch dreva, aby spomalili proces horenia dreva a znížili riziko šírenia požiaru.
Cieľom predloženej vedeckej monografie bolo vyhodnotiť vplyv chemických látok s retardačným účinkom aplikovaných na smrekové drevo, z hľadiska ich termickej stability po zaťažení sálavými a plameňovými zdrojmi s využitím laboratórnych a progresívnych testovacích metód.
Experimentálna časť publikácie, ktorá obsahuje originálne výsledky vlastných laboratórnych experimentov autorov, vznikla s finančnou podporou APVV. Táto práca bola podporená Agentúrou na podporu výskumu a vývoja na základe zmluvy č. APVV-22-0030.
1.6.3
2.2.2
2.2.3
Zoznam obrázkov
Obr. 1 Štrukturálne hladiny dreva (Reinprecht, 2008) ........................................................12
Obr. 2 Rezy v dreve (Mamoňová, 2016).............................................................................13
Obr. 3 Základné smery v dreve (Požgaj et al., 1997) 14
Obr. 4 Chemická štruktúra základných zložiek dreva (Fung et al., 1972) 16
Obr. 5 Transport tepla a látky – predpoklady horenia (Balog, Kvarčák, 1999 – upravené)20
Obr. 6 Štvorsten horenia (Kačíková et al., 2022 – upravené)..............................................21
Obr. 7 Schéma horenia látok v pevnom skupenstve (Kačíková et al., 2017)......................22
Obr. 8 Plameňové horenie organického paliva (Bengtson, 2001).......................................23
Obr. 9 Teplotno-časová krivka rozvoja požiaru (Karlsson, Quintiere, 2000 – upravené)...30
Obr. 10 Model prenosu tepla pre plameň šíriaci sa po pevných povrchoch (Zhang et al., 2013 – vlastná úprava)
Obr. 11 Šírenie a tvar plameňa pri rôznej orientácii povrchu (Gollner et al., 2017)
38
39
Obr.12 Schéma označenia vzdialenosti pri vzorkách testovaných na hlavnú plochu a spodnú hranu........................................................................................................................50
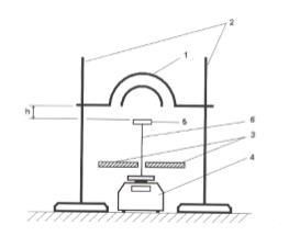
Obr. 13 Schéma skúšobného zariadenia pre skúšku zapáliteľnosti (STN EN 11925-2:2020) 51
Obr. 14 Dištančné teliesko horáka na dopad na hranu/ hlavnú plochu 52
Obr. 15 Schéma zariadenia na stanovenie rýchlosti šírenia plameňa po povrchu polymérnych materiálov (ÚV č. 9589)................................................................................53
Obr. 16 Priebeh experimentu pri 0° uhle sklonu vzorky.....................................................56
Obr. 17 Priebeh experimentu pri 45° uhle sklonu vzorky...................................................56
Obr. 18 Priebeh experimentu pri 90° uhle sklonu vzorky...................................................56
Obr. 19 Konštrukcia digitálneho mikroskopu Keyence VHX-7000 (foto: L. Adamčík)
Obr. 20 Rozloženie bodov pre meranie teploty povrchu pri modifikácii skúšky zapáliteľnosti (vpravo – 45°uhol, vľavo – 0° uhol)
57
58
Obr. 21 Rozloženie bodov pre meranie teploty povrchu pri modifikácii skúšky zapáliteľnosti – 90°uhol.......................................................................................................59
Obr. 22 Rozloženie bodov pre merania teploty povrchu pri skúške sálavým tepelným zdrojom
Obr. 23 Schematické znázornenie zariadenia pri skúške sálavým tepelným tokom (Mitterová, 2011)
59
60
Obr. 24 Schematické znázornenie kónického kalorimetra (Rantuch et al.,2015) 62
Obr. 25 Držiak vzorky.........................................................................................................62
Obr. 26 Fotodokumentácia vzoriek po skúške zapáliteľnosti pri namáhaní na hranu (vľavo) a plochu (vpravo).................................................................................................................65
Obr. 27 Relatívny úbytok hmotnosti retardačne upravených vzoriek pri skúške zapáliteľnosti
66
Obr. 28 Fotodokumentácia vzoriek po vykonaní experimentu pri 0° uhle sklonu 67
Obr. 29 Fotodokumentácia vzoriek po vykonaní experimentu pri 45° uhle sklonu 68
Obr. 30 Fotodokumentácia vzoriek po vykonaní experimentu pri 90° uhle sklonu............68
Obr. 31 Relatívny úbytok hmotnosti (- - -) a relatívna rýchlosť odhorievania ( ) vzoriek pri 0° uhle sklonu vzorky 70
Obr. 32 Relatívny úbytok hmotnosti (- - -) a relatívna rýchlosť odhorievania ( ) vzoriek pri 45° uhle sklonu vzorky 71
Obr. 33 Relatívny úbytok hmotnosti (- - -) a relatívna rýchlosť odhorievania ( ) vzoriek pri 90° uhle sklonu vzorky...................................................................................................72
Obr. 34 Priebeh teplôt pri 0° uhle sklonu v bode A.............................................................74
Obr. 35 Priebeh teplôt pri 0° uhle sklonu v bode B.............................................................74
Obr. 36 Priebeh teplôt pri 0° uhle sklonu v bode C
Obr.
Obr.38 Priebeh teplôt pri 0° uhle sklonu v bode A!
Obr. 39
Obr. 40 Priebeh teplôt pri 90° uhle sklonu v
Obr. 41 Priebeh teplôt pri 90° uhle
sklonu v bode B...........................................................78
Obr. 47 Priebeh teplôt pri 45° uhle sklonu v bode C...........................................................78
Obr. 48 Priebeh teplôt pri 45° uhle sklonu v bode D...........................................................78
Obr. 49 Priebeh teplôt pri 45° uhle sklonu v
Obr. 50 Priebeh teplôt pri 45° uhle sklonu v bode A!
Obr. 51 Výškové profily na neošetrenej vzorke pri 90 °uhle sklonu vzorky po zaťažení plameňom
80
Obr. 52 Fotodokumentácia vzoriek po skúške sálavým tepelným zdrojom........................81
Obr. 53 Relatívny úbytok hmotnosti (- - -) a relatívna rýchlosť odhorievania ( ) vzoriek pri skúške sálavým tepelným zdrojom.................................................................................82
Obr. 54 Relatívny úbytok hmotnosti a relatívna rýchlosť odhorievania neošetrených vzoriek pri skúške sálavým tepelným zdrojom 83
Obr. 55 Relatívny úbytok hmotnosti a relatívna rýchlosť odhorievania vzoriek ošetrených
Bochemitom Antiflash pri skúške sálavým tepelným zdrojom...........................................84
Obr. 56 Relatívny úbytok hmotnosti a relatívna rýchlosť odhorievania vzoriek ošetrených
Bochemitom Pyro pri skúške sálavým tepelným zdrojom ..................................................84
Obr. 57 Priebeh teplôt v bode A..........................................................................................85
Obr. 58 Priebeh teplôt v bode B 86
Obr. 59 Priebeh teplôt v bode C 86
Obr. 60 Priebeh teplôt v bode D
87
Obr. 61 Fotodokumentácia vzoriek pred a po vykonaní testovania metódou kónického kalorimetra...........................................................................................................................88
Zoznam tabuliek
Tab. 1 Stupne degradácie dreva (Lowden, Hull, 2013).......................................................26
Tab. 2 Faktory ovplyvňujúce rýchlosť šírenia plameňa pevných horľavých látok (Friedman, 1977) 37
Tab. 3 Šírenie plameňa od miesta priloženia plameňa po povrchu vzorky (mm)...............64
Tab. 4 Čas ukončenia samovoľného horenia vzorky (s)......................................................65
Tab. 5 Rozšírenie plameňa po povrchu (mm)......................................................................69
Tab. 6 Rýchlosť šírenia plameňa (mm·s-1)..........................................................................70
Tab. 7 Maximálna rýchlosť zuhoľnatenia (mm·s-1)
Tab. 8 Odhorený objem (mm3) za 600 sekúnd
Tab. 9 Čas zapálenia vzoriek pri skúške sálavým tepelným zdrojom 85
Tab. 10 Charakteristiky testovaných vzoriek pri 20 kw·m-2 ...............................................88
Tab. 11 Charakteristiky testovaných vzoriek pri 35 kw·m-2 ...............................................88
Tab. 12 Charakteristiky testovaných vzoriek pri 50 kw·m-2 ...............................................89
Úvod
Predmetom výskumu predloženej publikácie je drevo, ktoré patrí medzi najstaršie materiály používané predovšetkým v oblasti stavebníctva. Vďaka dôležitosti, ktorá sa pripisuje trvalo udržateľnému využívaniu prírodných zdrojov a ekologicky nezávadným materiálom, drevo v súčasnosti čoraz viac získava na svojej popularite. Vyniká vysokou mechanickou odolnosťou, dobrými fyzikálnymi vlastnosťami a navyše sa jedná o ľahko dostupný materiál.
Okrem spomínaných pozitívnych vlastností má drevo aj nevýhodné vlastnosti, z ktorým môžeme spomenúť malú odolnosť voči biotickým a abiotickým činiteľom (huby, plesne, hniloba, horľavosť). Horľavosť je všeobecný pojem, ktorý opisuje vlastnosti materiálu v reakcii na oheň a nemôže byť vyjadrený jedinou hodnotou, pretože ho ovplyvňuje niekoľko parametrov. Práve horľavosť dreva je jedným z dôležitých faktov, ktorý môže brániť jeho širšej uplatniteľnosti v oblastiach náchylných na požiar. Používanie dreva je z tohto dôvodu obmedzené rôznymi bezpečnostnými požiadavkami a predpismi týkajúcimi sa jeho odolnosti.
Aby sa neobmedzovali možnosti použitia dreva z dôvodu jeho horľavosti, nevyhnutnou požiadavkou je realizácia protipožiarnej ochrany. Neoddeliteľnou súčasťou výskumu protipožiarnej ochrany dreva je zisťovanie účinnosti aplikovaných ochranných prostriedkov a ich vplyvu na zmenu jeho správania sa v podmienkach požiaru.
V súčasnosti ovplyvňuje výber stavených materiálov veľa faktorov a pre ich testovanie sa využíva veľké množstvo normalizovaných aj nenormalizovaných skúšobných metód.Nahodnoteniemateriálov–v našomprípadedrevaz hľadiskaprotipožiarnejochrany využívame ich požiarne charakteristiky. Tieto charakteristiky látok reprezentujú reakciu materiálov na vysokú teplotu alebo oheň. Je možné ich definovať, ako vlastnosti látok, ktoré popisujú ich správanie sa za podmienok reálneho požiaru. Tieto charakteristiky predstavujú súhrn fyzikálnych a chemických vlastností, ktoré vyjadrujú správanie látok pri iniciácii, tepelnom rozklade a horení.
Pre správne a úplné pochopenie protipožiarnej ochrany dreva je dôležité poznať mechanizmus pôsobenia tepelnej energie (ohňa) na povrch dreva a zmeny v ňom prebiehajúce. Horenie dreva je všeobecne veľmi zložitý fyzikálno-chemický proces, pri ktorom dochádza k tepelnému rozkladu jednotlivých zložiek dreva a k zmene jeho chemického zloženia. Z tohto dôvodu je potrebné aby sa okrem mechanických, fyzikálnych
a štrukturálnych zmien sledovali aj chemické zmeny, ku ktorým dochádza pri tepelnom
zaťažení dreva a tak komplexne prispievať k riešeniu otázky jeho ochrany.
Cieľom preloženej monografie je vyhodnotiť vplyv rôznych chemických látok s funkciou požiarnej ochrany aplikovaných na smrekové drevo, z hľadiska jeho termickej
stability po zaťažení sálavými a plameňovými zdrojmi na základe viacerých hodnotiacich
kritérií, s využitím laboratórnych a progresívnych testovacích metód.
1.0 Charakteristika dreva
Jedným z najrozšírenejších lignocelulózových materiálov využívaných ako stavebný materiál, je drevo. Používa sa na stavbu budov a na výrobu rôznych stavebných prvkov, nábytku a tovaru. A to práve vďaka jeho jedinečnej kombinácii vlastností, ako je ľahké spracovanie, dobré fyzikálne a mechanické vlastnosti (Popescu, Pfriem, 2020). Avšak využitie dreva v stavebníctve je pre jeho horľavosť spochybňované. Práve preto je obmedzené a prísne regulované pravidlami požiarnej a environmentálnej bezpečnosti (Seo et al., 2017; Vakhitova, 2019). Je to materiál, ktorý sa vyznačuje relatívne nehomogénnou anizotropnou štruktúrou a pozostáva z komplexu makromolekulových látok (celulóza, hemicelulózy, lignín) a extraktívnych látok (Dietenberger, 2002). Elementárne zloženie rôznychdruhovdrevín jepriemerne49,5%uhlíka,6,3 %vodíkaa44,2%kyslíka.Množstvo dusíkasapohybujemedzi 0,2až1,5%,podľadruhudrevín(Kačíková etal., 2006).Štruktúra rôznych polymérov môže byť výrazne odlišná. Rozdielnu anatomickú štruktúru majú ihličnaté dreviny v porovnaní s listnatými drevinami a taktiež tvrdé a mäkké dreviny (Lowden, Hull, 2013). Chemická štruktúra materiálov vyplýva z prvkového zloženia materiálov a vzájomných väzieb medzi nimi. Sú ňou ovplyvňované fyzikálne, mechanické a požiarne vlastnosti materiálov.
Hlavné zložkydreva – celulóza, hemicelulózya lignín sú v určitej miere náchylné na poškodenie abiotickými vplyvmi (UV žiarenie, voda, slnko, kyslík), biologickými škodcami (huby, hmyz, baktérie) a degradačnými procesmi pri pôsobení vyšších teplôt – ohňa (Reinprecht, 2008). Termická odolnosť základných stavebných zložiek dreva je rozdielna.
Najmenej odolné voči termickému rozkladu sú celulózy, ktoré sa rozkladajú v teplotnom intervale 170 – 240 °C. Odolnejšia ako hemicelulózy je celulóza, pričom do teploty 250 °C je rozklad celulózy mierny. Intenzívny termický rozklad celulózy nastáva v teplotnom intervale 250 – 350 °C . Lignín je najodolnejšia zložka dreva voči termickému rozkladu. Jeho aktívny rozklad prebieha pri teplote 300 – 400 °C (Kačíková et al., 2006).
Pri horení dreva dochádza k termickému rozkladu väzieb jeho základných komponentov a zmene ich chemického zloženia za vzniku mnohých produktov. Popri chemickom zložení aj fyzikálne vlastnosti dreva a materiálov na báze dreva podstatnou mierou ovplyvňujú priebeh horenia. Štruktúra dreva, hustota, povrch materiálu a tiež vlhkosť materiálov významne vplývajú aj na proces horenia (Kačíková et al., 2006; Pólka et al., 2011; Tureková, 2009).
1.1 Štruktúra dreva
Drevo je biopolymér rastlinného pôvodu, vytvorený v stromoch. Pod pojmom drevo rozumieme vnútornú zdrevnatenú časť kmeňa a konárov stromu bez kôry a lyka. Typické pre tento biopolymér sú anizotropia, hydroskopicita, nehomogénnosť a špecifickosť, hlavne v závislosti od druhu dreviny a tiež rastových podmienok stromu (Štefka, 2007).
Na prirodzenú odolnosť dreva voči abiotickým a biotickým poškodeniam má vplyv jeho štruktúra, ktorá tiež ovplyvňuje jeho ďalšie fyzikálne vlastnosti a má vplyv na horenie. Vplyv štruktúryje danýveľkosťouotvorov (mikrokapilár a makrokapilár), ktoréovplyvňujú transportkyslíkadohmotyaodchodprchavýchproduktovzdreva.Abysmemohliregulovať technológie jeho ochrany, pre lepšie pochopenie mechanizmu poškodenia materiálu, je potrebné poznať jeho štruktúru (Kačíková et al., 2006; Kačíková et al., 2017).
Stavbu dreva môžeme definovať pomocou štyroch štrukturálnych hladín. A to geometrickej, morfologickej, anatomicke a molekulárnej štrukturálnej hladine (Kačíková et al., 2017).
Obr 1 Štrukturálne hladiny dreva (Reinprecht, 2008)
1.1.1 Geometrická štrukturálna hladina
Uvedená hladina sa zaoberá makroskopickou stavbou dreva. Definuje vonkajší vzhľad a prítomnosť, početnosť a stav makroskopických nehomogénností. Makroskopická stavba dreva je predovšetkým závislá od druhu dreviny. Určuje sa na základných rezoch
drevom podľa typických znakov textúry viditeľných voľným okom (Kačíková et al., 2011; Kačíková et al., 2017).
Stavba kmeňa stromu je kužeľovito až valcovito vrstvená, tvorená bunkami, z ktorých väčšina má vláknitý tvar. Bunky sú zväčša orientované pozdĺž osi kmeňa. Ďalšie bunky, sú orientované priečne. Príčinou toho, že sledovaná fyzikálna alebo mechanická vlastnosť nadobúda v rozličných smeroch rôzne hodnoty je heterogénna štruktúra dreva, hovoríme o anizotropii Drevom môžeme viesť tri základné rezy a to priečny, radiálny a tangenciálny rez. Priečny rez prechádza v rovine vedenej kolmo na os kmeňa naprieč vláknitej, prevažne vertikálne orientovanej stavbe kmeňa. Radiálny rez prechádza pozdĺž kmeňa, v tejto rovine leží stržeň, ktorý je biologickým stredom kmeňa. Tento rez sa nazýva aj zrkadlovým rezom, pretože viditeľné stržňové lúče vytvárajú lesklé plochy. Tangenciálny rez je vedený rovnobežne s pozdĺžnou osou kmeňa, v určitej vzdialenosti od stržňa v rovine preloženej v polohe dotyčnice k ročnému kruhu na priečnom reze. Rovina tangenciálneho rezu vedená rovnobežne so stržňom šikmo pretína vrstvy ročných kruhov a v strede polohy rezu vytvárajú ročné kruhy parabolické útvary – fládre (Kačíková et al., 2011; Kačíková et al., 2017).

Obr 2 Rezy v dreve (Mamoňová, 2016) PR – priečny rez, RR – radiálny rez, TR – tangenciálny rez, D – stržeň, R – ročné kruhy, DL –stržňový lúč
V dreve je nutné rozoznávať aj tri základné smery. Axiálny, radiálny a tangenciálny smer Axiálny smer je rovnobežný s pozdĺžnou osou kmeňa. Kolmý smer na os kmeňa a smerujúci do jeho stredu sa označuje ako radiálny smer a v smere dotyčnice k ročným kruhom je tangenciálny smer. Všetky smery sú navzájom kolmé (Požgaj et al.,1997).
Obr. 3 Základné smery v dreve (Požgaj et al., 1997)
Ročnýkruh,beľ,jadro,zrelédrevo,stržňovélúče,živicovékanáliky,stržňovéškvrny
a cievy zaraďujeme medzi mikroskopické znaky viditeľné v jednotlivých rezoch. Pre identifikáciu dreva sa ale často využívajú aj fyzikálne vlastnosti a to konkrétne farba, lesk, vôňa, hustota a tvrdosť (Kačíková et al., 2011).
1.1.2 Morfologická štrukturálna hladina
Uvedená hladina sa zaoberá mikroskopickou stavbou dreva. Táto hladina definuje z rôznych hľadísk izolované bunkové elementy dreva (z hľadiska typu, tvaru, hrúbky bunkovej steny ), a tiež aj prítomnosť rôznych typov bunkových elementov v dreve a spôsoby ich vzájomného usporiadania do pletív. Podstatou pochopenia fyzikálnych a mechanických vlastností dreva je práve poznanie jeho mikroskopickej štruktúry (Čunderlík, 2009; Kačíková et al., 2017).
Drevo ihličnatých a listnatých drevín sa významne líši. Ihličnaté drevo je vývojovo staršie ako listnaté drevo a má pomerne jednoduchú morfologickú stavbu Viac ako 90 % objemu dreva zaberajú tracheidy – cievice. Ďalším elementom sú parenchymatické bunky, ktoré sú koncentrované do stržňových lúčov a živicových kanálikov. Zaberajú okolo 10% objemu dreva. Jarné tracheidy sú tenkostenné bunky rúrkovitého tvaru, na oboch koncoch ukončené, plnia prevažne vodivú funkciu. Na radiálnych stenách sa nachádzajú stenčeniny – dvojbodky, ktoré zabezpečujú prestup vody v tangenciálnom smere. Naopak letné tracheidy majú prevažne funkciu mechanickú. V porovnaní s jarnými tracheidami sú dlhšie, užšie, hrubostenné a majú málo dvojbodiek (Čunderlík, 2009; Kačíková et al., 2011; Kačíková et al., 2017; Štefko et al., 2006)
Drevo listnatých drevín má zložitejšiu morfologickú štruktúru, tvoria ho viaceré druhy buniek s podstatne viac špecializovanou fyziologickou funkciou. Pevnostnú funkciu plnia libriformné vlákna – hrubostenné bunky, ktoré zaberajú 36 – 76 % objemu. Vodivú funkciu plnia cievy – trachey, ktoré zaberajú 20 – 40 % objemu. U listnatého dreva rozlišujeme aj tri druhy cievic, ktoré majú predovšetkým mechanickú funkciu, ale môžu
plniť aj zásobnú a vodivú funkciu. Zásobnú funkciu plnia parenchymatické bunky, ktoré majú podstatne väčšie zastúpenie v dreve listnatom ako v dreve ihličnatom (Čunderlík, 2009; Kačíková et al., 2017; Štefko et al., 2006).
1.1.3 Anatomická štrukturálna hladina
Uvedená hladina sa zaoberá mikroskopickou stavbou dreva. Táto hladina je definovaná ako stavba bunkových stien dreva, z hľadiska zastúpenia a spôsobu umiestnenia stavebných polymérov dreva a sprievodných látok do jednotlivých vrstiev. Závisí od druhu dreva a typu buniek. Množstvo a obsah jednotlivých zložiek dreva je variabilné podľa dreviny, veku, časti stromu, lokality. Bunková stena sa skladá z viacerých vrstiev, ktoré vypĺňajú priestor medzi lúmenom (vnútorný priestor buniek) a strednou lamelou (medzibunková hmota spájajúca bunky do kompaktného celku). Základnou stavebnou jednotkou bunkových stien dreva sú elementárne fibrily. Zvyčajne sú vytvorené zo 40 makromolekúl celulózy. Zhluk 20 – 60 elementárnych fibríl s minimálnym podielom hemicelulóz a lignínu tvorí makrofibrilu. Stavebným základom jednotlivých vrstiev bunkovej steny sú substančné lamely, tvorené z makrofibríl, hemicelulózových výplní a lignínových mikrovrstiev (Kačíková et al., 2006; Kačíková et al., 2017).
1.1.4 Molekulárna štrukturálna hladina
Uvedená štrukturálna hladina sa zaoberá chemickým zložením dreva. Definuje chemickú štruktúru hlavných zložiek dreva a sprievodné látky v bunkových stenách. Tiež sa zaoberá fyzikálnochemickým stavom jednotlivých zložiek dreva. Molekulárna štruktúra závisí od druhu dreva, typu buniek a lokalizácie v bunkách (Kačíková et al., 2017).
1.2 Vlastnosti dreva
Medzi pozitívne vlastnosti dreva zaraďujeme jeho výhodné mechanické, tepelnotechnické, technologické, esteticky pôsobivé dekoračné vlastnosti, možnosť cieleného zhodnotenia drevnej suroviny a schopnosť prirodzenej obnovy. Naopak medzi negatívne vlastnosti, dreva ako stavebného materiálu, radíme anizotropiu, taktiež to, že podlieha klimatickým vplyvom, biologickým škodcom a termickej degradácii – je horľavé (Štefka, 2007).
1.2.1 Chemické vlastnosti dreva
Chemická štruktúra materiálov vyplýva z prvkového zloženia materiálov a vzájomných väzieb medzi nimi. Ovplyvňované sú ňou fyzikálne, mechanické a požiarne vlastnosti materiálov.
Ako sme už uvádzali drevo, prírodnýrastlinnýmateriál, sa skladá z troch základných organických polymérov – celulózy, hemicelulóz a lignínu. Tieto zložky v drevnej hmote nie sú izolované, ale sú navzájom poprepájané a vzniká tzv. lignín-sacharidový komplex. Hlavné zložky dreva sú v amorfnej matrici viazané vodíkovými väzbami. Lignín je okrem vodíkovej väzby viazaný aj kovalentnými väzbami. Okrem hlavných zložiek, tvoria drevo ajsprievodnézložky,ktorésadeliana:organickéa anorganickélátky.Medziorganickélátky patria sacharidy (škrob, pektíny, monosacharidy, oligosacharidy, glykozidy), fenoly (jednoduché fenoly, stilbény, flavonoidy, triesloviny, lignany), terpény, mastné zložky (tuky, vosky, mastné kyseliny), alkoholy (acyklické alkoholy, steroly), bielkoviny a iné Okrem organických látok, sa v dreve nachádzajú aj minerálne látky, z ktorých pri spaľovaní vzniká popol. Podiel popola v dreve sa zvyčajne pohybuje v rozmedzí 0,2 – 1,2 % (Geffert, 2015; Kačíková et al., 2006; Výbohová, 2019).

Obr 4 Chemická štruktúra základných zložiek dreva (Fung et al., 1972)
Celulóza
Je najrozšírenejším polysacharidom v prírode a základnou štruktúrnou zložkou bunkových stien dreva. V priemere tvorí 43 – 52 % z hmotnosti ihličnatého a listnatého
dreva, s mierne väčším zastúpením v ihličnatom dreve. Z chemického hľadiska sa jedná o polysacharid zložený z β-D-glukopyranózových jednotiek navzájom spojených väzbami v polohách 1 → 4 (Kačíková et al., 2017; Výbohová, 2019).
Postupným predlžovaním reťazca sa vytvára makromolekula celulózy, ktorá dosahuje dĺžku takmer 0,01 mm. Dĺžka polymérneho reťazca celulózy ovplyvňuje polymerizačný stupeň a sním súvisiacu pevnosť dreva. Čím väčšia je dĺžka polymérneho reťazca, tým je väčší polymerizačný stupeň a je dosiahnutá aj vyššia pevnosť dreva (Kačíková et al., 2017).
Reťazce celulózy nie sú jednotnej dĺžky a sú tvorené z rôzneho počtu glukózových jednotiek a postranne vzájomne držané pomocou sekundárnych vodíkových väzieb, ktoré majú vplyv na anizotropiu fyzikálnych a mechanických vlastností dreva. Jednotlivé vzorky celulózy majú odlišný priemerný polymerizačný stupeň (Kačíková et al., 2017).
Makroskopické molekuly sú v bunkových stenách väčšinou usporiadané do kryštalickej mriežky s presne určenou orientáciou a mierami. V dreve je určitý podiel makromolekúl, ktoré nie sú pravidelne usporiadané a tvoria tzv. amorfné oblasti. Molekuly v týchto oblastiach obsahujú viacero voľných -OH skupín, na ktoré sa voda ľahko viaže. Celulóza sa vo vode a bežných organických rozpúšťadlách nerozpúšťa, ale iba obmedzene napučiava. V koncentrovaných kyselinách je možné rozpustiť celulózu, kedy súčasne dochádza aj k zníženiu priemerného polymerizačného stupňa (Kačíková et al., 2017).
Hemicelulózy
Heteropolysacharidy s nižším polymerizačným stupňom a s menšou relatívnou molekulovou hmotnosťou ako celulóza sú hemicelulózy. Ich obsah v dreve sa pohybuje v rozpätí 20 – 35 % v závislosti od dreviny. Ich hlavnými stavebnými zložkami sú pentózy a hexózy: L-ramnóza, L-fruktóza, L-arabinóza, D-xylóza, D-manóza, D-glukóza a D-galaktóza. Niektoré obsahujú aj urónové kyseliny: 4-O-metyl-α-D-glukorónovú a α-Dglukorónovú kyselinu. Najdôležitejším polysacharidom hemicelulóz je xylán pri ihličnatých drevinách a glukomanány pri listnatých drevinách (Čunderlík, 2009; Požgaj et al., 1997).
Hemicelulózy tvoria reťazce, v ktorých sa glykozidovou väzbou cez atómy uhlíka C1 a C4 spájajú základné stavebné jednotky. Členenie na bočné reťazce je pre hemicelulózy charakteristické. Čím je rozvetvenejšia, tým je ľahšie rozpustná. Majú amorfnú formu a spolu s lignínom penetrujú kostru bunkových stien celulózy. Hemicelulózy majú vplyv na chemické a mechanické vlastnosti dreva (Kačíková et al., 2006).
Lignín
Stavebná zložka dreva, ktorá zabezpečuje drevnatenie jeho buniek, tým dodáva vyšším rastlinám mechanickú pevnosť, je lignín. V drevnej hmote tvorí zhruba 15 – 35 % a jeho zastúpenie je vyššie u ihličnatých drevín. V bunkovej stene je nerovnomerne rozložený. Je to termoplatický, amorfný, benzenoidnýzosieťovanýpolymér. Obsahuje 60 % uhlíka a 6 % vodíka, aj napriek tomu nepatrí medzi polysacharidy, nakoľko má fenolickú podstatu. Fenylpropán je základnou štruktúrnou zložkou lignínu. Obsahuje benzénové jadro, na ktorom sú metoxylové, hydroxylové skupiny a propánový reťazec. Jeho priemernú relatívnu molekulovú hmotnosť je možné merať len v jeho roztokoch. Hlavnou funkciou lignínu je spájať vlákna a pôsobiť aj ako spevňovací faktor celulózových molekúl v rámci bunkových stien (Kačíková et al., 2006; Kačíková et al., 2017).
Sprievodné zložky dreva
Sprievodné zložky dreva sú vytvorené na ochranu, iné majú svoje funkcie vo fyziológii rastu a ďalšie sú zásobnými látkami. Sprievodné látky v dreve pomerne často ovplyvňujú chemické, biologické a mechanické vlastnosti dreva. A to najmä stálosť na svetle, horľavosť, zápalnosť, hydroskopicitu, priepustnosť pre kvapaliny a plyny, odolnosť proti škodcom a iné (Geffert, 2015; Ružiak et al., 2017).
Väčšinou sú sprievodné zložkyrozpustné v rozpúšťadlách určitej polaritya je možné ich extrakciou oddeliť od hlavných zložiek. Podľa rozpustnosti sa delia na tri skupiny, a to na zložky rozpustné v studenej a horúcej vode, rozpustné v nepolárnych organických rozpúšťadlách a destilujúce s vodnou parou (Geffert, 2015; Ružiak et al., 2017).
1.2.2 Fyzikálne vlastnosti dreva
Kvalitu a interakciu dreva s okolitým prostredím určujú fyzikálne vlastnosti, mnohé z nich majú vplyv na priebeh jednotlivých fáz horenia. Sú to tie vlastnosti, ktoré pozorujeme bez narušenia celistvosti dreva a chemického zloženia. Hodnoty vlastností dreva sa líšia v smere s vláknami a kolmo k vláknam, spôsobené to je anizotropiou (Kačíková et al., 2006).
Fyzikálne vlastnosti vieme rozdeliť do týchto skupín (Požgaj, 1997):
- vlastnosti určujúce vonkajší vzhľad dreva – farba, textúra, lesk a vôňa, - vlastnosti určujúce vzťah dreva k vode – vlhkosť, nasiakavosť, navĺhavosť, zosychanie, napúčanie,
- vlastnosti určujúce hmotu dreva – hustota, pórovitosť dreva ,
- vlastnosti určujúce vzťah dreva k teplu – merné teplo, tepelná vodivosť, teplotná vodivosť,
- vlastnosti určujúce vzťah dreva k zvuku – zvuková vodivosť, rezonančná schopnosť,
- vlastnosti určujúce vzťah dreva k elektrine – elektrická vodivosť,
- priepustnosť dreva pre svetelné a röntgenové lúče – účinok ultrafialových a infračervených lúčov, účinok jadrového žiarenia ,
- priepustnosť dreva.
Jedným z prvých znakov, ktoré pomáhajú pri určovaní dreva je jeho farba. Keď hodnotíme drevo z hľadiska podľa farby, musíme uvažovať aj s vlhkosťou dreva a s čerstvosťou jeho rezu, nakoľko vlhkosť dokáže významne zmeniť túto vlastnosť.
Chemické zložkytiež majú vplyv na jeho farbu, pričom nezávisí od ich objemového podielu ale od ich výraznosti (Čunderlík, 2009).
Lesk je ovplyvnený Štruktúra drevných pletív, rezná plocha a kvalita opracovania dreva ovplyvňujú jeho lesk. Drevo s vysokou hustotou má vyšší lesk, na rozdiel od pórovitéhodrevas nízkouhustotou.Najvyššíleskdokážemesledovaťnapozdĺžnychrezoch, kde ho významne ovplyvňujú stržňové lúče (Čunderlík, 2009).
Vlhkosť dreva vyjadrujeme v percentách, je to pomer hmotnosti vody k hmotnosti dreva v absolútne suchom stave (absolútna vlhkosť) alebo k hmotnosti vlhkého dreva (relatívna vlhkosť). Absolútne suché drevo je vysušené na konštantnú hmotnosť pri teplote 103±2°C. Podľa charakteru väzieb vody s drevom rozoznávame v dreve vodu voľnú, viazanú a chemicky viazanú. Drevo je hygroskopický materiál, vodu prijíma zo vzduchu v podobe vodných pár alebo ju späť odovzdáva. Všetky bunkové steny obsahujú vodu v rozdielnych množstvách. Čím je vyššia hustota dreva, tým je nižší obsah vody v dreve (Kačíková et al., 2017; Osvald, 2011).
Na všetky mechanické a fyzikálne vlastnosti dreva vplýva hustota. Hustota dreva udáva hmotnosť jednotkového objemu dreva pri určitej vlhkosti. Najčastejšie sa vyjadruje v kg m-3 . Vyjadrujeme ju ako pomer hmotnosti a objemu dreva , pričom hmotnosť aj objem dreva sa udávajú pri tej istej vlhkosti. Čím vyššiu má drevo hustotu, tým má menšiu pórovitosť a tým má väčšiu hmotnosť a tvrdosť (Kačíková et al., 2006; Osvald, 2011).
1.2.3 Mechanické vlastnosti dreva
Mechanické vlastnosti dreva sa prejavujú pri pôsobení vonkajšieho zaťaženia –tlakom, ohybom, krútením a pod. a pri vnútorných teplotných a vlhkostných napätiach sa prejavujú mechanické vlastnosti dreva (Kučera et al., 2010). Tieto vlastnosti rozdeľujeme
na základné a odvodené. Medzi základné mechanické vlastnosti zaraďujeme pružnosť, pevnosť, plastickosť a húževnatosť. Medzi odvodené patrí tvrdosť, odolnosť proti tečeniu, odolnosť proti trvalému zaťaženiu a odolnosť proti únavovému lomu. Tieto vlastnosti
ovplyvňuje mikroskopická stavba dreva, podiel letného dreva, prítomnosť stržňových lúčov, belia jadra,šírkaročnýchkruhov,objemováhmotnosťdrevaa vlhkosťdreva(Geffert,2015; Mamoňová, 2016).
Schopnosť materiálu nadobúdať pôvodné rozmery a tvar po prerušení pôsobenia mechanického zaťaženia je pružnosť (Kačíková et al., 2006).
Pevnosť je kvantifikovaná medzou pevnosti, je to odolnosť proti porušeniu pri pôsobení mechanického zaťaženia. Medza pevnosti je zaťaženie, pri ktorom dochádza k porušeniu telesa. Vieme ju definovať v statickom ohybe, v tlaku, šmyku a ťahu (Osvald, 2011).
1.3
Formy horenia a prenosu tepelnej energie
Pojem horenie možno definovať ako chemickú, oxidačno-redukčnú reakciu, ktorá je sprevádzaná uvoľňovaním tepla a svetla. Na to, aby mohlo horieť, sú nevyhnutné tri zdroje horenia.Sú to dvamateriálovézdroje, a to horľaválátka– palivo akyslík,vzduch – oxidačný prostriedok. A tiež dostatočná iniciačná energia – teplo, ktoré predstavuje energetický zdroj (Osvald, 1997; Zachar, 2009).
Obr. 5 Transport tepla a látky – predpoklady horenia (Balog, Kvarčák, 1999 – upravené)
Dlhé roky sa pojem horenie alebo požiar symbolizoval práve trojuholníkom horenia (palivo, oxidačný prostriedok a teplo). Avšak, vzhľadom na skutočnosť, že ak má byť iniciované horenie nepretržité (ustálené), musí byť splnená aj štvrtá podmienka, vznikol koncept založený na štvorstene horenia (Obr. 6). Ten je predstavovaný kyslíkom (oxidačné činidlo) na udržanie horenia, dostatočným teplom na zvýšenie teploty na zapálenie materiálu, palivom (horľavý materiál) a následne exotermickou chemickou reťazovou reakciou. Každá zo štyroch strán štvorstenu horenia potom symbolizuje kyslík, palivo, teplo, a chemickú reťazovú reakciu. Je potrebné si uvedomiť, že odstránenie ktoréhokoľvek zo štyroch prvkov má za následok ukončenie horenia (Kačíková et al., 2022).
Obr. 6 Štvorsten horenia (Kačíková et al., 2022 – upravené)
Podľapodmienok,priktorýchhorenieprebiehaho delímenadokonalé a nedokonalé. Dokonalé horenie – prebieha za dostatočného prístupu oxidačného prostriedku, dochádza k dokonalému spaľovaniu, chemickej reakcii horenia. Vznikajú stabilné oxidy a nehorľavé produkty. Nedokonalé horenie – prebieha za nedostatočného prívodu oxidačného prostriedku, vznikajú splodiny nedokonalého horenia, ktoré môžu ďalej horieť. Splodiny horenia závisia od druhu horľavej látky a prístupu oxidačného prostriedku (Balog, Kvarčák, 1999; Della-Giustina, 2014).
Čas (doba) horenia sa skladá z času nevyhnutného na difúziu, fyzický kontakt medzi oxidačným prostriedkom a horľavou látkou a z času na prebehnutie samotnej chemickej reakcie. Podľa reakčnej rýchlosti je horenie možné rozdeliť na kinetické a difúzne (Coneva, 2018)
Pri procese horenia dochádza k reakcii medzi horľavou látkou a kyslíkom. Táto zmes musí byť zohriata na určitú teplotu, aby došlo k jej horeniu Zohriatie zabezpečuje iniciačný zdroj, ktorým môže byť ľubovoľnýzdroj tepelnej energie, tepelného žiarenia, tepelnýprejav exotermickej reakcie, povrchováteplotazariadení,teplotaokolitéhoprostrediaalebotepelný
prejav mechanickej energie. Iniciačný zdroj musí mať určitú teplotu a dostatočnú energetickú kapacitu, aby mohol spôsobiť zahriatie horľavého súboru (Osvald et al., 2007).
Tuhé horľavé látky sa delia na tie, ktoré sa pôsobením tepla topia, vyparujú alebo sublimujú bez zmeny chemického zloženia a látky, ktoré zahrievaním podliehajú pyrolýze a rozkladu za vzniku plynných prchavých látok a tuhého (uhlíkového) zvyšku. Horenie prvej skupiny látok prebieha rovnako ako v prípade plynov a kvapalín. Horenie týchto látok teda prebieha homogénnym spôsobom. Druhá skupina látok horí homogénnym (horenie plynných rozkladných produktov) aj heterogénnym (horenie tuhého uhlíkového zvyšku) spôsobom (Osvald, 1997).
Pri pôsobení tepla na tuhé materiály dochádza k ich degradácii, ktorá sa prejavuje úbytkom hmotnosti a vznikom prchavých produktov. Plamenné horenie nastáva pri styku horľavých prchavých produktov s kyslíkom, po pôsobení iniciačného zdroja. Počas tohto procesu dochádza k uvoľňovaniu tepla, ktoré je potrebné pre ďalší rozvoj procesu horenia. Horenie pevných látok prebieha v dvoch etapách. V prvej etape dochádza k homogénnemu horeniu plynných produktov rozkladu a v druhej etape horí uhlíkový zvyšok bezplamenným horením (Osvald, 1997).
Obr. 7 Schéma horenia látok v pevnom skupenstve (Kačíková et al., 2017)
Obr. 8 Plameňové horenie organického paliva (Bengtson, 2001)
Pri zahrievaní organického materiálu dochádza k uvoľňovaniu prchavých horľavých produktov. Potom pre každý takýto materiál existuje teplota, pri ktorej sa horľavé plyny uvoľňujú takou rýchlosťou, že ich iniciovaním externým zdrojom tepla (napr. plameňom) nastane proces plameňového horenia. Uvedená teplota (okrem chemického zloženia a štruktúry materiálu) závisí od druhu a koncentrácie oxidačného prostriedku a fyzikálnych vlastností materiálu. Uvedená teplota môže byť rozdelená na minimálnu teplotu, pri ktorej dôjde k zapáleniu zmesi prchavých produktov s oxidačným prostriedkom (prídavným zdrojom tepla) a následnému prerušeniu procesu horenia a na minimálnu teplotu, ktorá umožní trvalé horenie materiálu. Pri zvyšovaní teploty pôsobiacej na daný materiál nastane situácia, že k iniciácii procesu horenia nebude potrebný prídavný zdroj tepla (najčastejšie plameň). Medzi uvedenými teplotami existuje podstatný rozdiel. Prvá teplota sa vzťahuje na rýchlosť rozkladu materiálu a druhá na iniciáciu rozkladných produktov. Principiálne by malo platiť, že by mala postačovať teplota prídavného zdroja zhodná s minimálnou teplotou iniciácie, pri ktorej už nie je potrebný prídavný zdroj tepla (Balog et al., 2015).
Prenos tepla
Existujú tri spôsoby prenosu tepla a to vedením (kondukciou), prúdením (konvekciou)alebožiarením (radiáciou).Počas požiarusauplatňujú všetkyspôsobyprenosu tepla, ale predovšetkým prenos tepla prúdením a žiarením. Prenos tepla prúdením je dominantný vo fáze lokálneho požiaru a prenos tepla žiarením sa stáva dominantným vo fáze prechodu z lokálneho do plne rozvinutého požiaru a vo fáze plne rozvinutého požiaru.
Pri iniciácii požiaru môže zohrať dôležitú úlohu ktorýkoľvek mechanizmus prenosu tepla alebo ich ľubovoľná kombinácia (Balog et al., 2015).
Prenos tepla vedením (kondukciou) sa uskutočňuje v dôsledku pohybu a vzájomnej interakcie základných častíc hmoty (napr. molekuly, atómy, voľné elektróny a pod.).
Vedenie je priamy prenos energie v dôsledku kontaktu plôch oboch telies. Kinetická energia molekúl zohrievaného materiálu sa zvyšuje a zároveň tým sa zvyšuje pohyb molekúl a energia začína prechádzať z jednej molekuly na ostatné. Prenos tepla vedením je závislý na teplotnom gradiente a súčiniteli tepelnej vodivosti. Teplo sa vždy šíri vedením z horúcich oblastí pevnej látky do studených. Molekuly s vyššou teplotou, teda s vyššou kinetickou energiou, odovzdávajú časť svojej energie susedným molekuláms nižšou teplotou. Vedením sa teplo šíri v tuhých látkach a nepohybujúcich sa v tekutinách (kvapalinách a plynoch), pričom dochádza len k prenosu energie Niektoré materiály vedú teplo lepšie ako iné, vhodným príkladom je práve kov. Vedenie môže byť zodpovedné za šírenie požiaru medzi miestnosťami vo väčších budovách, ako aj za zlyhanie nosných konštrukčných podpier (Drysdale, 1999; Kačíková et al., 2022; Taraba et al., 2004).
Prúdením (konvekciou) sa teplo šíri v tekutinách – kvapalinách a plynoch. Prenos tepla v tomto prípade prebieha makropohybom atómov a molekúl látky, pričom súčasne prenášajú aj teplo. Tento proces v sebe zahŕňa dva javy a to prenos tepla vedením pri styku dvoch častíc (atómov alebo molekúl) a prenos tepla prúdením pri pohybe častíc a objemov látky, ktoré prenášajú svoju vnútornú energiu. Prúdenie je spôsobené rozdielom hustoty medzi horúcimi a chladnými molekulami plynu pri požiari. Čím je teplota plynov vyššia, tým sa ich hustota znižuje, rozpínajú sa a stúpajú nahor. Konvekcia je najnebezpečnejší spôsob šírenia požiaru v objekte. Pri požiaroch sa pohybujú masy horúcich látok s plynnými produktmi horenia spolu s okolitým vzduchom, ktorý sa tiež zahrieva. Tieto látky sa rozpínajú, stávajú sa ľahšími a rýchlo sa pohybujú smerom nahor, čo zodpovedá za väčšinu šírenia tepla pri normálnom požiari. Do značnej miery určuje aj základné vlastnosti dymu, pokiaľ ide o jeho pohyb, šírenie a napokon aj jeho zloženie (Bahýl, Igaz, 2010; Drysdale, 1999; Kačíková et al., 2022).
Tepelné žiarenie (tepelná radiácia, sálanie) je prenos energie v podobe elektromagnetického žiarenia. Je to prestup tepla za pomoci elektromagnetických vĺn v dôsledku tepelného stavu telies. Elektromagnetické žiarenie sa podľa vlnovej dĺžky rozdeľuje do niekoľkých oblastí. V prípade tepelného žiarenia sa jedná o oblasť elektromagnetického žiarenia s vlnovou dĺžkou 760 až 4000 nm. Táto oblasť sa označuje aj
ako infračervené alebo tepelné žiarenie. Elektromagnetické žiarenie vyžaruje zo svojho povrchu každé reálne teleso s teplotou vyššou ako absolútna nula. Pri dopade na povrch iných telies, prípadne pri prechode inými telesami, sa mení časť žiarivej energie späť na tepelnú energiu. Energia vyžarovaná telesami prudko rastie s ich teplotou. Teplo sa šíri všetkými smermi, kým nedosiahne objekt, ktorý ho absorbuje. Sálaním sa môže požiar šíriť z budovy na budovu a zapáliť horľavé materiály v okolí. Môže tiež preniknúť cez okná a dostať sa do interiéru susedných budov. Prenos tepla sálaním zohráva najdôležitejšiu úlohu pri rozvoji a šírení požiaru, najmä pri väčších požiaroch. Sálanie napomáha šíreniu požiaru po povrchu, podporuje vznietenie ďalších palív. Radiácia (žiarenie) zohráva rozhodujúcu úlohu v šírení požiaru v neskoršej fáze jeho rozvoja. (Bahýl, Igaz, 2010; Drysdale, 1999; Kačíková et al., 2022).
1.4 Proces horenia dreva
Drevo predstavuje biopolymér, ktorý obsahuje vysoký energetický potenciál, prevažne v kovalentých väzbách polysacharidov a lignínu. V dreve sa energia nahromadí počas fotosyntézy (tvorba glukózy z oxidu uhličitého a vody) a následných endotermických reakciách, pri ktorých prebieha premena glukózyna polysacharidy a lignín. Tento energický potenciál môže byť spätne uvoľnený vplyvom tepelných aktivácií. Keď sa dodá dostatočné množstvo energie, sú elektróny kovalentných väzieb excitované na vyššiu energetickú hladinu. Takto excitované väzbysa môžu homolytickyštiepiť alebo môžu priamo vstupovať do chemických reakcií s inými reaktívnymi látkami. Základné stavebné komponenty dreva saštiepia avytvárajú horľavéplyny, ktorépridostatočnevysokej teplote reagujú s kyslíkom.
V rôznych termooxidačných reakciách vznikajú oxidy uhlíka a voda. Pri tomto procese sa uvoľňuje dostatočné množstvo energie, ktorá sa podieľa na ďalšom ohreve a následnej pyrolýze dreva (Osvald, Štefko, 2013; Tureková, 2007)
Pôsobením tepla na celulózové materiály dochádza k viacerým typom chemických reakcií. Sú to dehydratácia, depolymerizácia, štatistická degradácia a termooxidácia. Konzekvenciou uvedených reakcií je zmena pevnostných vlastností, pokles relatívnych molekulových hmotností základných zložiek dreva, aktívna degradácia sacharidického podielu a plameňové a bezplameňové horenie (Kačíková et al., 2006).
Rovnako, ako aj ostatné tuhé materiály, drevo nehorí priamou reakciou s kyslíkom. Prvé zmeny v tuhých materiáloch nazývame aj iniciačný stupeň. Sú to zmeny, ktoré predchádzajú horeniu a týkajú sa akumulácie tepla dodaného určitým zdrojom alebo vznikajúceho chemickou reakciou v samotnom materiáli. Pri dlhodobom zaťažení dreva
teplotami v rozmedzí 80 – 120 °C sa z dreva iba uvoľňuje voda – viazaná aj voľná, drevo sa vysušuje, čím sa zväčšuje jeho vnútorný povrch prichádzajúci do styku so vzduchom (kyslíkom). Vysušené drevo je práve preto ľahšie zapáliteľné. Pri dlhodobom pôsobení teplôt nad 100 °C už dochádza aj k chemickým zmenám. K podstatným zmenám mechanických vlastností v tejto časti termického zaťažovania ešte nedochádza Na povrchu môžeme pozorovať tvorbu trhlín a mierne zhnednutie dreva. Pri teplotách 150 – 200 °C nastáva prvý stupeň termickej degradácie a to dehydratácia polysacharidov – hemicelulóz a celulózy. Tu nastáva pozorovateľný pokles jeho mechanických vlastností, obzvlášť húževnatosti a drevo výrazne začína meniť farbu do hnedých odtieňov. Pri týchto teplotách zatiaľ nedochádza k významnému uvoľňovaniu horľavých plynov. Pri teplotách nad 220 °C väčšinou nastáva druhý stupeň termickej degradácie drevnej hmoty, ktorým je depolymerizácia – pyrolýza polysacharidov a lignínu. V tomto stupni už začína dochádzať k tvorbeplynných produktov akosú: vodík, metán,oxiduhoľnatý, aldehydy, ketónya ďalšie nízkomolekulové produkty. Po difúzii týchto produktov nad povrchom dreva, reagujú tieto látky so vzdušným kyslíkom, a tým dochádza k ich horeniu za vývoja svetla a tepla. Mechanické vlastnosti, hlavne pevnosť dreva, sa významne menia pyrolýzou. Záverom termickejdegradáciedrevnejhmotyjedrevenéuhlie,ktorézaprítomnosti vzdušnéhokyslíka pri teplotách nad 350 °C samovoľne bezplamenne horí. Tým uvoľňuje tepelnú energiu potrebnú k pyrolýze vnútorných vrstiev dreva. Výsledným produktom horenia dreva je anorganický zvyšok – drevný popol. Horenie a zápalnosť dreva je v podstatnej miere ovplyvňovaná kvalitou povrchu, jeho rozmermi a pórovitosťou. Rozhodujúci je ale pomer základných stavebných zložiek dreva, hemicelulóz, celulózy a lignínu. (Kačíková et al., 2011).
Tab. 1 Stupne degradácie dreva (Lowden, Hull, 2013)
Teplotný rozsah Degradačné procesy
> 100 °C Odparovanie chemicky neviazanej vody.
160–200 °C Tri polymérne zložky dreva sa pomaly rozkladajú. Plyny tvoriace sa v tejto fáze sú nehorľavé (hlavne H2O).
200–225 °C
225–275 °C
280–500 °C
Pyrolýza začína.
Pyrolýza je stále veľmi pomalá a väčšina z plynov, ktoré vznikajú sú nehorľavé.
Vznikajúce plyny sú teraz prchavé (CO, metán) a častice dymu sú viditeľné. Po rozpade fyzikálnej štruktúry dreva je zuhoľnatenie veľmi rýchle.
Teplotný rozsah Degradačné procesy
> 500 °C
Produkcia prchavých plynov je úplná. Zuhoľnatenie pokračuje tlením a oxidáciou za vzniku CO, CO2 a H2O.
1.4.1 Faktory ovplyvňujúce horenie dreva
Fyzikálne vlastnosti dreva významnou mierou ovplyvňujú priebeh horenia, dôležitejšie je ale chemické zloženie. Napríklad dreviny s vyšším obsahom hemicelulóz sú horľavejšie aj v tom prípade, ak majú vyššiu hustotu. Povrch dreva tiež významnou mierou ovplyvňuje horenie. Drevo vykazuje drsnosť, ktorá závisí nielen od spôsobu opracovania, ale aj od anatomickej štruktúry dreva. Kvalitný hladký povrch odrazí energiu sálavého a plamennéhozdrojaatýmjeťažšiezápalnýakopovrchdrsný.Vyššiavlhkosťdrevazvyšuje jeho odolnosť voči zapáleniu. Termodynamické veličiny poskytujú dôležité informácie o materiáloch, aj keď s ich hodnotami pri vzniknutom požiari je to problematické. Z termodynamických veličín dreva je potrebné poznať: hmotnostnú tepelnú kapacitu dreva, tepelnú vodivosť, teplotnú vodivosť, súčiniteľ prestupu tepla prúdením a iné. Geometrický tvar a rozmery tiež ovplyvňujú možnosť zapálenia, rýchlosť a intenzitu procesu horenia (Kačíková, Kačík, 2011; Osvald, 1997; Tureková, 2009).
Hustota dreva
Hustota dreva je vlastnosť, ktorá ovplyvňuje fyzikálne, mechanické vlastnosti dreva a významne vplýva aj na proces horenia. Udáva hmotnosť jednotkového objemu dreva. Drevo s vyššou hustotou je menej náchylné k zapáleniu, ako drevo s nižšou hustotou.
Hustejší materiál minie viac energie na zapálenie, ale aj na proces horenia. Je to spôsobené jeho lepšou tepelnou vodivosťou a intenzívnejším odvodom tepla z povrchu do vnútorných zón materiálu. Avšak horľavosť drevín nie je vhodné rozlišovať iba na základe hustoty, dôležitejšie je chemické zloženie drevín Pretože dreviny s vyšším obsahom hemicelulóz sú horľavejšie aj ak majú vyššiu hustotu (Kačíková et al., 2006).
Povrch materiálu
Povrch materiálu je ďalšia fyzikálna charakteristika, ktorá významne vplýva na horenie. Drevo ako materiál s kapilárno-pórovitou štruktúrou vykazuje drsnosť, ktorá závisí nie len od spôsobu spracovania závisí, ale aj od anatomickej stavby dreva. Okrem drsnosti aj anatomické chyby, chyby vzniknuté pri opracovaní, mechanické poškodenie a ďalšie iné vplývajú na kvalitu povrchu. Kvalita povrchu má zásadný vplyv na súčiniteľ prestupu tepla
a súčiniteľ prestupu látky. Povrchy s drsnou textúrou sa zapália skôr ako tie hladké, pretože kvalitný hladký povrch odráža energiu zdroja a tým je ťažšie zapáliteľný (Kačíková et al., 2011).
Vlhkosť
Vlhkosťou dreva charakterizuje množstvo vody prítomnej v dreve. Má vplyv na hustotu dreva a takmer všetky fyzikálne a mechanické vlastnosti, a tiež ovplyvňuje priebeh horenia. Odolnosť dreva voči zapáleniu sa zvyšuje s vyšším obsahom vody v dreve. Je to vysvetlenétým,žečasťenergiesaspotrebujenaodparenievodyvoľnejananarušenieväzieb a odparovanie vody viazanej a chemicky viazanej. Horľavé plyny zriedené vodnou parou majú nižšiu koncentráciu a tým horšiu zápalnosť. Voda obsiahnutá v dreve pôsobí ako retardér horenia, ale nemôžme jej pripisovať samostatný autoretardačný účinok. Hoci vlhkosť dreva komplikuje zapálenie, pri vlastnom horení pôsobí negatívne (Kačíková et al., 2006).
Geometrický tvar
Na možnosť zapálenia, rýchlosť a intenzitu procesu horenia významne vplýva aj geometrický tvar materiálu. Veľkosť, tvar a iné parametre geometrického tvaru určujú odolnosť samotného drevného prvku voči zapáleniu. Pomer objemu k povrchu je dôležitý, čím majú drevené predmety menší objem a väčší povrch, tým sú ľahšie zapáliteľné (Kačíková et al., 2011).
Chemické faktory
Horeniedrevapredstavujetermickérozloženieväziebjeho hlavnýchzložieka zmenu ich chemického zloženia za vzniku mnohých produktov. Drevo tvoria hlavné zložky a sprievodné zložky. Sprievodné látky sú percentuálne málo zastúpené, ale aj napriek tomu majú vplyv na horenie. Podľa druhu drevín sa líši percento obsahu základných zložiek a prítomnosť sprievodných zložiek, čo má vplyv na rozdielnu odolnosť jednotlivých drevín voči termickej degradácii a aj rozdielny priebeh horenia. Odlišnosť je tiež v odolnosti základných stavebných zložiek dreva (Osvald, 1997). K významnejšiemu termickému narušeniu stavebných zložiek dreva dochádza až pri teplotách nad 150 °C. Najskôr sa rozkladajú hemicelulózy, potom celulóza a v závere lignín (Kačíková et al., 2011).
Termickynajlabilnejšou zložkou dreva sú hemicelulózy. K ich termickému rozkladu dochádza v rozmedzí 170 – 240 °C. Výraznejší exotermický efekt sa prejavuje pri teplotách nad 200 °C. K ich tepelnému rozkladu nedochádza v dôsledku ich rôznorodej štruktúry
naraz, ale v dvoch stupňoch. V prvom stupni dochádza k odbúravaniu dlhých reťazcov na kratšie a tie v druhom stupni degradujú na monosacharidy až prchavé produkty (Kačíková et al., 2006; Kačíková et al., 2011).
Celulóza je termicky stabilnejšia ako hemicelulózy. Jej rozklad je do teploty 250 °C mierny, ale pri teplotách nad 300 °C dochádza k výraznej depolymerizácii. Dochádza k narušeniu väzieb v základnom reťazci podľa radikálového mechanizmu. Koncový článok celulózy sa mení na levoglukózan, ktorý sa následne premieňa na horľavé plyny (Kačíková et al., 2011).
Lignín je vďaka svojej trojrozmernej benzenoidnej štruktúre, ktorá značne odoláva tepelnému pôsobeniu termickynajstabilnejšou zložkou dreva. Ohrevom lignínu prebieha pri teplote 100 °C – 180 °C najskôr endotermická fáza, kde dochádza k jeho plastifikácii. Aktívny exotermický rozklad lignínu prebieha pri teplote 300 °C – 400 °C v spojitosti s výraznejším štiepením alkyl-alkyl väzieb, alkyl-aryl väzieb, éterových väzieb aj C-C väzieb v aromatickom jadre (Kačíková et al., 2006; Kačíková et al., 2011).
1.4.2 Plynné produkty termickej degradácie dreva upraveného retardérmi horenia Celý proces pyrolýzy biomasy môže byť rozdelený do štyroch stupňov (Yang et al., 2006, Khelfa et al., 2013):
- < 220 °C – spojený so zmenami vlhkosti,
- 220–315 °C – prebieha najmä rozklad hemicelulóz,
- 315–400 °C – rozklad celulózy,
- > 400 °C – rozklad lignínu.
Prítomnosť anorganických solí vo vzorkách dreva spôsobuje množstvo zmien v procese pyrolýzy. Okrem zvýšených retardačných účinkov voči ohňu sa impregnácia soľami využíva pri následnej termochemickej konverzii na rôzne chemické produkty. Pri termickom pôsobení na modifikované drevo vzniká množstvo plynných a kvapalných produktov a okrem toho aj uhlie, v závislosti od použitej teploty. Hlavným produktom pyrolýzy xylánu je 2-furaldehyd, hemicelulózy ihličnatých drevín môžu poskytovať aj 5-hydroxymetyl-2-furaldehyd. Najmä ľahké plyny (CO, CO2, H2O, formaldehyd, 2-furaldehyd, 5-hydroxymetyl-2-furaldehyd a pod.) vznikajú pri degradácii celulózy. Lignín pri termickom pôsobení poskytuje guajakol, syringol, rôzne fenoly a aromatické uhľovodíky (Khelfa et al., 2008; Khelfa et al., 2013).
Už aj prítomnosť malých množstiev anorganických solí, napr. fosforečnanu amónneho, ktorý sa často používa ako retardér horenia, ovplyvňuje tvorbu guajakolu a jeho derivátov a pôsobí ako katalyzátor štiepenia funkčných skupín lignínu. Anorganické soli urýchľujú dehydratačné reakcie, zintenzívňujú tvorbu zuhoľnatenej vrstvy, ktorej kondenzovaná štruktúra sa ďalej nedegraduje na prchavé produkty (Brebu, Vasile, 2010).
1.5 Fázy požiaru
Jednotlivé fázy požiaru v uzavretom priestore je možné charakterizovať teplotnočasovou krivkou požiaru (Obr. 9). Doba trvania jednotlivých fáz požiaru závisí od geometrie priestoru, fyzikálnych a chemických charakteristík materiálu a ventilačných podmienok. V prípade, že horiaci materiál bude ochladzovaný, dochádza k uhaseniu (Balog, Kvarčák, 1999; Bayler et al.,1995). Na Obr. 9 je zobrazená idealizovaná zmena teploty v čase, spolu s fázami rastu, v prípade, že sa nejedná o požiar riadený ventiláciou ale požiar riadený palivom.
Walton a Thomas (1995) uvádzajú tieto fázy ako: - zapálenie, - rozvoj, - flashover, - plne rozvinutý požiar, - uhasínanie.
Obr. 9 Teplotno-časová krivka rozvoja požiaru (Karlsson, Quintiere, 2000 – upravené)
1. Zapálenie – iniciácia: proces, pri ktorom prebiehajú exotermické reakcie, plameňové alebo bezplameňové horenie
2. Rozvoj – po zapálení môže oheň rásť pomaly alebo rýchlo, v závislosti od typu spaľovania, typu paliva, interakcie s okolím a prístupu ku kyslíku. Fáza rozvoja predstavuje uvoľnenie tepla a vznik spalín. Pri bezplameňovom horení táto fáza trvá dlho, vytvára sa veľa toxických plynov, zatiaľ čo rýchlosť uvoľňovania energie je malá. Fáza rozvoja môže tiež byť veľmi rýchla, najmä pri plameňovom horení.
3. Flashover – rýchly a náhly prechod do plne rozvinutého požiaru. Teplota dosahuje 500 –600 °C, žiarenie na podlahu 15 – 20 kW∙m-2 alebo plamene sa nachádzajú už v otvoroch.
Všetky tieto výskyty môžu byť spôsobené rôznymi mechanizmami, ktoré vyplývajú z vlastností paliva, orientácie paliva, polohy paliva, geometrie priestoru a podmienok v hornej vrstve. O flashoveri nemožno povedať, že ide o mechanizmus, ale skôr o jav spojený s tepelnou nestabilitou.
4. Plne rozvinutý požiar – v tejto fáze je uvoľnené najväčšie množstvo energie, ktoré je veľmi často obmedzené dostupnosťou kyslíka (požiar riadený odvetraním). Pri požiaroch riadených odvetraním sa môžu nespálené plyny zhromažďovať pod stropom, a keď tieto plyny vychádzajú cez otvory, horia, čo vedie k tomu, že plamene šľahajú cez otvory.
Priemerná teplota počas tejto etapy je často veľmi vysoká, v rozmedzí 700 – 1200 °C.
5. Uhasínanie – keď sa palivo spotrebuje, rýchlosť uvoľňovania energie klesá a tým pádom klesá teplota. Prechod z požiaru riadeného ventiláciou do riadeného palivom (Gorska et al., 2021; Karlsson, Quintiere, 2000).
1.5.1 Faktory vzniku a rozvoja vnútorného požiaru
Iniciačný zdroj
Podľa energie a polohy iniciačného zdroja dochádza k bezplameňovému alebo plameňovému horeniu. Zdroj vznietenia môže pozostávať napríklad z iskry s veľmi nízkym
obsahom energie, z ohriateho povrchu alebo z veľkého zapaľovacieho plameňa. Zdroj energie je buď chemický, elektrický alebo mechanický. Čím väčšia je energia zdroja, tým rýchlejší je následný nárast horenia na zdroji paliva. Iskra alebo horiaca cigareta môžu iniciovať tlejúce spaľovanie, ktoré môže pokračovať ešte dlho predtým, ako dôjde k vznieteniu, ktoré často produkuje malé množstvo tepla, ale značné množstvo toxických plynov. Horiaci plameň zvyčajne priamo spaľuje plameňom, čo vedie k šíreniu plameňa a rozvoju požiaru. Veľký význam má tiež umiestnenie zdroja zapaľovania. Pilotný plameň umiestnený na spodnom konci povedzme okennej clony môže spôsobiť rýchle šírenie plameňa smerom hore (rýchle vzostupné šírenie plameňa) a rast požiaru. Rovnaký pilotný
plameň by spôsobil oveľa pomalší rast požiaru, keby bol umiestnený v hornej časti clony, čo by viedlo k pomalému, plazivému šíreniu plameňa smerom nadol (Karlsson, Quintiere, 2000).
Horľavé látky a oxidačný prostriedok
Typ a množstvo horľavého materiálu je samozrejme jedným z hlavných faktorov určujúcich vývoj požiaru v uzavretom priestore. Požiar je riadený palivom po zapálení a v iniciačnej fáze (aj pri uhasínaní). Pri požiare riadenom palivom máme dostatok kyslíka a veľký vplyv má charakteristika horľavých látok. Požiar riadený ventiláciou je vo fáze plne rozvinutého požiaru, kedy dochádza k nedostatku kyslíka na horenie produktov pyrolýzy, vplyv prúdiaceho vzduchu otvormi (Karlsson, Quintiere, 2000).
Geometria priestoru
Teplota a hrúbka horúcej vrstvy a teplota pod stropom má značný vplyv na rast požiaru, nakoľko dochádza k možnosti šírenia plameňa pod stropom a k intenzívnejšej tepelnej radiácii z hornej horúcej vrstvy plynov. Malá výška priestoru vplýva na rýchlejšie zadymenie priestoru, vysoké teploty a rýchly nárast požiaru, zatiaľ čo pri rovnakom množstve paliva vo veľkom priestore, budú nižšie teploty horúcej vrstvy, dlhší čas do zadymenia priestoru (Karlsson, Quintiere, 2000).
Ventilačné otvory
Po dosiahnutí iniciácie horenia musí mať oheň prístup ku kyslíku, aby mohol pokračovať v rozvoji. Vo vnútorných priestoroch, ktoré sú uzavreté alebo majú veľmi malé ventilačné otvory, oheň čoskoro stratí kyslík a môže vyhasnúť alebo naďalej horieť veľmi pomaly v závislosti od dostupnosti kyslíka. V uzavretých priestoroch s otvormi je za určitých okolností dôležitá veľkosť, tvar a umiestnenie týchto otvorov pre vznik požiaru.
Počas fázy rozvoja požiaru, skôr, ako sa stane riadený ventiláciou, môže otvor pôsobiť ako výfuk pre horúce plyny, ak je jeho výška alebo poloha taká, že sa horúce plyny účinne odstraňujú z priestoru.Toznížitepelnú spätnú väzbukpalivuaspôsobí pomalší rast požiaru.
Za inýchokolností nemá geometriaotvoruveľmi významnývplyv narast požiaru počas fázy požiaru riadeného palivom. Rýchlosť horenia je priamo úmerná ventilačnému faktoru (Karlsson, Quintiere, 2000).
Ohraničujúce materiály
Ohraničujúci materiál môže významne ovplyvňovať teplotu horúcich plynov, a tým aj tepelný tok k horiacemu palivu a iným horľavým predmetom. Vlastnosti materiálu riadiace tok tepla konštrukciou sú vodivosť (k), hustota (ρ) a tepelná kapacita (c). Zvyčajne sa zhromažďujú vo vlastnosti nazývanej tepelná zotrvačnosť a uvádzajú sa ako hodnota kρc.
Izolačné materiály majú malú tepelnú zotrvačnosť; materiály s relatívne vysokou tepelnou zotrvačnosťou, ako sú tehly a betón, umožňujú, aby sa do stavby privádzalo viac tepla, čím sa znižujú teploty horúcich plynov. Izolačné vlastnosti materiálov umožňujú rýchlejšie zvýšenie teploty (Karlsson, Quintiere, 2000).
1.6 Požiarne charakteristiky
Požiarne vlastnosti látok je možné definovať, ako vlastnosti látok, ktoré popisujú ich správanie sa za podmienok reálneho požiaru. Najjednoduchšie rozdelenie je podľa skupenstva horľavej látky na požiarne charakteristiky tuhých (v kompaktnej a prašnej forme), kvapalných a plynných látok. Praktickejšie delenie je podľa fázy rozvoja požiaru v ktorej hodnotia správanie sa materiálu. Podľa tohto kritéria viacerí autori (Balog et al., 2015; Martinka, 2015) požiarne charakteristiky látok delia na:
- požiarne charakteristiky hodnotiace správanie sa látky vo fáze iniciácie (teplota vznietenia, teplota vzplanutia, bod vzplanutia, teplota horenia a kritická hustota tepelného toku),
- požiarne charakteristiky hodnotiace správanie sa látky vo fáze lineárneho rozvoja požiaru (rýchlosť šírenia plameňa po povrchu),
- požiarne charakteristiky hodnotiace sklon látky k propagácii požiaru vo fáze flashover,
- požiarne charakteristiky hodnotiace správanie sa látky vo fáze plne rozvinutého požiaru (napr. požiarna odolnosť konštrukcií),
- požiarne charakteristiky hodnotiace správanie sa látky počas celej doby rozvoja požiaru (napr. rýchlosť uvoľňovania tepla, rýchlosť tvorby dymu, toxicita splodín horenia a pod.),
- požiarne charakteristiky pre zvláštne účely (napr. limitné kyslíkové číslo).
1.6.1 Požiarne charakteristiky hodnotiace správanie sa látky vo fáze iniciácie Iniciácia horenia je proces pôsobenia vonkajších faktorov na horľavú látku, ktorého výsledkom je oxidačno-redukčná reakcia medzi horľavou látkou a oxidačným prostriedkom
(najčastejšie vzdušným kyslíkom), ktorá uvoľňuje rovnaké alebo väčšie množstvo tepla, ako jepotrebnénaudržanietejto exotermickej oxidačno-redukčnej reakcie.Abytátozmeszačala horieť, musí byť zohriata na určitú teplotu. V prípade tuhých materiálov je najväčšia časť energie potrebnej na udržanie procesu horenie spotrebovaná na termický rozklad materiálu na plynné rozkladné produkty. Práve iniciácia procesu horenia je najdôležitejším stupňom deštruktívneho procesu horenia. Iniciácia procesu horenia tuhých látok sa môže považovať za prechodný jav, ktorý závisí od teploty okolia, podmienok zahrievania a samozahrievania a akumulácie tepla (Balog, Kvarčák, 1999; Drysdale, 1999).
Podľa zdroja iniciácie sa rozoznávajú tri druhy začatia procesu:
- spontánne vznietenie za účinku vonkajšieho zdroja sálavého tepla,
- iniciácia pôsobením vonkajšieho zdroja zapálenia (otvorený plameň, iskra),
- spontánne vznietenie bez účinku vonkajšieho tepelného zdroja (samovznietenie, chemická reakcia).
Iniciačným zdrojom môže byť ľubovoľný zdroj tepelnej energie (plameň, iskra, rozžeravené teleso), tepelný prejav chemickej reakcie, tepelné žiarenie, teplota okolitého prostredia, alebo tepelný prejav mechanickej energie (Della-Giustina, 2014; Tureková, 2007).
Okrem chemického zloženiajezapálenie drevaovplyvnené množstvom rôznorodých faktorov či už fyzikálneho, alebo chemického charakteru, ktoré sa týkajú materiálu samotného, ale aj prostredia, v ktorom sa nachádza. Faktory, ktoré podstatne ovplyvňujú proces iniciácie horenia sú: zdroj tepla, podmienky toku, povrch, štruktúra a absorpcia materiálu, rozmery skúšobných testovacích vzoriek, hustota a tepelné vlastnosti materiálov, tepelná dekompozícia prvkov (Balog, Kvarčák, 1999; Drysdale, 1999).
Iniciačné parametre možno definovať ako vlastnosti materiálu, ktoré určujú jeho správanie v počiatočnej fáze horenia (Rantuch et al., 2020). V odbornej literatúre a technických normách sa môžeme stretnúť s rôznymi odbornými termínmi vyjadrujúcimi kritické podmienky pre iniciáciu procesu horenia, napr. teplota vzplanutia, teplota vznietenia, teplota horenia, bod vzplanutia a pod. Pre popísanie procesu iniciácie horenia preto použijeme odborné termíny vychádzajúce zo samotnej podstaty iniciácie. Kritická teplota termického rozkladu je minimálna teplota (horúceho vzduchu alebo povrchu) potrebná na rozklad tuhého materiálu alebo vyparovanie horľavej kvapaliny rýchlosťou postačujúcou na dosiahnutie dolnej medze horľavosti rozkladných plynov alebo pár.
Kritická teplota iniciácie rozkladných produktov alebo pár je minimálna teplota (horúceho vzduchu alebo povrchu) potrebná na iniciáciu plameňového horenia rozkladných produktov. Vzmysledefinícií teplotyvzplanutiaa vznieteniamôžebyť teplotavznieteniatuhejhorľavej látky (minimálna teplota horúceho vzduchu prúdiaceho okolo vzorky, ktorá spôsobí jej zapálenie bez použitia prípadného zdroja zapálenia – malý plameň) približne stotožnená s kritickou teplotou iniciácie plynných rozkladných produktov a teplotu vzplanutia (minimálna teplota horúceho vzduchu prúdiaceho okolo vzorky, ktorá spôsobí jej zapálenie pri použití prípadného zdroja zapálenia pôsobiaceho na rozkladné produkty – malý plameň) je možné približne stotožniť s kritickou teplotou termického rozkladu tuhých horľavých materiálov. Kritická teplota iniciácie heterogénneho horenia na povrchu tuhého materiálu je minimálna teplota (horúceho vzduchu alebo povrchu) potrebná na iniciáciu heterogénneho horenia (žeravenia) na povrchu tuhého materiálu. Z porovnania teplôt vzplanutia a vznietenia vyplýva, že kritická teplota termického rozkladu je takmer u všetkých organických polymérov nižšia, ako kritická teplota iniciácie plemeňového horenia rozkladných produktov. Kritická hustota tepelného toku termického rozkladu je minimálna hustota tepelného toku v kW·m-2 , potrebná na rozklad tuhej látky na plynné produkty termického rozkladu alebo vyparovanie horľavej kvapaliny takou rýchlosťou, aby tieto dosiahli dolnú medzu horľavosti. Okrem kritickej teploty alebo kritickej hustoty tepelného toku môže byť podmienka pre iniciáciu materiálu vyjadrená prostredníctvom kritickej (minimálnej) energie. Kritická energia je minimálne množstvo energie potrebné na ohriatie látky na teplotu potrebnú na jej zapálenie (Balog et al., 2015).
Zapálenie dreva
Zapálenie dreva je začiatok vizuálneho a trvalého horenia (tlenie, žeravenie alebo plameňové horenie), ktoré je poháňané pyrolýzou dreva. Preto je nevyhnutnou podmienkou vznietenia tok energie alebo tepelnýtok z ohňa alebo iného ohriateho predmetu na vyvolanie pyrolýzy. Dostatočné podmienky na vzplanutie sú zmiešaním horľavých prchavých látok a vzduchu v správnom zložení a pri teplote od 400 do 500 °C. Iniciačný zdroj sa preto zvyčajne pri skúškach umiestňuje tam, kde pre danú skúšku vznietenia môže dôjsť k optimálnemu zmiešaniu prchavých látok a vzduchu. Pri týchto skúškach sa povrchové teploty drevných materiálov merali v rozmedzí 300 – 400 °C pred riadeným zapaľovaním. Toto sa zhoduje s tretím režimom pyrolýzy dreva, pri ktorom dochádza k tleniu alebo produkcii horľavých prchavých látok. Je však možné, že pred plameňovým horením dochádza k žeraveniu, ak povrch dreva dosiahne pre druhý stupeň pyrolýzy dreva 200 °C
alebo viac. Z testov, ktoré vynútili konštantný vonkajší tepelný tok na povrch dreva, boli
odvodené hodnoty teploty vznietenia, minimálneho toku potrebného na vznietenie a termofyzikálnych vlastností. Hustota a obsah vlhkosti majú veľký vplyv na tieto vlastnosti závislé od materiálu. Kritický tepelný tok pre vznietenie sa pre rôzne výrobky z dreva vypočítal medzi 10 a 13 kW·m-2. Pri vystavení konštantnému tepelnému toku sa časy zapálenia pre masívne drevo zvyčajne pohybovali od 3 s pre tepelný tok 55 kW·m-2 do 930 s pre tepelný tok 18 kW·m-2 (Dietenberger, Hasburgh, 2016).
Špeciálnym typom je samovznietenie, ku ktorému dochádza, keď sa teplo generovanév látkedostatočneneodvádza.Takéto vznieteniezvyčajnetrvá dlhšíčasa zahŕňa tlenie. Nepretržité dymenie je vizuálnym dôkazom toho, že tlie, čo je trvalé spaľovanie v pyrolyzujúcom materiáli. Aj keď tlenie je možné iniciovať externým zdrojom vznietenia, obzvlášť nebezpečné je tlenie iniciované vnútorným vytváraním tepla. Z hľadiska zvyšovania teploty patria medzi potenciálne mechanizmy dýchanie, metabolizmus mikroorganizmov, adsorpčné teplo, teplo pyrolýzy a abiotická oxidácia. Ak je takéto vnútorné vytváranie tepla udržiavané nepretržitým prívodom čerstvého vzduchu a dostatočne obsiahnuté v tepelnej izolácii materiálu, vnútorné teploty sa budú neustále zvyšovať, čo povedienajskôrktleniu a niekedyďalej k vzplanutiu (Dietenberger,Hasburgh, 2016).
1.6.2 Požiarne charakteristiky hodnotiace správanie sa látky vo fáze rozvoja požiaru
Rýchlosť šírenia plameňa po povrchu patrí medzi základné požiarne charakteristiky, charakterizuje jeho správanie sa od okamihu iniciácie po fázu požiaru flashover (celkové priestorové vzplanutie). Vo fáze post flashover (plne rozvinutý požiar) údaj o rýchlosti šírenia plameňa má už len minimálnu výpovednú hodnotu. Výpovedná hodnota väčšiny skúšobných metód hodnotiacich rýchlosť šírenia plameňa po povrchu materiálu klesá s narastajúcou dobou rozvoja požiaru. Vo fáze rozvíjajúceho sa požiaru (aj pred dosiahnutím fázy flashover), vykazuje väčšina materiálov vyššiu rýchlosť šírenia plameňa ako hodnotu, ktorá bola stanovená väčšinou skúšobných metód. Príčinou je tepelná radiácia zo stropu (Martinka, 2015).
Šírenie plameňa je v oblasti požiarnej bezpečnosti považované za veľmi dôležitý proces, ktorý často definuje počiatočné štádiá rastu požiaru. Šírenie plameňa je požiarnou charakteristikou, ktorá ovplyvňuje celý proces horenia. Rýchlosť rozvoja požiaru, bude
závisieť od toho, ako rýchlo sa plameň môže šíriť od bodu vznietenia k čoraz väčšej ploche horľavého materiálu. Na dosiahnutie plne rozvinutého požiaru v uzatvorenom priestore je potrebný nárast nad určitú kritickú hodnotu, ktorá je schopná vytvárať vysoké teploty (zvyčajne > 60 °C) na úrovni stropu. Aj keď zvýšené úrovne žiarenia zvýšia miestnu rýchlosť horenia, je to zväčšujúca sa oblasť plameňa, ktorá má väčší vplyv na veľkosť a rýchlosť horenia. Preto je potrebné skúmať charakteristiky šírenia plameňa nad horľavými materiálmi ako základnej zložky rozvoja požiaru. Šírenie plameňa môžeme považovať za postupujúce predné zapaľovanie, pri ktorom čelná hrana plameňa pôsobí ako zdroj tepla, a aj ako zdroj iniciácie. Rýchlosť šírenia plameňa môže závisieť od fyzikálnych vlastností materiálu, ako aj od jeho chemického zloženia. Rôzne faktory, o ktorých je známe, že sú významné pri určovaní rýchlosti šírenia plameňa pevných horľavých látok sú uvedené v tabuľke 2. Na rozdiel od povrchov kvapalných látok, môže byť povrch tuhej látky v akejkoľvek orientácii, čo môže mať dominujúci vplyv na požiarne správanie. To platí najmä prešírenieplameňa,pretožejeriadenémechanizmom, ktorýprenášateplo predhoriacuzónu atenjesilneovplyvnenýgeometrioupovrchua sklonom.Nielenžesaplameňšíripopovrchu materiálu zvyčajne po zapálení, ale je aj najrýchlejší, a teda najnebezpečnejší, smerom nahor (Drysdale, 1999; Huang et al , 2015; Kobayashia et al , 2017; Pizzo et al., 2009).
Tab. 2 Faktory ovplyvňujúce rýchlosť šírenia plameňa pevných horľavých látok (Friedman, 1977)
Faktory materiálu
chemické fyzikálne
zloženie paliva
Faktory prostredia
iniciačná teplota zloženie atmosféry prítomnosť retardérov orientácia povrchu tlak atmosféry smer šírenia teplota hrúbka tepelný tok
tepelná kapacita rýchlosť vzduchu
tepelná vodivosť hustota
geometrický tvar
Šírenie plameňa je plazivý pohyb bodového ohniska po povrchu tuhej horľavej látky.
Rýchlosť šírenia plameňa určuje časová odozva materiálu na distribúciu tepelného toku zplameňaavonkajšíchzdrojovpridosiahnutípovrchovejteplotyokolo300°C(zhodujúcich sa s bodom vznietenia v závislosti od druhu dreva). Rýchlosť šírenia plameňa všeobecne
klesá so zvyšovaním hustoty, obsahu vlhkosti, povrchovej emisivity, povrchovej teploty pri zapálení a tepelnej vodivosti. Zvyšuje sa s veľkosťou tepelného pôsobenia plameňa. Toto robí z vertikálneho šírenia plameňa nahor alebo stropom (pozdĺž smeru prúdenia vzduchu) vážny problém požiarnej bezpečnosti z dôvodu akceleračného potenciálu vzniku flashoveru s vysokou rýchlosťou uvoľňovania tepla a tvorbou dymu a toxických plynov. Naproti tomu zostupné alebo bočné šírenie plameňa (proti smeru prúdenia vzduchu) je pomalé, plazivé, prejavuje sa aj sklon povrchu horľavej látky). Takéto šírenie plameňa zahrieva taký malý rozsah, že sú potrebné vonkajšie zdroje tepla na udržanie šírenia plameňa na drevených výrobkoch (Dietenberger, Hasburgh, 2016).
Obr. 10 Model prenosu tepla pre plameň šíriaci sa po pevných povrchoch (Zhang et al., 2013 – vlastná úprava)
Tepelná inercia
Rýchlosť šírenia plameňa do značnej miery závisí od času vzplanutia, ktorý zase do veľkej miery závisí od tepelnej inercie (zotrvačnosti) materiálu (k ρ c), čo je vlastnosť materiálu. Čím väčšiu tepelnú zotrvačnosť materiál má, tým pomalšie sa plameň šíri po jeho povrchu. V prípade pevných materiálov sa súčiniteľ tepelnej vodivosti (k) zvyšuje najčastejšie s rastúcou hustotou. Vo väčšine prípadov hustota určuje, ako rýchlo sa plamene šíria po povrchu. To znamená, že rýchlosť šírenia plameňa po povrchu hustého materiálu je zvyčajne pomalšia ako rýchlosť šírenia plameňa po povrchu ľahkého materiálu. Napríklad v prípade molitanov sa plamene môžu šíriť extrémne rýchlo (Kačíková et al., 2022).
Orientácia povrchu paliva a smer šírenia
Pevné povrchy môžu vo všeobecnosti pôsobiť v akejkoľvek orientácii, ale šírenie plameňa je najrýchlejšie, ak sa jedná o vzostupne šírený plameň na vertikálne orientovanom povrchu paliva. Šírenie nadol a bočné šírenie medzi horizontálne orientovanými povrchmi paliva je oveľa pomalšie a rýchlosť je menej citlivá na zmenu orientácie (Drysdale, 1999; Quintiere, 2016). Dôvod tohto správania spočíva v spôsobe, ktorým sa mení fyzická interakcia medzi plameňom a nespáleným palivom, keď sa mení orientácia. Pri šírení smerom nadol a horizontálne vedie unášanie vzduchu do plameňa k „protiprúdovému šíreniu“ (t.j. šíreniu proti indukovanému prúdeniu vzduchu), ale pri šírení smerom hore na zvislompovrchu vytvára prirodzenývztlak plameňa„súčasnéšírenie“. Keď plameňahorúce plyny stúpajú rovnakým smerom, čím sa plní medzná vrstva a vytvárajú sa vysoké rýchlosti prenosu tepla pred horiacou zónou, dochádza k výraznému zvýšeniu rýchlosti šírenia plameňa. U fyzicky tenkých palív, ako je napr. papier alebo lepenka, môže dôjsť k horeniu súčasne na oboch stranách. Preto aj toto treba brať do úvahy pri interpretácii správania sa šírenia plameňa (Drysdale, 1999).

Obr. 11 Šírenie a tvar plameňa pri rôznej orientácii povrchu (Gollner et al., 2017)
Hrúbka materiálu
Aj keď šírenie plameňa možno teoretickypovažovať za problém zdanlivo ustáleného stavu, zahŕňa prechodné procesy prenosu tepla. Predná časť plameňa predstavuje formálnu hranicu, ktorá leží medzi dvoma extrémnymi stavmi nespáleného a horiaceho paliva. Pohyb tejto hranice nad palivom možno považovať za šírenie čela zapaľovania: tak ako pri
zapaľovaní, aj tu významne ovplyvňuje rýchlosť prenosu tepla vedením z povrchu do vnútra paliva. Ak je teda palivo veľmi tenké je možné teoreticky preukázať, že rýchlosť šírenia bude nepriamo úmerná hrúbke materiálu. Keď sa hrúbka zväčšuje, rýchlosť šírenia sa nakoniec stane nezávislou od hrúbky (Drysdale, 1999).
Faktory prostredia
Šírenie plameňa ovplyvňujú aj faktory prostredia, napr. zloženie atmosféry a atmosférický tlak. Horľavé materiály sa ľahšie vznietia, rýchlejšie šíria plameň a intenzívnejšie horia, ak sa zvýši koncentrácia kyslíka. Akékoľvek zvýšenie koncentrácie kyslíka vo vzduchu je sprevádzané zvýšením rýchlosti šírenia plameňa. Je to preto, že plameň je teplejší a môže odovzdať viac tepla palivu. Vyššie rýchlosti šírenia plameňa sa pozorujú pri zvýšenom atmosférickom tlaku z dôvodu účinného obohatenia kyslíkom, ktorý zvyšuje stabilitu plameňa na povrchu (Quintiere, 2016).
1.6.3 Požiarne charakteristiky hodnotiace správanie sa látky počas celej doby rozvoja požiaru
Podľa viacerých autorov, najdôležitejšou požiarnou charakteristikou na určenie nebezpečenstva požiaru je rýchlosť uvoľňovania tepla (Heat Release Rate - HRR) Medzi požiarne charakteristiky umožňujúce posúdenie vplyvu požiaru látkyna okolie (životyosôb, majetok a pod.) patria vlastnosti vyjadrujúce rýchlosť uvoľňovania sprievodných javov požiaru (Lyon, Walters, 2002).
Rýchlosť uvoľňovania tepla, ktorá sa považuje za dôležitú požiarnu vlastnosť, je veľmi dôležitá pre šírenie požiaru. Základnými sprievodnými javmi požiaru sú teplo a splodiny horenia. Z hľadiska požiarnych charakteristík ide o rýchlosť uvoľňovania tepla, oxidu uhoľnatého a dymu. Rýchlosť uvoľňovania tepla predstavuje množstvo tepla (kW) uvoľnené z jednotkovej plochy horľavej látky za jednotku času. Vyššie HRR znamená, že vzorka by mohla prispieť väčšou energiou k rastu požiaru ako materiál s nižšou HRR (Mačiulaitis et al., 2013; Martinka, 2015).
Rýchlosti uvoľňovania tepla sú dôležité, pretože naznačujú potenciálne nebezpečenstvo požiaru materiálu a tiež horľavosť materiálu. Materiály, ktoré relatívne rýchlo uvoľňujú svoju potenciálnu chemickú energiu (a tiež dym a toxické plyny), sú nebezpečnejšie ako materiály, ktoré ju uvoľňujú pomalšie (Bergman et al., 2010).
Táto veličina je základným parametrom pre určenie intenzity horenia. Vo väčšine prípadov,niejehodnotaHRRkonštantná,alemenísav čase.Ajnapriektomu,žesarýchlosť
uvoľňovania tepla najčastejšie meria pre jednotlivé materiály alebo výrobky nie je materiálovou konštantou, ale vlastnosťou závislouokrem vlastností materiálu predovšetkým od hustoty tepelného toku dopadajúceho na jeho povrch a od prívodu vzduchu. Za podmienok reálneho požiaru závisí hustota externého tepelného toku dopadajúceho na povrch horiaceho materiálu od teploty v priestore – pod stropom (tá závisí spätne od rýchlosti uvoľňovania tepla z požiaru) a od možnosti akumulácie horúcich splodín horenia pod stropom. V reálnych priestoroch je navyše požiarne zaťaženie tvorené rôznymi materiálmi (s variabilným pomerom hmotností), čo exaktný výpočet rýchlosti uvoľňovania tepla za podmienok požiaru komplikuje. Pre uľahčenie, resp. umožnenie výpočtu rýchlosti uvoľňovania tepla počas požiaru sa preto priestory (požiarne úseky) posudzujú ako celky, pričom sa vychádza zo štatistického vyhodnotenia údajov o rýchlosti uvoľňovania tepla, ktoré boli získané experimentálne. V súčasnosti existuje pomerne veľké množstvo spôsobov výpočtu rýchlosti uvoľňovania tepla počas požiaru. Rýchlosť uvoľňovania tepla býva ale obvykle stanovená meraním (Karlsson, Quintiere, 2000; Kučera et al., 2009).
1.6.4 Metódy hodnotenia požiarnych vlastností dreva
Testovacie metódy stanovovania požiarnych vlastností materiálov delíme do troch skupín. Prvou skupinou sú chemickoanalytické metódy, pri ktorých sa prejavuje vplyv chemického zloženia a chemickej štruktúry materiálov. Druhou sú laboratórne testovacie metódy, pri ktorých sa prejavuje vplyv fyzikálnych vlastností a poslednou sú veľkorozmerové testy, ktoré sa využívajú pre stanovenie požiarnej odolnosti konštrukcie, odolnosti spojov a kombinácie materiálov (Kačíková et al., 2011).
Medzi chemicko-analytické testovacie metódy patrí napríklad termická analýza, ktorá predstavuje súbor metód, pri ktorých je v definovanej atmosfére sledovaná niektorá vlastnosť vzorky v závislosti na čase alebo teplote, zatiaľ čo teplota vzorky je riadeným spôsobom menená. Metódy termickej analýzy sú používané pre hodnotenie termickej stability materiálov a účinnosti retardérov horenia (Kačík et al., 2012).
K laboratórnym testovacím metódam radíme skúšky zaoberajúce sa hodnotením materiálov z hľadiska reakcie na oheň. Klasifikačný systém rozlišuje sedem tried reakcie na oheň. A to konkrétne triedy A1, A2, B, C, D, E a F, pre tri kategórie výrobkov. Podľa STN EN 13501-1 (2023) sa používajú pre testovanie a klasifikáciu požiarnych charakteristík nasledujúce skúšobné postupy:
- Skúška nehorľavosti (STN ISO 1182: 2010),
- Skúška na určenie spalného tepla (STN EN ISO 1716: 2019),
- Skúška osamelo horiacim predmetom (SBI test) (STN EN 13823 + A1: 2023),
- Skúška zapáliteľnosti (STN EN ISO 11925-2: 2020),
- Zisťovanie správania podlahových krytín pri horení s použitím sálavého zdroja tepla (skúška radiačným plameňom) (STN EN ISO 9239-1:2011)
Pri hodnotení materiálov ale často využívame aj nasledovné testovacie metódy:
- Skúška sálavým tepelným zdrojom,
- Stanovenie zápalnosti v teplovzdušnej peci (STN ISO 871: 2010).
Skupinu veľkorozmerových testov tvoria skúšky požiarnej odolnosti konštrukčných prvkov stavieb, lepšie povedané celých stavieb. Využívajú pre stanovenie požiarnej odolnosti konštrukcie, odolnosti spojov a kombinácie materiálov. Z hľadiska protipožiarnej bezpečnosti je požiarna odolnosť dôležitým údajom pri riešení a posudzovaní stavieb.
1.7 Zlepšenie požiarnych charakteristík dreva
Ako sme už uvádzali, použitie dreva a materiálov na báze dreva v stavebníctve je obmedzené a prísne regulované pravidlami požiarnej a environmentálnej bezpečnosti z dôvodu jeho horľavosti. Všetky horľavé materiály sa snažíme upraviť tak, aby táto negatívna vlastnosť bola čo najviac potlačená. Na zlepšenie požiarnych charakteristík preto využívame retardéry horenia.
Ochrana dreva proti ohňu je obmedzená na spomaľujúci účinok. Spomaľovače horenia sa používajú na významné zníženie alebo oneskorenie horenia materiálu Existuje množstvo prístupov, ktorými spomaľovače horenia uplatňujú svoj vplyv na spaľovanie dreva. Všetky však majú za cieľ oddialiť čas do vznietenia dreva, znížiť rýchlosť uvoľňovania tepla pri spaľovaní a obmedziť povrchové šírenie plameňov. Retardéryhorenia sa zvyčajne buď nanášajú na povrch dreva, alebo sa impregnujú do drevenej štruktúry pomocou vákuovo-tlakovej techniky, hoci sa skúmajú aj iné technológie. Takáto úprava je väčšinou hlavne ekonomicky náročná a nesmie negatívne ovplyvniť iné technické, hygienické, či estetické vlastnosti (Lowden, Hull, 2013; Giudice, Canosa, 2017).
Drevo ošetrené retardérom horenia má zvyčajne vyššiu teplotu, pri ktorej dochádza k vznieteniu. Pretože retardér horenia má tendenciu zvyšovať množstvo vytvoreného zuhoľnatenia a znižovať množstvo uvoľnených prchavých plynov, upravené drevo odoláva vznieteniu dlhšie v porovnaní s neošetreným drevom za rovnakých podmienok. Spomaľovače horenia spomaľujú šírenie plameňa zmenou charakteristík vznietenia
a uvoľňovania tepla, ale vo všeobecnosti nezlepšujú odolnosť dreva voči ohňu. Vlastnosťou, ktorá vykazuje najväčšie zlepšenie s úpravou spomaľujúcou horenie, je šírenie plameňa.
Ošetrenie dreva retardérmi horenia môže výrazne znížiť aj HRR (Sweet, 1993).
Protipožiarne prostriedky používané na drevené konštrukcie obsahujú fosforečnany alebo sírany amónne, chloridy, oxidy, boritany a iné soli kovov, kyselinu boritú a tiež spomaľovače horenia s obsahom halogénov (Seo et al., 2017; Vakhitova, 2019).
Na výrobu retardérov horenia sa používa množstvo chemikálií, pričom niektoré z nich sú nebezpečné pre životné prostredie, ako aj pre ľudský život. Avšak expandovateľný grafit môže byť vstupnou bránou k ekologickejším intumescentným retardérom horenia (Mazela et al., 2020).
1.7.1 Delenie retardérov horenia
Podľa Osvalda (1997) môžeme retardéry horenia dreva rozdeliť do štyroch skupín:
- retardéry, ktoré uvoľňujú nehorľavé plyny v tom tepelnom intervale vzniku horľavých plynov pri termickom rozklade dreva, tým nastáva riedenie horľavých plynov, znižuje sa ich koncentrácia a sťažuje sa ich zapálenie,
- retardéry, ktoré kumulujú teplo z tepelného zdroja a takto ten zdroj „ochladzujú“ (tieto retardéry sú v súčasnosti málo používané, nakoľko rýchlo podliehajú starnutiu a klesá ich účinnosť),
- intumescentné – penotvorné retardéry - ich účinnosť je dvojstupňová, fyzikálnochemická (ich účinnosť je najvyššia, tým aj aplikácia najširšia), v prvej etape pôsobenia tepla reaguje jedna zložka retardéru, ktorá z tenkého filmu vytvorí penu, čím oddeľuje povrch dreva od zdroja tepla, čo je prvý spôsob fyzikálnej retardácie. Druhý spôsob fyzikálnej retardácie je v tom, že pena je veľmi zlý vodič tepla a spôsob ohrievania dreva sa značne spomalí a tretím spôsobom je chemická retardácia, keď pri ďalšom ohriatí dochádza k chemickým reakciám, ktoré význačne spomaľujú spôsob horenia,
- retardéry mechanického typu, ako sú napríklad fólie a rôzne obklady z nehorľavých materiálov.
Podľa chemického zloženia vieme retardéry horenia rozdeliť na :
- zlúčeniny obsahujúce fosfor, dusík, halogén, bór, antimón,
- zlúčeniny obsahujúce v jednej molekule fosfor a halogén alebo fosfor a dusík,
- zlúčeniny obsahujúce arylové skupiny, heterocykly, peroxidové skupiny, ktorých následkom je sieťovanie a karbonizácia,
- zlúčeniny obsahujúce viazanú vodu, ktorých rozklad je spojený s fázovými prechodmi,
- komplexné zlúčeniny, oxidy a soli kovov s premennou vlastnosťou spôsobujúce karbonizáciu materiálu (Košík, 1986).
1.7.2 Spôsoby aplikácie retardérov horenia
Praktické využitie retardérov a ich aplikácia sa využíva v rôznych oblastiach priemyslu. Veľký význam je kladený na znižovanie horľavosti dreva troma postupmi, a to:
- impregnáciou,
- povrchovými nátermi (zábranové a penotvorné), - laminovaním (Harangózo et al., 2012).
Popri výbere retardérov je veľmi dôležitá aj aplikácia a správne ohodnotenie podmienok, v ktorých bude vystavený ošetrený materiál. Kombinácia správneho výberu retardéru, jeho kvalitná aplikácia a odborné ohodnotenie podmienok, v ktorých bude ošetrený materiál vystavený dáva záruku kvalitnej protipožiarnej úpravy. Retardéry horenia sú obvykle buď nanesené na povrch dreva alebo impregnované do štruktúry dreva za použitia vákuovo-tlakovej techniky alebo aj inej technológie, napríklad ošetrenie plazmou.
Plazmová úprava dreva predstavuje moderný prístup k vylepšeniu jeho povrchových vlastností. Plazma, ako štvrté skupenstvo hmoty, sa používa pri fyzikálno-chemických úpravách povrchu rôznych materiálov. Plazmovými výbojmi sa aktivujú polysacharidy a lignínv povrchovejvrstvedreva.Takátocielenáúpravaumožňujevytvoriťnapovrchudreva množstvo nových aktívnych centier a radikálov. Radikály v komponentoch dreva dokážu následne tvoriť nové chemické väzby s inými zložkami dreva, respektíve väzby s molekulami použitého náterového systému. Druh retardéru nám určuje spôsob aplikácie. Napríklad intumescentné retardéry je možné aplikovať len náterom. Retardéry na báze vodorozpustných roztokov anorganických solí zas môžeme aplikovať náterom, máčaním alebo impregnáciou. Nezanedbateľnou je aj cena retardéru a jeho množstvo, ktoré je potrebné použiť, aby sa dosiahla potrebná účinnosť (Osvald, 2009a; Lowdel, Hull, 2013).
1.7.3 Retardéry horenia na báze nanočastíc
Medzi najpoužívanejšie patrí úprava dreva náterovými retardačnými látkami a obklady požiarne odolnými materiálmi. Intenzívny výskum na zvýšenie odolnosti
a životnosti dreva prebieha aj v aplikácii nanočastíc. Možnosti využitia nanočastíc sú pomerne široké – od zvyšovania hydrofóbnosti a fotostability povrchov, cez zlepšovanie mechanických vlastností tradičných materiálov, až po riešenie problémov pri dekontaminácii životného prostredia. Pojem „nano“ je v súčasnosti čoraz častejšie skloňovaným pojmom. Znamená extrémne malé rozmery častíc, merateľné v nanometroch. Táto inovatívna technológia prináša nové možnosti ochrany tradičných materiálov. Na rozdiel od bežných prípravkov nepracuje na úrovni molekúl, ale na atómovej úrovni, preto sa jej pripisuje účinnejší efekt. Čo sa týka dreva, nanočastice umožňujú zvyšovať jeho fotostabilitu, odolnosť voči drevokazným hubám, hmyzu, ale aj voči ohňu (Kubovskýet al., 2017), čo má veľký význam pre rozvíjajúci sa trend stavieb z dreva.
Na zlepšenie termickej odolnosti dreva sa používajú rôzne nanočastice s rôznymi aplikačnými metódami. Ide napríklad o nanočastice TiO2, SiO2, ZnO. Nanočastice oxidu zinočnatého sa používajú vďaka svojim vlastnostiam, ako je ich biokompatibilita, dobrá chemická stabilita a vysoká absorpčná schopnosť; okrem toho môžu slúžiť ako tepelná ochranná bariéra pre vzorky dreva ošetrené vodnou suspenziou ZnO. Podobne nanočastice ZnO vykazujú dobrú úroveň spomaľovania horenia porovnateľnú s komerčným retardérom horenia (Favarim, Leite, 2018; Samanta et al., 2017). Povlak TiO2 môže účinne pôsobiť ako ochranná vrstva na oddialenie horenia dreva a zabránenie šíreniu škodlivých plynných produktov horenia (Sun et al., 2010).
2.0 Materiál
Vybranédruhymateriálov v práci reprezentoval prírodnýmateriál –smrekovédrevo.
Na zlepšenie termickej odolnosti dreva bola použitá chemická látka s protipožiarnou funkciou, resp. rôzne látky aplikované rôznymi spôsobmi aplikácie na danom materiáli.
2.1 Použitý materiál
Na experimenty bolo použité drevo smreka obyčajného (Picea abies (L ) H. Karst) –vzorkyneošetreného drevaa vzorkyošetrenédvomi rôznymi retardérmi horeniadostupnými na trhu – Bochemit Antiflash a Bochemit Pyro
2.1.1 Smrek obyčajný
Prirodzený výskyt smreku obyčajného je v severnej a strednej Európe. V Severnej Európe je to prevažne na nížinách a v južnejších polohách Európy sa jeho výskyt dvíha do vyšších nadmorských výšok a po horských hrebeňoch zasahuje až na Balkán. Z hľadiska nadmorskej výšky rastie od hladiny mora až po 2 300 m.n.m. v Talianskych alpách (Pâques, 2013). Smrek na Slovensku rastie prevažne v horských polohách vo výškach 600 – 1000 m.n.m. Je to strom s priebežným priamym kmeňom a pravidelným praslenovitým vetvením. Má pravidelne usporiadané konáre v praslenoch, vodorovné, mierne sklonené alebo vystupujúce. Jeho výška môže dosahovať 40 – 60 m, s priemerom kmeňa až do 400 mm. Koreňový systém smreka je plytký, preto býva v pôde slabo ukotvený a ľahko a často dochádza k vývratom. Smrekové drevo je mäkké, dobre štiepateľné a ľahké. Hustota tohto dreva je vo viacerých literatúrach uvádzaná v rozmedzí od 300 – 600 kg m-3, prevažne 430 kg·m-3 (Sarvaš et al., 2010).
Makroskopická štruktúra
Smrek obyčajnýjezrelodrevnádrevina.Jeho drevo jebezjadrovés beľoua vyzretým drevom, svetlej farby. Farba jeho dreva je biela so žltkastým nádychom, na svetle časom žltne. Hranice ročných kruhov sú úzke a výrazné. Živicové kanáliky sú malé, roztrúsené, voľným okom pozorovateľné len na pozdĺžnych, dobre odpracovaných rezoch, ako jemné, tmavšie, lesklé trhliny. Za čerstva je toto drevo charakteristické svojou živicovou vôňou. Stržňové lúče sú voľným okom neviditeľné (Kačíková et al., 2008).
Mikroskopická štruktúra
V anatomickej stavbe smrekového dreva prevládajú tracheidy – cievice, ktoré zaberajú až 94,5 – 96,5 % celkového objemu dreva. Pre drevo plnia vodivú i mechanickú
funkciu. Ich dĺžka je 1,7 – 3,7 mm. Stržňové lúče smrekového dreva sú väčšinou jednovrstvové, ich podiel je 4,4 – 5,5 % Sú zložené z parenchymatických buniek a na obvode s priečnymi tracheidmi, ktoré majú stenyhladké alebo málo zvlnené s dvojbodkami. Parenchymatické bunky stržňových lúčov rozvádzajú organické zásobne látky. Živicové kanáliky smrekového dreva sú dobre viditeľné na priečnom aj tangenciálnom reze. Živica má pre strom nie len ochrannú funkciu pri poranení, ale aj impregnačnú funkciu, nakoľko zvyšuje odolnosť dreva proti hubám (Sarvaš et al., 2010).
Technológie spracovania a použitie
Smrekové drevo je pre nás najdôležitejšia surovina pre piliarske spracovanie. Jeho najvýznamnejšie využitie je ako konštrukčný materiál v stavebníctve vo forme stavebného reziva predovšetkým pre nadzemné stavby. Používa sa pre výrobu strešných konštrukcií obytných, hospodárskych, ale i špeciálnych budov. Taktiež je potrebné nezabúdať na jeho využitie v banskom priemysle, ako konštrukčného materiálu v strojárstve. Je osvedčeným polotovarom pre výrobu produktov stavebno-stolárskej výroby. Smrekové rezivo sa používa na výrobu nábytku a je významnou surovinou pre výrobu konštrukčných dýh na výrobu preglejok a všetkých druhov aglomerovaných materiálov, ako sú drevotrieskové dosky, vrátane dosák z orientovaných triesok, drevovláknité dosky rôznej hustoty (Sarvaš et al., 2010).
2.1.2
Bochemit Antiflash
Bochemit Antiflash je koncentrovaný kvapalný vodou riediteľný prípravok určený na zníženie reakcie dreva na oheň s preventívnym fungicídnym a insekticídnym účinkom proti drevokazným hubám a hmyzu. Získal ocenenie Profesijnej komory požiarnej ochrany Českejrepubliky„ZLATÝPLAMEŇ“.Jeurčenýnaošetreniedrevenýchprvkovstavebných konštrukciiaďalšíchmateriálovnabázedrevazabudovanýchvinteriérochstavieb.Uvedený retardér horenia je určený pre profesionálny a priemyselný trh. Po ošetrení náterom drevený materiál spĺňa požiadavky triedy B-s1, d0 reakcie na oheň podľa STN EN 13501-1: 2023. Po nanesení zanecháva na povrchu dreva funkčnú vrstvu, ktorá je na dotyk mierne lepkavá (technický list – bochemit.eu; KBÚ – farby.sk).
Bochemit Antiflash zaisťuje zníženie horľavosti dreva znížením rýchlosti šírenia plameňa na povrchu dreva. Ak sa drevo ošetrené Bochemitom Antiflash (podľa predpísaného minimálneho množstva) vystaví pôsobeniu plameňa, účinné látky sa zahrievanímzačnúrozkladaťnanehorľavéplynnélátky,ktorésazpovrchuošetrenéhodreva
uvoľňujú do okolia a zriedia kyslík nevyhnutný pre horenie drevnej hmoty natoľko, že nepostačuje pre ďalšie horenie. Zahrievaním ošetreného dreva zároveň vzniká na povrchu spenená izolačná vrstva, ktorá zabraňuje priamemu kontaktu plameňa s povrchom dreva, tým prednostne absorbuje teplo plameňa a bráni jeho prístupu k povrchu dreva. To má za následok opäť spomalenie horenia a urýchlenie tvorby zuhoľnatenej povrchovej vrstvy dreva.Táto vrstvamávýznamnýtepelnoizolačnýefekt atiežbráni ďalšiemušíreniu plameňa (technický list – bochemit.eu; KBÚ – farby.sk).
2.1.3
Bochemit Pyro
Bochemit Pyro je koncentrovaný kvapalný vodou riaditeľný prípravok určený na zníženie reakcie dreva na oheň. Na ošetrenie dreva, drevených prvkov stavebných konštrukcií a ďalších materiálov na báze dreva určených na zabudovanie alebo už zabudovanýchdo interiérov stavieb.Drevenýmateriál poošetrení náterom spĺňapožiadavky triedy C-s1, d0 reakcie na oheň podľa STN EN 13501-1: 2023 (technickýlist – bochemit.eu; KBÚ – farby.sk).
Bochemit Pyro zaisťujezníženiehorľavosti drevazníženímrýchlosti šírenia plameňa napovrchudreva ahorenia.AksadrevoošetrenéBochemitom Pyro,poošetrenístanoveným minimálnym množstvom vystaví pôsobeniu plameňa, účinné látky sa zahrievaním začnú rozkladať na nehorľavé plynné látky, ktoré sa z povrchu ošetreného dreva uvoľňujú do okolia a zrieďujú kyslík. Zahrievaním ošetreného dreva zároveň vzniká na povrchu spenená izolačná vrstva, ktorá zabraňuje priamemu kontaktu plameňa s povrchom dreva, tým prednostne absorbuje teplo plameňa a bráni jeho prístupu k povrchu dreva. To má za následok opäť spomalenie horenia a urýchlenie tvorby zuhoľnatenej povrchovej vrstvy dreva.Tátovrstvamávýznamnýtepelnoizolačnýefekta tiežbrániďalšiemušíreniuplameňa (technický list – bochemit.eu; KBÚ – farby.sk).
2.2 Príprava vzoriek
Pred vykonaním experimentov boli skúšobné vzorky vymanipulované v tangenciálnom smere na požadované rozmery(dĺžka × šírka × hrúbka) z kmeňového dreva smreka obyčajného (Picea abies (L.) H. Karst), pochádzajúceho zo 120-ročného porastu v lokalite Hakovo, v nadmorskej výške 800 m.n.m. z letnej ťažby. Následne boli skúšobné vzorky ošetrené zvolenými retardérmi horenia dostupnými na trhu – Bochemit Antiflash. a Bochemit Pyro.
Vlhkosť skúšobných vzoriek dreva sme vypočítali podľa vzťahu (1), ktorý nám udáva pomer medzi hmotnosťou vlhkého a hmotnosťou absolútne suchého dreva (hmotnosť dreva po vysušení pri teplote 103 ± 2 ° C). Vlhkosť nami testovaných vzoriek bola 10 ± 0,5 % a ich hustota bola 443,61 kg m-3 .
kde: w vlhkosťdreva(%)
mw hmotnosťdrevapridanejvlhkosti(kg),
m0 hmotnosťdrevavabsolútnesuchomstave(kg).
Bochemit Antiflash a Bochemit Pyro sú náterové látky, ktoré sa na materiál nanášali vo forme trojvrstvového náteru pomocou plochého štetca, v množstve a spôsobom podľa odporúčaní výrobcu pre zaradenie materiálu do stanovenej triedy reakcie na oheň. Bochemit Antiflash bol zriedený s vodou v pomere 2:1, pričom množstvo retardačnej látky predstavovalo 300 g·m-2, pre dosiahnutie klasifikácie do B triedy reakcie na oheň. Bochemit Pyro bol taktiež zriedený s vodou v pomere 2:1, pričom množstvo retardačnej látky predstavovalo 400 g·m-2, pre dosiahnutie klasifikácie do C triedy reakcie na oheň.
2.2.1 Príprava vzoriek pre skúšku zapáliteľnosti a modifikáciu skúšky zapáliteľnosti
Skúšobné vzorky boli pre potreby uvedených dvoch testovacích metód vymanipulované na rozmery 250 mm × 90 mm × 10 mm v počte 126 skúšobných vzoriek Z toho 42 vzoriek bolo ošetrených retardérom horenia Bochemit Antiflash, 42 vzoriek bolo ošetrených retardérom horenia Bochemit Pyro, oba druhy v množstve a spôsobom podľa odporúčaní výrobcu. Zvyšných 42 vzoriek predstavovali neošetrené – referenčné vzorky.
Pre skúšku zapáliteľnosti sa na každom skúšobnom teliesku označí jednak miesto priloženia skúšobného plameňa a aj normou určená vzdialenosť od miesta priloženia, na ktorej sme sledovali šírenie plameňa za čas 60 sekúnd, ktoré pre klasifikáciu do B,C,D triedy nesmie presiahnuť viac ako 150 mm. Z testovanej dreviny bolo potrebné pre každý druh retardačnej úpravypripraviť 12 skúšobných vzoriek na jednu sériu – pre možnosť vykonania 6 experimentov na hlavnú plochu a 6 experimentov na spodnú hranu. Testovaná bola len jedna séria vzoriek zo všetkých troch druhov retardačnej úpravy vzorky a tiež referenčné –neošetrené vzorky, tzn. spolu 48 vzoriek pre skúšku zapáliteľnosti.
Obr.12 Schéma označenia vzdialenosti pri vzorkách testovaných na hlavnú plochu a spodnú hranu
Pre modifikáciu skúšky zapáliteľnosti bolo z testovanej dreviny potrebné pre každý druh úpravy pripraviť 30 skúšobných vzoriek na jednu sériu – pre možnosť vykonania 10 experimentov pri každom uhle sklonu vzorky. Testovaná bola len jedna séria vzoriek z oboch druhov retardačnej úpravy vzorky (vzorky ošetrené retardérom horenia Bochemit Antiflash a Bochemit Pyro,) a tiež referenčné – neošetrené vzorky, tzn. spolu 90 vzoriek pre modifikáciu skúšky zapáliteľnosti.
2.2.2 Príprava vzoriek pre skúšku sálavým tepelným zdrojom
Skúšobné vzorky boli pre potreby uvedenej testovacej metódy vymanipulované na rozmer 50 mm × 40 mm × 10 mm, bez anatomických a iných chýb. Pre skúšku sálavým tepelným zdrojom bolo z testovanej dreviny potrebné pre každý druh úpravy pripraviť 5 skúšobných vzoriek na jednu sériu. Testovaná bola jedna séria vzoriek z oboch druhov retardačnej úpravy a tiež referenčné – neošetrené vzorky, tzn. spolu 15 vzoriek pre skúšku sálavým tepelným zdrojom.
2.2.3 Príprava vzoriek pre skúšku na kónickom kalorimetri
Skúšobné vzorky pre potreby uvedenej testovacej metódy boli vymanipulované na rozmer 100 mm × 100 mm × 20 mm v celkovom počte 27 kusov. Pre skúšku na kónickom kalorimetri bolo potrebné pre každý druh úpravy pripraviť 9 kusov skúšobných vzoriek na jednu sériu – pre možnosť vykonania 3 experimentov pri každom tepelnom toku (20, 35, 50 kW∙m-2). Testovaná bola len jedna séria vzoriek z oboch druhov retardačnej úpravy vzorky (vzorkyošetrené retardérom horenia Bochemit Antiflash aBochemit Pyro,) a tiež referenčné – neošetrené vzorky.
3.0 Testovacie metódy
V súčasnosti sa v testovaní materiálov a stavebných konštrukcií využíva veľké množstvo normalizovaných aj nenormalizovaných skúšobných metód. Ako kritériá na hodnotenie účinnosti úpravy dreva a materiálov na báze dreva pomocou chemickej látky s protipožiarnou funkciou využívame ich požiarne charakteristiky. Pri tvorbe metodiky na hodnotenie účinnosti retardačnej úpravy sme okrem progresívnych testovacích metód, vychádzali aj z noriem a štandardov, ktoré sa týkajú hodnotenia materiálov z hľadiska reakcie na oheň. Hodnotená bola termická stabilita pri zaťažení plamenným ale aj sálavým zdrojom. V nasledujúcich kapitolách uvádzame opis použitých metód pri experimentálnej časti.
3.1.1 Skúška zapáliteľnosti
Štandardnou skúšobnou metódou pre hodnotenie materiálov z hľadiska reakcie na oheň je metóda podľa STN EN ISO 11925-2 (2020) – skúška zapáliteľnosti. Pomocou uvedenej skúšky sa určuje zapáliteľnosť výrobku pri vystavení účinkom malého usmerneného plameňa pri podmienkach nulovej prídavnej radiácie s umiestnením vzoriek vo zvislej orientácii. Uvedená skúška sa využíva pri triedach reakcie na oheň B, C, D, E (klasifikácia stavebných výrobkov - okrem podlahových krytín a tepelnoizolačných výrobkov na lineárne potrubia), Bfl, Cfl, Dfl, Efl (klasifikácia podlahových krytín), BL, CL, DL, EL (klasifikácia tepelnoizolačných výrobkov na lineárne potrubia). Na vykonanie uvedenej skúšky sa používa skúšobné zariadenie (Obr. 13) podľa STN EN 11925-2 (2020).
Obr 13 Schéma skúšobného zariadenia pre skúšku zapáliteľnosti (STN EN 11925-2:2020)
1 – držiak skúšobného telesa, 2 – skúšobné teleso, 3 – podpera, 4 – základňa malého horáka, A – plameň horáka pôsobiaceho na skúšobné teleso.
Skúška zapáliteľnosti prebieha v skúšobnej komore vyrobenej z nehrdzavejúcej ocele. Presklené dvierka vpredu a na jednej bočnej strane zabezpečujú prístup a priestor na pozorovanie. Zdrojom iniciácie je malý plynový horák na propán, ktorý je upevnený do vodorovnej platne tak, aby sa mohol hladko pohybovať v smere pozdĺžnej osi skúšobnej komory dopredu aj dozadu (Osvald, 2009b).
Podľa postupu skúšky v STN EN 11925-2 (2020) musí mať skúšobná vzorka požadovanérozmery.Priskúšanísaobabokyvzorkya jedenkoniecvzorkyupevniadorámu držiaka. Následne sa pomocou príslušného dištančného telieska (Obr. 14) skontroluje vzdialenosť horáka od vzorky. Po skontrolovaní vzdialenosti sa zapáli horák a ventilom horáku sa nastaví pomocou špeciálnej mierky požadovaná výška plameňa – 2 cm Následne, po nastavení plameňa sa naklonený horák pod uhlom 45° oproti zvislej osi posúva vo vodorovnom smere, kým plameň nedosiahne kontaktný bod so skúšobnou vzorkou. Plameňom môže byť exponovaná buď hlavná plocha alebo spodná hrana skúšobného telesa. V prípade testovania na hlavnú plochu sa plameň prikladá do normou stanovenej výšky – 40 mm od spodnej hrany. Časové zariadenie sa zapína v okamihu, keď sa plameň dotkne vzorky. Používajú sa dva časy pôsobenia plameňom 15 s alebo 30 s, pričom celkové trvanie skúšky je 20 s a 60 s (v závislosti od klasifikačnej triedy) Po uplynutí určeného času sa horák plynulo oddiali a sledujeme či došlo k zapáleniu skúšobného telesa, či vrchol plameňa dosiahol hranicu 150 mm nad bodom priloženia plameňa a čas, keď to nastalo, sleduje sa tiež fyzikálne správanie skúšobnej vzorky (dymenie, oddeľovanie horiacich úlomkov alebo kvapiek – pre určenie doplnkovej klasifikácie podľa STN EN 13501-1: 2023).

Obr. 14 Dištančné teliesko horáka na dopad na hranu/ hlavnú plochu
HodnotiacimkritériomuvedenejtestovacejmetódyjeFs(šírenieplameňavozvislom smere) ≤ 150 mm za 60 s. Vplyv termického pôsobenia bol v tomto prípade okrem kritérií daných normou posudzovaný aj z hľadiska úbytku na hmotnosti po vykonaní skúšky.
3.1.2 Modifikácia skúšky zapáliteľnosti
Šírenie plameňa je požiarnou charakteristikou, ktorýovplyvňuje celýproces horenia, od vzniku až po jeho ukončenie. Na základe testovania rôznych materiálov inými autormi, ktorí tiež skúmali šírenie plameňa po povrchu vzorky, sme sa rozhodli navrhnúť progresívnu testovaciu metódu, ktorú môžeme považovať za modifikáciu normovej testovacej metódy podľa STN EN ISO 11925-2:2020. Postup a zariadenie (Obr. 15) na vykonanie uvedenej skúšky je na základe Úžitkového vzoru (ÚV) č. 9589 –,,Zariadenie na stanovenie rýchlosti
šírenia plameňa po povrchu polymérnych materiálov a spôsob na toto stanovenie“. V práci sme uvedenou metódou posudzovali vybrané požiarne charakteristikysmrekového dreva pri zaťažení plamenným zdrojom, v závislosti od uhla (0°, 45°, 90°) umiestnenia vzorky vzhľadom na iniciátor.
Obr. 15 Schéma zariadenia na stanovenie rýchlosti šírenia plameňa po povrchu polymérnych materiálov (ÚV č. 9589)
Skúšobné zariadenie obsahuje stojan ukotvený v izolačnej platni, slúžiacej tiež na ochranu váh, ktoré sú umiestnené na vodorovnom podklade pod izolačnou platňou. Váhy sú pripojené na notebook. Na tyči stojana je pohyblivo upevnenýuhlomer, tak, abybolo možné nastaviť jeho výšku umiestnenia na stojane. Na stojan je ďalej upevnený držiak skúšobnej vzorky. Držiak je umiestnený v tesnej blízkosti uhlomeru, aby bolo možné nastavenie uhla sklonu vzorky v držiaku vzhľadom na zvislú os stojana. Zariadenie ďalej obsahuje stojan horáka, na ktorom je pohyblivo upevnenýdržiak kahana tak, aby bolo možné nastaviť výšku
umiestnenia držiaka kahana na stojane horáka. Plynový kahan napojený na propánovú fľašu je umiestnený v držiaku kahana. Uvedený kahan slúži ako iniciátor (ÚV č. 9589).
Pre uvedenú metódu sme využili elektronické váhy KERN typu PES 6200-2M od firmy KERN, sú to váhy zaraďované do kategórie laboratórnych presných váh. Uvedené váhy dokážu merať s presnosťou na dve desatinné miesta a maximálna nameraná hmotnosť na tomto type váh je 6200 g. Výhodou pre tieto váhy je ich možnosť pripojenia k počítaču. Pomocou programu KERN Balance Connection Software Version 4.2.4 môžeme zaznamenávať v určených časových intervaloch hmotnosť telesa a následne vyhodnocovať namerané hodnoty.
Pri experimentoch pomocou uvedenej testovacej metódy ako iniciátor sme využili laboratórny Teclu kahan – 1211 na propán. Kahan je určený na strednú veľkosť plameňa s maximálnym prietokom plynu 65 l·h-1. Prísun vzduchu sa dá regulovať šraubovaním, ktorým nastavujeme veľkosť štrbiny na päte kahana. Taktiež vieme regulovať aj prívod plynu pomocou ihlového ventilu. Výkon horáka pri nastavení požadovanej výšky plameňa na experimentoch sme stanovili výpočtom podľa vzťahu (2) na 212 W.
kde: �� objemovýprietokplynu (m3·s-1), p atmosférickýtlak (Pa),
LHVV výhrevnosťpaliva(MJ·m-3)nameranápri25°Ca101,325kPa, t teplota(°C)(Rantuchetal.,2023).
Pri testovacej metóde sme zvolili aj použitie prietokomeru, pre možnosť zabezpečenia identického prietoku propánu, počas celej doby trvania experimentu. Ide o prietokomer Q-Flow 140 s ventilom a pripojením G1/4" od firmy Vögtlin. Merací rozsah prietokomeru je od 0,05 do 0,30 l·s-1 , s priamym čítaním stupnice. Uvedený prietokomer je nakonfigurovanýpre meranie prietoku propánu. Pri experimentoch bol prietok propánu 0,15 l·s-1
Pri progresívnej testovacej metóde je zariadenie umiestnené v laboratórnom digestore s odťahom spalín. Pomocou uhlomeru sme nastavili držiak skúšobnej vzorky do
polohy jedného z troch uhlov – 0°, 45° alebo 90° vzhľadom na os stojana. Plynový kahan nastavíme na vzdialenosť 80 mm pod držiakom skúšobnej vzorky, horák zapálime a ventilom horáka regulovane nastavíme výšku plameňa – 100 mm. Následne vložíme odváženú vzorku do držiaka a aktivujeme v pripojenom počítači softvér na záznam hmotnosti vo zvolenom časovom intervale – v našom prípade 10 s. Horák plynulým pohybom premiestnime pod skúšobnú vzorku, do bodu kým plameň nedosiahne kontaktný bod so skúšobnou vzorkou (stred vzorky v prípade testovania pri 45° a 90° uhle sklonu a spodná hrana vzorky pri 0° uhle). V okamih kedy sa plameň dotkne skúšobnej vzorky, sa spúšťa zariadenie na meranie času a sleduje sa čas do iniciácie skúšobnej vzorky. Vzorka je zaťažovaná plameňom po dobu 600s. Po uplynutí stanoveného času sa horák oddiali.
Pomocou navrhnutej progresívnej testovacej metódy môžeme z nameraných hodnôt stanoviť rýchlosť šírenia plameňa po povrchu vybraného materiálu, hmotnostný úbytok, rýchlosť odhorievania a hrúbku zuhoľnatenej vrstvy pri vystavení vzorky účinkom malého usmerneného plameňa, v závislosti od uhla, pod ktorým je skúšobná vzorka umiestnená.
Pri experimentoch sme zaznamenávali v 10 sekundových intervaloch hmotnosť vzorky, z ktorej sme následne podľa vzťahu (3) vypočítali relatívny úbytok hmotnosti v jednotlivých časových intervaloch a pomocou získaných hodnôt sme vypočítali relatívnu rýchlosť odhorievania podľa vzťahu (4).
kde: δ(τ) úbytokhmotnostivčase(τ)(%),
m (τ0) pôvodnáhmotnosťvzorky (g),
m (τ) hmotnosťvzorkyvčase(τ)(g).
kde: ʋ rýchlosť odhorievania (%·s-1),
δ(τ) úbytokhmotnostivčase(τ)(%),
δ(τ+ Δ τ)úbytokhmotnostivčase(τ+ Δτ)(%),
Δ τ časový interval, v ktorom sa odčítavajú hmotnosti (s).
Obr 16 Priebeh experimentu pri 0° uhle sklonu vzorky
Obr. 17 Priebeh experimentu pri 45° uhle sklonu vzorky
Obr. 18 Priebeh experimentu pri 90° uhle sklonu vzorky
3.1.3 Optické merania
Po uskutočnení modifikácie skúškyzapáliteľnosti, sme na vzorkách vykonali optické merania pre určenie maximálnej rýchlosti odhorievania a odhoreného objemu vzoriek Meracím prístrojom bol digitálny mikroskop Keyence VHX-7000, ktorého konštrukciu popisuje Obr. 19
Obr. 19 Konštrukcia digitálneho mikroskopu Keyence VHX-7000 (foto: L. Adamčík)
1 – Riadiaca jednotka, 2 – Ovládací panel , 3 – kamerová jednotka , 4 – Zoomovací objektív , 5 – Pozorovací stojan , 6 – XYθ eucentrický motorizovaný stolík
Hlavnou časťou mikroskopu je zoomovací objektív s možnosťou priblíženia v rozsahu od 100x po 1000x (VH-Z100R), ktorý je spojený s kamerovou jednotkou VHX7020 a umiestnený na pozorovacom stojane VHX-S650E, ktorý umožňuje naklápanie objektívu pod uhlom od + 60 ° do - 90 °. Objektív a kamerová jednotka sú s pozorovacím stojanom spojené pomocou motorizovanej časti, ktorá umožňuje pohyb objektívu v rámci osi Z. Jednou z hlavných častí stojanu je aj eucentrický XYθ stolík, ktorého súčasťou je aj monochromatický kruhový tanier bielej alebo čiernej farby, ktorý je možné nahradiť za sklenený. Hlavnou časťou mikroskopu je riadiaca jednotka s UHD LCD monitorom. Koaxiálne osvetlenie je rovnako dôležitou súčasťou mikroskopu. Umožňuje pozorovať vzorku cestovaním svetla cez polovičné zrkadlo. Polovičné zrkadlo polovicu svetla odráža a zvyšok prepúšťa.
Použitým softvérovým nástrojom (VHX-H5M) v mikroskope bolo meranie výšok jednotlivých skenovaných rovín povrchu (topografia nerovností povrchu) a meranie objemu
odhorenej časti vzoriek pod nastavenou referenčnou rovinou. Ide o bezkontaktnú optickú metódu pozorovania povrchu pomocou dopadajúceho a odrazeného svetla. Jej hlavnou výhodou je rýchlosť vyhodnocovania parametrov a dobrá opakovateľnosť merania. Nevýhodou je značná časová náročnosť potrebná pre spájanie snímok do uceleného obrazu (3D).
Vzorky boli po vykonaní modifikácie skúšky zapáliteľnosti umiestnené na eucentrický stolík mikroskopu. Objektívom bola následne zoskenovaná 3D snímka povrchu veľkosti 39 × 39 mm. Rozmer bol zvolený tak, aby po spojení 4 kvadrantov, bola zoskenovaná celá plocha zasiahnutá pôsobením plameňa. Následne sme na všetkých vzorkách vyhodnotili pomocou softvéru odhorený objem a tiež maximálnu rýchlosť odhorievania.
3.1.4 Meranie teploty povrchu
S priemyselnoutermokamerouFlukeRSE600(FlukeCorporation,Everett,USA)bol počas skúšky sálavým tepelným zdrojom a počas modifikácie skúšky zapáliteľnosti, počas celej doby merania v 0,1 s intervale snímaný celý povrch. Uvedená termokamera má rozlíšenie 640 × 480 px s IFOV 0,93 mRad, IR a Vis. a dokáže zmerať teplotu v rozsahu od -10 °C do 1200 °C vzoriek s emisivitou 0,8. Z údajom sme následne vyhodnocovali priebeh teplôt po dobu 600 s pomocou softvéru Smart View R&D vo vopred špecifikovaných bodoch.
Obr. 20 Rozloženie bodov pre meranie teploty povrchu pri modifikácii skúšky zapáliteľnosti (vpravo – 45°uhol, vľavo – 0° uhol)
Obr. 21 Rozloženie bodov pre meranie teploty povrchu pri modifikácii skúšky zapáliteľnosti – 90°uhol
Pri modifikácii skúšky zapáliteľnosti sme určovali priebeh teplôt v piatich bodoch (A!, A, B, C, D) pri testovaní s 0° uhlom sklonu vzorky (Obr. 20 vľavo) a v šiestich bodoch (A!, A, B, C, D, E) pri testovaní so 45° a 90° uhlom sklonu vzorky (Obr. 20 vpravo a obr. 21). Bod A! predstavoval na vzorke miesto s najvyššou teplotou. Body boli rovnomerne rozmiestnené po celej ploche vzorky.
Obr. 22 Rozloženie bodov pre merania teploty povrchu pri skúške sálavým tepelným zdrojom
Pri skúške sálavým tepelným zdrojom sme určovali priebeh teplôt v štyroch bodoch A, B,C a D (Obr. 22). Bod A bol na vrchu vzorky, bod B bol na vrchnej hrane prednej strany vzorky, bod C bol v strede na prednej strane a bod D bol na spodnej hrane prednej strany vzorky.Všetkyvzorkymali rovnakúorientáciu vovzťahukanatomickým smerom. Hodnoty
teplôt v miestach A, B a C predstavujú priemerné hodnoty teplôt nameraných na príslušnom povrchu.
3.1.5 Skúška sálavým tepelným zdrojom
Ide o nenormovú testovaciu metódu využívanú pri modelových testoch horenia.
Experiment spočíva vo vystavení skúšobných telies účinkom tepelného infražiariča s rôznym tepelným výkonom po určitú dobu, v rôznych vzdialenostiach od povrchu žiariaceho telesa. Na vykonanie uvedenej skúšky sa používa stanovené zariadenie (Obr. 23).
Obr. 23 Schematické znázornenie zariadenia pri skúške sálavým tepelným tokom (Mitterová, 2011) 1 – infražiarič, 2 – kovový stojan, 3 – ochrana váh, 4 – elektronické váhy, 5- skúšobná vzorka, 6 – držiak skúšobnej vzorky
Pri väčšine testovacích metód sa ako zdroj zaťaženia vzoriek používa plameň alebo sálavý zdroj energie, ktorým je najčastejšie infračervený žiarič. Primárnou funkciou infračerveného žiariča je prenos tepla k testovanému materiálu prostredníctvom emisie infračerveného žiarenia. Keramický infražiarič vytvára dlhovlnné infračervené žiarenie.
Infražiarič je vyrábaný špeciálnym spôsobom. Jeho odporová špirála je zaliata do keramickéhotela,ktoréjenásledneglazovanéakoochranaprotivniknutiuvlhkosti.Uvedená ochrana tiež chráni žiarič pred atmosférickým a korozívnym vplyvom. Žiarič pracuje pri teplote od 300 do 750 °C. Použili sme keramickýtepelnýinfražiarič (Ceramicx, Cork, Írsko) s elektrickým výkonom 1000 W.
Na zaznamenávanie hmotnosti boli použité elektronické váhy Radwag PS 3500. R2 od firmy Radwag. Elektronické váhy Radwag typu PS 3500. R2 (Radom, Poľsko) s presnosťou na stotiny g, maximálna vážiteľnosť je 3500 g. Sú schopné pracovať aj v neštandardnýchpodmienkach. Pre zaistenienajpresnejších výsledkovdisponujú tieto váhy
automatickou internou kalibráciou, reagujúcou na zmenu teploty alebo času. Ich ďalšou výhodou je ich možnosť pripojenia k počítaču. Váhy boli pripojené k PC a boli zaznamenávané hodnoty cez software RADWAG (R-Lab - 2018.4.11) a následne prekonvertované do MS Office.
Experiment spočíva vo vystavení skúšobných telies účinku tepelného infražiariča s výkonom 1000 W. Doba pôsobenia bola 600 s a vzdialenosť vzoriek od povrchu žiariča bola 40 mm. V experimente sme pomocou elektronických váh každých
10 s zaznamenávali hmotnosť vzorky pomocou softwaru. Bol zaznamenaný čas vznietenia, ak k tomuto javu došlo.
Hodnotiacim kritériom experimentu je relatívny úbytok hmotnosti vypočítaný podľa vzťahu (3), relatívna rýchlosť odhorievania vypočítaná podľa vzťahu (4) a čas vznietenia testovaných vzoriek pri zaťažení sálavým teplom.
3.1.6 Metóda kónického kalorimetra
Jedná sa o štandardnú skúšobnú metódu pre hodnotenie materiálov z hľadiska reakcie na oheň podľa ISO 5660-1 (2015) – Skúšky reakcie na oheň. Uvoľňovanie tepla, produkcia dymu a rýchlosť úbytku hmotnosti – časť 1: Rýchlosť uvoľňovania tepla (metóda kónického kalorimetra) a rýchlosť tvorby dymu (dynamické meranie). Pomocou uvedenej skúšky sa určuje rýchlosť uvoľňovania tepla a dynamická produkcia dymu vzoriek vystavených v horizontálnej orientácii so stanovenými hodnotami tepelného žiarenia s externým iniciátorom. Rýchlosť uvoľňovania tepla sa určuje meraním spotreby kyslíka odvodenej od koncentrácie kyslíka a prietoku v prúde produktov horenia. V tomto teste sa meria aj čas do vznietenia. Dynamická rýchlosť produkcie dymu sa vypočíta z merania zoslabenia laserového svetelného lúča prúdom produktov horenia. Na vykonanie uvedenej skúšky sa používa skúšobné zariadenie (Obr. 24) podľa ISO 5660-1 (2015).
Obr. 24 Schematické znázornenie kónického kalorimetra (Rantuch et al.,2015)
Testovanie materiálu pomocou kónického kalorimetra umožňuje v laboratórnom meradle určiť správanie sa materiálu, dobu horenia a predpovedať rozvoj požiaru vo veľkom meradle. Vzorky použité v experimentálnom výskume sa na stanovený čas vystavia zvoleným expozičným tepelným tokom, v našom prípade 20, 35 a 50 kW·m-2, ktoré sa zvyčajne používajú v rôznych aplikáciách hodnotenia požiarneho rizika a modelovania. Vzorky sa počas testovania ukladajú do vodorovnej polohy, pričom sa najskôr z bokov a spodnej strany obalia hliníkovou fóliou so založenými rohmi. Pripravené vzorky sa potom umiestnia do držiaka vzorky na podložku z keramických vlákien. Vzdialenosť medzi žiaričom a vzorkou je 25 mm (pri testovaní vzoriek ošetrených grafitom v kombinácii s vodným sklom 60 mm). Nad stredom vzorky je až do jej vzplanutia umiestnený iskrový zapaľovač. Zber údajov prebieha od začiatku testu v pravidelných 5 sekundových intervaloch
Obr. 25 Držiak vzorky
Medzi podrobne získavané údaje po analýze materiálov pomocou kónického kalorimetrapatriarýchlosťuvoľňovaniatepla (HRR),časvznietenia,celkovéuvoľnenéteplo (THR), maximálna priemerná rýchlosť uvoľňovania tepla (MARHE), efektívna výhrevnosť (EHC), plošný úbytok hmotnosti (Δm). Ale tiež aj emisie CO a CO2, spotreba kyslíka.
4.0 Výsledky a diskusia
Predložená monografia bola zameraná na porovnanie termickej stability neošetreného a retadérmi horenia ošetreného smrekového dreva, prostredníctvom zvolených normových a nenormových testovacích metód, uvedených v kapitole 3.0. V nasledujúcich kapitolách sú popísané hodnoty získané pri experimentoch. Výsledky experimentálneho hodnotenia sme spracovali formou tabuliek a grafickým zobrazením niektorých údajov pomocou programu MS OFFICE. Na štatistické vyhodnotenie výsledkov sme využili program STATISTICA 12.0.
4.1 Vyhodnotenie skúšky zapáliteľnosti
Pri skúške zapáliteľnosti sa sledovalo zapálenie daných vzoriek, rovnako aj ich samovoľné horenie. V prípade, že horenie vzoriek pretrvávalo aj po skončení skúšobného času, vzorky boli uhasené. Vizuálne sa sledovalo, či vrchol plameňa za čas 60 sekúnd dosiahol vzdialenosť 150 mm od bodu priloženia skúšobného plameňa. Sledovali sme aj fyzikálne správanie skúšaných vzoriek a ich úbytok na hmotnosti. Výsledky uvedenej testovacej metódy nám približujú správanie sa materiálu vo fáze iniciácie a rozvoja požiaru.
Tab. 3 Šírenie plameňa od miesta priloženia plameňa po povrchu vzorky (mm)
vzorka plocha hrana neošetrené 57,83 66,00 Antiflash
Pri testovaných vzorkách ani v jednom prípade nedošlo k rozšíreniu plameňa o viac ako 150 mm za čas 60 sekúnd (Tab. 3) a teda môžeme konštatovať, že každá z hodnotených ošetrených vzoriek aj neošetrené vzorky splnili podľa STN EN 13501-1 (2023) klasifikačné kritérium Fs ≤ 150 mm za 60 sekúnd. Splnenie uvedeného kritéria je jednou z podmienok pre klasifikáciu materiálu do triedy reakcie na oheň B, C a D. Na základe našich výsledkov, zaradiť nami testované dreviny do jednej z uvedených tried však jednoznačne nemôžeme, nakoľko pre klasifikáciu do uvedených tried sa požaduje splnenie klasifikačných kritérií dvoch testovacích metód. To znamená, že okrem splnenia klasifikačného kritéria podľa STN EN ISO 11925-2 (2020), by museli uvedené dreviny splniť aj klasifikačné kritérium podľa STN EN 13823 (2023) – SBI test .
Tab. 4 Čas ukončenia samovoľného horenia vzorky (s)
vzorka plocha hrana neošetrené 52 60
Pri všetkých skúšaných vzorkách neošetreného smrekového dreva došlo k ich zapáleniu, tzn. aj pri pôsobení plameňa na plochu aj na hranu (Tab. 4). Pri všetkých nastalo po oddialení plameňa samovoľné horenie. Vzorky ošetrené Bochemitom Antiflash pri pôsobení plameňa na plochu, nezačali horieť ani počas pôsobenia plameňa. Pri pôsobení na hranu došlo k ich zapáleniu, ale po odtiahnutí plameňa bolo plameňové horenie ukončené. Pri vzorkách ošetrených Bochemitom Pyro pri pôsobení plameňa na plochu aj na hranu dochádzalo k ich zapáleniu, po oddialení plameňa ale nepretrvávalo plameňové horenie.
V príspevku Kmeťová et al (2021) sme bližšie predstavili tri druhy retardačných látok FR-prof, Plamostop D a Plamostop D transparent, ktorými boli ošetrené vzorky smrekového dreva. Ide takisto o komerčné druhy retardérov horenia využívané na drevo. Výsledky testov skúmaného materiálu naznačujú, že po úprave týmito retardačnými látkami sa tiež zvýšila jeho odolnosť voči plameňu, ktorému bolo počas skúšky vystavené, nedošlo k jeho vznieteniu a teda ani k šíreniu plameňa




Obr. 26 Fotodokumentácia vzoriek po skúške zapáliteľnosti pri namáhaní na hranu (vľavo) a plochu (vpravo) 1 - neošetrená vzorka, 2 - Bochemit Antiflash, 3 - Bochemit Pyro Z nami dosiahnutých výsledkov je zrejmé, že vyššie riziko zapálenia hrozí pri pôsobení skúšobného plameňa na hranu testovanej vzorky. Pri namáhaní vzoriek na hranu bolo ich horenie o niečo intenzívnejšie, plameň sa pri vzorkách nešíril len v zvislom smere, ale aj po hrane vzorky. Podľa očakávania vyššie riziko zapálenia hrozí pri neošetrených vzorkách, a to pri pôsobení na plochu aj hranu vzorky.
Problematiku šírenia plameňa sme riešili aj v príspevku Kmeťová et al. (2020), kde sme pomocou skúšky zapáliteľnosti hodnotili neošetrené borovicové a dubové drevo. Podľa dosiahnutých výsledkov bolo rovnako ako v tomto prípade preukázané, že vyššie riziko zapálenia hrozí pri pôsobení skúšobného plameňa na hranu testovanej vzorky. Pri namáhaní vzoriek na hranu bolo ich horenie o niečo intenzívnejšie, plameň sa pri vzorkách nešíril len v zvislom smere, ale aj po hrane vzorky.
Zachar et al. (2012) v štúdii zameranej na stanovenie vybraných požiarnych vlastností neošetreného dreva smreka obyčajného, tiež použili štandardnú skúšobnú metódu podľa STN EN ISO 11925-2. Ich výsledky preukázali vyššiu zápalnosť okrajov vzoriek.
Pyro re latívny úbytok hmotnosti (%)
Obr 27 Relatívny úbytok hmotnosti retardačne upravených vzoriek pri skúške zapáliteľnosti
Ak porovnáme medzi sebou retardačné úpravy komerčným retardérom horenia (obr.27), lepšie výsledky dosiahli vzorky ošetrené Bochemitom Antiflash, kde dochádzalo k 0,53 % relatívnemu úbytku hmotnosti pri pôsobení na plochu a k 0,46 % relatívnemu úbytku hmotnosti na hranu. Pri vzorkách ošetrených Bochemitom Pyro pri pôsobení na plochu bol relatívny úbytok hmotnosti 0,89 % a pri pôsobení na hranu 1,02 %.
Najlepšie výsledky z hľadiska šírenia plameňa aj z hľadiska úbytku hmotnosti z testovaných vzoriek dosiahli vzorky ošetrené Bochemitom Antiflash Je preukázateľné, že vybrané retardéry horenia zlepšujú termickú odolnosť smrekového dreva.
Antiflash
druh retardačnej úpravy
hrana plocha
4.2 Vyhodnotenie modifikácie skúšky zapáliteľnosti
Šírenie plameňa je požiarnou charakteristika, ktorá ovplyvňuje celý proces horenia.
Na základe výskumov iných autorov o testovaní rôznych materiálov, ktorý tiež skúmali šírenie plameňa po povrchu rôznych materiálov sme navrhli progresívnu testovaciu metódu. Pomocou testovacej metódy opísanej v kapitole 3.1.2 bola vykonaná séria experimentov na vzorkách neošetreného a retardačne upraveného smrekového dreva. Pri modifikácii skúšky zapáliteľnosti sme sledovali rýchlosť šírenie plameňa po povrchu vzoriek, relatívny hmotnostnýúbytok a relatívnu rýchlosť odhorievania za čas 600 sekúnd. Počas merania sme pomocou termokamery zaznamenávali priebeh teploty na povrchu vzorky vo vybraných bodoch. Trendypriebehu teplôt sú uvedené na obrázkoch 34 – 50 Po vykonaní experimentu boli na vzorkách uskutočnené optické merania na zistenie maximálnej rýchlosti odhorievania a odhoreného objemu vzoriek.
Obr. 28 Fotodokumentácia vzoriek po vykonaní experimentu pri 0° uhle sklonu 1 - neošetrená vzorka, 2 - Bochemit Antiflash, 3 - Bochemit Pyro
Obr. 29 Fotodokumentácia vzoriek po vykonaní experimentu pri 45° uhle sklonu
1 - neošetrená vzorka, 2 - Bochemit Antiflash, 3 - Bochemit Pyro
Obr. 30 Fotodokumentácia vzoriek po vykonaní experimentu pri 90° uhle sklonu
1 - neošetrená vzorka, 2 - Bochemit Antiflash, 3 - Bochemit Pyro
Tab. 5 Rozšírenie plameňa po povrchu (mm)
vzorka uhol sklonu vzorky
Pri zaťažení neošetrených vzoriek skúšobným plameňom bol pozorovateľný rozdiel v závislosti od uhla sklonu vzorky. Pri 0° uhle sklonu vzorky bolo ich horenie podstatne intenzívnejšie, plameň sa nešíril len po povrchu prednej strany vzorky, ale rozšíril sa aj na zadnú stranu. Pri 90° uhle sklonu vzorkyplameň prenikal hlavne do vnútorných vrstiev a pri 45° uhle sklonu vzorky zostával na povrchu a šíril sa smerom nahor. Z toho vyplýva, že plameň sa šíri po povrchu materiálu zvyčajne ihneď po zapálení, ale šírenie plameňa je rýchlejšie, keď dôjde k vzostupnému šíreniu plameňa na vertikálne orientovanom povrchu paliva. Príčinou je zmena fyzikálnej interakcie medzi plameňom a nespáleným palivom.
Pri zaťažení vzoriek ošetrených Bochemitom Pyro, sa vzorky správali podobne v porovnaní s neošetrenými vzorkami. Pri 0° uhle sklonu vzorky sa plameň ale nerozšíril na zadnú stranu vzorky.
Pri testovaní vzoriek ošetrených Bochemitom Antiflash, bolo rozšírenie plameňa najväčšie pri 45° uhle sklonu vzorky, menšie pri 0° uhle sklonu vzorky a najmenšie pri 90° uhle sklonu vzorky.
Na základe získaných výsledkov, môžeme povedať, že ak porovnávame vzorky z hľadiska rozšírenia plameňa po povrchu, pri neošetrených vzorkách smrekového dreva sme zaznamenali celkovo najväčšie rozšírenie plameňa (pri 0° uhle sklonu vzorky), ale aj najmenšiu hodnotu z hľadiska rozšírenia plameňa po povrchu (pri 90° uhle sklonu vzorky). Ako sme už vyššie uvádzali, pri 90° uhle sklonu vzorky je to spôsobené hlavne výraznejším šírením plameňa do vnútorných vrstiev, nie po povrchu vzorky Z celkových výsledkov je zrejmé, že ošetrenie dreva retardérmi horenia zlepšuje jeho termickú odolnosť z hľadiska šírenia plameňa po povrchu.
Problematiku šírenia plameňa pomocou uvedenej testovacej metódy sme riešili aj v príspevku (Kmeťová et al., 2022),kdesmepomocou uvedenej skúškyhodnotili neošetrené smrekové dreva. Podľa dosiahnutých výsledkov bolo rovnako ako v tomto prípade preukázané, že najvyššie riziko zapálenia hrozí pripôsobení skúšobného plameňa pri 0° uhle sklonu vzorky.
Mitterová et al. (2021) pomocou testu horľavosti skúmali šírenie plameňa povrch neupraveného a retardačne upraveného smrekového dreva a zhodnotili jeho prínos k rozvoju požiaru. Výsledky testov naznačujú, že po ošetrení dreva retardérmi horenia jeho odolnosť voči plameňu, ktorému boli vzorky pri skúške vystavené, sa zvýšila, nevznietili sa a teda nedochádzalo ani k šíreniu plameňa. Účinnosť retardérov horenia na vzorkách dreva, preukázali aj Kačíková et al. (2021). Vo svojom výskume sa zaoberali vplyvom nanočastíc TiO2, SiO2, ZnO a vodného skla na termickú odolnosť dubového dreva.
Z nameraných hodnôt rozšírenia plameňa po povrchu sme následne prepočítali rýchlosť šírenia plameňa po povrchu testovaných vzoriek (Tab. 6) za čas 600 sekúnd.
Tab 6 Rýchlosť šírenia plameňa (mm s-1)
vzorka uhol sklonu vzorky
Zo zaznamenaných hodnôt hmotností v priebehu merania sme prepočítali relatívny úbytok hmotnosti dreva a relatívnu rýchlosť odhorievania pre všetky tri typy ošetrenia a pre neošetrené vzorky pri všetkých troch uhloch sklonu vzorky (0°, 45°, 90°).
neošetrené antiflash pyro neošetrené antiflash pyro
relatívna rýchlosť odhorievania (% ·s1 ) relatívny úbytok hmotnosti (%)
0,00 1,00 2,00 3,00 4,00 5,00 6,00 7,00 8,00 9,00 0 30 60
čas (s)
Obr. 31 Relatívny úbytok hmotnosti (- - -) a relatívna rýchlosť odhorievania ( ) vzoriek pri 0° uhle sklonu vzorky
Z hľadiska relatívneho úbytku hmotnosti pri 0° uhle sklonu vzorky, vzorky ošetrené Bochemitom Antiflash dosiahli relatívny úbytok na hmotnosti 1,91 %. Výraznejší rozdiel
z hľadiska ošetrených vzoriek v porovnaní s ďalším typom ošetrenia sme zaznamenali pri vzorkách ošetrených Bochemitom Pyro, ktoré stratili 3,28 % svojej pôvodnej hmotnosti. Najvyšší relatívny úbytok hmotnosti sme zaznamenali pri neošetrených vzorkách, ktoré stratili až 8,07 % svojej pôvodnej hmotnosti. Ak porovnávame vzorky na základe ich
relatívneho úbytku hmotnosti, dosiahli sa najlepšie výsledky pri vzorkách ošetrených
Bochemitom Antiflash, horšie výsledky dosiahli vzorky ošetrené Bochemitom Pyro a najhoršie dopadli vzorky neošetreného smrekového dreva.
Poradie od najlepších výsledkov po najhoršie zostáva rovnaké, ak porovnáme vzorky na základe relatívnej rýchlosti odhorievania, ako pri porovnaní z hľadiska relatívneho úbytku hmotnosti. Najvyššia relatívna rýchlosť odhorievania 0,043 %·s-1 bola zaznamenaná pri vzorkách neošetreného smrekového dreva v 160. sekunde. Najvyššia relatívna rýchlosť odhorievania bola pri vzorkách ošetrených retardérom Bochemit Pyro 0,016 %·s-1 už v 10. sekunde, pri vzorkách ošetrených Bochemitom Antiflash 0,006 %·s-1 v 80. sekunde.
neošetrené antiflash pyro neošetrené antiflash pyro
relatívny úbytok hmotnosti (%)
relatívna rýchlosť odhorievania (% ·s1 )
čas (s)
Obr. 32 Relatívny úbytok hmotnosti (- - -) a relatívna rýchlosť odhorievania ( ) vzoriek pri 45° uhle sklonu vzorky
Z hľadiska relatívneho úbytku hmotnosti pri 45° uhle sklonu vzorky, podobné hodnoty dosiahli vzorky ošetrené Bochemitom Antiflash a Pyro, s približne o 0,84 % menším relatívnym úbytkom hmotnosti pozorovaným pri vzorkách ošetrených Bochemitom Antiflash. Tieto vzorky dosiahli relatívny úbytok na hmotnosti 3,55 %. Najvyšší relatívny úbytok hmotnosti sme opäť zaznamenali pri neošetrených vzorkách, ktoré stratili 7,80 % svojej pôvodnej hmotnosti. Ak porovnávame vzorky na základe ich relatívneho úbytku hmotnosti pri45°uhlesklonuvzorky,dosiahli sanajlepšievýsledkyprivzorkáchošetrených
Bochemitom Antiflash, tesne nasledovanými vzorkami ošetrenými Bochemitom Pyro a najhoršie dopadli vzorky neošetreného smrekového dreva.
Akporovnámevzorkyaj nazákladerelatívnejrýchlosti odhorievaniazostávaporadie od najlepších výsledkov po najhoršie rovnaké. Vzorky neošetreného smrekového dreva dosiahli najvyššiu relatívnu rýchlosť odhorievania 0,029 %·s-1 už v 30. sekunde. Vzorky ošetrené retardérom Bochemit Pyro mali najvyššiu relatívnu rýchlosť odhorievania 0,012 %·s-1 v 60. sekunde. Vzorky ošetrené Bochemitom Antiflash dosiahli rýchlosť odhorievania 0,009 %·s-1 v 60. sekunde.
neošetrené antiflash pyro
neošetrené antiflash pyro
relatívny úbytok hmotnosti (%)
relatívna rýchlosť odhorievania (% ·s1 )
čas (s)
Obr. 33 Relatívny úbytok hmotnosti (- - -) a relatívna rýchlosť odhorievania ( ) vzoriek pri 90° uhle sklonu vzorky
Zhľadiska relatívneho úbytku hmotnosti pri 90° uhle sklonu vzorky, vzorkyošetrené Bochemitom Antiflash dosiahli relatívny úbytok na hmotnosti 2,52 %. Výraznejší rozdiel z hľadiska ošetrených vzoriek v porovnaní s ďalším typom ošetrenia sme zaznamenali pri vzorkách ošetrených Bochemitom Pyro, ktoré stratili 4,73 % svojej pôvodnej hmotnosti. Najvyšší relatívny úbytok hmotnosti sme zaznamenali pri neošetrených vzorkách, ktoré stratili až 8,06 % svojej pôvodnej hmotnosti. Ak porovnávame vzorky na základe ich relatívneho úbytku hmotnosti, dosiahli sa najlepšie výsledky pri vzorkách ošetrených Bochemitom Antiflash, horšie výsledky dosiahli vzorky ošetrené Bochemitom Pyro a najhoršie dopadli vzorky neošetreného smrekového dreva.
Ak porovnáme vzorky na základe relatívnej rýchlosti odhorievania, je poradie odlišné, ako pri porovnaní z hľadiska relatívneho úbytku hmotnosti. Celkovo najvyššia
relatívna rýchlosť odhorievania bola v tomto prípade zaznamenaná pri vzorkách ošetrených retardérom Bochemit Pyro, a to 0,031 %·s-1 v 30. sekunde. Najvyššia relatívna rýchlosť odhorievania bola pri vzorkách neošetreného smrekového dreva 0,028 %·s-1 v 30. sekunde a pri vzorkách ošetrených Bochemitom Antiflash 0,007 %·s-1 v 80. sekunde
Z hľadiska relatívneho úbytku hmotnosti pre vzorky neošetreného a retardačne upraveného smrekového dreva môžete teda konštatovať, že všetky vzorky stratili menej ako 9 % ich pôvodnej hmotnosti za 600 sekúnd. Celkovo najhoršie výsledky sme zaznamenali pri vzorkách neošetreného smrekového dreva pri 0° uhle sklonu vzorky, ktoré stratili až 8,07 % svojej hmotnosti, čo pripisujeme rýchlejšiemu šíreniu plameňa. Neošetrené vzorky smrekového dreva dosiahli spomedzi 3 skupín testovaných vzoriek najhoršie výsledky pri každom uhle sklonu vzorky. Celkovo najlepšie výsledky z hľadiska relatívneho úbytku hmotnosti dosiahli vzorky ošetrené Bochemitom Antiflash.
Z hľadiska relatívnej rýchlosti odhorievania pre vzorky neošetreného a retardačne upraveného smrekového dreva môžeme uviesť, že celkovo najväčšiu rýchlosť odhorievania 0,043 %·s-1 sme zaznamenali pri vzorkách neošetreného smrekového dreva v 160. sekunde
Z najvyšších relatívnych rýchlostí odhorievania stanovených pre všetky vzorky, bola najnižšia hodnota maximálnej rýchlosti odhorievania zaznamenaná pri vzorkách ošetrených Bochemitom Antiflash.
Počas meraní smepomocoutermokamerymerali teplotunapovrchu vzoriek. Priebeh teplôt vo vybraných bodoch uvádzame graficky spracovaný na obr. 34-50 pre všetky uhly sklonu vzorky. Pri všetkých troch uhloch sklonu vzorky sme zaznamenali najvyššiu teplotu v bode pôsobenia plameňa, v rozmedzí 700 – 750 °C. Pri 0° uhle sklonu vzorky sa teplota so vzdialenosťou od miesta pôsobenia plameňa priamoúmerne znižovala. Pri 45° uhle sklonu vzorky, sa vzorka zahrievala najskôr v smere šírenia plameňa nahor od miesta priloženia plameňa a postupne aj smerom k spodnému okraju vzorky. Pri 90° uhle sklonu vzorky bola teplota na povrchu vzorky klesajúca, od miesta priloženia plameňa smerom k okrajom vzorky.
neošetrené antiflash pyro
(s)
Obr. 34 Priebeh teplôt pri 0° uhle sklonu v bode A
neošetrené antiflash pyro
(s)
Obr. 35 Priebeh teplôt pri 0° uhle sklonu v bode B
neošetrené antiflash pyro
teplota ( ° C) čas (s)
Obr. 36 Priebeh teplôt pri 0° uhle sklonu v bode C
( ° C)
( ° C)
neošetrené antiflash pyro
teplota( ° C)
(s)
Obr. 37 Priebeh teplôt pri 0° uhle sklonu v bode D
neošetrené antiflash pyro
Obr 38 Priebeh teplôt pri 0° uhle sklonu v bode A!
neošetrené antiflash pyro
Obr. 39 Priebeh teplôt pri 90° uhle sklonu v bode A
C)
(
neošetrené antiflash pyro
(
teplota
Obr. 40 Priebeh teplôt pri 90° uhle sklonu v bode B
neošetrené antiflash pyro
(s)
Obr. 41 Priebeh teplôt pri 90° uhle sklonu v bode C
neošetrené antiflash pyro
(s)
Obr. 42 Priebeh teplôt pri 90° uhle sklonu v bode D
C)
neošetrené antiflash pyro
(s)
Obr. 43 Priebeh teplôt pri 90° uhle sklonu v bode E
neošetrené antiflash pyro
C)
(s)
Obr. 44 Priebeh teplôt pri 90° uhle sklonu v bode A!
neošetrené antiflash pyro
teplota ( ° C)
(s)
Obr. 45 Priebeh teplôt pri 45° uhle sklonu v bode A
teplota ( ° C)
C)
neošetrené antiflash pyro
(s)
Obr. 46 Priebeh teplôt pri 45° uhle sklonu v bode B
neošetrené antiflash pyro
(s)
Obr. 47 Priebeh teplôt pri 45° uhle sklonu v bode C
neošetrené antiflash pyro
(s)
Obr. 48 Priebeh teplôt pri 45° uhle sklonu v bode D
C)
neošetrené antiflash pyro
(s)
Obr. 49 Priebeh teplôt pri 45° uhle sklonu v bode E
neošetrené antiflash pyro
čas (s)
Obr. 50 Priebeh teplôt pri 45° uhle sklonu v bode A!
Po vykonaní experimentov pomocou modifikácie skúšky zapáliteľnosti sme na vzorkách vykonali optické merania na skúmanie povrchu vzoriek. Uvedenému meraniu sme podrobili vzorkyneošetreného smrekového dreva a ošetreného retardérmi horenia Bochemit
Antiflash a Pyro. Pomocou mikroskopu sme stanovili maximálnu rýchlosť zuhoľnatenia a odhorený objem vzoriek.
Obr. 51 Výškové profily na neošetrenej vzorke pri 90 °uhle sklonu vzorky po zaťažení plameňom
Optické merania sa z hľadiska obmedzenia mikroskopu vykonávali na vzorkách vždy samostatne na 4 kvadrantoch (1 – 4). Následne boli kvadranty pomocou obrazovej analýzy spojené do celkového obrazu.
Tab. 7 Maximálna rýchlosť zuhoľnatenia (mm·s-1)
Maximálna rýchlosť zuhoľnatenia, stanovená pomocou optických meraní, bola najvyššia pri neošetrených vzorkách smrekového dreva pri 0° uhle sklonu vzorky, čo zodpovedá faktu, že pri testovaní týchto vzoriek dochádzalo k prehoreniu vzorky v celej jej hrúbke. Ošetrenie retardérmi horenia, výrazne znížilo rýchlosť zuhoľnatenia vzoriek. Dôvodom klesajúcej rýchlosti zuhoľnatenia je predovšetkým to, že vrstva retardéru horenia na povrchu vzorky znižuje prehrievanie a tepelný rozklad dreva. Tab 8 Odhorený objem (mm3) za 600 sekúnd vzorka
sklonu vzorky
V tabuľke 8 sú uvedené hodnoty odhoreného objemu dreva v závislosti od uhla sklonu vzorky a od typu ošetrenia. Odhorený objem koreluje s výsledkami nameraných hodnôt maximálne rýchlosti zuhoľnatenia vzoriek.
4.3 Vyhodnotenie skúšky sálavým tepelným zdrojom
Výskum retardérov horenie je zameraný na hodnotenie ich účinnosti na zlepšenie termickej odolnosti smrekového dreva. Preto bola aj pomocou skúšky sálavým tepelným zdrojom vykonaná séria experimentov na sledovanie ich úbytku hmotnosti, rýchlosti odhorievania a času vznietenia testovaných vzoriek. S termokamerou sme sledovali priebeh teplôt na povrchu vzoriek vo vybraných bodoch. Výsledky sú uvádzané na obrázkoch 53 –60 a v tabuľke 9. Na Obr. 52 uvádzame pre porovnanie fotodokumentáciu vzoriek pred a po vykonaní experimentu.
Obr. 52 Fotodokumentácia vzoriek po skúške sálavým tepelným zdrojom 1 - neošetrená vzorka, 2 - Bochemit Antiflash, 3 - Bochemit Pyro
relatívny úbytok hmotnosti (%)
čas (s) neošetrené
relatívna rýchlosť odhorievania ( % ·s1 )
Obr. 53 Relatívny úbytok hmotnosti (- - -) a relatívna rýchlosť odhorievania ( ) vzoriek pri skúške sálavým tepelným zdrojom
Z meraní sme prepočítali relatívny úbytok hmotnosti dreva a relatívnu rýchlosť odhorievania pre všetky tri typy ošetrenia a pre neošetrené vzorky. Z hľadiska relatívneho úbytku hmotnosti, podobné hodnotydosiahli vzorkyošetrené Bochemitom Antiflash a Pyro, s približne o 1,7 % väčším relatívnym úbytkom hmotnosti pozorovaným pri vzorkách ošetrených Bochemitom Pyro. Tieto vzorkydosiahli relatívnyúbytok na hmotnosti 35,59 %.
Najvyšší relatívny úbytok hmotnosti sme zaznamenali pri neošetrených vzorkách, ktoré stratili až 84 % svojej pôvodnej hmotnosti. Ak porovnávame vzorky na základe ich relatívneho úbytku hmotnosti, dosiahli sa najlepšie výsledky pri vzorkách ošetrených
Bochemitom Antiflash, tesne nasledovanými vzorkami ošetrenými Bochemitom Pyro a najhoršie dopadli vzorky neošetreného smrekového dreva. Určité % úbytku hmotnosti ošetrených vzoriek je pravdepodobne spôsobené aj rozkladom niektorých zložiek použitého retardéru horenia.
Výsledky relatívneho úbytku hmotnosti korelujú s výsledkami relatívnej rýchlosti odhorievania. Ak porovnáme vzorky na základe relatívnej rýchlosti odhorievania, poradie zostáva rovnaké ako pri porovnaní z hľadiska relatívneho úbytku hmotnosti. Celkovo najvyššia relatívna rýchlosť odhorievania 0,34 %·s-1 bola zaznamenaná pri vzorkách neošetreného smrekového dreva v 310. sekunde. Najvyššia relatívna rýchlosť odhorievania bola pri vzorkách ošetrených retardérom Bochemit Pyro 0,11 %·s-1 v 80. sekunde, pri vzorkách ošetrených Bochemitom Antiflash 0,07 %·s-1 v 40. sekunde. Dôležité je
poznamenať, že s ošetrením dreva retardérmi horenia sa nám podarilo znížiť rýchlosť
odhorievania o viac ako 0,20 %·s-1
Rýchlosťou odhorievania vzoriek sa vo svojej práci zaoberali aj Kačíková a Makovická (2009). Vzorky smrekového dreva v tomto prípade dosiahli maximálnu
rýchlosť odhorievania 0,187 %·s-1 v 180. sekunde trvania testu.
Na nasledujúcich obrázkoch (Obr. 54 – 56) uvádzame samostatne pre neošetrené vzorky a oba druhy retardačnej úpravy vzájomné porovnania relatívneho úbytku na hmotnosti, relatívnej rýchlosti odhorievania a tiež teploty vzoriek na povrchu počas celej doby trvania testu.
relatívny úbytok hmotnosti relatívna rýchlosť odhorievania
teplota (°C)
relatívny úbytok hmotnosti (%) čas (s)
relatívna rýchlosť odhorievania ( % ·s1 )
Obr. 54 Relatívny úbytok hmotnosti a relatívna rýchlosť odhorievania neošetrených vzoriek pri skúške sálavým tepelným zdrojom
relatívny úbytok hmotnosti (%)
relatívny úbytok hmotnosti relatívna rýchlosť odhorievania
teplota (°C) relatívna rýchlosť odhorievania (
čas (s)
)
Obr. 55 Relatívny úbytok hmotnosti a relatívna rýchlosť odhorievania vzoriek ošetrených Bochemitom Antiflash pri skúške sálavým tepelným zdrojom
relatívny úbytok hmotnosti
relatívna rýchlosť odhorievania
relatívny úbytok hmotnosti (%)
teplota (°C) relatívna rýchlosť odhorievania ( % ·s1 )
čas (s)
Obr. 56 Relatívny úbytok hmotnosti a relatívna rýchlosť odhorievania vzoriek ošetrených Bochemitom Pyro pri skúške sálavým tepelným zdrojom
Ďalej v rámci vyhodnotenia výsledkov skúšky sálavým tepelným zdrojom, ako
ďalšie hodnotiace kritérium uvádzame časy zapálenia (Tab. 9) jednotlivých testovaných vzoriek.
Tab. 9 Čas zapálenia vzoriek pri skúške sálavým tepelným zdrojom vzorka
1 2 3 4 5 priemer ± smerodajná odchýlka
neošetrené 240 224 378 190 280 262±72
Antiflash x x x x x x
Pyro x x x x x x
Pri spôsobe termického zaťaženia ošetrených skúšobných vzoriek sálavým teplo, nedochádzalo ani v jednom prípade k zapáleniu. Zatiaľ čo pri neošetrených vzorkách smrekového dreva dochádzalo k zapáleniu približne v 260. sekunde. Ani z týchto vzoriek ale nevydržala horieť plameňom do konca experimentu (600 s). Môžeme preto povedať, že pri zaťažení vzoriek keramickým infražiaričom, sa oba druhy retardačnej úpravy prejavili ako vyhovujúce.
Podľa publikácie Kmeťová et al. (2020) dochádzalo k zapáleniu neošetreného smrekového dreva, testovaného rovnakou metódou v 63. sekunde. V tomto prípade bola ale vzdialenosť žiariča od vzorky 30 mm. Je teda zrejmé, že hodnoty času zapálenia sa menia s meniacou vzdialenosťou povrchu vzorky od infražiariča. Toto tvrdenie potvrdzuje vo svojej práci aj Zachar (2009).
neošetrené antiflash pyro
( ° C)
(s)
Obr. 57 Priebeh teplôt v bode A
Priebeh teploty v bode A – na povrchu vzorky, je približne rovnaký pre vzorky ošetrené Bochemitom Antiflash a Bochemitom Pyro, kde maximálna teplota 555 °C bola dosiahnutá na konci testu (v 600. sekunde) pri vzorkách ošetrených Bochemitom Pyro a 537 °C pri vzorkách ošetrených Bochemitom Antiflash, taktiež v 600.sekunde. Pokiaľ ide o neošetrené vzorky, k prudšiemu nárastu teploty začínalo dochádzať v 130. sekunde.
Maximálna teplota 617 °C bola pri týchto vzorkách dosiahnutá v 350. sekunde. A po skončení plameňového horenia začínala teplota opäť klesať.
neošetrené antiflash pyro
C)
Obr 58 Priebeh teplôt v bode B
Trend priebehu teplôt v bode B – na vrchnej hrane prednej stranyvzorky, je približne rovnaký pre vzorky ošetrené Bochemitom Pyro, Bochemitom Antiflash, s rozdielnymi hodnotami nameraných teplôt. Pri vzorkách ošetrených Bochemitom Pyro bola maximálna dosiahnutá teplota 417 °C pred ukončením testu. Vzorky ošetrené Bochemitom Antiflash dosiahli maximálnu teplotu 420 °C taktiež pred ukončením testu. Čo sa týka neošetrených vzoriek začal prudší nárast teploty v 220. sekunde a maximálna teplota 674 °C bola dosiahnutá v 380. sekunde.
neošetrené antiflash pyro
C)
Obr. 59 Priebeh teplôt v bode C
Priebeh teploty v bode C – v strede na prednej strane vzorky, je rovnaký pre drevo ošetrené Bochemitom Pyro aj Antiflash, v oboch prípadoch bola maximálna hodnota teploty nameraná v 600.sekunde testu. Pre Bochemit Pyro to bolo 290 °C a Bochemit Antiflash 310
°C. Pokiaľ ide o nešetrené vzorky, k nárastu došlo v 220. sekunde a maximálna teplota bola 620 °C v 480. sekunde trvania testu.
( ° C)
(s)
Obr. 60 Priebeh teplôt v bode D
Trend priebehu teplôt v bode D – na spodnej hrane prednej strany vzorky, bol pre všetky tri druhy retardačnej úpravy približne rovnaký Pri oboch druhoch ošetrenia vzoriek bola maximálna teplota nameraná na konci testu (600. s). Spomedzi retardačne upravených vzoriek dosiahli vzorky ošetrené Bochemitom Antiflash najvyššiu maximálnu hodnotu teploty 215 °C a vzorky ošetrené Bochemitom Pyro 209 °C Pokiaľ ide o nešetrené vzorky, k nárastu začínalo dochádzať v 240. sekunde a maximálna teplota bola 472 °C v 410. sekunde trvania testu.
Ak porovnáme priebeh teplôt pre jednotlivé vzorky, všetky vzorky dosiahli svoje maximálne teploty v bode A, okrem neošetrených vzoriek dreva, ktoré dosiahli celkovo svoju maximálnu hodnotu teploty v bode B. Najvyššie maximálne hodnoty teploty dosiahli neošetrené vzorky vo všetkých meraných bodoch, čo pripisujeme ich vzplanutiu. Naopak najnižšie maximálne hodnoty teploty dosiahli vzorky ošetrené Bochemitom Antiflash.
4.4 Vyhodnotenie meraní metódou kónického kalorimetra
Vzorkyboli testované pomocou kónického kalorimetra v súlade s ISO 5660-1: 2015. Vzorkyboli skúmané pri troch tepelných tokoch (20, 35 a 50 kW·m-2). Každýtest (pre jeden druh ošetrenia dreva a jeden tepelný tok) sa opakoval trikrát a priemerné hodnoty sú uvádzané ako výsledné hodnoty v Tab. 10 – 12.
neošetrené antiflash pyro
Obr. 61 Fotodokumentácia vzoriek pred a po vykonaní testovania metódou kónického kalorimetra 1 - neošetrená vzorka, 2 - Bochemit Antiflash, 3 - Bochemit Pyro
Na Obr. 61 uvádzame fotodokumentáciu vzoriek po vykonaní experimentu, pri všetkých troch tepelných tokoch.
Tab. 10 Charakteristiky testovaných vzoriek pri 20 kw·m-2
vzorka neošetrené Antiflash Pyro
Tab 11 Charakteristiky testovaných vzoriek pri 35 kw·m-2
vzorka neošetrené Antiflash Pyro
(kW·m-2)
(kw.m-2)
Tab. 12 Charakteristiky testovaných vzoriek pri 50 kw·m-2
vzorka neošetrené Antiflash Pyro
HRR (kW·m-2)
čas dosiahnutia max. HRR(s)
-2)
Rýchlosť uvoľňovania tepla je kľúčový parameter pre výpočet požiarnej odolnosti drevených konštrukcií a na zisťovanie príčin vzniku požiarov. Údaje v tabuľkách 10 – 12 dokazujú, že neošetrené smrekové drevo vykazuje vyššiu rýchlosť uvoľňovania tepla ako smrekové drevo ošetrené retardérmi horenia. Pokles rýchlosti uvoľňovania tepla bol spôsobený v dôsledku ošetrenia dreva retardérmi horenia a mechanizmom ich pôsobenia. Údaje v uvedených tabuľkách ďalej dokazujú, že rozdiel v rýchlosti uvoľňovania tepla smrekového dreva ošetreného retardérmi horenia Bochemit Antiflash a Bochemit Pyro nie je signifikantný.
Najvyššie hodnoty hodnotených parametrov dosiahli vzorky neošetreného smrekového dreva pri všetkých troch tepelných tokoch. Rozdiely hodnôt hodnotených parametrov si vzorkách retardérov horenia Bochemit Antiflash a Bochemit Pyro nie sú významné, ale ak porovnávame medzi sebou tieto dva retardéry horenie, lepšie výsledky dosiahol Bochemit Antiflash.
Ako je z tabuľky 10 – 12 zrejmé, rýchlosť uvoľňovania tepla sa zvyšuje so zvyšujúcou sa hustotou tepelného toku. Takisto je značný rozdiel aj v čase dosiahnutia maximálnej HRR, čo má značný vplyv pri čase odolávania požiaru a čase potrebnom na evakuáciu v prípade vzniku požiaru.
Prvé lokálne maximálne hodnoty HRR priebehu rýchlosti uvoľňovania tepla pre jednotlivé vzorky pri rôznych hustotách tepelných tokov zväčša zodpovedajú zapáleniu skúšobnej vzorky. Predpokladáme, že pokles rýchlosti uvoľňovania tepla po prvom lokálnom maxime bol spôsobený pri ošetrených vzorkách mechanizmom účinku retardérov horenia a vytvorením zuhoľnatenej vrstvy na povrchu neošetrenej vzorky. Výsledkom bolo zníženie rýchlosti tepelnej degradácie a rýchlosti uvoľňovania tepla. Dôvod druhého lokálneho maxima je akumulácia tepla vo vzorke a jej následné prehriatie na vysokú teplotu.
Podrobný popis požiarnych vlastností neošetreného smrekového dreva uvádzajú napríklad Zachar (2009) a Zachar et al. (2012). Pri hodnotení smrekového dreva metódou kónického kalorimetra dosiahli Martinka et al. (2016, 2018) podobné výsledky.
4.5 Zhrnutie výsledkov
Predložená monografia bola zameraná na porovnanie termickej stability neošetreného a retadérmi horenia ošetreného smrekového dreva, prostredníctvom zvolených normových a nenormových testovacích metód Prínosom je predovšetkým využitie progresívnej testovacej metódy – modifikácie skúšky zapáliteľnosti, ktorej zariadenie a postup sú stanovené na základe Úžitkového vzoru č. 9589.
Pri skúške zapáliteľnosti najlepšie výsledky z hľadiska šírenia plameňa po povrchu vzorky, času zapálenia aj relatívneho úbytku na hmotnosti dosiahli vzorky ošetrené Bochemitom Antiflash. Zatiaľ čo najhoršie výsledky pri všetkých hodnotiacich kritériách sme zaznamenali pre vzorky neošetreného smrekového dreva.
Na základe získaných výsledkov prostredníctvom modifikácie skúšky zapáliteľnosti, môžeme povedať, že ak porovnávame vzorkyz hľadiska rozšírenia plameňa po povrchu, pri 0° uhle sklonu vzorky dosiahli najhoršie výsledky vzorky neošetreného dreva a najlepšie výsledky vzorky ošetrené Bochemitom Antiflash. Pri 45° uhle sklonu vzorky sme najhoršie výsledky zaznamenali pre vzorky dreva ošetreného retardérom horenia Bochemit Pyro a najlepšie výsledky vzorkyošetrené Bochemitom Antiflash. Najmenšiu hodnotu z hľadiska rozšírenia plameňa po povrchu, pri 90° uhle sklonu vzorky dosiahli vzorky neošetreného dreva, čo je spôsobené hlavne prestupom plameňa do vnútorných vrstiev.
Pri modifikácii skúšky zapáliteľnosti, z hľadiska relatívneho úbytku hmotnosti a relatívnej rýchlosti odhorievania pre vzorky neošetreného a retardačne upraveného smrekového dreva, neošetrené vzorky smrekového dreva dosiahli spomedzi 3 skupín testovaných vzoriek najhoršie výsledky pri každom uhle sklonu vzorky. A naopak vzorky ošetrené Bochemitom Antiflash obstáli najlepšie.
Rovnako tak aj pri skúške sálavým tepelným zdrojom pri všetkých hodnotiacich kritériách (relatívny úbytok hmotnosti, relatívna rýchlosť odhorievania, čas zapálenia a aj priebeh teplôt na povrchu vzorky) najlepšie výsledky dosiahli vzorky ošetrené Bochemitom
Antiflash a naopak najhoršie výsledky sme zaznamenali pre vzorky neošetreného smrekového dreva.
Pri testovaní vzoriek s využitím kónického kalorimetra vo všetkých hodnotiacich kritériách, pri všetkých troch tepelných tokoch najlepšie výsledky dosiahli vzorky ošetrené
Bochemitom Antiflash a naopak najhoršie výsledky sme zaznamenali pre vzorky neošetreného smrekového dreva.
Môžeme teda povedať, že pri všetkých použitých metódach, ktorými sme hodnotili termickú odolnosť neošetreného a retardérmi horenia ošetreného smrekového dreva najlepšie výsledky dosahovali vzorky ošetrené Bochemitom Antiflash. Podľa predpokladu najhoršie výsledky dosiahli vzorky neošetreného smrekového dreva. Oba použité druhy retardérov horenia preukázali pozitívny vplyv na zlepšenie termickej odolnosti dreva.
Záver
Z rozboru problematiky uvedenej v tejto práci, týkajúcej sa horľavosti stavebných materiálov, konkrétne dreva a jeho úprav z protipožiarneho hľadiska, ako aj spôsobov hodnotenia je vidieť, že sa jedná o zložitú problematiku. Zmysel a účel hodnotenia horľavosti materiálov spočíva predovšetkým v potrebe porovnať určitým spôsobom jednotlivé materiály medzi sebou a stanoviť požiadavky pre ich konkrétne použitie v praxi. K porovnaniu horľavosti látok slúžia požiarne charakteristiky. Pre každú fázu požiaru vieme vybrať skupinu charakteristík, ktoré charakterizujú správanie sa, t. j. zmenu materiálu a jeho vplyv na priebeh a parametre danej fázy požiaru. Všetky horľavé materiály sa snažíme upraviť tak, aby ich horľavosť bola čo najviac potlačená, aby sa neobmedzovali možnosti ich využitia, preto využívame retardéry horenia. Zlepšovanie požiarnych charakteristík dreva je stále veľmi dôležitou problematikou. Ideálnym stavom by bolo nájsť retardér horenia, ktorý by výrazne zlepšoval požiarne charakteristiky, ale aby súčasne nezhoršoval životné prostredie.
Cieľom práce bolo vyhodnotiť vplyv vybraných chemických látok s retardačným účinkom aplikovaných na smrekové drevo, z hľadiska termickej stability po zaťažení sálavými a plameňovými zdrojmi tepla s využitím laboratórnych a progresívnych testovacích metód
V rámci čiastkových cieľov sme na základe literárnej rešerše spracovali poznatky o charakteristike dreva, predovšetkým ako stavebného materiálu – štruktúra dreva, jeho vlastnosti, správanie a zmena vlastností materiálu v dôsledku vystavenia účinkom požiaru. A v neposlednom rade zlepšovanie požiarnych charakteristík dreva.
Časť originálnych výsledkov bola získaná prostredníctvom novej laboratórnej metódy – modifikácie skúšky zapáliteľnosti. Pri návrhu progresívnej testovacej metódy sme vychádzali okrem iného hlavne z normových testovacích metód.
V praktickej časti sme vykonali experimenty zamerané na hodnotenie požiarnych vlastností smrekového dreva, neošetrených vzoriek a po aplikácii retardérov horenia, prostredníctvom zvolených testovacích metód a stanovených hodnotiacich kritérií v laboratórnych podmienkach. Celkové množstvo použitých vzoriek bolo 168 kusov.
Na základe vyhodnotenia a vzájomného porovnania získaných výsledkov, môžeme konštatovať, že použitie retardérov horenia zlepšuje termickú odolnosť dreva. Tiež sa
ukázal najefektívnejší retardér horenia z výberu nami testovaných látok s retardačným účinkom.
Poznatky, ktoré boli získané pri vypracúvaní tejto monografie sa môžu využiť pre zlepšenie preventívnych protipožiarnych opatrení, pre zdokonalenie a rozšírenie testovacích metód, k novým poznatkom požiarnych charakteristík smrekového dreva V prípade požiaru zohráva veľmi dôležitú úlohu práve čas, t. j. čas odolávania stavebných konštrukcií účinkom požiaru, čas na evakuáciu osôb, zvierat a vecí, čas na vykonanie účinného zásahu. Tento čas vieme získať práve protipožiarnou ochranou stavebných konštrukcií použitím retardérov horenia. Získané výsledky práce tiež smerujú k určeniu optimálnych metód pre aplikáciu vybraných chemických látok s protipožiarnou funkciou. Prínosom sú aj výsledky uplatniteľné pre predikciu požiarnych charakteristík dreva. Výsledky sa ďalej využijú ako vstupné údaje do matematického a počítačom podporovaného modelovania priebehu požiaru, a tiež v oblasti bezpečnostnej praxe, t. j. oblasť požiarnej prevencie, oblasť protipožiarnej bezpečnosti stavieb a oblasť zisťovania príčin vzniku požiarov
V závere môžeme konštatovať, že v nami realizovanom výskume došlo k naplneniu hlavného ako aj čiastkových cieľov v plnom rozsahu. Veríme, že nami získané poznatky budú prínosom, ako z hľadiska rozvoja vedy, tak aj praxe. Prínosom sú predovšetkým nové originálne výsledky týkajúce sa problematiky hodnotenia účinkov retardérov horenia na zmenu termickej stability smrekového dreva. Štatistické vyhodnotenie výsledkov a komplexnéposúdenienazákladezískaných výsledkovpomocounormovýcha nenormových testovacích metód.
Použitá literatúra
BAHÝL, V. – IGAZ, R. 2010. Stavebná fyzika. Zvolen : Technická univerzita vo Zvolene, 2010. 161 s. ISBN 978-80-228-2219-0.
BALOG, K. – KAČÍKOVÁ, D. – MARTINKA, J. 2015. Zisťovanie príčin vzniku požiarov
Zvolen : Technická univerzita vo Zvolene, 2015. 295 s. ISBN 978-80-228-2831-4.
BALOG, K. – KVARČÁK M. 1999. Dynamika požáru. Ostrava : Sdružení požárního a bezpečnostního inženýrství, 1999. 96 s. ISBN 80-86111-44-X
BENGTSON, L.G. 2001. Enclosure Fires. Sweden : Swedish Rescue Services Agency, 2001 192 p
BERGMAN, R. et al. 2010. Wood handbook - Wood as an engineering material WI: U.S. Department of Agriculture, Forest Service, Forest Products Laboratory, 2010. 508 p.
Bochemit Antiflash, Karta bezpečnostných údajov [online]. [cit. 2022-01-05] Dostupné na internete:< https://www.farby.sk/mediadir/BOCHEMIT%20ANTIFLASH.pdf>
Bochemit Antiflash, Technický list [online]. [cit. 2022-01-05] Dostupné na internete:< https://www.bochemit.eu/sk/antiflash/p-9/>
Bochemit Pyro, Karta bezpečnostných údajov [online]. [cit. 2022-01-05] Dostupné na internete:< https://www.farby.sk/mediadir/KBU_BOCHEMIT_PYRO_2019.pdf>
Bochemit Pyro, Technický list [online]. [cit. 2022-01-05] Dostupné na internete:< https://www.bochemit.eu/sk/pyro/p-10/>
BREBU, M. – VASILE, C. 2010. Thermal degradation of lignin – A review. In Cellulose Chemistry and Technology. ISSN: 0576-9787, 2010, 44, 9, p. 353–363.
CONEVA, I. 2018. Procesyhorenia a ich klasifikácia. In TZB-info [online]. 2018 [cit. 202209-06]. Dostupné na internete: <https://www.tzb-info.cz/pozarni-bezpecnost-staveb/16684procesy-horenia-a-ich-klasifikacia>
ČUNDERLÍK, I. 2009. Štruktúra dreva. Zvolen : Technická univerzita vo Zvolene, 2009. 135 s. ISBN 978-80-228-2061-5
DELLA-GIUSTINA, D.E. 2014. Fire Safety Management Handbook. 3rd Edition. Boca Raton : CRC Press LLC, 2014. 279 p. ISBN 978-1-4822-0.
DIETENBERGER, M. 2002. Update for combustion properties of wood components. In Fire and Materials 2002, 26, p. 255-267. DOI: 10.1002/fam.807
DIETENBERGER, M. – HASBURGH, L. 2016. Wood products thermal degradation and fire. Reference module in materials science and materials engineering. 2016. 1-8. DOI: 10.1016/b978-0-12-803581-8.03338-5
DRYSDALE, D. 1999. An Introduction to Fire Dynamics. 2nd Edition. UK: John Wiley & Sons, 1999 470 p. ISBN 0-471-97290-8
FAVARIM, H.R. – LEITE, L.O. 2018. Performance of ZnO nanoparticles for fire retardant and UV protection of pine wood. In BioResources. 2018, 13, p. 6963-6969. DOI: 10.15376/biores.13.3.6963-6969
FUNG, D.P.C. – TSUCHIYA, Y. – SUMI, K. 1972. Thermal degradation of cellulose and levoglucosan - the effect of inorganic salts. In Wood Sci. 1972, 5, p. 38-43.
FRIEDMAN, R. 1977. Ignition and burning of solids Fire Standards and Safety, 1977
GEFFERT, A. 2015. Chemické technológie dreva: vysokoškolská učebnica. Zvolen: Technická univerzita vo Zvolene, 2015. 87 s. ISBN 978-80-228-2619-8.
GIUDICE, C. – CANOSA, G. 2017. Flame-retardant systems based on alkoxysilanes for wood protection. In Wood in Civil Engineering. 2017. DOI:10.5772/64916
GOLLNER, M.J. et al. 2017. The effect of flow and geometry on concurrent flame spread In Fire Safety Journal. 2017, 91, p. 68-78. DOI: 10.1016/j.firesaf.2017.05.007
GORSKA, C. – HIDALGO, J.P. – TORERO, J.L. 2021. Fire dynamics in mass timber compartments. In Fire Safety Journal. 2021, 120, 103098. DOI:10.1016/j.firesaf.2020.103098
HARANGOZÓ, J. et al. 2012. Vplyv retardérov na proces horenia dreva. In Integrovaná bezpečnosť 2012. Trnava : AlumniPress, 2012. ISBN 978-80-8096-181-7, s. 27-30.
HUANG, X. et al. 2015. Experimental study of altitude and orientation effects on heat transfer over polystyrene insulation material. In Journal of Thermal Analysis and Calorimetry. 2015, 122, p. 281–293. DOI 10.1007/s10973-015-4667-0
ISO 5660-1: 2015 Skúšky reakcie na oheň. Uvoľňovanie tepla, produkcie dymu a rýchlosť straty hmotnosti. Časť 1: rýchlosť uvoľňovania tepla (metóda kužeľového kalorimetra) a rýchlosť tvorby dymu (dynamické meranie).
KAČÍKOVÁ, D. et al. 2008. Hodnotenie vplyvu druhu dreva vybraných ihličnatých drevín na rozvoj lesného požiaru. Zvolen : Technická univerzita vo Zvolene, 2008. 144 s. ISBN 978-80-228-1883-4.
KAČÍKOVÁ, D. et al. 2011. Materiály v protipožiarnej ochrane: vysokoškolská učebnica.
Zvolen : Technická univerzita vo Zvolene, 2011. 367 s. ISBN 978-80-228- 2317-3.
KAČÍKOVÁ, D. et al. 2017. Protipožiarna ochrana a bezpečnosť: vysokoškolská učebnica. Zvolen : Technická univerzita vo Zvolene, 2017. 398 s. ISBN 978-80-228-3011-9.
KAČÍKOVÁ, D. et al. 2021. The influence of nanoparticles on fire retardancy of pedunculate oak wood. In Nanomaterials. 2021, 11, 3405. DOI: 10.3390/nano11123405
KAČÍKOVÁ, D. et al. 2022. Dynamika požiaru: vysokoškolská učebnica. Zvolen: Technická univerzita vo Zvolene, 2022. 171 s. ISBN 978-80-228-3344-8.
KAČÍKOVA, D. – MAKOVICKÁ OSVALDOVÁ, L. 2009. Wood burning rate of various tree parts from selected softwoods. In Acta Facultatis Xylologiae Zvolen. 2009. 51, p. 27–32.
KAČÍKOVÁ, D. – OSVALD, A. – NETOPILOVÁ, M. 2006. Drevo a jeho termická degradácia. Ostrava : Sdružení požárního a bezpečnostního inženýrství, 2006. 79 s. ISBN 80-86634-78-7.
KARLSSON, B. – QUINTIERE, J.G. 2000. Enclosure Fire Dynamics. Boca Raton : CRC Press LLC, 2000 336 p. ISBN 0-8493-1300-7
KHELFA, A. et al. 2008. Influence of some minerals on the cellulose thermal degradation mechanisms, thermogravimetric and pyrolysis-mass spectrometry studies. In Journal of Thermal Analysis and Calorimetry. 2008, 92, p.795-99. DOI: 10.1007/s10973-007-8649-8
KHELFA, A. – AMMAR, B. – WEBER, J. V. 2013. Investigations in to the pyrolytic behaviour of birch wood and its main components: Primary degradation mechanisms, additivityand metalic salt effects. In Journal of Analytical and Applied Pyrolysis. 2013, 101, p. 111-121. DOI: 10.1016/j.jaap.2013.02.004
KMEŤOVÁ, E. – MITTEROVÁ, I. – KAČÍKOVÁ, D. 2021. Assessment of flame spread on retardant-treated wood. In Delta: fire protection & safety scientific journal. ISSN 13370863, 2021, 15, s. 16-22.
KMEŤOVÁ, E. – MITTEROVÁ, I. – KAČÍKOVÁ, D. 2020. Hodnotenie borovicového a dubového dreva z hľadiska reakcie na oheň. In Pokrok v požiarnom a bezpečnostnom inžinierstve 2020: recenzovaný zborník pôvodných vedeckých prác z IX. ročníka medzinárodnej vedeckej konferencie Advances in fire and safety engineering 2020 a sprievodných medzinárodných vedeckých konferencií. Trnava : AlumniPress, 2020. ISBN 978-80-8096-272-2, s. 111-118.
KMEŤOVÁ, E. – ZACHAR, M. – KAČÍKOVÁ, D. 2022. The progressive test method for assessing the thermal resistance of spruce wood. In Acta Facultatis Xylologiae Zvolen. ISSN 1336-3824, 2022, 64, 2, s. 29-36.
KOBAYASHIA, Y. et al. 2017. Flame spread over horizontal and vertical wires: The role of dripping and core. In Fire Safety Joural. 2017, 91, p. 112-122. DOI:10.1016/j.firesaf.2017.03.047
KOŠÍK, M. 1986. Polymérne materiály a ich požiarna ochrana. Bratislava : Alfa, 1986 148 s.
KUBOVSKÝ, I. – GAŠPARÍK, M. – KAČÍK, F. 2017. Nanomateriálya vybrané oblasti ich využitia. In TZB-info [online]. 2017 [cit. 2021-10-03]. Dostupné na internete: <https://stavba.tzb-info.cz/izolace-strechy-fasady/16344-nanomaterialy-a-vybrane-oblastiich-vyuzitia>
KUČERA, P. – ČESELSKÁ, T. – MATEČKOVÁ, P. 2010. Požární odolnost stavebních konstrukcí. Ostrava : Sdružení požárního a bezpečnostního inženýrství, 2010. 176 s. ISBN 978-80-7385-094-4
KUČERA, P. et al. 2009. Požární inženýrství. Dynamika požáru. Ostrava : Sdružení požárního a bezpečnostního inženýrství, 2009. 152 s. ISBN 978-80-7385-074-6.
Laboratórny Teclu kahan [online]. [cit. 2030-04-08] Dostupné na internete: <https://www.usbeck.eu/en/index.php?artikel&gruppe=1210>
LOWDEN, L. – HULL, R. 2013. Flammability behavior of wood and a review of the methods for its reduction. In Fire Science Reviews. 2013, 2, 4, p. 1-19. DOI: 10.1186/21930414-2-4
LYON, R.E. – WALTERS, R.N. 2002. A microscale combustion calorimeter. Washington: US Department of Transport, 2002. Report Number: DOT/FAA/AR-01/117
MAČIULAITIS, R. – PRANIAUSKAS, V. – YAKOVLEV, G. 2013. Research into the fire properties of wood products most frequently used in construction. In Journal of Civil Engineering and Management. 2013, 19, 4, p. 573-582. DOI: 10.3846/13923730.2013.810169
MAMOŇOVÁ, M. 2016. Anatómia dreva: mediálne skriptá. Zvolen : Technická univerzita vo Zvolene, 2016. 127 s. ISBN 978-80-228-2951-9.
MARTINKA, J. 2015. Reakcia materiálov na oheň a zisťovanie príčin vzniku požiarov. Trnava : AlumniPress, 2015 144 s. ISBN 978-80-8096-217-3
MARTINKA, J. et al. 2016. Investigation of the influence of spruce and oak wood heat treatment upon heat release rate and propensity for fire propagation in the flashover phase. In Acta Facultatis Xylologiae Zvolen. 2016, 58, 1, p. 5-14. DOI: 10.17423/afx.2016.58.1.01
MARTINKA, J. – RANTUCH, P. – LINER, M. 2018. Calculation of charring rate and char depth of spruce and pine wood from mass loss. In Journal of Thermal Analysis and Calorimetry. 2018, 132, p. 1105–1113. DOI: 10.1007/s10973-018-7039-8
MAZELA, B. – BATISTA, A. – GRZEŚKOWIAK, W. 2020. Expandable Graphite as a Fire Retardant for Cellulosic Materials – A Review. In Forests 2020, 11, 755. DOI: 10.3390/f11070755
MITTEROVÁ, I. 2011. The comparison of flame retardants efficiency applied on spruce and particle samples exposed to the radiant and flame source. In Delta: fire protection & safety scientific journal. ISSN 1337-0863, 2011, 5, 10, p. 34 38.
MITTEROVÁ, I. – KMEŤOVÁ, E. – KAČÍKOVÁ, D. 2021. Posúdenie šírenia plameňa po retardačne upravenom dreve. In Advances in fire & safety engineering 2021: zborník príspevkov z X. medzinárodnej vedeckej konferencie. ISBN 978-80-228-3284-7, 2021. s. 7384.
OSVALD,A.1997. Požiarnotechnické vlastnosti dreva a materiálov na báze dreva. Zvolen: Technická univerzita vo Zvolene, 1997 52 s. ISBN 80-228-0656-0
OSVALD, A. 2009a. Drevo – požiarne spoľahlivý materiál. [online]. 2009 [cit. 2020-1010]. Dostupné na internete: <http://old.konstrukce.cz/clanek/drevo-poziarne-spolahlivymaterial/>
OSVALD, A. 2009b. Hodnotenie materiálov a konštrukcií pre potreby protipožiarnej ochrany. I. vyd. Zvolen : Technická univerzita vo Zvolene, 2009. 355 s. ISBN 978-80-2282039-4.
OSVALD, A. 2011. Drevostavba ≠ požiar. Zvolen : Technická univerzita vo Zvolene, 2011. 336 s. ISBN 978-80-228-2220-6.
OSVALD, A. – KOMÁREK, P. – HUBAČKOVÁ, L. 2007. Hodnotenie vybraných drevín z pohľadu protipožiarnej ochrany. Zvolen : Technická univerzita vo Zvolene, 2007. ISBN 978-80-228-1711-0
OSVALD A. – ŠTEFKO J. 2013. Modelový požiar dvojpodlažnej drevostavby. Ostrava: Šmíra-Print, 2013 129 s. ISBN 978-80-87427-85-9
PÂQUES, L E. 2013. Forest Tree Breeding in Europe Dordrecht : Springer, 2013. ISBN: 978-94-007-6145-2. DOI: 10.1007/978-94-007-6146-9
PIZZO, Y. et al. 2009. Width effects on the early stage of upward flame spread over PMMA slabs: Experimental observations. In Fire Safety Journal. 2009, 44, 3, p. 407-414. DOI: 10.1016/j.firesaf.2008.09.003
PÓLKA, M. – KONECKI, M. – POLAKOVIČ, P. 2011. Analysis of the range of visibility in smoke from combustion of some polymeric materials. In Przemysl Chemiczny. ISSN: 0033-2496, 2011, 90, 8, p. 1567−1572.
POPESCU, C. – PFRIEM, A. 2020. Treatments and modification to improve the reaction to fire of wood and wood based products An overview. In Fire and Materials. 2020, 44, 1, p. 100-111. DOI: 10.1002/fam.2779
POŽGAJ, A. et al. 1997.Štruktúra a vlastnosti dreva. II. vyd. Bratislava : Príroda, 1997. 485 s. ISBN 80-07-00960-4.
QUINTIERE, J.G. 2016. Principles of fire behavior. 2nd ed. Boca Raton : CRC Press, 2016 437 p. DOI:10.1201/9781315369655
RANTUCH,P.et al.2023.Characterizationofthe burningoforientedstrandboardsexposed to flame. In Wood research. 2023, in press.
RANTUCH, P. et al. 2015. Vplyv hustoty tepelného toku na termický rozklad OSB. In Acta Facultatis Xylologiae Zvolen. 2015, 57, 2, p. 125-134. DOI: 10.17423/afx.2015.57.2.13
RANTUCH, P. – MARTINKA, J. – WACH-TER, I. 2020. Initiation Parameters of Wood Based Materials. In Wood & Fire Safety: Proceedings of the 9th International Conference on Wood & Fire Safety 2020. Springer International Publishing, 2020. p. 28-34. DOI: 10.1007/978-3-030-41235-7_5
REINPRECHT, L. 2008. Ochrana dreva. Zvolen : Technická univerzita vo Zvolene, 2008 453 s., ISBN 978-80-228-1863-6.
RUŽIAK, I. et al. 2017. Tepelno-technické vlastnosti materiálov na báze dreva v drevostavbách: vedecká monografia. Zvolen : Technická univerzita vo Zvolene, 2017. 105 s. ISBN 978-80-228-2941-0.
SAMANTA, A.K. et al. 2017. Fire retardant finish of jute fabric with nano zinc oxide. In Cellulose. 2017, 24, p. 1143–1157. DOI: 10.1007/s10570-016-1171-z
SARVAŠ, M. et al. 2010. Základné charakteristiky lesných drevín: ekologické nároky, morfológia, lesné semenárstvo a škôlkárstvo, obhospodarovanie génových základní: spracovanie drevnej suroviny v odvetví spracovania dreva. Zvolen: Národné lesnícke centrum, 2010. ISBN 978-80-8093-112-4.
SEO, H.J. – HWANG, W. – LEE, M.C. 2017. Fire properties of Pinus densiflora utilizing fire-retardant chemicals based on borated and phosphorus (I) – combustion characteristics. In Bioresources. 2017, 12, p. 5417-5427. DOI: 10.15376/biores.12.3.5417-5427
STN EN 13501-1: 2023: Klasifikácia požiarnych charakteristík stavebných výrobkov a prvkov stavieb. Časť 1: Klasifikácia využívajúca údaje zo skúšok reakcie na oheň.
STN EN 13823 + A1: 2023: Skúšky reakcie stavebných výrobkov na oheň. Stavebné výrobky okrem podlahových krytín, vystavené tepelnému pôsobeniu osamelo horiaceho predmetu.
STN EN ISO 1716: 2019 Skúškyreakcie výrobkov na oheň. Stanovenie celkového spalného tepla .
STN EN ISO 11925-2: 2020 Skúšky reakcie na oheň. Zapáliteľnosť stavebných výrobkov vystavených priamemu pôsobeniu plameňového horenia. Časť 2: Skúška jednoplameňovým zdrojom.
STN EN ISO 9239-1: 2011: Skúšky reakcie podlahových krytín na oheň. Časť 1: Určovanie správania sa pri horení s použitím zdroja sálavého tepla.
STN ISO 1182: 2010: Skúšky reakcie výrobkov na oheň. Skúška nehorľavosti.
STN ISO 871:2010: Plasty. Stanovenie zápalnosti v teplovzdušnej peci.
SUN, Q. et al. 2010. Prolonging the combustion duration of wood by TiO2 coating synthesized using cosolvent-controlled hydrothermal method. In Journal of Materials Science 2010, 45, p. 6661–6667. DOI: 10.1007/s10853-010-4758-z
SWEET,M.S.1993. Fire performanceof wood:Test methods and fireretardant treatments Madison, USA: Forest Products Laboratory, 1993.
ŠTEFKA, V. 2007. Kompozitné drevné materiály. Zvolen : Technická univerzita vo Zvolene, 2007. 204 s. ISBN 80-228-1705-8.
ŠTEFKO, J. – REINPRECHT,L. – KUKLÍK, P. 2006. Dřevěné stavby: konstrukce, ochrana a údržba. 2. vyd. Bratislava : Jaga group, 2006. 204 s. ISBN 80-8076-043-8.
TARABA, B. – BEHÚLOVÁ, M. – KRAVÁRIKOVÁ, M. 2004. Mechanika tekutín termomechanika. 2. vyd. Bratislava : STU v Bratislave, 2004. 241 s. ISBN 80-227-2041-0.
TUREKOVÁ, I. 2007 Vysokoteplotná degradácia materiálov na báze dreva a stanovenie vybraných požiarnotechnických charakteristík. Trnava: AlumniPress, 2007. 123 s. ISBN 978-80-8096-024-7
TUREKOVÁ, I. 2009. Study of High-Temperature Degradation by Lignocelullose Materials. Rossendorf: Forschungszentrum Dresden, 2009. 130 s. ISBN 978-3-941405-080
Úžitkový vzor č. 9589: Zariadenie na stanovenie rýchlosti šírenia plameňa po povrchu polymérnych materiálov a spôsob na toto stanovenie.
VAKHITOVA, L.N. 2019. Fire retardant nanocoating for wood protection. In Nanotechnology in Eco-Efficient Construction. Woodhead Publishing, 2019. p. 361-391. Váhy KERN. [online]. [cit. 2023-05-01] Dostupné na internete: <https://www.fisherww.sk/index.php/view/productdetails/virtuemart_product_id/11448/vir tuemart_category_id/188>
Vodné sklo, Karta bezpečnostných údajov [online]. [cit. 2022-01-10] Dostupné na internete:<https://www.farby.sk/mediadir/Vodne_sklo_sodne_tekute_KBU_rev_2019.pdf>
VÝBOHOVÁ, E. 2019. Zmeny lignínu jaseňového dreva pri termickom zaťažení analyzované metódou ATR-FTIR spektroskopie. In Delta: fire protection & safety scientific journal. ISSN 1337-0863, 2019, 13, 2, s. 117-122.
WALTON, W.D. – THOMAS, P.H. 1995. Estimating Temperatures in Compartment Fires. The SFPE Handbook of Fire Protection Engineering. 2nd ed. Quincy: National Fire Protection Association, 1995. ISBN 0-87765-354-2.
YANG, H. P. et al. 2006. In-Depth Investigation of Biomass Pyrolysis Based on Three Major Components: Hemicellulose, Cellulose and Lignin, In Energy and Fuels 2006, 20, p. 388–393. DOI: 10.1021/ef0580117
ZACHAR,M. 2009. Vplyvohrevu na termickú degradáciu vybraných druhovdreva. Zvolen: Technická univerzita vo Zvolene, 2009. 102 s. ISBN 978-80-228-2060-8
ZACHAR, M. et al. 2012. Determination of fire and burning properties of spruce wood. In Drvna industrija 2012, 63, 3, p. 217-223. DOI:10.5552/drind.2012.1141
ZHANG, Y. et al 2013. Heat transfer mechanisms in horizontal flame spread over wood and extruded polystyrene surfaces. In International Journal of Heat and Mass Transfer. 2013, 61, p. 28-34. DOI:10.1016/j.ijheatmasstransfer.2013.01.069
Zoznam skratiek a značiek
δ(τ) úbytokhmotnostivčase(τ)
δ(τ + Δ τ) úbytokhmotnostivčase(τ + Δτ)
EHC efektívna výhrevnosť
EN európska norma
FS šírenie plameňa vo zvislom smere
HRR rýchlosť uvoľňovania tepla
ISO medzinárodná organizácia pre normalizáciu
KBÚ karta bezpečnostných údajov
LHVV nižšiavýhrevnosťpaliva
m (τ) hmotnosťvzorkyvčase(τ)
m (τ0) pôvodnáhmotnosťvzorky
Δm úbytok hmotnosti
MARHE Maximálna priemerná rýchlosť uvoľňovania tepla
p atmosférickýtlak
Sm.ch. smerodajná chyba merania
STN slovenská technická norma
t teplota(°C)
t čas trvania testu
THR celkové uvoľnené teplo
TS technická špecifikácia
ÚV úžitkový vzor
Δ τ časový interval, v ktorom sa odčítavajú hmotnosti
ʋ rýchlosť odhorievania
�� objemovýprietokplynu
B
bezplameňové horenie ....................41, 46
D
dokonalé horenie 37
drevo 19, 28, 30, 35, 41, 42, 43, 44, 58, 112, 114
F
faktory ovplyvňujúce horenie dreva20, 42 faktory vzniku a rozvoja vnútorného
požiaru 20, 47
H
HRR..................56, 58, 79, 104, 105, 119
hustota 27, 30, 34, 35, 40, 48, 49, 50, 51, 53, 54, 56, 65
K
kritická hustota tepelného toku 49
N
nedokonalé horenie...............................37
O
ochrana dreva 58, 116
plameňové horenie 51, 81
plne rozvinutý požiar......................46, 52 požiarne charakteristiky 48, 49, 52, 56 prenos tepla.....................................39, 40
R retardéry horenia 19, 20, 58, 60
rýchlosť odhorievania...................71, 119 rýchlosť šírenia plameňa....24, 49, 52, 53, 54, 71, 86
rýchlosť uvoľňovania tepla49, 56, 58, 77, 79, 105, 111, 119
S
smrek obyčajný...............................21, 62
U
úbytokhmotnosti 71, 119
V vlhkosť......................................35, 43, 65
Z
orientácia povrchu paliva......................54 P
zapálenie 36, 43, 46, 50, 59, 80