Museu da Mulher em Brasília

Page 1

o museu da mulher em brasília

Eu sou estas casas encostadas cochichando umas com as outras.

Eu sou a ramada dessas árvores, sem nome e sem valia, sem flores e sem frutos, de que gostam a gente cansada e os pássaros vadios.

Eu sou o caule dessas trepadeiras sem classe, nascidas na frincha das pedras: Bravias. Renitentes. Indomáveis. Cortadas. Maltratadas. Pisadas. E renascendo.

Eu sou a dureza desses morros, revestidos, enflorados, lascados a machado, lanhados, lacerados. Queimados pelo fogo. Pastados. Calcinados e renascidos. Minha vida, meus sentidos, minha estética, todas as virações de minha sensibilidade de mulher, têm, aqui, suas raízes. Cora Coralina

Fonte: Jornal Metrópoles

cecília de almeida silva universidade de brasília faculdade de arquitetura e urbanismo projeto de diplomação 1I 01/2022

orientadora: profa. dra. maribel aliaga banca: profa dra. maria fernanda derntl

3

agradecimentos

Agradeço às mulheres fortes e incríveis que me rodeam, as que me cuidaram e me ensinam todos os dias sobre a vida. Às minhas avós, que são as mulheres mais fortes que já conheci. À minha mãe, por ter me ensinado através do exemplo e do amor. Às minhas irmãs, que sempre estiveram por nós. Às minhas amigas, que me fazem lembrar todos os dias da sorte que tenho. Não menos importante, à minha professora orientadora, que me acolheu com tanta paciência e sabedoria nesse ano tão difícil, o caminho se torna melhor com você.

Agradeço também aos meus amigos, meu namorado e família, que me dão muito mais que o material.

Dedico este trabalho à todas as mulheres em e de Brasília, terra essa abastecida e mantida por todas nós. Às corajosas migrantes que vieram criar a capital federal, longe dos holofotes mas fazendo o que possibilitou a construção dessa cidade.

Sigamos todas com esperança no futuro, com fé nas conquistas e torcendo sempre por dias mulheres.

Cecília Almeida Brasília 2022

4

sumário

o tema justificativa e objetivos 1. frauenmuseum bonn, alemanha 2. museo de la mujer, argentina 3. museo de la mujer, méxico 4. musée de la femme henriette-bathily, senegal

introdução referências localização

núcleo bandeirante candangolândia museu vivo da memória candanga análises diretrizes urbanísticas mapa geral

6-9 10-19 20-39

o projeto referências bibliográficas

o conceito implantação perspectivas planta baixa cortes fachadas

40-90 54

5
introdução
Fonte: Jornal Metrópoles

introdução

o tema

Museu da Mulher em Brasília é o tema escolhido para este trabalho de diplomação. A proposta do projeto é criar um local que busque inserir as mulheres na história da capital.

justificativa e objetivos

Além de razões pessoais, como a aproximação de temáticas feministas, este trabalho se justifica pela ausência de espaços e documentações que contem a história da mulher em Brasília.

São poucas as memórias que tenho de mulheres sendo protagonistas na história da capital.

O nome, Museu da Mulher em Brasília, se organiza da seguinte maneira pois as mulheres retratadas não são somente as brasilienses, mas brasileiras de diversas regiões, que vieram para cá no começo da capital e também nos dias atuais. Foi a partir da coragem dessas mulheres pioneiras que as mulheres brasilienses puderam enfim existir.

1. Ser um espaço de construção artística; 2. Ser um espaço de construção histórica; 3. Ser um espaço de discussões; 4. Ser um espaço de admiração; 5. Ser um espaço de lazer; 6. Ser um espaço de cultura.

São escassas as referência de espaços dedicados exclusivamente à história de mulheres, seja em contexto nacional ou internacional.

Por ter nascido em território distrital, boa parte da minha identidade e noção de pertencimento se dão no contexto de Brasília.

O objetivo principal, é, então, dar relevância à história das mulheres na capital federal, desde sua fundação até os dias atuais, criando um espaço coletivo de exposição, discussão, história e trocas destinado às mulheres das mais diversas áreas de atuação.

Dentre as propostas do Museu, é possível elencar alguns itens e temáticas:

Todas essas propostas devem ser centradas e trabalhadas por mulheres, principalmente da capital, que visem construir uma memória contínua e coletiva, do passado, do presente e do futuro das mulheres em Brasília.

7

introdução

por que um museu?

O espaço museológico foi entendido por muitos anos como um local para guardar objetos importantes, principalmente o que entendemos como obra de arte: quadros, esculturas, etc. Após alguns anos, a relevância de itens do campo científico também foi sendo percebida, foi assim que chegamos aos museus de Ciências Naturais.

As coleções foram sendo formadas a partir, primeiramente, de objetos pessoais, doados por pessoas ou disponibilizados para estes espaços.

Um dos marcos que mudou essa percepção do espaço museológico foi a Mesa de Santiago, realizada em 1972 pelo ICOM (International Council of Museums). Nesse evento, intelectuais e profissionais fizeram discussões centradas na museologia e realidade social, principalmente da América Latina.

Foi neste evento que a concepção da Nova Museologia ganhou maior relevância. Boa parte dos cientistas sociais que estavam participando das mesas relativas à museologia entendiam que o museu devia deixar de ser objeto e se tornar também agente.

Isso quer dizer, em palavras bem simplistas, que deveria existir uma transformação do sujeito dentro daquele ambiente, seja ele como colaborador ou visitante, mas que, de fato, ele fosse inserido no ambiente de maneira mais ativa.

O Museu agora possuia caráter social, não somente de vislumbre.

Um outro ponto bastante tratado foi a importância da representatividade local na concepção dos espaços museológicos. Essa foi uma das questões levantadas, de que os Museus não represen-

tam os ditos homenageados. Por que um museu feito em aço, cheio de objetos modernistas para representar o povo campesino?

Nesse quesito, é possível repensar e questionar a representatividade de grupos sociais, de povos oprimidos, de comunidades e afins.

Quanto tempo e quanto espaço foi dedicado a esses povos e grupos? Qual a participação desses grupos na organização de acervo e coleção dos museus? Quem foi inserido e de que forma foi inserido no processo de construção?

Questionamentos dessa espécie ajudam a situar melhor a necessidade de se representar quem ainda não foi retratado em espaços públicos, coletivos e artísticos.

1. GOMES, Ana Lúcia de. “O encontro entre a Mesa de Santiago do Chile (1972), o Centro Nacional de Referência Cultural (1975) e os museus da Pró-Memória” In: MAGALHÃES, Fernando et ali. Museologia e Patrimônio.
1

os museus de mulheres

Dentre a história dos museus, o acontecimento de Museus de Mulheres é algo bastante recente. Se temos como referência os primeiros museus da humanidade, registrados em II a.C, são praticamente dois milênios sem espaços dedicados à mulheres. Somente em 1980 o primeiro museu deste tipo surgiu.

Somente à título de informação, existem muitos tipos de museus, como: museus de ciências, de história, museus sobre guerras e conflitos, museus de anatomia, de culinária, museus de exposição artística, etc. Sabendo da existência de todos essas tipologias, o questionamento sobre a demora em existir espaços dedicados à mulheres só se torna mais forte.

Atualmente, as informações mais atualizadas sobre os Museus de Mulheres

podem ser encontradas no IAWM (International Association of Women’s Museums), uma associação que reúne a maioria dos museus de mulheres do mundo.

Essa associação foi criada por Marianne Pitzen, fundadora também do primeiro museu de gênero da história, localizado na Alemanha. Alguns dos vários que surgiram depois se basearam neste primeiro, mas alguns surgiram de maneira bastante independente, sem sequer saber da existência de Marianne ou do seu museu.

Hoje em dia, somente associados à IAWM, existem mais de 60 museus, cujos objetivos giram principalmente em torno de:

1. Promover a cultura, as artes, a educação e a formação numa perspectiva de gênero;

2. Realizar pesquisas e desenvolvimento de projetos, exposições, novas iniciativas, atividades comunitárias, seminários e conferências;

3. Defender os direitos das mulheres e uma sociedade democrática de gênero;

4. Dar mais relevância à mulheres dentro da história de seus países, de campos de estudo ou atuação.

2. CARLAN, Claudio Umpierre. Os museus e o patrimônio histórico: uma relação complexa. História (São Paulo) [online]. 2008, v. 27, n., pp. 75-88. Disponível em: <https://doi.org/10.1590/S0101-90742008000200005>

3. International Association of Women’s Museums - IAWM, About Us. Disponível em: < https://iawm.international/ about-us-2/>

9
2 3

referências

Fonte: Jornal Metrópoles

referências

Os museus de mulheres começaram a surgir como ideia, projeto ou implantação na década de 80, sendo o de Bonn, na Alemanha, o primeiro de todos. A maioria dos museus pesquisados é dedicado à mulheres na arte e à história de mulheres num contexto mundial, sendo poucos os que se dedicam especificamente à uma realidade local.

Durante o projeto de pesquisa foram encontradas mais de 25 instituições, destas, 4 chamaram mais atenção, pois possuem áreas, acervos ou histórias mais próximas do desejado no projeto de diplomação.

Os quatro museus escolhidos foram: 1. frauenmuseum bonn, alemanha 2. museo de la mujer, argentina 3. museo de la mujer, méxico 4. musée de la femme henriette-bathily, senegal.

O museu alemão foi inserido principalmente por ter sido o pioneiro, o argentino e o mexicano foram escolhidos pela localização e histórico de américa latina, por útimo, o museu do senegal, escolhido pelas ações nele realizadas. É possível, através destes quatro exemplos, reunir os propósitos principais para o projeto.

11

frauenmuseum bonn bonn, alemanha

O Frauenmuseum Bonn (Museu da Mulher em Bonn, em português) está localizado na cidade de Bonn, na Alemanha, e se intitula como o primeiro museu de gênero do mundo.

O museu foi inaugurado em 1981 por Marianne Pitzen, que elaborou todo o projeto museológico junto a um grupo de mulheres trabalhadoras alemãs. Marianne Pitzen é uma feminista que participou ativamente do movimento de emancipação feminina nas décadas de 60 e 70 na Alemanha. Ocupa também lugar importante na criação e organização da Asociación Internacional de Museos de las Mujeres.

A ideia, neste caso, era propor um espaço onde mulheres artistas pudessem divulgar seus trabalhos, ter contato com

outras mulheres artistas e realizar trocas artísticas e culturais.

Ao longo dos anos, o museu foi propondo novas atividades e ganhando novas funções, sendo hoje um local com atividades educativas voltadas para mulheres, artistas ou não.

Além dessas funções, o museu possui também uma biblioteca, com livros, documentos e pesquisas sobre mulheres na arte, história, política, feminismo, arquitetura, design e afins.

O espaço do museu fica em um antigo galpão, utilizado anteriormente por alguma fábrica, literalmente conquistado pelas mulheres que fundaram o museu através de uma manifestação e ocupação do espaço.

12
Fonte: Wolfgang Friedrich Fonte: Sidika Kordes Fonte: Site Museu

O edifício conta com 3 níveis, o térreo e 2 pavimentos superiores. Através de imagens, é possível perceber e descrever alguns espaços que compõe o Museu, sendo eles:

Piso térreo: possui uma recepção, uma espécie de lojinha, um café e pelo menos 4 grandes galerias de exposição e outras 2 menores.

Apesar de descrita no site, não existem imagens da biblioteca. Em relação aos espaços de debate, há presença de cadeiras em todos os pavimentos, dando a entender que podem ocorrer em diferentes locais.

Alguns dos espaços listados no site são: galerias, museu da mulher casa de Berlim, editora FrauenMuseum, estúdios de artistas, loja e café, ateliê infantil.

Primeiro pavimento: uma grande planta aberta servindo como galeria, pelas imagens é possível perceber que fazem uso de divisórias de fácil montagem para organizar o espaço. Há também uma pequena sala com projetor para exposições audiovisuais.

Segundo pavimento: aparenta ser o lugar com mais paredes no piso, mas serve também como uma grande galeria.

Fonte: Facebook Museu Fonte: Facebook Museu Fonte: Facebook Museu

museo de la mujer buenos aires, argentina

O Museo de la mujer existe desde 2006 em caráter itinerante, ganhando uma sede somente em 2008. A ideia, porém, é de Graciela Tejero Coni, que sugeriu a criação desse museu em 1989,

A ideia passou anos esquecida, até que o museu renasceu como um projeto de mulheres, profissionais e/ou feministas em prol da história cultural e artística das mulheres, com mais foco nas argentinas e latinoamericanas, mas abarcando mulheres do mundo todo.

Esse grupo é formado por mulheres de diversas classes e categorias sociais, graduadas ou não, artistas ou não, com o objetivo comum de construir um arquivo e acervo da história, produção e cultura das mulheres argentinas.

Dentro dos planos do museu, sempre é frisada a motivação educacional do espaço e da ideia, se adaptando muito bem aos conceitos da Nova Museologia.

‘‘La misión del Museo de la Mujer es exhibir la realidad cultural signada por la desigualdad de las relaciones de género y su origen histórico’’

Apesar de ocupar um prédio público, o Museo de La Mujer é uma instituição privada, que conta com fomento principalmente de mulheres investidoras, porém, recebe também apoio do Ministério da Cultura argentino.

O edifício está localizado na capital Buenos Aires, em uma das diversas ruelas da cidade. Esse local não foi um pedido leviano das mulheres que idealizaram esse museu, pois servia, anteriormente, como prisão feminina. É um edifício de estilo colonial, construído nos anos 1700, tendo várias ocupações ao longo das décadas, incluindo um museu carcerário e uma prisão.

14
Fonte: Facebook Museu Fonte: Facebook Museu

É possível ver, através das redes sociais do museu, que mesmo durante a pandemia, as atividades seguiram bastante ativas, principalmente nos ambientes virtuais. Anteriormente à isso, existiam muitas atividades presenciais, como oficinas, rodas de conversa e exposições, além da participação como grupo das manifestações em defesa das mulheres no país.

O plano museológico é o que dita a estrutura de funcionamento do museu, sendo dividido em: Conselho, comissão e coordenações. Essa estrutura, de certa forma, coordena a organização espacial do museu. Submissa à coordenação de programas, temos os programas de: Investigação e coleções, de exposições, de música, teatro e performance, de educação, de voluntariado, de recursos econômicos, de comunicação e divulgação e programa de relações internacionais.

Não foi possível encontrar imagens dos outros ambientes do museu, somente dessa entrada que funciona como galeria, ateliê e centro de debates.

Fonte: Facebook Museu Fonte: Facebook Museu Fonte: Facebook Museu Fonte: Cristina Arriaga

museo de la mujer ciudad de mexico, méxico

O Museu da Mulher localizado no México foi fundado oficialmente em março de 2011, mas teve iniciativa em 1994. A ideia surgiu dentro da Universidade Nacional Autônoma do México, idealizado pela professora, pesquisadora e feminista Patricia Galeana. Dentro do projeto, a criadora pensava em um lugar que relembrasse a luta das mulheres ao longo da história.

Desde a década de 90, Patricia ganhou o apoio de instituições, intelectuais, artistas e personalidades do México, que ajudaram a construir o plano museológico e também através de doação financeira.

Dentro do projeto estão citados alguns objetivos principais, sendo eles: fazer uma revisão da história mexicana através da perspectiva de gênero, desde o período pré-hispânico até os dias atuais. Há também a vontade de dedicar espaço para demonstrar as mais diversas contribuições feitas pelas mulheres do país.

Assim como nos outros museus de mulheres, o espaço acabou levando a outros focos, principalmente funcionar como um centro multidisciplinar dedicado aos estudos e divulgações de arte, cultura e pesquisas feministas.

Atualmente o museu está localizado no Centro Histórico da Cidade do México, num edifício colonial cedido pelo governo para que a iniciativa pudesse ser implantada. Além das galerias com exposição, o museu conta com obras audiovisuais, documentações, acervo pessoal e afins, permitindo mais aproximação do público com a temática.

16
Fonte: Wikipédia Fonte: Wikipédia

Em relação à organização espacial e, consequentemente, do acervo, as exposições fixas do museu se dividem da seguinte forma:

Sala 1. Dedicada à dar um panorama sobre o Museu em si, fala sobre as questões de desigualdade e violência contra as mulheres no país.

Sala 2. Conta a história da cosmovisão dual do México antigo a religião dos povos originários, que coloca o equilíbrio como algo entre energia feminina e masculina.

Sala 3. Fala sobre o Marianismo novohispano, período ligado ao catolicismo, onde o principal exemplo das mulheres era ligado à religiosidade, com os papéis de mãe, mulher de famíla e de Deus.

Sala 4. Dedicada às mulheres insurgentes, aquelas que participaram da construção do México, principalmente na luta pela independência, sendo cuidadoras, curandeiras ou lutadoras.

Sala 5. Trata sobre as conquistas e mudanças na vida das mulheres após a reforma que acabou com o regime colonial. A República venceu e a educação se tornou acessível, gratuita, obrigatória e laica, permitindo

permitindo também a entrada de mulheres na vida acadêmica e universitária.

Sala 6. Trata do período final do século XIX e o começo do XX, onde as mulheres começaram a se organizar politicamente contra à ditadura. Essas mulheres revolucionárias estiveram presentes em todos os ambientes e momentos revolucionários através dos Planos e da luta armada.

Sala 7. Retrata a conquista cidadã das mulheres de terem direito ao voto, conquista essa que só ocorreu em 1947.

Sala 8. Trata de assuntos mais contemporâneos, com recorte temporal desde os anos 50 até os dias atuais. Dá também um panorama sobre contexto nacional, participação política e realidade vivida pelas mexicanas no hoje.

Um outro espaço é o Centro de Documentação do Museu, um local com livros, documentos e pesquisas que tratam das mulheres do e no país. Além dessas salas fixas, o museu também recebe exposições, eventos, palestras, rodas e exibições temporárias.

Fonte: Wikipédia Fonte: Wikipédia
Fonte: Site Museu

musée de la femme henriette-bathily dakar, senegal

O Museu da Mulher Henriette-Bathily (em português) foi concebido por Ousmane William Mbaye, um cineasta senegalês, como ideia em 1987, se tornando real em 1994, quando o plano se materializou. Foi o primeiro museu de mulheres de todo o continente africano.

O nome do museu é uma homenagem à Henriette Bathily, a primeira mulher Senegalesa a conquistar um diploma na França que fez carreira no mundo artístico, dirigindo Ballets na África e na França. Quando retornou ao Senegal, foi diretora de alguns programas em rádios do país, se tornou diretora do Departamento Cultural do Centro Cultural Francês, onde ficou até sua morte. Os fatos que mais a aproximaram das temáticas feministas foram: a organização de uma exposição nacional itinerante chamada ‘“Lugar e papel das mulheres senegalesas nos ritos”, em 1975, e o apoio que deu para mulheres artistas no Senegal.

Atualmente o museu está localizado em Dakar

Dakar, para onde foi transferido em 2015, mas possuia local em Gorée desde 1994.

A ideia deste museu diz respeito à resgatar e enaltecer a história das mulheres, principalmente as senegalesas. Através de objetos, textos e exposições, essa história vai sendo contada, ressaltando a importância das mesmas na construção e existência do país.

Além desse objetivo, ao longo dos anos, o museu foi ganhando um papel mais científico, pois coletou e armazenou informações relevantes de diversas mulheres, movimentos e culturas do Senegal, criando uma enorme base de dados que atualmente estão abertos ao público.

Existem exposições, reuniões, shows, palestras, oficinas, encontros culturais e científicos realizados periodicamente, além de exposições fixas. Por se tratar de um museu privado, algumas atividades são realizadas com o objetivo de arrecadar fundos para manutenção.

18
Fonte: Facebook Museu
Fonte: Facebook Museu

O Museu atualmente está numa espécie de monumento/local dedicado à memória dos cidadãos senegaleses, o Place du Souvenir Africain et la Diaspora. Dentro da edificação ocupada pelo Museu da Mulher, temos:

Piso térreo: grande espaço de galeria, dedicado às exposições temporárias, atualizadas a cada seis meses, sempre com a temática da mulher senegalesa.

Primeiro andar: área com exposição fixa dedicada à história e memória das mulheres senegalesas, com objetos espirituais, vestimentas, fotos e textos. Ainda neste pavimento, existe uma ala para mulheres contemporâneas que marcaram a história do país nas suas áreas, como músicas e atletas. No final do percurso está a exibição fixa de um documentário (Disque Diale) que trata das mulheres senegalesas, feito por Ousmane William Baye.

Existe também um compromisso do próprio museu em relação à atividades e oficinas de cunho social e artístico para mulheres do Senegal.

Fonte: Facebook Museu Fonte: Facebook Museu Fonte: Facebook Museu

localização

Fonte: Arquivo Público do DF

localização

O lugar escolhido para implantação do projeto foi a região do Museu Vivo da Memória Candanga. A principal motivação é o próprio museu, que já realiza um trabalho de resgate e fortalecimento de memórias relativas à construção de Brasília.

O Museu está localizado num terreno pertencente ao Núcleo Bandeirante, e está extremamente próximo também da Candangolândia, duas das primeiras cidades criadas desde a criação de Brasília. Existe inclusive uma disputa oral sobre quem começou de fato a capital: Núcleo Bandeirante ou Candangolândia. Pensando nessa perspectiva histórica, um lugar entre essas duas cidades traz um significado além do pragmatismo.

Ambas as regiões foram pioneiras durante a ocupação da capital federal, a Candangolândia foi ocupada por trabalhadores mais formais (ligados à NOVACAP, principalmente), enquando o Núcleo Bandeirante servia como núcleo de apoio para os trabalhadores, recebendo o apelido de Cidade Livre pelo caráter mais informal.

O Museu Vivo da Memória Candanga está localizado a aproximadamente 15km do centro de Brasília, tendo acesso facilitado de transporte público e particular.

Existem outras reflexões sobre o local que serão melhor explicadas e descritas durante esse capítulo, junto de mapas e dados informativos.

21

o núcleo bandeirante era uma cidade livre

A cidade do Núcleo Bandeirante tem seu início em 1956, chamado no primeiro momento de Cidade Livre, servia como local de lazer, descanso, serviços e habitação para os que vieram construir o sonho da Capital. O nome Cidade Livre foi dado por uma iniciativa governamental de isenção de impostos, atraindo muitos comerciantes no local.

4

Assim como a Candangolândia, o Núcleo Bandeirante possuía poucas condições de habitação, sendo as casas e construções, em sua maioria, barracos de madeira. A cidade, quando inaugurada, foi feita com caráter provisório, os lotes eram cedidos e depois deveriam ser devolvidos, mas foram cedidos após movimentação dos moradores e comerciantes.

Os arredores do Núcleo Bandeirante foram sendo ocupados de maneira gradativa ao longo dos anos, fixando locais como Metropolitana e Park Way.

Uma curiosidade sobre a Cidade Livre é que, quando transformada oficialmente em Região Administrativa, a Metropolitana, o Riacho Fundo, a Candangolândia, o Setor de Mansões do Park Way e o Setor Placa da Mercedes, além de outras áreais mais rurais, faziam parte do Núcleo Bandeirante. Isso aconteceu em 1989, e somente anos depois o desmembramento foi sendo feito.

’’Foi na Cidade Livre que a ideia de Brasília floresceu e se exprimiu na evolução de um foco de vida urbana e de orgulho local. O espírito vigoroso de Velho Oeste permeia as suas ruas, em uma mescla de idealismo e comercialismo desenfreado. A vida urbana que ali brotou espontaneamente é preciosa demais para ser destruída; na verdade, não se consegue entender como foi possível construir Brasília sem levar em conta o papel desempenhado pela Cidade Livre; uma é parte da história da outra. A sua atmosfera descontraída e buliçosa faz um belo contraste com a elegância e a formalidade de sua augusta vizinha.‘‘ (David Crease, 1982)

4. História do Núcleo Bandeirante. Fonte: RA VIII – NÚCLEO BANDEIRANTE - CODEPLAN. Disponível em: <https:// www.codeplan.df.gov.br/wp-content/uploads/2018/02/Estudo-Urbano-Ambiental-N%C3%BAcleo-Bandeirante.pdf>

Fonte: Arquivo Público

perfil socioeconômico

53,5% mulheres 46,5% homens

A população do Núcleo Bandeirante é composta em sua maioria por mulheres, com uma média de idade de 35 anos. São elas também que compõe a maior parte das estruturas familiares da RA, pois integram as famílias com casais e também as de estrutura monoparental:

1. Monoparental (liderada por mulher): 20,5%

2. Casal com 1 filho: 18,2%

3. Casal com 2 filhos: 16,1%

4. Unipessoal: 14,6%

5. Casal sem filhos: 13,5%

6. Outro perfil: 16,8%

O somatório de arranjos domiciliares com mães na sua composição chega a 61%.

Em relação à distribuição por cor da pele, 45,9% se considera branca 44,8% se considera parda 8,2% se considera preta

Sobre a origem dos moradores da Cidade Livre, 49% são oriundos de outros estados, e 51% nasceram no Distrito Federal.

Sobre pessoas com deficiência, a maior incidência no Núcleo Bandeirante é de pessoas com deficiência visual, chegando à quase 30% da população.

Em relação à escolaridade, 98,3% da população do Núcleo Bandeirante declarou saber ler e escrever, um dos maiores índices do DF fora do Plano Piloto. Já sobre aqueles entre 4 e 25 anos, mais da metade afirmou já ter acessado alguma instituição de ensino, os valores são algo em torno de: 48,1% acessam escola pública 28,3% acessam escola particular 23% não frequentam mais a escola

Destes, que ainda frequentam alguma escola, quase 57,3% estuda na prória RA, seguidos por Plano Piloto (29,7%) e Taguatinga (5%). O deslocamento desses estudantes é feito majoritariamente a pé (37,4%), ônibus (27,5%) e automóvel (30,7%) tem porcentagens bem parecidas. Esse deslocamento, em sua maioria, leva até 30 min. pra ser realizado, o que facilitaria a ligação dos alunos com o museu.

1. Até 15 min: 50,7%

2. Entre 15 e 30 min: 24,2%

3. Entre 30 e 45 min: 12,8%

4. Entre 45min e 1h: 5,4%

Sobre renda e emprego, podemos citar principalmente os dados sobre renda: 8,2% recebe até 1 salário mínimo 34,9% mais de 1 a 2 salários mínimos 33,3% mais de 2 a 5 salários mínimos 117,1% mais de 5 a 10 salários mínimos 6,2% mais de 10 a 20 salários mínimos

A maior parte dessa população empregada está no setor de serviços (68,3%) e comércio (25,3%). Infelizmente o PDAD não fornece o cruzamento dos dados, não sendo possível saber qual a real condição das mulheres que lideram famílias sozinhas no Núcleo Bandeirante.

Já sobre o local de trabalho, há um grande equilíbrio entre Plano Piloto (33,9%) e Núcleo Bandeirante (34%), restando uma grande quantidade de pessoas trabalhando espalhadas pelas outras RA’s (32,1%). O tempo de deslocamento dominante é de até 30 minutos (59,7%). O modal dominante é automóvel (50,7%), seguido de ônibus (31,3%) e a pé (21,4%), o que torna a proposta de um museu na cidade bastante acessível para a população.

23
Fonte: PDAD 2018

os candangos moravam na candangolândia

A cidade Candangolândia tem seu início em 1956, junto à outras ocupações caracterizadas pela grande quantidade de operários da construção de Brasília. Estes trabalhadores e suas famílias buscavam espaços mais próximos o possível da área que estava sendo construída, e foram se agrupando principalmente na Vila Planalto, na Candangolândia e no Núcleo Bandeirante.

Assim como o Núcleo Bandeirante era chamado de Cidade Livre, a Candangolândia também possuia nomes alternativos: Velhacap e Lonalândia. O nome Velhacap se deu pelo fato da Novacap ser sediada na Candangolândia durante 1956 e alguns meses de 1957, posteriormente se mudando para a área de Brasília. Como não faziam mais parte da estrutura conjunta da Novacap, o nome Velhacap se manteu na boca do povo. Já o nome Lonalândia surgiu pois as habitações eram, em boa parte, barracos com lona nas coberturas. Houve também uma fase onde chamavam de Sacolândia, pois as casas

eram feitas de sacos de cimento vazios, sacos estes que os operários pegavam dos canteiros de obra na capital. Por fim, o último dos nomes antes de Candangolândia foi Vila dos Candangos, pela referência direta à ocupação daquele local pelos candangos.

Após esses anos, a Candangolândia se manteve e estabeleceu como uma Região Administrativa, entrou como área tombada quando Brasília foi declarada patrimônio da humanidade e é hoje habitada por aproximadamente 20 mil pessoas.

De uma cidade (ou vila) com população majoritariamente migrante e de adultos, a Candangolândia foi aos poucos tendo seu próprio perfil delimitado: ainda segue sendo uma cidade com muitos adultos, mas possui uma quantidade considerável de crianças e jovens.

5. História da Candangolândia. Fonte: RA XIX – CANDANGOLÂNDIA - CODEPLAN. Disponível em: <https://www. codeplan.df.gov.br/wp-content/uploads/2018/02/Estudo-Urbano-Ambiental-Candangol%C3%A2ndia.pdf>

Fonte: Tibor Jablonsky, Arquivo Público
5

perfil socioeconômico

A população da Candangolândia tem uma incidência significativa com pessoas portadoras de alguma deficiência, principalmente visual, são mais de 20% da população com algum grau de dificuldade.

A população da Candangolândia é composta em sua maioria por mulheres. São elas também que compõe a maior parte das estruturas familiares da RA, pois integram as famílias com casais e também as de estrutura monoparental:

1. Monoparental (liderada por mulher) e casal com 2 filhos: 20,9%

52,2% mulheres 47,8% homens Dificuldade em enxergar Dificuldade em caminhar Dificuldade em ouvir 0 50 100

2. Casal com 1 filho: 19,8%

3. Casal sem filho: 13,8%

4. Outro perfil: 11,1%

5. Casal com 3 filhos ou mais: 7%

6. Unipessoal: 6,5%

O somatório de arranjos domiciliares com mães na sua composição chega a 82%.

Em relação à distribuição por cor da pele, 48,7% se considera parda 36,5% se considera branca 11,4% se considera preta

Sobre a origem dos moradores da Candangolândia, 56% são oriundos de outros estados, e 44% nasceram no Distrito Federal.

Nenhuma dificuldade Pouca dificuldade

Nenhuma dificuldade

Em relação à escolaridade, 95,3% da população da Candangolândia declarou saber ler e escrever. Já sobre aqueles entre 4 e 25 anos, mais da metade afirmou já ter acessado alguma instituição de ensino, os valores são algo em torno de: 56,2% acessam escola pública 19,4% acessam escola particular 23,3% não frequentam mais a escola

Destes, que ainda frequentam alguma escola, quase 56,3% estuda na prória RA, seguidos por Plano Piloto (26,5%) e Núcleo Bandeirante (7,9%).

O deslocamento desses estudantes é feito em sua maioria a pé (45,9%), seguido por automóvel e ônibus (26% cada). Apesar destes modais, o tempo de deslocamento é baixo, com 60,7% dos mesmos chegando nas suas escolas em até 15 minutos e 21,5% em até 30.

Sobre renda e emprego, podemos citar principalmente os dados sobre renda: 17,7% recebe até 1 salário mínimo 22,9% mais de 1 a 2 salários mínimos 31,6% mais de 2 a 5 salários mínimos 18,7% mais de 5 a 10 salários mínimos

A maior parte dessa população empregada está no setor de serviços (75,4%) e comércio (18,4%). Infelizmente o PDAD não fornece o cruzamento dos dados, não sendo possível saber qual a real condição das mulheres que lideram famílias sozinhas na Candangolândia.

Já sobre local de trabalho, 42,8% trabalha no Plano Piloto, 18,4% na própria RA e o restante divididos entre outras cidades do DF. O tempo de deslocamento dominante é de até 30 minutos (67,4%). O modal dominante é automóvel (46,5%), seguido de ônibus (38,7%) e a pé (16,3%), o que torna a proposta de um museu na cidade bastante acessível para a população.

25
Fonte: PDAD 2018

o museu vivo da memória candanga

Eram muitos os acidentes de trabalho e também os partos, que ficavam cada vez mais frequentes à medida do aumento de migrantes. Respondendo à essa demanda, o hospital foi criado em 6 de julho de 1957.

O restante das construções no terreno servia como habitação para os médicos e alguns trabalhadores pioneiros junto de suas famílias.

ram ao museu. As visitas tinham, majoritariamente, uma motivação educacional, onde alunos de colégios públicos e privados formam basicamente 80% do público visitante do espaço.

O Museu Vivo da Memória Candanga está localizado na poligonal da região administrativa do Núcleo Bandeirante, mas bastante próximo da região da Candangolândia.

O acesso ao museu se dá pela EPIA, e pode ser feito de transporte privado ou coletivo de maneira tranquila.

A história do museu se inicia logo nos primeiros anos de Brasília, quando os candangos já estavam fixados ou se fixando nas suas respectivas RA’s, tendo outra função originalmente, funcionando como um hospital.

O chamado Hospital Juscelino Kubitschek de Oliveira (HJKO), primeiro de Brasília, foi feito para atender a demanda já alta dos trabalhadores e habitantes da capital.

No ano de 1974 o Hospital foi desativado e os poucos moradores restantes saíram de suas casas, tornando aquele espaço e as construções em locais inabitados.

Foram anos de abandono até o local ser tombado, em 1985, começando ali o processo de restauro. Foram alguns anos até se transformar em museu aberto à visitação tendo seus edifícios transformados em relação ao uso.

Agora o espaço é composto por: biblioteca, espaços de exposição, administração, área para funcionários, estacionamento, auditório, guarita, pavilhões para exposição e oficinas.

Os dados sobre visitação do Museu foram retirados do trabalho de Tiago Vieira, que teve acesso às informações de 2014, mostrando que, naquele ano, 10.970 visitantes fo-

O acesso à equipamentos culturais é extremamente deficiente no DF, segundo o PDAD de 2013, 92,57% dos moradores não vão a museu., sendo esse um hábito mais predominante para os que vivem nas regiões mais abastadas, no Núcleo Bandeirante e Candangolândia o índice mal chega à 2%.

Quando esses dados se cruzam com as informações do PDOT de 2018, é possível entender porque Plano Piloto, Octogonal e Lagos somam mais usuários de equipamentos culturais: mais de 70% dos equipamentos do DF estão na região central de Brasília, sendo 84,85% dos Centros Culturais e 74,19% dos museus.

6. PAULA, Tiago Vieira de. O papel do Museu Vivo da Memória Candanga na formação da identidade local. 2017. 61 f., il. Trabalho de Conclusão de Curso (Bacharelado em Museologia)—Universidade de Brasília, Brasília, 2017 6
Fonte: acervo pessoal

O espaço está organizado de acordo com a setorização tradicional de museus: separando espaço administrativo e privado do espaço coletivo/visitação.

Logo na entrada você consegue ver as primeiras construções, onde eram as antigas casas dos candangos e profissionais, onde atualmente funcionam exposições e a administração.

Seguindo na via de entrada, é possível ver a edificação mais central, onde funciona a biblioteca, o auditório e algumas das exposições de maior porte.

Indo para a esquerda, atrás das antigas casinhas, está uma área restrita, somente para os funcionários do museu.

Segundo levantamento realizado pela empresa Sole Associados, escritório de Arquitetura que prestou serviços ao GDF em 2014, a área construída é de aproximadamente 3800m2. As edificações possuem desde 95 até 508m2.

acervo pessoal
Fonte:

Edifícios restauradosexposições e oficinas (99m2)

Poligona - MVMC Cobertura do Solo Área Construída Formação Campestre Formação Florestal Solo Exposto Rios e Córregos Lagos e Barragens 1 6 2 7 3 8 4 9 5 10 11 11 29 1.
2.
3.
4.
5.
6.
7.
8.
9.
10.
11.
.
Anexo
Auditório
Biblioteca
Exposição permanente (500m2)
Área para piquenique
Parque infantil
Estacionamento
Administração (99m2)
Área para funcionários (198m2)
Guarita
Acesso

Poligonal

MVMC
Formação
Rios e Córregos Lagos e Barragens
Poligonal -
Cobertura do Solo Área Construída Formação Campestre
Florestal Solo Exposto
- MVMC
Solo Área
Campestre Formação Florestal Solo
Rios e Córregos Lagos e Barragens
- MVMC Cobertura do Solo Área Construída Formação Campestre Formação Florestal Solo Exposto Rios e Córregos Lagos e Barragens Po gona - MVMC Cober ura do So o Á ea Cons ru da Fo mação Campestre Fo mação F oresta So o Exposto R os e Córregos Lagos e Bar agens
30
Cobertura do
Construída Formação
Exposto
Poligonal
mapa geral

análise do terreno

A maioria das edificações está implantada com fachadas viradas para direção nordeste, e a depender da estação do ano, ficam expostas ao sol durante todo o período diurno. Por se tratar de um terreno amplo e sem muitas construções vizinhas, a incidência solar é bastante intensa. Apesar disso, a grande presença de árvores dá ao espaço um clima mais ameno, influenciado também pela grande área com cobertura vegetal.

Em relação ao terreno em si, existe um desnível de aproximadamente 15m entre o começo e o fim do lote, sendo a parte mais baixa mais próxima da entrada (e via EPNB), e a parte mais alta próxima ao bosque do fundo.

Poligonal - MVMC

Cobertura do Solo Área Construída

Poligonal - MVMC

Cobertura do Solo Área Construída

Formação Campestre Formação Florestal Solo Exposto

Rios e Córregos Lagos e Barragens

Rios e Córregos Lagos e Barragens

Formação Campestre Formação Florestal Solo Exposto 31

zoneamento

Zoneamento do Distrito Federal

Macrozona de Proteção Integral

Zona de Contenção Urbana

Zona Rural de Uso Controlado

Zona Rural de Uso Diversificado

Zona Urbana Consol dada

Zona Urbana de Expansão e Qualificação

Zona Urbana de Uso Controlado I

Zona Urbana de Uso Controlado II

Zona Urbana do Conjunto Tombado

Os arredores do museu estão inseridos, de acordo com o PDOT, na Zona Urbana de Uso Controlado, Zona Urbana de Conjunto Tombado e Zona Urbana Consolidada.

Já o Museu Vivo da Memória Candanga está inserido na Zona Urbana Consolidada, explicada no PDOT como: ‘‘A Zona Urbana Consolidada compreende os núcleos urbanos implantados ou em processo de implantação, servidos de infraestrutura urbana e equipamentos comunitários, com média e baixa densidade populacional, e alguns enclaves de alta densidade, cuja ocupação urbana deve ser consolidada.

Esta zona engloba localidades integrantes da Zona Urbana de Dinamização e Zona Urbana de Consolidação do PDOT/1997, das quais foram destacadas apenas aquelas que não apresentam sobreposição com áreas definidas como de Proteção de Manancial e de Interesse Ambiental.’’

Po igona - MVMC
32

parâmetros construtivos

Por ausência de normativas dentro do PDOT, a consulta sobre os parâmetros foi feita pela LUOS. Segundo o mapa e as descrições, o atual terreno do MVMC (Museu Vivo da Memória Candanga) tem as seguintes normativas: ‘‘A UOS Inst caracteriza-se por lotes que abrigam atividades de natureza institucional, públicas ou privadas, conforme discriminado na Tabela de Atividades.’’

Área superior à: 10000m2

Coeficiente básico e máximo de ocupação: 1,5 Taxa de ocupação: 60% Taxa de permeabilidade mínima: 30% Altura máxima: 12m Marquise: proibida Cota de soleira: ponto médio da edificação Subsolo: permitido tipo 2*

*todos os parâmetros definidos para o lote deverão ser respeitados, com exceção dos afastamentos mínimos obrigatórios e da taxa de ocupação. Tal ocupação será permitida apenas nos trechos de subsolo situados abaixo do perfil natural do terreno a fim de se evitar impactos na paisagem urbana e nos lotes vizinhos’’

33
Fonte: LUOS

Fonte: LUOS

34

equipamentos públicos

Equipamentos

Escolas

Equipamentos de Segurança

Equipamentos de Saúde

Equipamentos

Pol gonal - MVMC

Tanto a Candangolândia quanto o Núcleo Bandeirante possuem equipamentos culturais, mas somente um Museu, o Museu Vivo da Memória Candanga.

Dentro da área vista no recorte, são pouquíssimos os espaços comunitários, principalmente para a RA Núcleo Bandeirante, demonstrando a necessidade de mais espaços coletivos e sociais.

Zona Rural de Uso Contro ado

Mobiliário Esporte e Lazer

Zona Urbana de Uso Contro ado I

Escolas

Zoneamento do D strito Federal

Zona Rural de Uso D versificado

Espaços Culturais

Zona Urbana de Uso Contro ado II

Equipamentos de Segurança

Macrozona de Proteção Integra

Zona de Contenção Urbana

Equipamentos de Saúde

Mobiliár o Esporte e Lazer

Espaços Culturais

Feiras Livres

Espaços comunitários

Zona Urbana Consolidada

Zona Urbana do Conjunto Tombado

Feiras Livres Espaços comunitários Candangolând a Rios e Córregos

Zona Urbana de Expansão e Qualificação

35

sistema viário

O Museu Vivo da Memória Candanga está localizado entre o Bandeirante e a Candangolândia. Para acessar o Museu vindo da região Sul ou Norte, o melhor acesso é pela Candangolândia, que está localizada logo na lateral da EPIA, uma das principais vias do DF.

Do Núcleo Bandeirante, o acesso é feito pela EPNB, mas também conectado à EPIA. Logo, o Museu é acessado por essas duas vias: EPIA e EPNB.

Zona de Contenção Urbana

na Rura de Uso Controlado

na Rura de Uso Diversificado

na Urbana Consol dada

Zona Urbana de Expansão e Qua ificação

Zona Urbana de Uso Controlado I

Zona Urbana de Uso Controlado II

Zona Urbana do Conjunto Tombado Zo

Zona de Contenção Urbana

so Contro ado

so Divers ficado

nsol dada

Zona Urbana de Expansão e Qua if cação

Zona Urbana de Uso Contro ado I

Zona Urbana de Uso Contro ado II

Zona Urbana do Conjunto Tombado

36

ambiental

O MVMC não possui, em seu terreno, nenhum corpo d’água, mas tem formação campestre e florestal. A formação campestre diz respeito às áreas com cobertura de grama principalmente, formação predominante dentro do terreno. Já a formação florestal está concentrada em algumas partes do espaço. Não há restrição ambiental relativa à essas formações, mas o projeto tentará ao máximo não afetar ou derrubar as árvores do lote.

Área
Poligonal - MVMC Cobertura do Solo
Constru da Formação Campestre Formação F orestal So o Exposto
37
Rios e Córregos Lagos e Barragens

como chegar no museu

Para facilitar a chegada ao museu, foi elaborado um pequeno guia com algumas centralidades do DF sendo consideradas como ponto de partida: Rodoviária de Sobradinho, Rodoviária do Plano Piloto, Terminal Park Way (BRT), Praça do Relógio, Aeroporto de Brasília, Balão do Recanto das Emas

transporte público aplicativos

- Para quem vem de metrô: descer na estação Park Shopping, pegar qualquer ônibus com destino à EPNB e solicitar parada para o Museu Vivo da Memória Candanga ex.: ônibus para Recanto das Emas, Samambaia, Riacho Fundo, Núcleo Bandeirante

- Para quem vem da região Sul (Gama, Santa Maria): pegar um BRT até o Terminal Park Way, de lá, pegar qualquer ônibus sentido norte e solicitar parada na primeira Passarela da Candangolândia. Caminhar até o museu, aproximadamente 5min. obs.: o projeto do BRT (Norte e Sul) possui estações previstas para a Candangolândia, na via EPIA. Futuramente, não haverá necessidade de fazer integração com outro ônibus.

- Para quem vem da região Norte (Planaltina, Fercal, Sobradinho): se dirigir até a Rodoviária do Plano Piloto, W3 ou L2 norte, de lá, pegar qualquer ônibus com destino à EPNB e solicitar parada para o Museu Vivo da Memória Candanga ex.: ônibus para Recanto das Emas, Samambaia, Riacho Fundo, Núcleo Bandeirante

- Para quem vem da região Leste (Jardim Botânico, São Sebastião): se dirigir até a Rodoviária do Plano Piloto, W3 ou L2, de lá, pegar qualquer ônibus com destino à EPNB e solicitar parada para o Museu Vivo da Memória Candanga ex.: ônibus para Recanto das Emas, Samambaia, Riacho Fundo, Núcleo Bandeirante

- Da Rodoviária de Sobradinho: entre 42 e 80 reais

- Da Rodoviária do Plano Piloto: entre 25 e 50 reais

- Do BRT Park Way: entre 12 e 25 reais

- Da Praça do Relógio (Taguatinga): entre 40 e 80 reais

- Do Aeroporto de Brasília: entre 25 e 50 reais

- Da Rodoviária Interestadual: entre 12 e 30 reais

- Do Balão do Recanto das Emas: entre 30 e 70 reais

- Para quem vem da região Oeste (Taguatinga, Ceilândia, Samambaia): pegar qualquer ônibus com direção à EPNB e solicitar parada para o Museu Vivo da Memória Candanga ex.: ônibus para Rodoviária do Plano, SIA, W3 sul/norte, L2 sul/norte, Candangolândia.

- Pra quem vem da região mais próxima (Riacho Fundo, Bandeirante, Samambaia, Candangolândia): pegar qualquer ônibus com direção à EPNB e solicitar parada para o Museu Vivo da Memória Candanga ex.: ônibus para Rodoviária do Plano, SIA, W3 sul/norte, L2 sul/norte, Candangolândia.

Custos para deslocamento:

1 ônibus ou 1 metrô: de R$2,75 a R$5,50

1 ônibus + 1 metrô: de R$5,50 a R$11,00 com integração: R$5,50

- Da Universidade de Brasília: entre 40 e 70 reais

carro particular

- Da Rodoviária de Sobradinho: 33km

- Da Rodoviária do Plano Piloto: 14km

- Do BRT Park Way: 6km

- Da Praça do Relógio (Taguatinga): 20km

- Do Aeroporto de Brasília: 12,5km

- Da Rodoviária Interestadual: 6km - Do Balão do Recanto das Emas: 20km

- Da Universidade de Brasília: 20km

38

MVMC

Rodoviária de Sobradinho Univer. de Brasília Rodoviária do Plano Rodoviária Interestadual Aeroporto de Brasília Estação BRT Park Way Balão Recanto Praça do Relógio

o projeto

Fonte: Acervo Tânia Fontenele

o projeto

Neste ponto os espaços, as funções e objetivos específicos do museu começarão a ser melhor explicados.

Para a execução desse capítulo, foram usados textos do campo de museologia e manuais para produção de planos museológicos. Por não ser o objetivo, não foi executado um plano museológico em si, mas retiradas de lá questões importantes para embasamento do projeto.

Após as leituras, foi possível compreender que fazer perguntas é essencial para conseguir estruturar um museu, e é com elas que comecarei.

41

quem é o público do museu?

A primeira pergunta a ser respondida é sobre o público, quem e quantas pessoas eu quero impactar. O objetivo de longo prazo é abarcar toda a população, principalmente do Distrito Federal, mas é necessário entender e definir um público alvo pra melhor organização do espaço, do funcionamento, das exposições, etc. Logo, os principais públicos alvos seriam:

1. mulheres (de todas as faixas etárias);

2. estudantes de colégios públicos e particulares;

3. pesquisadoras e militantes; 4. mães e crianças; 5. artistas.

As mulheres, de modo geral, são incluídas no público alvo pois o espaço deve servir para trazer mais significado à atuação das mesmas na história de Brasília e do DF, logo, atuando na representatividade enquanto grupo social para as mesmas.

Os estudantes são colocados como público alvo pois o espaço tratará da história da cidade onde eles vivem, sendo altamente relevante para discussões, aprendizado e formação de uma noção histórica mais rica. A partir da divulgação natural que as crianças e jovens fazem, o público do museu pode, potencialmente, aumentar de maneira mais orgânica.

As pesquisadoras e militantes de Brasília formam também o público alvo pois o espaço visa manter o conhecimento circular e em constante crescimento, servindo como local de apoio para suas pesquisas e movimentos.

Já as mães são inseridas propositalmente, pois o espaço deve servir e dar suporte para que elas, um dos grupos mais esquecidos dentro do planejamento, possam ter acesso à cultura e lazer sem preocupações com seus filhos.

42

que atividades serão desenvolvidas?

Após definir quem são as pessoas e grupos que formam o público de interesse, as perguntas feitas envolvem as atividades realizadas no espaço do museu. O que será feito lá dentro para atrair esses grupos?

É importante dizer que, mesmo que as atividades estejam explicadas de acordo com os grupos específicos, não impede que os outros façam parte das dinâmicas e afins, considerando também que mulheres podem ser artistas, mães e estudantes ao mesmo tempo. Não é exclusividade, apenas uma proposta para a ocupação.

Primeiramente: as mulheres. Por se tratar de um grupo muito amplo, existe uma dificuldade em criar atividades que contemplem todas. Ainda assim: que sejam realizadas exposições sobre a temática de classe, de gênero e afins, que existam discussões com essas mulheres, e também que sirva como local de escuta pras histórias pessoais ou não das mesmas.

Os estudantes também são um grupo amplo, principalmente quando se trata de faixa etária, mas as iniciativas podem englobar uma grande quantidade de alunos da mesma maneira. Uma das propostas é que existam exposições guiadas, feitas em parceria com as respectivas escolas, outra ideia é servir como local de pesquisa e estudo para os mesmos.

As pesquisadoras e militantes podem utilizar o espaço como local para discussões, atos e reuniões dos seus grupos. Além dessas atividades, podem realizar exposições e fazer dinâmicas com o público do museu. É possível usarem também para pesquisa e estudo.

Já as mães necessitam de um espaço de apoio para poderem usufruir e participar das dinâmicas com seus filhos ou sem eles, pois a muitas se é negado acesso à qualquer outra função além de mãe.

Como mães visitantes, é importante pensar em espaços adequados para os filhos, podendo participar das ações educativas ou ficar num ambiente destinado para elas e supervisionado por uma equipe competente. No caso de crianças mais velhas, há a possibilidade de participarem das atividades estudantis para grupos ou afins.

As artistas poderão expor e produzir dentro do espaço, participando ou criando as dinâmicas com os outros grupos, pois por vezes também serão parte dele.

No fim das contas, é respondendo à pergunta: por quem estamos aqui? Que o museu deve funcionar. É pelas mulheres e sua história, pela sua presença e reconhecimento.

43

traduzindo para o espaço

No final de 2020, o Instituto Brasileiro de Museus, através do Ministério do Turismo, lançou um Guia para projetos de Arquitetura de Museus, nele, estão descritas algumas normas e indicações sobre os espaços museológicos.

A maior parte do documento diz respeito à legislação para apresentação de projeto, não sobre o processo de elaboração em si. Ainda assim, se fez bastante útil, pois nele constam informações como:

‘‘A arquitetura de museus consiste na sistematização do conjunto de necessidades funcionais e sociais de um museu no espaço, prevendo-se, no mínimo, os trabalhos relacionados à conservação, pesquisa, educação e comunicação.’’

São expostos durante o documento vários pontos relevantes para justificar o projeto:

1. Considerar o clima e o microclima da área de influência do Museu, assim como a população e a região a serem beneficiadas, com vistas a proporcionar conforto térmico, acústico e luminoso aos usuários da edificação;

2. Adotar, quando possível, estratégias de sustentabilidade ambiental aplicada às edificações, como o aproveitamento de água de chuvas, o reuso de águas cinzas (provenientes de chuveiros, pias e lavatório de banheiro), o tratamento local de águas negras (provenientes do vaso sanitário e das pias de cozinha), o paisagismo produtivo com utilização de espécies nativas, o uso de fontes alternativas de energia, a coleta seletiva de lixo, a compostagem de resíduos orgânicos;

Além do Guia, um outro material de auxílio muito importante é o livro: Princípios básicos de Museologia, elaborado pela Secretaria de Cultura de Curitiba, onde constam algumas descrições e explicações sobre o espaço museológico.

Apesar de ser um material bastante técnico sobre funcionamento do museu, eles trazem espaços básicos de museus de pequeno e grande porte. Através disso, da leitura do Guia e da explicação dos espaços e atividades desejados, foi possível chegar em um mínimo de organização espacial, que será melhor detalhado no programa de necessidades.

44

Fonte: Princípios básicos de Museologia

Fonte: Princípios básicos de Museologia

A listagem básica, através das leituras e descrição de atividades, fica da seguinte forma: 1. recepção; 2. salas de exposição fixas; 3. salas de exposição temporárias; 4. biblioteca; 5. sala de reuniões/discussões; 6. ateliê; 7. brinquedoteca; 8. fraldário; 9. banheiro; 10. área técnica; 11. copa; 12. administração.

Vale ressaltar que há possibildade de aumentar a oferta de atividades e espaços durante o processo projetual. De acordo com as fontes, o museu se enquadraria em um museu de porte intermediário, pois não tem objetivo de ter tantos setores quanto o de grande porte, mas tem alguns locais além do de médio porte.

45

esquema de usos

entrada/recepção

banheiros

área técnica brinquedoteca bistrô

diretoria/secretarias copa laboratório de artes loja do museu

ateliê espaços de exposição biblioteca estúdio de oralidade banheiros acesso público

administração fraldário acesso privado

almoxarifado sala de segurança reserva técnica

46

dimensionamento

Através das leituras e referências, foi elaborado, com medidas básicas, um pré-dimensionamento para o projeto.

Após o desenvolvimento, as seguintes metragens foram atingidas:

espaço privado entrada/recepção 6 administração 20 diretoria 6 secretaria 12 banheiros 12 copa 6 almoxarifado 4 sala de segurança 9 reserva técnica 15 170 m2

m2 área p/ quarentena 55 loja do museu fraldário 12 15

espaço coletivo salas de exposição permanente 30 salas de exposição temporária 20 ateliê 12 biblioteca 80 laboratório 6 sala de discussão 12 banheiros 28 brinquedoteca 15 lanchonete 2,25 232 m2

m2

47

caderno de desenhos e representação

conceito

Através das leituras, discussões e afins, o entendimento desse espaço ficou cada vez mais claro, as ideias que queriam ser passadas estavam mais explícitas, e a partir disso, foi possível chegar nos conceitos de: avanço e perspectiva.

pers.pec.ti.va

perspectiva avanço

a.van.ço

1. movimento para diante

2. distância que se avançou

1. arte de representar os objetos tais como se apresentam à vista, conforme a sua posição e distância

2. desenho ou pintura com essa representação

3. aspeto de um objeto ou conjunto de objetos em função do lugar de onde é observado (ponto de vista)

4. (figurado) esperança ou receio de uma coisa provável

5. (figurado) aparência

6. (figurado) ponto de vista

Foi com as histórias das primeiras migrantes em Brasília que esse trabalho ganhou mais combustível, e uma boa representação da vivência das mesmas é a palavra percurso. Com esse conceito, a ideia é destacar possíveis caminhos ao longo da intervenção projetual, seja na edificação ou implantação.

percursos

3. desenvolvimento; melhoria; progresso per.cur.so

1. ato ou efeito de percorrer 2. espaço percorrido

3. trajeto; roteiro; caminho

A palavra avanço é utilizada como conceito por remeter ao campo material, histórico e linguístico. Ter um museu da mulher em brasília é um avanço social, a inserção de mulheres nos espaços e políticas é avanço. A ideia, se tratando do projeto, é permitir, através dos percursos, de formas e volumetria, que os avanços sejam perceptíveis.

Como o projeto tem por objetivo inserir mulheres artistas, mães, pesquisadoras, e trabalhadoras, a perspectiva se dá também através do discurso e da materialidade. São diversas maneiras de enxergar a realidade onde estamos inseridas, tanto pelas experiências pessoais quanto pelas formas que a sociedade nos enquadra. Dentro do projeto, as vistas são fator essencial para a percepção das perspectivas.

50

perspectivas

51

implantação

Na implantação, foram feitas alterações nas vias existentes do MVMC para privilegiar os pedestres, que acessam com dificuldade os espaços do Museu.

A primeira alteração foi a entrada, realocada para a via lateral com o objetivo de criar uma zona na escala do pedestre. Essa é a segunda alteração, a fachada virada para a EPNB é transformada em entrada somente para pedestres, usuários de transporte público e/ou ciclistas.

O uso de árvores, diferentes tipos de pavimentação e criação de caminhos foram usados como estratégia de conforto. Aos fundos da nova edificação, foi inserida uma via de uso restrito, para serviços relacionados ao museu.

Ao longo do terreno, foram inseridos alguns equipamentos como: quadra esportiva, parquinho, pergolados e mobiliário urbano, promovendo maior ocupação e caminhabilidade para o espaço

52
PRODUCED BY AN AUTODESK STUDENT VERSION PRODUCED BY AN AUTODESK STUDENT VERSION PRODUCED BY AN AUTODESK STUDENT VERSION 1 2 3 4 4 6 7 5 53 planta implantaçãobaixa 1. Entrada Setor JK 2. Quadra 3. Estacionamento 4. Museu existente 5. Acesso carros 6. Acesso pedestres 7. Pergolados Escala 1:2500

A organização do museu foi feita através da utilização de três volumes. Dois deles ficam na parte frontal do projeto e são mais horizontais, a terceira construção mantém a horizontalidade, mas ganhando também um sentido vertical. Os volumes da frente são compostos somente de térreo, o volume posterior possui 4 níveis.

axonométrica

níveis e usos

54
55
Corte 2
2 01
03 04 05
07
11 12 13 14 15 16 21
PROJETO l PRANCHA: TÍTULO: Museu da Mulher 01 Subsolo 0 10 2 5 metros 1 3 4
01 02 03 04 05 06 07 08 09 10 12 13 14 15 1 2 3 4 5 7 8 8 11 10 9 9 14 14 15 16 6 12 13 56 planta baixa subsolo 1. Laboratório de artes 2. Copa 3. Secretaria 4. Direção 5. Jardim de inverno 6. Recepção 7. Biblioteca 8. Banheiro 9. Banheiro PNE 10. Elevadores 11. Equipamentos 12. Sala Segurança 13. Reserva técnica 14. Vestiário 15 Depósito limpeza 16. Depósito arte
Elevação 1 -a
Corte
02
06
08 09 10
(45,59 m²) Banheiro 1. Subsolo (45,59 m²) Banheiro 2. Subsolo (45,59 m²) Reserva Técnica (190,91 m²) Biblioteca Subsolo (22,09 m²) Sala Seg. (22,09 m²) Área Técnica (69,09 m²) Lab. de Artes (27,73 m²) Secretaria (45,59 m²) Vestiário 1 (22,09 m²) Depósito (29,59 m²) Copa (45,59 m²) Vestiário 2
?
Elevação 1 ? 08 09 10 12 13 14 15 Corte 1 Corte 2 Corte 3 Corte 5 4 5 7 1 1 1 8 1 10 10 2 2 3 9 2 6 11 12 58

Lab. de Artes (27,73 m²)

(69,09 m²)

Banheiro 1. Subsolo (45,59 m²)

Área Técnica

Sala Seg. (22,09 m²)

Banheiro 2. Subsolo (45,59 m²)

Reserva Técnica

Secretaria (45,59 m²)

(29,59 m²)

Biblioteca Subsolo (22,09 m²)

planta baixa térreo 1. Banheiro 2. Banheiro PNE 3. Elevadores 4. Fraldário/infantil

0 10 2 5 metros

(190,91 m²)

Depósito

5. Contador de memórias 6. Loja do Museu 7. Cozinha 8. Bistrô

9. Espaço dos Coletivos 10. Espaço expositivo

1 3 4 59

Copa (45,59 m²) PROJETO l TÍTULO:

Vestiário 2 Museu da Mulher em Subsolo

Corte 2
Elevação 1 -a
Corte 2 01 02 03 04 05 06 07 08 09 10 11 12 13 14 15 16 21 (45,59 m²)
Vestiário 1 (22,09 m²)

perspectivas internas

60
61
Abaixo ? 08 09 10 12 13 14 15 Elevação 2 -a 62
Corte 2 Corte 2 01 02 03 04 05 06 07 08 09 10 11 12
14 15 16 21
PROJETO l TÍTULO: Museu da Mulher em Subsolo 0 10 2 5 metros 1 3 4 63 planta baixa 1o pavimento 1. Banheiro 2. Banheiro PNE 3. Elevadores 4. Fraldário/infantil 5. Acessos 6. Espaço expositivo 7. Varanda
Elevação 1 -a
13
(45,59 m²) Banheiro 1. Subsolo (45,59 m²) Banheiro 2. Subsolo (45,59 m²) Reserva Técnica (190,91 m²) Biblioteca Subsolo (22,09 m²) Sala Seg. (22,09 m²) Área Técnica (69,09 m²) Lab. de Artes (27,73 m²) Secretaria (45,59 m²) Vestiário 1 (22,09 m²) Depósito (29,59 m²) Copa (45,59 m²) Vestiário 2

perspectivas internas

64
65
? 08 09 10 12 13 14 15 Elevação 4 -a Elevação 4 -a1
Elevação 4 -a3 Copiar 1 4 5 7 8 9 6 11 10 1 1 12 13 3 2 66
Elevação 4 -a2
Elevação 1 -a Corte 2 Corte 2 01 02 03 04 05 06 07 08 09 10 11 12 13 14 15 16 21 (45,59 m²) Banheiro 1. Subsolo (45,59 m²) Banheiro 2. Subsolo (45,59 m²) Reserva Técnica (190,91 m²) Biblioteca Subsolo (22,09 m²) Sala Seg. (22,09 m²) Área Técnica (69,09 m²) Lab. de Artes (27,73 m²) Secretaria (45,59 m²) Vestiário 1 (22,09 m²) Depósito (29,59 m²) Copa (45,59 m²) Vestiário 2 PROJETO l PRANCHA: TÍTULO: Museu da Mulher em 01 Subsolo 0 10 2 5 metros 1 3 4 planta baixa 2o pavimento 1. Banheiro 2. Banheiro PNE 3. Elevadores 4. Fraldário/infantil 5. Brinquedoteca 6. Ateliê 7. Acesso 8. Ateliê 9. Área expositiva 10. Área externa 1.1 Varanda 12. Área de limpeza 13. Armazenamento

perspectivas internas

68
? 08 09 10 12 13 14 15 Elevação
Corte 5 Corte 5 4 5 7 8 9 6 11 10 1 1 2 3 2 70
2 -a

Lab. de Artes (27,73 m²)

(69,09 m²)

Banheiro 1. Subsolo (45,59 m²)

Área Técnica

m²)

Sala Seg. (22,09 m²)

Banheiro 2. Subsolo (45,59 m²)

Reserva Técnica

Secretaria (45,59 m²)

(29,59 m²)

Biblioteca Subsolo (22,09 m²)

0 10 2 5 metros

Elevação 1 -a

planta baixa 3o pavimento 1. Banheiro 2. Banheiro PNE 3. Elevadores 4. Fraldário/infantil

5. Brinquedoteca 6. Ateliê 7. Acesso 8. Ateliê

(190,91 m²)

Depósito

9. Área expositiva 10. Área externa 1.1 Varanda

1 3 4 71

Vestiário 2 TÍTULO:

Copa (45,59 m²) PROJETO l PRANCHA:

Museu da Mulher 01 Subsolo

Corte 2
Corte 2 01 02 03 04 05 06 07 08 09 10 11 12 13 14 15 16 21 (45,59
Vestiário 1 (22,09 m²)

perspectivas internas

72
73
Corte 2 Biblioteca Subsolo Sala Seg. Lab. de Artes Secretaria Museu 03. 1 Pavimento 4,50 04. 2 Pavimento 9,00 01. Subsolo -4,50 02. Térreo 0,10 05. 3 Pavimento 13,50 08 09 10 12 13 14 15 06. Cobertura 18,00 PROJETO l TÍTULO: Cortes 1 : 200 Corte 1 1 74 corte corte 1

corte

(45,59 m²)

Banheiro 1. Subsolo (45,59 m²)

06. Cobertura 18,00

(22,09 m²)

Reserva Técnica

Banheiro 2. Subsolo (45,59 m²)

Elevação 1 -a

03. 1 Pavimento 4,50 04. 2 Pavimento 9,00 01. Subsolo -4,50 02. Térreo 0,10 05. 3 Pavimento 13,50 corte 2

Lab. de Artes Corte 2 1 75

09
PROJETO
08 09 10 12 13 14 15
Sala Seg. PROJETO l TÍTULO: 08 Corte 02
(69,09 m²) 1 : 200
Corte 2 06
Biblioteca Subsolo
Museu 01 Subsolo 03. 1 Pavimento 4,50 04. 2 Pavimento 9,00 01. Subsolo -4,50 02.
05. 3 Pavimento 13,50 01 02 03 04 05 06 07 06.
18,00 PROJETO l PRANCHA: TÍTULO: 09 Corte 03 76 corte corte 3
Banheiro 1. Subsolo Banheiro 2. Subsolo Reserva Técnica
(22,09 m²) Sala Seg. (69,09 m²) Lab. de Artes
Térreo 0,10
Cobertura
Corte 2 01 02 03 04 05 06 07 08 09 10 11
Reserva Técnica Área Técnica
(45,59 m²) Banheiro 1. Subsolo (45,59 m²) Banheiro 2. Subsolo (45,59 m²)
(45,59 m²) Vestiário 1 (22,09 m²) Depósito (29,59 m²) Copa
PROJETO l TÍTULO: Corte 4 0 10 2 5 metros 1 3 4 77 corte corte 4
PROJETO PRANCHA: TÍTULO: REVISÃO: 03. 1 Pavimento 4,50 04. 2 Pavimento 9,00 01. Subsolo -4,50 02. Térreo 0,10 05. 3 Pavimento 13,50 06. Cobertura 18,00
78

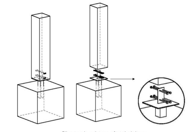
estrutura

Foram escolhidos dois diferentes sistemas para o edifício, o convencional concreto armado na parte esquerda, e madeira tipo CLT no restante.

Além da madeira CLT, a complementação do sistema é feita com paineis de NLT, um tipo de estrutura utilizada principalmente em lajes e painéis de madeira com capacidade de vencer grandes vãos.

Na maioria do edifício foi escolhido um sistema que muito se assemelha à laje nervurada, onde os barrotes e vigas principais formam uma malha estrutural com função também estética. Os pilares se encaixam nessa laje através de conexões metálicas, e estão distrubuídos a cada 10 ou 20m.

79
03. 1 Pavimento 4,50 04. 2 Pavimento 9,00 02. Térreo 0,10 05. 3 Pavimento 13,50 06. Cobertura 18,00 Copiar 1 fachada sul
03. 1
4,50 04. 2
9,00 02.
0,10 05. 3
13,50 06.
18,00 06.
fachada sul
Pavimento
Pavimento
Térreo
Pavimento
Cobertura
Cobertura

06. Cobertura 18,00 82 fachada norte

06. Cobertura 18,00 03. 1 Pavimento 4,50 PRANCHA:

05. 3 Pavimento 13,50 12

PROJETO l

TÍTULO:

04. 2 Pavimento 9,00 02. Térreo 0,10 REVISÃO:

Não nomeada

03. 1 Pavimento 4,50
04. 2 Pavimento 9,00 02. Térreo 0,10
05. 3 Pavimento 13,50
03. 1 Pavimento 4,50 04. 2 Pavimento 9,00 02. Térreo 0,10 05. 3 Pavimento 13,50 06. Cobertura 18,00 83 fachada oeste

perspectivas externas

84

sugestão de curadoria instituto proeza nirvana santos

Durante a execução do trabalho, algumas mulheres artistas foram encontradas, pesquisadas ou contribuíram com este trabalho.

Através dessas pesquisas, pensei em sugerir alguns nomes de artistas brasilienses para compor as exposições do museu da mulher em brasília.

artista plástica, tatuadora e arquiteta possui trabalhos de ilustração, grafite e tela

instituto no recanto das emas onde mulheres produzem peças de roupa e arte através do crochê

86

arielle martins clarice gonçalves anaeli xavier (bruta)

ilustradora trabalha principalmente com arte digital

artista plástica e mãe produção de telas e pinturas

artista plástica, ilustradora. trabalha com arte digital, telas e ilustração

87
88
89

referências bibliográficas

INSTITUTO BRASILEIRO DE MUSEUS. Subsídios para a elaboração de planos museológicos. Brasília: Ibram, 2016. 113 p.

INSTITUTO BRASILEIRO DE MUSEUS, Guia para projetos de Arquitetura de Museus. Coordenação de Espaços Museais e Arquitetura, Brasília: Ibram, 2020. 48p. UNESCO, Como gerir um museu: Manual Prático. Paris: ICOM, 2005. 259p. PDAD 2013 – Pesquisa Distrital por Amostragem de Domicílios, SEPLAN/DF. Brasília, 2013.

PDAD 2018 – Pesquisa Distrital por Amostragem de Domicílios, SEPLAN/DF. Brasília, 2018.

PDOT - Pesquisa Distrital por Amostragem de Domicílios, SEPLAN/DF. Brasília, 2013. GOVERNO DO DISTRITO FEDERAL.. Plano Diretor de Ordenamento Territorial Urbano do Distrito Federal – PDOT. Brasília: Codeplan, 2018 KIEFER, F. Arquitetura de Museus. Revista ARQTEXTO, Porto Alegre 1 (ISSN 1518238X), 12-25.

SECRETARIA DE ESTADO DA CULTURA. Princípios básicos da museologia / Evanise Pascoa Costa. Curitiba: Coordenação do Sistema Estadual de Museus, 2006. 100p. Museo de la mujer, Argentina, 2022. Disponível em: <www.museodelamujer.org.ar>. Museo de la mujer, Argentina. Disponível em: <http://cdmxtravel.com/es/lugares/ el-necesario-museo-de-la-mujer-de-la-cdmx.html>

Museo de la mujer, México. Disponível em: <https://www.elespectador.com/cromos/ vida-social/mexico-abre-primer-museo-de-la-mujer/>

Bonn Museum, Alemanha. Disponível em: <https://stringfixer.com/pt/Bonn_Women%27s_Museum>

Bonn Museum, Alemanha. Disponível em: <https://www.dw.com/pt-br/museu-em-bonn-exp%C3%B5e-arte-exclusivamente-feminina/a-4678940>

Bonn Museum, Alemanha. Disponível em: <https://www.wikiwand.com/en/Bonn_Women%27s_Museum>

Musée de la femme Henriette-Bathily, Senegal. Disponível em: < https://www.au-senegal.com/musee-de-la-femme-henriette-bathily,2775.html?lang=fr>

Musée de la femme Henriette-Bathily, Senegal. Disponível em: <https://mafheb. com/>

O acampamento da Candangolândia. Disponível em: <https://www.correiobraziliense.com.br/app/noticia/cidades/2016/11/03/interna_cidadesdf,555784/nascida-de-um-acampamento-candangolandia-completa-60-anos.shtml>

Ocupações Pioneiras. Disponível em: <https://www.agenciabrasilia.df.gov. br/2019/10/24/nascidas-com-brasilia-as-ocupacoes-pioneiras/>

A história da Cidade Livre. Disponíel em: <https://www.correiobraziliense.com.br/ app/noticia/cidades/2020/03/01/interna_cidadesdf,831266/conheca-a-historia-da-cidade-livre-primeiro-desenho-de-seria-brasilia.shtml>

BRT Sul na Candangolândia. Disponível em: <https://www.canaldfnoticias.com.br/noticia/no-df-o-abandono-da-estacao-do-brt-sul-na-candangolandia-esqueleto-esta-em-ruinas>

90

De mãe

O cuidado de minha poesia aprendi foi de mãe, mulher de pôr reparo nas coisas, e de assuntar a vida.

A brandura de minha fala na violência de meus ditos ganhei de mãe, mulher prenhe de dizeres, fecundados na boca do mundo.

Foi de mãe todo o meu tesouro veio dela todo o meu ganho mulher sapiência, yabá, do fogo tirava água do pranto criava consolo. Foi de mãe esse meio riso dado para esconder alegria inteira e essa fé desconfiada, pois, quando se anda descalço cada dedo olha a estrada.

Foi mãe que me descegou para os cantos milagreiros da vida apontando-me o fogo disfarçado em cinzas e a agulha do tempo movendo no palheiro.

Foi mãe que me fez sentir as flores amassadas debaixo das pedras; os corpos vazios rente às calçadas e me ensinou, insisto, foi ela, a fazer da palavra artifício arte e ofício do meu canto da minha fala.

Conceição Evaristo

muito obrigada!

91

Turn static files into dynamic content formats.

Create a flipbook
Issuu converts static files into: digital portfolios, online yearbooks, online catalogs, digital photo albums and more. Sign up and create your flipbook.