Plaatsingsinstructies / installation instructions / instructions d'installation

Page 1


PLAATSINGSINSTRUCTIES

INSTALLATION INSTRUCTIONS

INSTRUCTIONS D’INSTALLATION

A. VOUWGORDIJNEN

ROMAN SHADES

STORES BATEAUX

B. PANEELGORDIJNEN

WINDOW PANELS

PANNEAUX JAPONAIS

C. ROLGORDIJNEN

ROLLER SHADES

STORES ENROULEURS

D. HOUTEN JALOEZIEËN

WOOD BLINDS

STORES BOIS

A. VOUWGORDIJNEN

ROMAN SHADES - STORES BATEAUX

Vouwgordijnen

Stores bateau I Roman blinds I Faltstore

INSTALLATION ROMAN SHADES

INSTALLATION DES STORES BATEAUX

Plaatsing vouwgordijnen

Plaatsing vouwgordijnen

Plaatsing vouwgordijnen

1. Benodigdheden

Installation des stores bateau /

Installation des stores bateau / Installation

Installation des stores bateau / Installation

1. Benodigdheden I Matériel nécessaire I Requirements I Benötigt

1. Benodigdheden I Matériel nécessaire I Requirements I Benötigt

1. Benodigdheden I Matériel nécessaire I Requirements I Benötigt

Requirements

Matériel nécessaire

Steunen Brackets Supports

Steuntjes Supports Brackets Klammen

Steuntjes Supports Brackets Klammen

Klammen

Vijzen

Screws Vis

Vijsjes Vis Screws

Schrauben

Breedte cm

Breedte cm

Breedte cm

Largeur cm

Largeur cm

Largeur cm

Width cm

Width cm

Schroevendraaier

Schroevendraaier

Screwdriver

Tournevis

Screwdriver

Tournevis

Schraubenzieher

Breedte inch Aantal steunen

Breedte inch Aantal steunen

Breedte inch Aantal steunen

Largeur inch Nombre de supports

Largeur

Largeur inch Nombre de supports

Width inches

Width inches

inch

of brackets

des stores bateau / Installation instructions Roman blinds / Montageanleitung Faltstore

2. Noodzakelijke ruimte voor plaatsing

Space requirements for installation

2. Noodzakelijke

Espace nécessaire à l’installation

ruimte voor plaatsing

Espace nécessaire à l’installation

Space requirements for installation

Zur Montage benötigter Raum

Minimale noodzakelijke ruimte:

• Finesse / X3-X5: 6 cm (2,4”)

• Batterij CT32: 7 cm (2,8”)

• Maxi / Maxi XXL: 9 cm (3,6”)

Minimale noodzakelijke ruimte:

• Finesse / X3-X5: 6 cm (2,4”)

Espace minimum nécessaire:

• Batterij CT32: 7 cm (2,8”)

• Maxi / Maxi XXL: 9 cm (3,6”)

• Finesse / X3-X5: 6 cm (2,4”)

• Système avec batterie CT32: 7 cm (2,8”)

• Maxi / Maxi XXL: 9 cm (3,6”)

Minimum space required:

• Finesse / X3-X5: 6 cm (2.4”)

Minimum space required:

• Battery CT32: 7 cm (2.8”)

• Maxi / Maxi XXL: 9 cm (3.6”)

• Finesse / X3-X5: 6 cm (2.4”)

• Battery CT32: 7 cm (2.8”)

Espace minimum nécessaire:

• Maxi / Maxi XXL: 9 cm (3.6”)

• Finesse / X3-X5: 6 cm (2,4”)

• Système avec batterie CT32: 7 cm (2,8”)

Minimal zur Montage benötigter Raum:

• Maxi / Maxi XXL: 9 cm (3,6”)

• Finesse / X3-X5: 6 cm (2,4”)

• Batteriesystem CT32: 7 cm (2,8”)

• Maxi / Maxi XXL: 9 cm (3,6”)

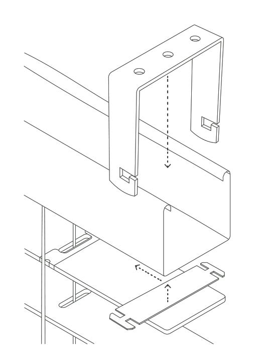
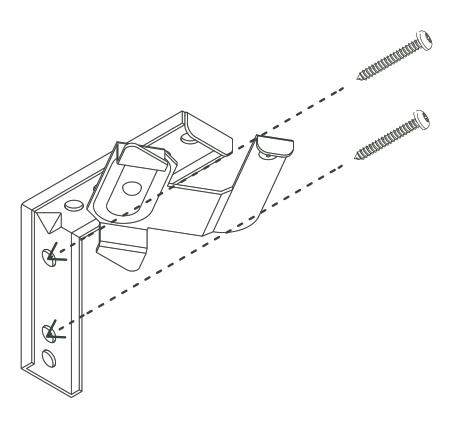
3. Plaatsing

Installation

Installation

In de dag

Inside mount

Dans le jour

Op de dag

Outside mount

Sur le jour

• De steunen moeten perfect uitgelijnd worden.

• Plaats de steunen niet waar de optrekkoordjes zich bevinden.

• Brackets must be alighned perfectly.

• Do not mount the brackets near the liftcords.

• Les supports doivent être parfaitement alignés.

• Ne places pas les supports aux endroits des cordons de tirage.

• En cas de pose sur construction de bois, installer des amortisseurs auto-adhésif entre le support et la surface.

• Bij plaatsing op houten constructie, zelfklevende trillingsdemper tussen steun en ondergrond gebruiken.

• When installed on a wooden structure, use an adhesive shock absorber between support and base.

• When installed on a wooden structure, use an adhesive shock absorber between support and base.

• Bei Aufstellung auf eine holzene Konstruktion, bitte benutzen Sie einen selbstklebenden Stoβdämpfer zwischen die Stütze und den Untergrund.

• En cas de pose sur construction de bois, installer des amortisseurs auto-adhésif entre le support et la surface.

INSTALLATIEBROCHURE_2014.indd 7 18/02/15 12:05

Klik het systeem in de steun

Klik het systeem in de steun

Click the system into the bracket

Clipsez le système dans le support

Klik het systeem in de steun

Clipsez le système dans le support

Click the system into the bracket

Clipsez le système dans le support

Das System in die Klammen einklicken

Click the system into the bracket

Das System in die Klammen einklicken

X3 - X5: zorg dat de optrekkoordjes mooi recht lopen

X3 - X5: assurez-vous que le cordon de tirage soit bien droit

X3 - X5: zorg dat de optrekkoordjes mooi recht lopen

X3 - X5: ensure that the liftcord is perfectly straight

X3 - X5: zorg dat de optrekkoordjes mooi recht lopen

X3 - X5: assurez-vous que le cordon de tirage soit bien droit

X3 - X5: Zugschnüre müssen gerade sein

X3 - X5: ensure that the liftcord is perfectly straight

X3 - X5: ensure that the liftcord is perfectly straight

X3 - X5: Zugschnüre müssen gerade sein

X3 - X5: assurez-vous que le cordon de tirage soit bien droit

4. Optie: voorsprongsteunen

4. Optie: voorsprongsteunen

Option: extension brackets

Option: équerres d’éloignement

4. Optie: voorsprongsteunen

Option: équerres d’éloignement

Option: extension brackets

Option: Montage mit Wandträgern

Option: équerres d’éloignement

Option: extension brackets

Option: Montage mit Wandträgern

Optie: zijgeleiding in de dag

Option: guidage latéral dans le jour

5. Optie: zijgeleiding in de dag

Option: guided shade inside mount

Option: guided shade inside mount

Option: guidage latéral dans le jour

Option: Seitenführung im Rahmen

zijgeleiding op de dag

Option: guidage latéral sur le jour

6. Optie: zijgeleiding op de dag

Option: guided shade outside mount

Option: guided shade outside mount

Option: guidage latéral sur le jour

Option: Seitenführung auf dem Rahmen

7. Optie: dakraam in de dag

7. Optie: dakraam in de dag

Optie: dakraam in de dag

7. Optie: dakraam in de dag

Optie: dakraam in de dag

7. Optie: dakraam in de dag

Option: fenêtre de toiture, dans le jour

Option: fenêtre de toiture, dans le jour

Option: fenêtre de toiture, dans le jour

Option: roof glazings inside mount

Option: fenêtre de toiture, dans le jour

Option: roof glazings inside mount

Option: fenêtre de toiture, dans le jour

Option: roof glazings inside mount

Option: roof glazings inside mount

Option: fenêtre de toiture dans le jour

Option: roof glazings inside mount

Option: Dachfenster im Rahmen

Option: roof glazings inside mount

Option: Dachfenster im Rahmen

Option: Dachfenster im Rahmen

Option: Dachfenster im Rahmen

Option: Dachfenster im Rahmen

Benodigdheden / requirements / matériel nécessaire

7.1 Benodigdheden / Matériel nécessaire / Requirements / Benötigt

7.1 Benodigdheden / Matériel nécessaire / Requirements / Benötigt

7.1 Benodigdheden / Matériel nécessaire / Requirements / Benötigt

Benodigdheden

x zijgeleider rail

x rail de guidage latéral

x vertical guide rail

x Seitenführungsschiene

Vijsjes

Vijsjes

Vis Screws

Telescoopgeleider

Guide télescopique

Telescopic guide

Screws

Schrauben

Schrauben

Teleskopgleiter

Schroevendraaier

Tournevis

Screwdriver

Schroevendraaier

Schroevendraaier

Screwdriver

Schroevendraaier

Schraubenzieher

Schraubenzieher

Schraubenzieher

Schraubenzieher / Benötigt

2 x stopper

2 x stopper

2 x arrêt

2 x arrêt

2 x stopper

2 x stopper

2 x Stopper

Stopper

18/02/15 12:05

7.2 Plaatsing dakraam in de

7.2 Plaatsing dakraam in de dag

dag

Fitting roof glazings inside mount

Installation dans le jour de la fenêtre de toiture

Installation dans le jour de la fenêtre de toiture

Fitting roof glazings inside mount

Dachfenster im Rahmen montieren

• Bevestig de zijgeleiderrail met vijzen aan de binnenkant van het dakraam

• Bevestig de zijgeleiderrail met vijzen aan de binnenkant van het dakraam

• Fixez le rail de guidage latéral à l’intérieur

de la fenêtre de toiture au moyen de vis

• Attach the vertical guide rail to the inside of the window frame with the screws

• Attach the vertical guide rail to the inside of the window frame with the screws

• Fixez le rail de guidage latéral à l’intérieur de la fenêtre de toiture au moyen de vis

• Die Seitenführungsschiene an der Innenseite des Dachfensters festschrauben

• Plaats de steuntjes in de dag

• Placez les supports dans le jour

• Plaats de steuntjes in de dag

• Mount the brackets inside the recess

• Mount the brackets inside the recess

• Die Halterungen in den Rahmen schrauben

• Placez les supports dans le jour

• Schuif de telescoopgeleiders in de buisjes

• Schuif de telescoopgeleiders in de buisjes

• Slide the telescopic guides in the tubes

• Glissez les guides télescopiques dans les tubes

• Slide the telescopic guides in the tubes

• Glissez les guides télescopiques dans les tubes

• Die Teleskopgleiter auf die Röhrchen stecken

• Schuif de telescoopgeleiders in de zijgeleiderrail

• Slide the telescopic guides into the vertical guide rail

• Schuif de telescoopgeleiders in de zijgeleiderrail

• Glissez les guides télescopiques dans le rail de guidage latéral

• Glissez les guides télescopiques dans le rail de guidage latéral

• Slide the telescopic guides into the vertical guide rail

• Die Teleskopgleiter in die Seitenführungsschiene schieben

• Klik het vouwgordijn in de steun

• Klik het vouwgordijn in de steun

• Clipsez le store bateau dans les supports

• Click the roman blind into the bracket

• Click the roman blind into the bracket

• Clipsez le store bateau dans les supports

• Das Faltstore in die Klammen einklicken

• Plaats de stopper in de zijgeleiderrail

• Plaats de stopper in de zijgeleiderrail

• Placez les arrêts dans le rail de guidage latéral

• Put the stopper in the vertical guide rail

• Put the stopper in the vertical guide rail

• Placez les arrêts dans le rail de guidage latéral

• Den Stopper auf die Seitenführungsschiene stecken

Optie: dakraam op de dag

8. Optie: dakraam op de dag

Option: fenêtre de toiture, sur le jour

Option: roof glazings outside mount

Option: roof glazings outside mount

Option: fenêtre de toiture sur le jour

2 x stopper

2 x arrêt

2 x stopper

2 x Stopper

Vijsjes Vis

Screws Schrauben

Option: Dachfenster auf den Rahmen

Optie: dakraam op de dag

8. Optie: dakraam op de dag

Option: fenêtre de toiture, sur le jour

Option: fenêtre de toiture, sur le jour

Benodigdheden / Requirements / Matériel nécessaire

8.1 Benodigdheden / Matériel nécessaire / Requirements / Benötigt

Option: roof glazings outside mount

Option: roof glazings outside mount

8.1 Benodigdheden / Matériel nécessaire / Requirements / Benötigt

8.1 Benodigdheden / Matériel nécessaire / Requirements / Benötigt

2 x stopper

2 x arrêt

2 x stopper

2 x Stopper

Vijsjes Vis

Screws Schrauben

2 x zijgeleider rail

2 x vertical guide rail

Schroevendraaier

Tournevis

Screwdriver

Schraubenzieher

Schroevendraaier

Tournevis

Screwdriver

2 x rail de guidage latéral

2 x Seitenführungsschiene

2 x zijgeleider rail

2 x rail de guidage

2 x vertical guide

Schroevendraaier

Schroevendraaier

2 x Seitenführungsschiene 16

Tournevis

Screwdriver

Screwdriver

Schraubenzieher

2 x rail de guidage latéral 2 x vertical guide rail

Schraubenzieher

INSTALLATIEBROCHURE_2014.indd 16 2 x zijgeleider rail

16 18/02/15 12:05

Plaatsing

Installation sur le jour de la fenêtre de toiture

Fitting roof glazings outside mount

8.2 Plaatsing dakraam in de dag

Dachfenster auf den Rahmen montieren

Fitting roof glazings outside mount

Installation sur le jour de la fenêtre de toiture

Bevestig de zijgeleiderrail met vijzen op het raam.

Bevestig de zijgeleiderrail met vijzen op het raam

Attach the vertical guide rail on the frame with the screws.

Fixez le rail de guidage latéral sur la fenêtre au moyen de vis

Fixez le rail de guidage latéral sur la fenêtre au moyen de vis.

Attach the vertical guide rail on the frame with the screws

Die Seitenführungsschiene am Rahmen festschrauben

Belangrijk: er moet 1,5 cm ruimte zijn tussen de zijgeleiderrail en het optreksysteem. Schuif het gordijn d.m.v. de glijder in de zijgeleiderrail

Plaats de steuntjes op de dag en klik het vouwgordijn in de steun.

Belangrijk: er moet 1,5 cm ruimte zijn tussen de zijgeleiderrail en het optreksysteem. Schuif het gordijn d.m.v. de glijder in de zijgeleiderrail

Plaats de steuntjes op de dag en klik het vouwgordijn in de steun. Belangrijk: er moet 1,5 cm ruimte zijn tussen de zijgeleiderrail en het optreksysteem. Schuif het gordijn d.m.v.de glijder in de zijgeleiderrail.

Placez les supports sur le jour et clipsez le store rideau dans les supports. Important: il faut laisser un espace de 1,5 cm entre le rail de guidage latéral et le système de levage. Glissez le store dans le rail de guidage latéral au moyen de la glissière.

Mount the brackets outside the recess and click the roman blinds into place in the bracket. Note: you must leave a 1.5 cm space between the vertical guide rail and the headrail. Slide the blinds into the vertical guide rail with the glider.

Mount the brackets outside the recess and click the roman blinds into place in the bracket. Note: you must leave a 1.5 cm space between the vertical guide rail and the headrail. Slide the blinds into the vertical guide rail with the glider

Placez les supports sur le jour et clipsez le store rideau dans les supports. Important: il faut laisser un espace de 1,5 cm entre le rail de guidage latéral et le système de levage. Glissez le store dans le rail de guidage latéral au moyen de la glissière.

Placez les supports sur le jour et clipsez le store bateau dans les supports. Important: il faut laisser un espace de 1,5 cm entre le rail de guidage latéral et le système de levage. Glissez le store dans le rail de guidage latéral au moyen de la glissière

Mount the brackets outside the recess and click the roman blinds into place in the bracket. Note: you must leave a 1.5 cm space between the vertical headrail. Slide the blinds into the vertical guide rail with the glider

Die Klammen auf dem Rahmen anbringen und das Faltstore in die Klammen einklicken Bitte beachten: Zwischen Seitenführungsschiene und Öffnungssystem muss 1,5 cm frei sein. Das Store mit den Gleitern in die Seitenführungsschiene schieben.

• Plaats de stoppers in de zijgeleiderrail

• Plaats de stoppers in de zijgeleiderrail.

Die Klammen auf dem Rahmen anbringen und das Faltstore in die Klammen beachten: Zwischen Seitenführungsschiene und Öffnungssystem cm frei sein. Das Store mit den Gleitern in die Seitenführungsschiene schieben.

• Placez les arrêts dans le rail de guidage latéral

• Place the stoppers in the vertical guide rail.

• Put the stoppers in the vertical guide rail

• Placez les arrêts dans le rail de guidage latéral.

• Die Stopper auf die Seitenführungsschiene stecken

• Plaats de stoppers in de zijgeleiderrail

• Placez les arrêts dans le rail de guidage latéral

INSTALLATIEBROCHURE_2014.indd 18 18/02/15 12:05

• Put the stoppers in the vertical guide rail

• Die Stopper auf die Seitenführungsschiene stecken

Enlèvement du store pour nettoyage

9. Afhalen van het gordijn voor reiniging

Removing the blinds for cleaning

Removing the blinds for cleaning

Abnehmen des Stores zur Reinigung

Enlèvement du store pour nettoyage

• Haal het koordje uit het afsteloogje

• Enlevez le cordon de l’oeil de réglage

• Take the liftcord out of the regulating eye

• Verwijder stukje B uit A. Haal het koordje uit het afsteloogje.

• Die Schnur aus dem Einstellauge ziehen

• Remove piece B from A. Take the liftcord out of the regulating eye.

• Retirer la pièce B de A. Enlevez le cordon de l’oeil de réglage.

Battery systems / Batteriesysteme

10. Batterijsystemen

Battery systems

10. Batterijsystemen / Systèmes avec batterie

Systèmes avec batterie

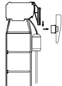
• Verwijder de eindkap

• Retirez l’embout

Battery systems / Batteriesysteme

• Remove end cap

• Verwijder de eindkap

• Endkappe abnehmen

• Retirez l’embout

• Verwijder de eindkap.

• Remove end cap.

• Remove end cap

• Retirez l’embout.

• Endkappe abnehmen

• Schuif de batterij in de bovenbak

• Glissez la batterie dans le bac supérieur

• Schuif de batterij in de bovenbak

• Slide battery into top compartment

• Schuif de batterij in de bovenbak.

• Batterie in Halterung schieben

• Glissez la batterie dans le bac supérieur

• Slide battery into top compartment.

• Slide battery into top compartment

• Glissez la batterie dans le bac supérieur.

• Batterie in Halterung schieben

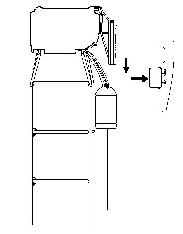
• Plug de stekker van de batterij in de motor

• Branchez la prise de la batterie dans le moteur

• Plug de stekker van de batterij in de motor

• Plug battery into motor

• Plug de stekker van de batterij in de motor.

• Branchez la prise de la batterie dans le moteur

• Plug battery into motor.

• Plug battery into motor

• Stecker der Batterie an Motor anschließen

• Branchez la prise de la batterie dans le moteur.

• Stecker der Batterie an Motor anschließen

• Plaats de eindkap terug en zorg dat de antenne vrij hangt

• Plaats de eindkap terug en zorg dat de antenne vrij hangt

• Replacez l’embout en laissant pendre l’antenne

• Plaats de eindkap terug en zorg dat de antenne vrij hangt.

• Replacez l’embout en laissant pendre l’antenne

• Replace end cap, ensure antenna is freely suspended.

• Replace end cap, ensure antenna is freely suspended

• Replace end cap, ensure antenna is freely suspended

• Replacez l’embout en laissant pendre l’antenne.

• Endkappe wieder aufsetzen, Antenne muss frei hängen

• Endkappe wieder aufsetzen, Antenne muss frei hängen

11. Optie / Option Tension Device

11. Optie / Option Tension Device

11. Optie / Option Tension Device (US only)

(US only)

(US only)

12A. Plaatsing Inside Solar met clips onder het systeem (Maxi)

Installation Inside Solar with clips beneath the system (Maxi)

Installation d’Inside Solar avec clips sous le système (Maxi)

1

Klik de houders op het Maxi-systeem.

Click the holders onto the Maxi system.

Clipsez les supports sur le système Maxi.

3

4 "

5

Klik de zonnecel op de ophanging.

Click the solar cell onto the suspension.

Clipsez la cellule solaire sur la suspension.

Schuif de ophanging door de houders tot de cel op de juiste hoogte hangt.*

Slide the suspension through the holders until the panel is at the right height.*

Faites glisser la suspension dans les supports jusqu’à la hauteur souhaitée.*

Knip het overtollige deel van de ophanging af.

Cut off the excess part of the suspension.

Coupez la partie excédentaire de la suspension.

Haal de magneet uit de USB-C-poort van het systeem en koppel de zonnecel.

Remove the magnet from the system’s USB-C port and plug in the solar cell.

Retirez l’aimant du port USB-C du système et branchez la cellule solaire.

*Positioneer de zonnecel onder de glaslat voor maximale lichtopname.

*Place the solar cell below the glazing bead for maximum light absorption.

*Placez la cellule solaire sous la parclose pour une absorption maximale de la lumière.

12B. Plaatsing Inside Solar met clips achter het systeem (Maxi)

Installation Inside Solar with clips behind the system (Maxi)

Installation d’Inside Solar avec clips à l’arrière du système (Maxi)

Klik de houders op het Maxi-systeem.

Click the holders onto the Maxi system.

Clipsez les supports sur le système Maxi.

2

Klik de zonnecel op de houders.

Click the solar cell onto the holders.

Clipsez la cellule solaire sur les supports.

Haal de magneet uit de USB-C-poort van het systeem en koppel de zonnecel.

Remove the magnet from the system’s USB-C port and plug in the solar cell.

Retirez l’aimant du port USB-C du système et branchez la cellule solaire.

*Monteer de zonnecel enkel achter het systeem als die zo voldoende licht opvangt.

*The solar cell can only be mounted behind the system if it receives enough light.

*La cellule solaire ne doit être montée à l’arrière que si elle reçoit assez de lumière.

12C. Plaatsing Inside Solar met zuignappen op het raam (Maxi)

Installation Inside Solar with suction pads on the window (Maxi)

Installation d’Inside Solar avec ventouses sur la fenêtre (Maxi)

Klik de zuignappen in de openingen van de zonnecel.

Clipsez les ventouses dans les ouvertures de la cellule solaire. 1

Click the suction pads into the designated openings on the solar cell.

2

Bevestig de zonnecel d.m.v. de zuignappen op het raam.

Attach the solar cell to the window using the suction pads.

Fixez la cellule solaire sur la fenêtre avec les ventouses.

3 Haal de magneet uit de USB-C-poort van het systeem en koppel de zonnecel.

Remove the magnet from the system’s USB-C port and plug in the solar cell.

Retirez l’aimant du port USB-C du système et branchez la cellule solaire.

*Bevestig de zonnecel zodanig op het raam dat deze voldoende licht kan opvangen.

*Attach the solar cell to the window in such way that it can absorb enough light.

*Fixez la cellule solaire sur la fenêtre de manière à ce qu’elle capte suffisamment de lumière.

B. PANEELGORDIJNEN

WINDOW PANELS - PANNEAUX JAPONAIS

INSTALLATION WINDOW PANELS

INSTALLATION DES PANNEAUX JAPONAIS

Plaatsing paneelgordijnen

Plaatsing paneelgordijnen

Plaatsing paneelgordijnen

1. Benodigdheden

1. Benodigdheden / Matériel nécessaire

Requirements

1. Benodigdheden / Matériel nécessaire

Requirements / Benötigt

1. Benodigdheden / Matériel nécessaire

1. Benodigdheden / Matériel nécessaire

Matériel nécessaire

Requirements / Benötigt

Requirements / Benötigt

Installation des stores panneaux

Installation des stores

Schaarsteunen

Schaarsteunen

Supports pivots

Schaarsteunen

Schaarsteunen Supports

Supports

Scissor brackets Supports pivots

Scissor brackets

Schaarsteunen Supports pivots

Scissor brackets

Scherklammen

Scissor

Scissor brackets

Scherklammen

Scherklammen

Scherklammen

Breedte cm

Breedte cm

Steuntjes Supports Brackets Klammen

Breedte cm

Largeur cm

Breedte cm

Largeur cm

Width cm

Largeur

Largeur cm

Steunen

Steuntjes Supports Brackets Klammen

Steuntjes Supports Brackets Klammen

Steuntjes Supports Brackets Klammen

Breedte inch

Vijsjes Vis Screws

Schrauben

Vijsjes Vis Screws Schrauben

Breedte inch

Largeur inch

Breedte inch

Breedte inch

Largeur inch

Largeur inch

Vijsjes Screws Vis

Schroevendraaier

Vijsjes Vis Screws

Vijsjes Vis Screws Schrauben

Schrauben

Schroevendraaier

Schroevendraaier

Schroevendraaier

Tournevis

Schroevendraaier

Screwdriver

Tournevis

Tournevis

Tournevis

Screwdriver

Screwdriver

Schraubenzieher

Screwdriver

Tournevis

Screwdriver

Schraubenzieher

Schraubenzieher

Schraubenzieher

Aantal steunen

Aantal steunen

Aantal steunen

Aantal steunen

Nombre de supports

Aantal steunen

Nombre

Nombre de supports

Installation des stores panneaux / Installing panel tracks / Montage Paneek Gardienen

2. Noodzakelijke ruimte voor plaatsing

Space requirements for installation

Espace nécessaire à l’installation

2. Noodzakelijke ruimte voor plaatsing

Espace nécessaire à l’installation

Minimale noodzakelijke ruimte:

Space requirements for installation

• 2 spoor: 5,8 cm (2,3”)

Zur Montage benötigter Raum

• 3 spoor: 7,6 cm (3”)

• 4 spoor: 10,4 cm (4,1”)

• 5 spoor: 12,2 cm (4,8”)

Minimale noodzakelijke ruimte:

• 2 spoor: 5,8 cm (2,3”)

Minimum space required:

• 3 spoor: 7,6 cm (3”)

• 2 tracks: 5.8 cm (2.3”)

• 4 spoor: 10,4 cm (4,1”)

• 3 tracks: 7.6 cm (3”)

• 5 spoor: 12,2 cm (4,8”)

• 4 tracks: 10.4 cm (4.1”)

• 5 tracks: 12.2 cm (4.8”)

Espace minimum nécessaire:

• 2 rails: 5,8 cm (2,3”)

Espace minimum nécessaire:

• 3 rails: 7,6 cm (3”)

• 2 rails: 5,8 cm (2,3”)

• 4 rails: 10,4 cm (4,1”)

• 3 rails: 7,6 cm (3”)

• 5 rails: 12,2 cm (4,8”)

• 4 rails: 10,4 cm (4,1”)

• 5 rails: 12,2 cm (4,8”)

Minimum space required:

• 2 tracks: 5.8 cm (2.3”)

• 3 tracks: 7.6 cm (3”)

• 4 tracks: 10.4 cm (4.1”)

• 5 tracks: 12.2 cm (4.8”)

Minimal zur Montage benötigter Raum:

• 2 Spuren: 5,8 cm (2,3”)

• 3 Spuren: 7,6 cm (3”)

• 4 Spuren: 10,4 cm (4,1”)

• 5 Spuren: 12,2 cm (4,8”)

3. Plaatsing

Installation

3. Plaatsing / Installation / Installation / Montage

Installation

Lijn de steunen perfect uit

• Lijn de steunen perfect uit.

Aligner parfaitement les supports

Align brackets perfectly

• Align brackets perfectly.

• Alignez parfaitement les supports.

Klammen präzise ausrichten

Draai de schaarsteun dicht

Fermez le support pivot

• Draai de schaarsteun dicht.

Close the scissor bracket

• Close the scissor bracket.

Scherklammen festziehen

• Fermez le support pivot.

Bevestig paneel d.m.v. velcro

• Bevestig paneel d.m.v. velcro.

Fixez le panneau au moyen de velcro

• Attach panel with velcro.

Attach panel with Velcro

Paneel mittels Klettband befestigen

• Fixez le panneau au moyen de velcro.

Schuif onderlat in onderzoom

• Schuif onderlat in onderzoom.

Glissez la sous-latte dans l’ourlet inférieur

• Slide bottom bar into lower hem.

Slide bottom bar into lower hem

• Glissez la sous-latte dans l’ourlet inférieur.

Unterschiene in unteren Saum schieben

4. Optie: Voorsprongsteunen

Reiningsvoorschriften / Consignes de nettoyage

4. Optie: voorsprongsteunen

4. Optie: Voorsprongsteunen

Option: Équerres d’éloignement

Instructions for cleaning / Reinigungsanleitung

Option: extension brackets

Option: Équerres d’éloignement

Option: Extension brackets

Option: Extension brackets

Option: équerres d’éloignement

Option: Wandträger

Option: Wandträger

Stoffen uit het Inside gamma kunnen gereinigd worden. Vraag aan uw verdeler voor de reinigingsvoorschriften voor de door u gekozen stof.

Wij raden aan:

Enkel zo kan u uw originele kwaliteit behouden.

Uw gordijnen niet extreem vuil te laten worden en ze regelmatig te reinigen.

Roken en kachels kunnen ervoor zorgen dat uw gordijnen extreem bevuild worden en uw gordijnen door reiningen niet meer tot originele staat kunnen

gebracht worden. Let op voor vliegenstrontjes, schimmel en vochtvlekken. Deze kunnen niet altijd door reiniging verwijderd worden.

Railverbinding

Liaison de rails

Nos recommandations:

Rail connector

Schienenverbindung

Les tissus de la gamme Inside peuvent être nettoyés. Demandez les consignes de nettoyage du tissu que vous avez choisi à votre distributeur.

Ne laissez pas fortement se salir vos rideaux, et nettoyez-les régulièrement. C’est la seule façon de vous assurer qu’ils conservent leur qualité d’origine.

La fumée et les poêles peuvent fortement salir vos rideaux; il est possible que le nettoyage ne soit alors pas suffisant pour rendre à vos rideaux leur état d’origine. Faites attention aux déjections de mouches, aux moisissures et aux taches d’humidité. Elles ne peuvent pas toujours être enlevées par nettoyage.

Plaats een schaarsteun 10 cm voor en achter de railverbinding

Placer un support pivot à 10 cm avant et après la liaison entre les rails

Placer un support pivot à 10 cm avant et après la liaison entre les rails

• Plaats een schaarsteun 10 cm voor en achter de railverbinding.

• Placer un support pivot à 10 cm avant et après la liaison entre les rails.

Mount a scissor bracket 10 cm (4 inch) on either side of the rail connector 10 cm vor und hinter die Schienenverbindung eine Scherklamme anbringen 27

Mount a scissor bracket 10 cm (4 inch) on either side of the rail connector 10 cm vor und hinter die Schienenverbindung eine Scherklamme anbringen 27

• Mount a scissor bracket 10 cm (4 inch) on either side of the rail connector.

27 18/02/15 12:05

C. ROLGORDIJNEN

ROLLER SHADES - STORES ENROULEURS

1. Solido met ketting

Solido with chain

Solido avec chaîne

2. Solido met ketting - verwijderen

Solido with chain - removal

Solidoavec chaîne- supprimer

3. Solido met motor ø 43,50 mm

Solido with motor ø 43,50 mm

Solido avec moteur ø 43,50 mm

4. Solido met motor ø 50 mm

Solido with motor ø 50 mm

Solido avec moteur ø 50 mm

5. Solido met motor ø 43,50 mm of ø50 mm - verwijderen

Solido with motor ø 43,50 mm or ø50 mm- removal

Solidoavec moteur ø 43,50 mm ou ø50 mm - supprimer

6. Solido met motor ø 65,80 mm

Solido with motor ø 65,80 mm

Solido avec moteur ø 65,80 mm

7. Solido met motor ø 65,80 mm - verwijderen

Solido with motor ø 65,80 mm - removal

Solido avec moteur ø 65,80 mm - supprimer

8. Solido gekoppelde rolgordijnen

Solido linked roller shades

Solido stores enrouleurs couplés

9. Solido zijgeleiding

Solido side guidance

Solido guidage latéral

Adjust the blinds in the upper position until the blinds are

10. Plaatsing Inside Solar met zuignappen op het raam (Solido)

Installation Inside Solar with suction pads on the window (Solido)

Installation d’Inside Solar avec ventouses sur la fenêtre (Solido)

Klik de zuignappen in de openingen van de zonnecel.

Click the suction pads into the designated openings on the solar cell.

Clipsez les ventouses dans les ouvertures de la cellule solaire.

Bevestig de zonnecel d.m.v. de zuignappen op het raam.

Attach the solar cell to the window using the suction pads.

Fixez la cellule solaire sur la fenêtre avec les ventouses.

3 Haal de magneet uit de USB-C-poort van het systeem en koppel de zonnecel.

Remove the magnet from the system’s USB-C port and plug in the solar cell.

Retirez l’aimant du port USB-C du système et branchez la cellule solaire.

*Afhankelijk van het type systeem zijn er twee manieren om in te pluggen (A of B).

*Depending on the type of system, there are two ways to plug in (A or B).

*En fonction du type de système, il existe deux façons de brancher (A ou B).

*Bevestig de zonnecel zodanig op het raam dat deze voldoende licht kan opvangen.

*Attach the solar cell to the window in such way that it can absorb enough light.

*Fixez la cellule solaire sur la fenêtre de manière à ce qu’elle capte suffisamment de lumière.

Reiningsvoorschriften

Instructions for cleaning

Consignes de nettoyage

Stoffen uit het Inside-gamma kunnen gereinigd worden. Vraag de reinigingsvoorschriften van jouw stof op bij je verdeler.

Wij raden aan:

Je gordijnen niet extreem vuil te laten worden en ze regelmatig te reinigen. Enkel zo kan je de originele kwaliteit behouden. Roken en kachels kunnen ervoor zorgen dat je gordijnen extreem bevuild worden en je gordijnen door reiningen niet meer tot originele staat kunnen gebracht worden. Let op voor vliegenstrontjes, schimmel en vochtvlekken. Deze kunnen niet altijd door reiniging verwijderd worden.

Fabrics from the inside range of products can be cleaned. Ask your distributor for the cleaning instructions that apply to the fabric you selected.

We recommend the following:

Do not allow your curtains to become heavily soiled and clean them regularly. Only then can their original high quality be preserved. Smoking, gas heaters and fires can cause your curtains to become so heavily soiled that cleaning may not return them to their original state. Always treat stains caused by flies, mildew and humidity immediately. These can not always be removed by cleaning.

Les tissus de la gamme Inside peuvent être nettoyés. Demandez les consignes de nettoyage du tissu que vous avez choisi à votre distributeur.

Nos recommandations:

Ne laissez pas fortement se salir vos rideaux, et nettoyez-les régulièrement. C’est la seule façon de vous assurer qu’ils conservent leur qualité d’origine.La fumée et les poêles peuvent fortement salir vos rideaux; il est possible que le nettoyage ne soit alors pas suffisant pour rendre à vos rideaux leur état d’origine. Faites attention aux déjections de mouches, aux moisissures et aux taches d’humidité. Elles ne peuvent pas toujours être enlevées par nettoyage.

C. HOUTEN JALOEZIEËN

WOOD BLINDS - STORES BOIS

A. Boro

1. Plaats van bevestiging

Place of mounting

Placement de fixation

Teken de posities voor de steunen af. De onderlinge afstand mag maximaal 600 mm bedragen. De steunen dienen gelijkmatig verdeeld te worden over de breedte van de jaloezie. Houd rekening met obstakels zoals raamhendels e.d.

Mark the positions of the brackets. The distance between 2 brackets may not exceed 600 mm. The supports should be evenly divided over the width of the blind. Be aware of obstacles such as window handles etc.

Marquez d’abord la position des supports sur le matériel de fixation. La distance entre les supports ne peut pas dépasser 600 mm. Les supports doivent être répartis régulièrement sur toute la largeur du store. Tenez compte d’éventuels obstacles, tels qu’une poignée de fenêtre ou une pièce de rallonge.

2. Schaarsteunen

Scissor brackets

Supports pivots

De schaarsteunen kunnen op of in het kozijn dan wel tegen het plafond geplaatst worden. Verzeker je ervan dat de jaloezie waterpas gemonteerd wordt en dat de steunen niet boven de bewegende delen in de bovenbak geplaatst worden.

The scissor supports can be placed on or in the frame or against the ceiling. Make sure that the blind is mounted level and that the brackets are not placed above the moving parts in the headrail.

Fixation des supports pivots dans ou sur le jour, ou au plafond. Assurez-vous que le store est installé en position parfaitement horizontale (de niveau) et que les supports ne sont pas placés au-dessus des pièces mobiles du boîtier.

3. Nissteunen (optie)

Recess mounting (option)

Supports niche (option)

Deze steunen worden toegepast in situaties met beperkte montageruimte. Plaats de bovenbak recht omhoog in de steun en breng de clip aan zoals aangegeven (rechts).

These brackets are used in situations with limited mounting space. Place the headrail straight up in the bracket and install the clip as shown (right).

Les supports étriers sont utilisés pour des stores installés dans une niche et sans bandeau de finition. Placez le boîtier à la verticale dans le support et placez le clip comme indiqué (à droite).

4. Montage

Installation

Installation

Plaats de bovenbak in de geopende steunen. Ter ondersteuning van grote jaloezieën is de medewerking van een ander persoon aan te raden. Schuif vervolgens de hendels naar de bovenbak toe dicht om de steun te vergrendelen.

Place the headrail in the open brackets. To mount large blinds, the cooperation of another person is recommended. Then slide the swivel towards the headrail to lock it.

Montez le boîtier supérieur du store dans les supports ouverts. Pour soutenir les stores de grande largeur, il est conseillé de travailler à deux. Rabattez les parties mobiles des supports pour verrouiller.

5.

Frontlat

Valance

Cantonnière

Bevestig de koofbeugel over de rand van de bovenbak. De frontlat hangt vast met een magneet.

Fit the cove bracket over the edge of the headrail. The valance is fixed with a magnet.

Poser les clips sur le boitier. La cantonnière est attachée avec un aimant.

MAGNEET

MAGNET

AIMANT

6A. Plaatsing Inside Solar met clips achter het systeem (Boro)

Installation Inside Solar with clips behind the system (Boro)

Installation d’Inside Solar avec clips à l’arrière du système (Boro)

Klik de houders op het Boro-systeem.

Click the holders onto the Boro system.

Clipsez les supports sur le système Boro. 1

Klik de zonnecel op de houders.

Click the solar cell onto the holders.

Clipsez la cellule solaire sur les supports. 2

3 Haal de magneet uit de USB-C-poort van het systeem en koppel de zonnecel.

Remove the magnet from the system’s USB-C port and plug in the solar cell.

Retirez l’aimant du port USB-C du système et branchez la cellule solaire.

*Monteer de zonnecel enkel achter het systeem als die zo voldoende licht opvangt.

*The solar cell can only be mounted behind the system if it receives enough light.

*La cellule solaire ne doit être montée à l’arrière que si elle reçoit assez de lumière.

6B. Plaatsing Inside Solar met zuignappen op het raam (Boro)

Installation Inside Solar with suction pads on the window (Boro)

Installation d’Inside Solar avec ventouses sur la fenêtre (Boro)

Klik de zuignappen in de openingen van de zonnecel.

Click the suction pads into the designated openings on the solar cell.

Clipsez les ventouses dans les ouvertures de la cellule solaire.

Bevestig de zonnecel d.m.v. de zuignappen op het raam.

Attach the solar cell to the the window using the suction pads.

Fixez la cellule solaire sur la fenêtre avec les ventouses.

3 Haal de magneet uit de USB-C-poort van het systeem en koppel de zonnecel.

Remove the magnet from the system’s USB-C port and plug in the solar cell.

Retirez l’aimant du port USB-C du système et branchez la cellule solaire.

*Bevestig de zonnecel zodanig op het raam dat deze voldoende licht kan opvangen.

*Attach the solar cell to the window in such way that it can absorb enough light.

*Fixez la cellule solaire sur la fenêtre de manière à ce qu’elle capte suffisamment de lumière.

B. Fuga

1. Benodigdheden

Requirements

Matériel nécessaire

• Meetlint / measuring tape / ruban à mesurer

• Potlood / pencil / crayon

• Waterpas / level / niveau à bulle

• Schroevendraaier / screwdriver / tournevis

• Elektrische boormachine / power drill / perceuse électrique

Bevestigingsmiddel / fastener / fixation

Houten oppervlak:

32 mm schroef met ronde kop (meegeleverd)

Surface en bois:

Vis à tête ronde de 32 mm (fournie)

Wood surface :

32 mm rounded head screw (provided)

Gipsplaat/pleisterwerk:

Muurpluggen, uitzetbouten (niet meegeleverd)

Placo/plâtre:

Chevilles murales, boulons d’expansion (non fournis)

Drywall/plaster:

Wall anchors, expansion bolts (not provided)

Metaal:

Plaatmetaalschroeven (niet meegeleverd)

Métal: Vis pour tôle (non fournies)

Metal:

Sheet metal screws (not provided)

Onderdelen / components / pièces

Installatiebeugel

Installation bracket

Support d’installation

Afstandhouder*

Spacer block*

Bloc d’espacement*

Verbinding voor sierkoofzijstuk*

Valance return connector*

Connecteur de retour de cantonnière*

*optioneel/optional/optionnel

Beugel voor vastzetten*

Hold down bracket*

Support de maintien*

Sierkoofverbinder*

Valance connector*

Connecteur de cantonnière*

Sierkoofcliphouder*

Valance clip receptor*

Récepteur de clip de cantonnière*

Plug voor sierkoofclip*

Valance clip plug*

Bouchon de clip pour cantonnière*

Koordklem

Cord cleat

Attache-cordon

Vijs Screw Vis

2. Montage steunen

Installation brackets

Installation supports

• De bovenrail mag niet lager dan 1,5 m vanaf de vloer worden geïnstalleerd.

• Markeer de beugellocatie op het montageoppervlak met een waterpas.

• Houd minimale afstand tussen de muur en de achterkant van de beugels.

• Kleef de beugels met dubbelzijdige tape op de gemarkeerde locaties, voor makkelijke installatie.

• Bevestig de beugels met twee 32 mm-montageschroeven.

• Gebruik muurpluggen voor gips- of pleisterwanden.

• Headrail shall not be installed less than 1.5 m from the floor.

• Mark the bracket location on the mounting surface using a level.

• Allocate minimal distance from wall face to the backside of the brackets.

• Use the double sided tape to stick the brackets at the marked location for easy installation.

• Use two 32 mm mounting screws to secure bracket.

• Use wall anchors for drywall or plaster wall.

• Le rail supérieur ne doit pas être installé à moins de 1,5 m du sol.

• Marquez l’emplacement des supports et alignez-les avec un niveau.

• Prévoyez une distance minimale entre le mur et l’arrière des supports.

• Fixez les supports avec le ruban adhésif double face aux emplacements marqués.

• Fixez les supports avec deux vis de montage de 32 mm.

• Utilisez des chevilles pour les murs en placoplâtre ou en plâtre.

In de dag / inside mount / dans le jour

Locatie montagebeugel

Installation bracket location

Emplacement support de montage

Op de dag / outside mount / sur le jour

Locatie montagebeugel

Installation bracket location

Emplacement support de montage

Aanbevolen: gebruik een waterpas om te dubbelchecken of de beugels op hetzelfde niveau zitten.

Recommended: use a level to double check the brackets are at the same level.

Recommandé: utilisez un niveau à bulle pour vérifier que les supports sont bien à niveau.

Opmerking: als een afstandhouder nodig is voor montage op de dag, volg dan de instructies op de volgende pagina.

Note: if spacer block is required for outside mount, please follow the instructions on the following page.

Remarque : si un bloc d’espacement est nécessaire pour le montage sur le jour, veuillez suivre les instructions à la page suivante.

3. Afstandhouders (optioneel)

Spacer blocks (optional)

Blocs d’espacement (optionnel)

Als een afstandhouder nodig is voor montage op de dag, volg dan de onderstaande stappen:

• Zorg er altijd voor dat de verhoogde zijde van de afstandhouder tegen de beugel zit.

• Bevestig de combinatie van de beugel en afstandhouder met twee schroeven.

If spacer block is required for outside mount, please follow the following guide:

• Please always make sure the raised side of the spacer block is against the bracket.

• Mount the combination of the bracket and spacer block with two screws.

Si un bloc d’espacement est nécessaire pour installation sur le jour, veuillez suivre le guide suivant :

• Assurez-vous toujours que le côté surélevé du bloc d’espacement est contre le support.

• Fixez la combinaison du support et du bloc d’espacement avec deux vis.

Het raamkozijn steekt 0-10 mm

uit de muur: 1 afstandhouder

The window frame protrudes from wall by 0-10 mm: 1 spacer block

Le cadre de la fenêtre dépasse de 0 - 10 mm du mur: 1 bloc d’espacement

Het raamkozijn steekt 11-18 mm

uit de muur: 2 afstandhouders

The window frame protrudes from wall by 11-18 mm: 2 spacer blocks

Le cadre de la fenêtre dépasse de 11 - 18 mm du mur: 2 blocs d’espacement

4. Installatie jaloezieën zonder sierkoof

Installation blinds without valance

Installation des stores sans cantonnière

Bevestig de bovenrail aan de beugels. Haak daarvoor eerst de voorkant van de rail in de beugel, waarna je de rail vastklikt.

Attach the headrail to the brackets. First, hook the front of the rail into the bracket, then click the rail into place.

Fixez le rail supérieur aux supports. Accrochez d’abord l’avant du rail dans le support, puis clipsez le rail en place.

5. Installatie sierkoofverbinder (optioneel)

Installation valance connector (optional)

Installation du connecteur de cantonnière (optionnel)

De connector wordt enkel geleverd voor het verbinden van aaneengeschakelde sierkoven. Schuif de connector in de sleuf achteraan de sierkoof zoals op onderstaande tekening.

The valance connector is only supplied for connecting spliced valances. Insert the valance connector into the slot on the back of the valance as below drawing.

Le connecteur est fourni uniquement pour connecter des cantonnières connectées. Insérez le connecteur dans la fente à l’arrière de la cantonnière comme indiqué sur le dessin ci-dessous.

Zorg ervoor dat de bredere zijde naar beneden wijst.

Make sure the wider side is facing downwards.

Assurez-vous que le côté plus large est orienté vers le bas.

De sierlijst is verbonden zoals geïllustreerd:

The valance is connected as illustrated:

La cantonnière est connectée comme illustré:

6. Installatie jaloezieën mét sierkoof (optioneel)

Installation blinds without valance (optional)

Installation des stores avec cantonnière (optionnel)

Haak de verstelbare bevestigingsclips voor de sierlijst op de bovenrail en verdeel ze gelijkmatig. Zorg ervoor dat de bevestigingsclips zich niet in een obstructieve positie bevinden ten opzichte van de trommelsteun binnen de bovenrail en de beugels.

Hook the adjustable valance clip receptors onto the headrail and space them evenly. Make sure receptors are not in an obstructive position with the drum support inside the headrail and brackets.

Accrochez les récepteurs des clips de cantonnière réglables sur la barre de tête et espacez-les uniformément. Assurez-vous que les récepteurs ne se trouvent pas dans une position obstructive par rapport au support de tambour à l’intérieur de la barre de tête et des supports.

Bevestig de bovenrail rechtstreeks aan de beugels zoals op de tekening hiernaast.

Attach the headrail directly to the brackets as indicated on the drawing on the side.

Fixez la barre de tête directement sur les supports comme indiqué sur le dessin ci-contre.

Bevestig de verstelbare sierkoofclipplug in het gleuf aan de achterkant van de sierkoof.

Raadpleeg de positie van de houder op de bovenrail om te bepalen waar de plug op de sierkoof moet worden geplaatst.

Attach the adjustable valance clip plug into the channel on the backside of the valance. Refer to the receptor position on the headrail to decide where to position on the valance.

Fixez le bouchon du clip de cantonnière réglable dans le rail à l’arrière de la cantonnière.

Référez-vous à la position du récepteur sur le rail supérieur pour décider où le positionner sur la cantonnière.

Bevestig de sierkoofzijstukverbinder indien nodig (montage op de dag).

Attach the valance return connector if needed (outside mount).

Fixez le connecteur de retour de cantonnière si nécessaire (montage sur le jour).

Bevestig de sierkoof aan de bovenrail door de plugs op de receptors te haken. Raadpleeg de onderstaande tekening. Verplaats de receptors iets naar links of rechts langs de bovenrail zodat de plugs goed uitgelijnd zijn en in de receptor klikken.

Attach the valance to the headrail by hooking the plugs onto the receptors. Refer to the below drawing. Slightly move the receptors left or right along the headrail so the plugs are in alignment with receptors to ensure to click into position.

Fixez la cantonnière au rail supérieur en accrochant les fiches sur les récepteurs. Référez-vous au schéma ci-dessous. Déplacez légèrement les récepteurs vers la gauche ou la droite le long du rail supérieur afin que les fiches soient alignées avec les récepteurs et s’enclenchent en place.

Als je de positie van de sierkoof verticaal wilt aanpassen, houd de sierkoof vast zoals weergegeven op de afbeelding en schuif deze omhoog of omlaag naar de gewenste positie. Wanneer je de sierkoof uit de bovenrail wilt verwijderen, schuif de sierkoof naar beneden en verwijder de sierkoof en de sierkoofclipplugs uit de receptors.

If you wish to adjust the valance position vertically, hold the valance as shown on the picture and slide upward or downward to the desired position. When removing the valance from the headrail, slide downward the valance and move away the valance and valance clip plugs from the receptors.

Si vous souhaitez ajuster la position de la cantonnière verticalement, tenez la cantonnière comme montré sur l’image et faites-la glisser vers le haut ou vers le bas à la position désirée. Lorsque vous retirez la cantonnière du rail supérieur, faites-la glisser vers le bas et éloignez la cantonnière et les fiches de clip de cantonnière des récepteurs.

7.

Extra bevestigingen

Additional attachments

Fixations supplémentaires

Beugels voor vastzetten (indien inbegrepen)

Bevestig de beugelhouders tegen een vlak oppervlak, horizontaal of verticaal, evenwijdig aan de onderrail. Zorg ervoor dat het uitstekende deel uitgelijnd is met het gat aan de zijkant van de onderrail. Bevestig de beugelhouder aan beide zijden van de onderrail om de jaloezieën op de gewenste plaats te houden.

Hold down brackets (if included)

Attach the hold-down brackets against a flat surface,horizontally or vertically. Parallel to the bottom rail. Make sure the protruding area is aligned with the hole on the side of the bottom rail. Secure the hold-down bracket into the bottom rail on both sides to keep blinds in desired location.

Supports de maintien (si inclus)

Fixez les supports de maintien contre une surface plane, horizontalement ou verticalement, parallèlement au rail inférieur. Assurez-vous que la partie saillante est alignée avec le trou sur le côté du rail inférieur. Fixez le support de maintien de chaque côté du rail inférieur pour maintenir les stores en place.

In de dag

Inside mount

Dans le jour

Op de dag

Outside mount

Sur le jour

Koordklem

Waarschuwing! Kinderen kunnen verstikken als dit veiligheidsmechanisme niet is geïnstalleerd. Gebruik dit altijd om koorden buiten het bereik van kinderen te houden. Dit mechanisme moet zo dicht mogelijk bij de bovenrail worden geïnstalleerd met 2 schroeven en in alle gevallen op minimaal 1600 mm van de vloer.

Wikkel altijd alle losse koorden in een 8-patroon rond de koordklem(men). Controleer regelmatig of de klem(men) nog stevig vastzitten.

Cord Cleat

Warning! Children can strangle if this safety device is not installed. Always use this device to keep cords out of the reach of children. This device should be installed as close to the headrail as possible with 2 screws and, in all cases, not less than 1600 mm from the floor.

Please always wrap all loose cords around the cord cleat(s) in a figure of 8 pattern. Inspect the cleat(s) at regular intervals to ensure they are still firmly fixed.

Attache cordon

Avertissement ! Les enfants peuvent s’étrangler si ce dispositif de sécurité n’est pas installé. Utilisez-le toujours pour maintenir les cordons hors de portée des enfants. Ce dispositif doit être installé aussi près que possible du rail supérieur avec 2 vis et, dans tous les cas, à au moins 1600 mm du sol.

Enroulez toujours tous les cordons lâches autour de l’(des) attache(s) cordon en formant un motif en 8. Vérifiez régulièrement que l’(les) attache(s) cordon est (sont) toujours solidement fixé(e)(s).

Het koord mag geen lus vormen die langer is dan 220 mm. Hoe de veiligheidstassel met breekmechanisme in elkaar te zetten:

Stap 1: leid de koorden uit het koordslot en zorg ervoor dat ze niet gedraaid zijn. Plaats alle koorden op de juiste volgorde in de sleuf van de veiligheidstassel.

Stap 2: sluit het koordloslaatmechanisme.

Stap 3: trek aan de koorden van de tassel en zorg ervoor dat deze stevig gesloten is.

The cord must not form a loop longer than 220 mm. How to reassemble safety breakaway tassel:

Step 1: collocate the cords out of the cord lock. Make sure the cords are not twisted. Place all the cords into the slot of safety breakaway tassel in order.

Step 2: close the cord release device.

Step 3: pull the tassel cords and make sure it is closed tightly.

Le cordon ne doit pas former une boucle de plus de 220 mm. Comment assembler le pompon de sécurité détachable:

Étape 1 : faites sortir les cordons du bloque-cordon et assurez-vous qu’ils ne sont pas entortillés.

Placez tous les cordons dans la fente du pompon de sécurité détachable dans le bon ordre.

Étape 2 : fermez le dispositif de libération du cordon.

Étape 3 : tirez sur les cordons du pompon et assurez-vous qu’il est bien fermé.

Jouw Inside- product is een kwaliteitsproduct dat met de grootste zorg voor jou op maat is geproduceerd. Inside Blinds geeft garantie op materiaal – en/of fabricagefouten met in achtneming de garantiebepalingen. Mocht het product desondanks gebreken vertonen dan dien je dit aan de verdeler van het betreffende Inside-product te melden. De garantiebepalingen staan hieronder vermeld. Geef in geval van herstelling onder garantie het ordernummer. De klever aan de achterzijde van het optrek- of oprolsysteem met vermelding van het ordernummer ed. mag niet verwijderd worden. Zoniet vervalt alle garantie.

Inside Blinds NV garandeert Inside-producten op materiaal – en/of fabricagefouten. Dat houdt in dat gedurende de respectievelijke garantieperiode na aankoop gebreken, die kennelijk te wijten zijn aan ondeugdelijkheid van verwerkte materialen en/of fabricagefouten, gratis hersteld zullen worden in ons atelier. Transportkosten die hieruit voortvloeien zullen voor onze rekening genomen worden. Voor herstellingen ter plaatse zullen vervoerskosten en arbeidsloon verrekend worden. Voor oprolsystemen geldt de garantie twee jaar. Voor optreksystemen geldt de garantie 10 jaar. Voor elektromotoren geldt de garantie vijf jaar. Op stoffen wordt geen garantie gegeven.

Deze garantie vervalt indien de Inside-producten niet conform zijn gemonteerd. Hieronder wordt ondermeer verstaan: het buitenhuis plaatsen van het binnenproduct, het eigenmatig aanbrengen van veranderingen, het blootstellen van het product aan inwerkingen van buitenaf (zoals chemisch agressieve stoffen, vloeistoffen, dampen of gassen) en het verkeerd reinigen van het product. Ook na het verstrijken van de feitelijke garantieperiode, blijf je verzekerd van een doeltreffende service.

Uiterst belangrijk!

Bij het omlaag bewegen van het gordijn mag geen obstakel het gordijn hinderen. Anders loop je de kans dat het systeem volledig ontregeld wordt.

Your Inside purchase is a quality product that has been tailor-made for you with the utmost care. Inside Blinds NV offers a warranty against Inside product material and/or manufacturing defects, provided that the warranty conditions have been observed. If the product shows any defects, please report these to the distributor of your Inside product. The warranty conditions are provided below. Please provide the order number for any repairs under warranty. Do not remove the sticker on the back of the roll-up or hoisting system showing the order number, etc. The warranty will no longer be valid without the sticker..

Inside Blinds NV offers a warranty against Inside product material and/or manufacturing defects. During the warranty period following the purchase, any defects evidently caused by faulty processed materials and/or manufacturing errors will be repaired at our workshop free of charge. We will pay for any resulting transport costs. Labour costs and transport costs will be charged for on-site repairs. Roll-up systems are covered by a two-year warranty, hoisting systems ten year. The warranty on the electric motors is valid for five years. There is no warranty on fabrics.

This warranty does not apply if the Inside products were not installed appropriately. This includes installation of indoor products outdoors, addition of own modifications, products that have been exposed to abnormal external conditions (such as chemically aggressive substances, liquids, vapours or gases) and incorrect cleaning of the product. You can always rely on our efficient service even when your actual warranty has expired.

Very important!

Ensure that no obstacles are hindering the curtain when it is lowered, as this may completely disrupt the system.

Votre produit Inside est un produit de qualité qui a été fait sur mesure avec le plus grand soin. Inside Blinds donne une garantie sur les matériels et/ou des défauts de fabrication en respectant les conditions de garantie. Toutefois si le produit présente des défauts, vous devez le signaler au distributeur du produit Inside concerné. Les conditions de garantie sont énumérées ci-dessous. En cas de réparation sous garantie, indiquez le numéro de commande que vous retrouvez sur l’autocollant à l’arrière du mécanisme ou système de relevage. Ne retirez pas cet autocollant. Sinon, toute garantie expirera.

Inside Blinds NV garantit les produits Inside pour les matériaux et/ou des défauts de fabrication. Cela signifie que pendant la période de garantie après l’achat, les défauts, qui sont apparemment dus à la mauvaise qualité des matériaux traités et/ou aux défauts de fabrication, seront réparés gratuitement dans notre atelier. Les frais de transport en résultant seront à notre charge. Pour les réparations sur place, les frais de déplacement et de main-d’œuvre seront facturés. La garantie sur le mécanisme est valable pour deux ans, pour le système de relevage dix ans et pour les moteurs cinq ans. Aucune garantie n’est donnée sur les tissus.

Cette garantie ne sera plus valable si les produits Inside ne sont pas installés en conformité. Cela inclut entre autres: placer le produit intérieur à l’extérieur, appliquer des changements sur le produit, exposer le produit à des influences externes (telles que des substances chimiquement agressives, des liquides, des vapeurs ou des gaz) et un nettoyage incorrect du produit. Même après l’expiration de la période de garantie réelle, vous continuerez à être assuré d’un service efficace.

Extrêmement important!

Lors du déroulement du produit, aucun obstacle ne peut interférer. Sinon, vous courez le risque que le mécanisme soit complètement déréglé. Lorsque vous descendez votre store, aucun obstacle ne peut interférer.

Child Safety

KINDVEILIGE RAAMDECORATIE / SECURITE ENFANT EN DECORATION FENÊTRE

KINDVEILIGE RAAMDECORATIE / CHILDPROOF wINDOw DECORATION

INSIDE CHILD SAFETY

De Europese norm inzake Child Safety werd in Europa bekrachtigd op 19 februari en is automatisch van toepassing in de lidstaten vanaf 1 september 2014. In overeenstemming met EN 13120 - EN 16433 - EN 16434

KINDVEILIGE RAAMDECORATIE (CHILD SAFETY)

Veiligheid staat bij INSIDE voorop en daarom zullen alle raambekledingsproducten vanaf september voldoen aan de Europese CEN normen (EN13120, EN16433, EN16434). Koorden en kettingen van raambekledingsproducten kunnen namelijk een gevaar vormen voor jonge kinderen met alle gevolgen van dien.

Veiligheid staat bij Inside voorop en daarom zullen alle raambekledingsproducten voldoen aan de Europese CEN normen (EN13120, EN16433, EN16434). Koorden en kettingen van raambekledingsproducten kunnen namelijk een gevaar vormen voor jonge kinderen met alle gevolgen van dien.

Daar waar nodig zijn er per product accessoires toegevoegd om de bedieningskoorden en bedieningskettingen buiten het bereik van kinderen aan de muur te bevestigen. De montagehoogte van het product is hierbij van belang. Hiervoor geldt een specifieke regelgeving*.

Daar waar nodig zijn er per product accessoires toegevoegd om de bedieningskoorden en bedieningskettingen buiten het bereik van kinderen aan de muur te bevestigen. De montagehoogte van het product is hierbij van belang. Hiervoor geldt een specifieke regelgeving*.

Daarnaast zijn, daar waar nodig, onze producten voorzien van verdere veiligheidsonderdelen waarmee andere risicofactoren worden uitgesloten. Child safety is verplicht in gebouwen waar kinderen kunnen komen zoals hotels, ziekenhuizen, kerken, winkels, scholen en publieke gebouwen. En natuurlijk in elk woonhuis.

Daarnaast zijn, daar waar nodig, onze producten voorzien van verdere veiligheidsonderdelen waarmee andere risicofactoren worden uitgesloten. Child safety is verplicht in gebouwen waar kinderen kunnen komen zoals hotels, ziekenhuizen, kerken, winkels, scholen en publieke gebouwen. En natuurlijk in elk woonhuis.

* REGELGEVING BEDIENINGSLENGTE

* REGELGEVING BEDIENINGSLENGTE

De Bedieningslengte wordt bepaald afhankelijk van de montagehoogte

De Bedieningslengte wordt bepaald afhankelijk van de montagehoogte

Bediening Veiligheids onderdeel Hoogte Product Montage H bekend Maximale bedieningslengte

Kettingbediening koordbediening Kettingspanner koordkikker

TOEPASSING VAN NORM

Product > 250 cm Ja Montagehoogte minus 150cm Nee Hoogte van het product minus 150cm

Product < 250 cm Ja Montagehoogte minus 150cm Nee Maximaal 100 cm

INSTALLATIEBROCHURE_2014.indd 44 18/02/15 12:05

De norm heeft als doelstelling het risico op verwurging bij kinderen door ketting, bedieningskoorden en binnenkoorden bij vouwgordijnen/rolgordijnen te voorkomen. Deze koorden kunnen lussen vormen waar kinderen in verstrikt kunnen raken tijdens het spelen in de buurt van een raam. De verplichtingen in de norm zijn niet met terugkerende kracht. De norm is dus niet van toepassing op producten die geproduceerd zijn voor de datum van publicatie.

Alle vouwgordijnen/rolgordijnen die geplaatst worden in ruimtes waar jonge kinderen “waarschijnlijk toegang zullen hebben of aanwezig zijn” dienen te voldoen aan de norm: Indien de locatie niet gekend is, dient de norm steeds toegepast te worden.

Indien de locatie wel gekend is, dient men rekening te houden met het volgende:

• PARTICULIERE WONINGEN

> altijd toepassing van norm, ongeacht of er kinderen wonen of niet.

• PUBLIEKE GEBOUWEN

> toepassing van norm met uitzondering van de ruimtes die niet publiek toegankelijk zijn.

• COMMERCIËLE GEBOUWEN

> geen verplichting in ruimtes waar geen kinderen komen

BEVEILIGING VAN DE KETTINGLUSSEN, TREKKOORDEN ÉN DE BINNENKOORDJES

Uitgangspunt is dat de ketting- of koordlus op minimum 150 cm van de vloer moet hangen. Dit impliceert dat de montagehoogte en niet de systeemhoogte belangrijk is. Bovendien mag een ketting of koord niet los hangen. Er dient een beveiligingssysteem voorzien te worden dat steeds gemonteerd dient te worden tegen de muur. Inside vraagt steeds naar de montagehoogte bij het doorgeven van uw bestelling.

Op basis hiervan zal de lengte van de ketting- of koordlus bepaald worden.

(lus op 150 cm van de vloer) Indien u geen montagehoogte specificeert, zullen wij een systeemhoogte van < 250 cm een luslengte van 100 cm aanhouden.

In het geval de systeemhoogte de 250 cm overtreft, wordt de lushoogte 150 cm korter dan de systeemhoogte (afgerond naar standaardluslengte).

WAARSCHUWINGLABELS & INFORMATIE

ALGEMENE INSTRUCTIES:

• Hoofdrails dienen geplaatst te worden op niet langer dan 150 cm van de grond.

• De koordspanners of kettingverbinders dienen zo dicht mogelijk tegen de hoofdrail gemonteerd te worden en niet langer dan 150 cm van de grond.

• De fabrikanten zijn verantwoordelijk voor het aanleveren van informatie aan het verkooppunt.

• Het is de verantwoordelijkheid van de kleinhandelaars/winkeliers om te verzekeren dat de verplichte veiligheidssystemen in het verkooppunt voor de consument beschikbaar zijn en in geval van plaatsing, deze conform de richtlijnen gemonteerd worden.

• De naam van de producent, invoerder of installateur dient weergegeven op het zonweringsproduct.

• Inside is niet verantwoordelijk voor schade of kosten voortvloeiend uit een onjuiste assemblage of installatie door derden.

ELEKTRISCHE SYSTEMEN

Graag wijzen we u er op dat elektrische systemen een deel van het probleem oplossen gezien u geen rekening meer dient te houden met de beperkingen voor de ketting.

Al de door INSIDE geleverde systemen zullen voorzien worden van onderstaande wettelijke waarschuwingsberichten:

• Jonge kinderen kunnen gewurgd worden door lussen in trekkoorden, kettingen, banden en binnenkoorden aanwezig voor de werking van het product.

• Om wurging en verstrikking te vermijden, houd koorden op een afstand van jonge kinderen.

• Koorden kunnen rond de nek van kinderen gewikkeld raken.

• Houd bedden, wiegen en meubels weg van raambekledingsproducten.

• Knoop de koorden niet samen. Zorg ervoor dat koorden niet draaien en een lus maken.

CHILD SAFETY

Vous pouvez obtenir la traduction de la norme Child Safety en français et anglais sur simple demande.

CHILD SAFETY

French or English versions of the Child Safety Standard are available upon request.

Turn static files into dynamic content formats.

Create a flipbook
Issuu converts static files into: digital portfolios, online yearbooks, online catalogs, digital photo albums and more. Sign up and create your flipbook.