
5 minute read
3 - MONT AGGIO
Kit Comando Proporzionale Circuit O Interrutt Ore
Montaggio della tubazione del braccio
Advertisement
Complessivi tubazione (84) e (90) Posizionare complessivo tubazione (lato sinistro) (84)
Inserire complessivo tubazione (lato sinistro) (84) 2 punti con 2 fascette per tubi (78) ciascuno e serrare con 2 viti con rondella montata (*1)


• Fissare fascetta stringitubo posteriore (78) nella posizione 287 , posteriore del complessivo tubazione (lato sinistro) (84) SMIL14CEX5783AB
Montare tappo (88) sul complessivo tubazione (lato sinistro) (84)

Montare complessivo tubazione (lato destro) (90) allo stesso modo del complessivo tubazione (lato sinistro) (84)
Complessivi tubazione (83) e (89)
Posizionare complessivo tubazione (lato sinistro) (83)
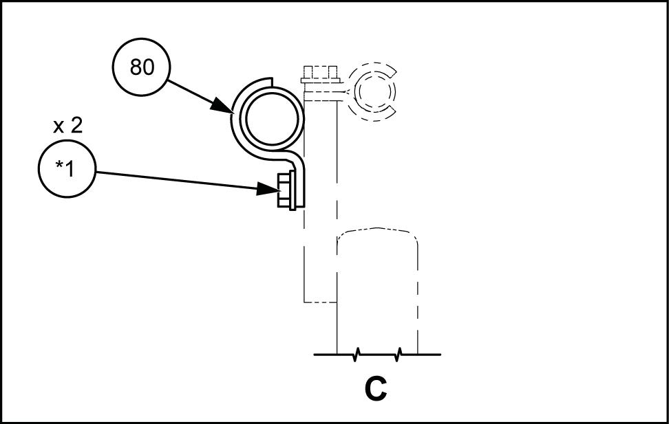
Serrare complessivo tubazione (lato sinistro) (83) con 1 fascetta stringitubo (80) e 2 bulloni tipo Sems (*1)
• Fissare fascetta per tubi (80) punto a 130 anteriore del complessivo tubazione (lato sinistro) (83)
Posizionare l'O - ring (85) del complessivo tubazione (lato sinistro) (83) , quindi collegare plessivo tubazione (lato sinistro) (83) con 2 flange (86) e i 4 bulloni a testa esagonale incassata (87) SMIL14CEX5787AB



Serrare complessivo tubazione (lato sinistro) (83) con 2 fascette per tubi (79) e bulloni tipo Sems (2) SMIL14CEX5788AB
Posizionare l'O - ring (98) anteriore del complessivo tubazione (lato sinistro) (83) , quindi montare flangia piatta (97) con 4 bulloni a testa esagonale incassata (99) SMIL14CEX5789AB
Montare complessivo tubazione (lato destro) (89) allo stesso modo del complessivo tubazione (lato sinistro) (83)
• Fissare fascetta stringitubo (89) punto a 305 anteriore del complessivo bazione (lato destro) (100)


Montaggio della tubazione principale superiore

Montaggio della tubazione principale superiore (lato sinistro) Montare staf sul telaio con 4 bulloni tipo Sems (12)
Montare valvola sfiato (10) sulla staf con 2 viti con rondella montata (12)
• Regolare pressione impostata per valvola sfiato (10) base tipo attrezzatura utilizzata.
Montare gomito (9) sulla valvola sfiato (10) , luce A . Posizionare l'O - ring (8) sul gomito (9) e collegare sibile idraulico (4)

Posizionare l'O - ring (8) tubo flessibile (9) e collegare flessibile idraulico (17)

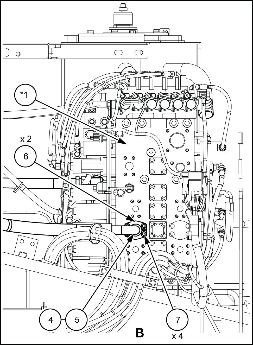
Posizionare l’O - ring (5) sul distributore idraulico (*1) , luce e collegare flessibile idraulico (4) con 2 miflange (6) e 4 bulloni a testa esagonale incassata (7)

Montare tubo flessibile (13) sulla luce B della valvola sfiato (10) Posizionare l'O - ring (8) per tubo flessibile (13) e montare sibile idraulico (15) .

Posizionare l'O - ring (16) sul flessibile idraulico (15) , quindi collegare complessivo tubazione (*3) con 2 miflange (17) e 4 bulloni a testa esagonale incassata (18) SMIL14CEX5795BB 6
Montaggio della tubazione principale superiore (lato destro) Montare staf (23) sul telaio con 4 bulloni tipo Sems (12)


Montare collettore (22) sulla staf (23) con 2 bulloni tipo Sems (12)
Montare gomito (29) sul collettore (22) , lato serbatoio idraulico (*2) Collegare flessibile idraulico (30) gomito (29)


Montare gomito (31) sul serbatoio idraulico (*2) . legare flessibile idraulico (30) gomito (31)


Montare gomito (26) sulla valvola sfiato (10) , luce T
Montare gomito (26) sul collettore (22) , lato valvola sfiato.
Collegare valvola sfiato (10) , luce T e collettore (22) , lato valvola con flessibile idraulico (27)
Montare (21) sul collettore (22) , complessivo tubazione (lato destro) (*4) , per collegare l'adattatore per tubo flessibile (13) Posizionare l'O - ring (8) tubo flessibile (13) e collegare bile idraulico (15)

Posizionare l'O - ring (16) sul flessibile idraulico (15) , quindi collegare complessivo tubazione (*4) con 2 miflange (17) e 4 bulloni a testa esagonale incassata (18)
Montare per tubo flessibile (29) sul tore (25) , lato valvola sfiato Collegare valvola sfiato , luce T e valvola sfiato (25) del tore con flessibile idraulico (30)



Complessivo tubo flessibile *2. Collettore Codice *3. Distributore idraulico *1. Pavimento *4. Serbatoio idraulico

Montare valvola riduzione (34) sulla staf (36) con 2 bulloni tipo Sems (35)
Montare staf (36) sul pianale (*1) con 2 bulloni tipo Sems (37)
SMIL14CEX5805AB 4
Montare per tubo flessibile (38) sulla vola riduzione (34) , luce T
Montare gomito (50) sul collettore (*2) , luce T5. legare valvola riduzione (34) , luce T , e tore (*2) , luce con tubo flessibile del complessivo (42 / T5)
SMIL14CEX5806AB 5




SMIL14CEX5807AB 6
Montare nipplo con filtro (39) sulla valvola zione (34) , luce P
Montare gomito (50) sul collettore (*2) , luce P5. legare valvola riduzione (34) , luce P , e tore (*2) , luce con tubo flessibile del complessivo (42 / P5)
Montare tappo (41) sulla valvola riduzione (34) , luce Montare raccordo a T (40) sulla valvola riduzione (34) , luce
Montare gomito (44) sul distributore idraulico (*3) , luce Collegare valvola riduzione (34) , luce e distributore idraulico (*3) , luce con tubo flessibile del complessivo (42 / Y1).



Montare gomito (44) sul distributore idraulico (*3) , luce Montare per tubo flessibile (38) sul serbatoio idraulico (*4) Collegare distributore idraulico (*3) , luce e serbatoio idraulico (*4) con tubo flessibile del complessivo (45 /


• Serrare tubo flessibile del complessivo (45 / Y2) sieme alla condotta comando
Fissare i tubi flessibili del complessivo (42 / Y1) (42 / P5) (42 / T5) provenienti dalla valvola riduzione (34) 4 punti con 1 fascetta supporto (51) 1 vite con testa a croce Phillips ciascuno (52) e 1 fascetta serrafili (53)
Montare sensore pressione (48) sulla valvola riduzione (34)
SMIL14II01074FB 1

SMIL14II01075FB 2

Collegare cablaggio (81) e valvola riduzione (*1) .

SMIL14II01076BB 3

Disporre cablaggio (81) come mostrato nello
Fissare cablaggio (81) 6 punti con 6 fascette rafili (*2)
Fissare i 3 accoppiatori sul cablaggio (81) con 1 fermo (83) ciascuno e 1 bullone (84)
Collegare connettore del cablaggio (81) pin) blaggio principale del telaio (*3) e fissare con fascetta serrafili (82) SMIL14II01079BB


Estendere cablaggio (81) sul lato del pianale sotto
Collegare connettore del cablaggio (81) (16 pin) cablaggio principale della cabina e fissare con fascetta serrafili (82)

Montaggio della leva comando
Smontaggio della leva comando (destra)
Arrotolare verso sof fietto (*1) della leva mando e utilizzare cacciavite Phillips o una chiave a tubo per rimuovere i 2 bulloni (*2) del chio superiore della

SMIL14II00167AB 1
Usare cacciavite Phillips per rimuovere 2 viti (*3) , quindi smontare maniglia della leva (*4)
SMIL14II00168AB 2


Utilizzare cacciavite Phillips per rimuovere 2 viti (*5) del coperchio superiore della
SMIL14II00169AB 3
Smontare i connettori (*6) , quindi rimuovere chio superiore della console (*7) .

Utilizzare cacciavite Phillips o una chiave a tubo per rimuovere i 5 bulloni (*8) e smontare perchio (*9) .
Arrotolare sof fietto (*10) della leva comando, vere connettore (*1 a leva e tagliare fascetta serrafili (*12)
T enendo fermo dado (*13) con una chiave , lizzare una chiave per rimuovere controdado (*14) e smontare leva comando (*15)
SMIL14II00175AB 5

SMIL14II00171AB 6
SMIL14II00172AB 7
Montaggio della leva comando (lato destro)


Dopo aver montato manopola (lato destro) (1) , nendo fermo dado (*13) con una chiave , lizzare una chiave per montare controdado (*14)
Coppia serraggio del controdado: 38.344.1 N·m ( - )

Montare connettore acustico (*1 , legarlo con fascetta serrafili (*12) e coprire con sof fietto della leva comando (*10) .
Utilizzare cacciavite Phillips o una chiave a tubo per montare coperchio (*9) con 5 bulloni (*8)
Montare i connettori (*6) , quindi montare coperchio superiore della console (*7)


SMIL14II00174AB 9
SMIL14II00175AB

SMIL14II00176AB 1 1
Utilizzare cacciavite Phillips per montare 2 viti (*5) del coperchio superiore della
SMIL14II00177AB

Utilizzare cacciavite Phillips per montare maniglia della leva inclinazione (*4) con 2 viti (*3)
Utilizzare cacciavite Phillips o una chiave a tubo per montare i 2 bulloni (*2) del coperchio riore della console e coprire con sof fietto della leva comando (*1)


Montaggio sensore indicatore serbatoio (avvertenza ostruzione filtro)


SMIL14CEX5814GB 1
Montare raccordo a T (56) e sensore pressione (57) sul serbatoio idraulico (*1) Fissare cablaggio del sensore (58) sul sensore pressione (57) Fissare cablaggio del sensore (58) con 2 fascette con nastro (59) e 2 bulloni speciali (60)
• Coppia serraggio: 23.535.3 ( 17.33)

Montaggio
della targhetta
Della Cabina
SMIL14II01084GB 1 Con rimuovere eventuale sporcizia presente nel punto cui verrà incollata l'etichetta. Applicare funzionamento del comando a pedale ( ISO ) (75)







