
1 minute read
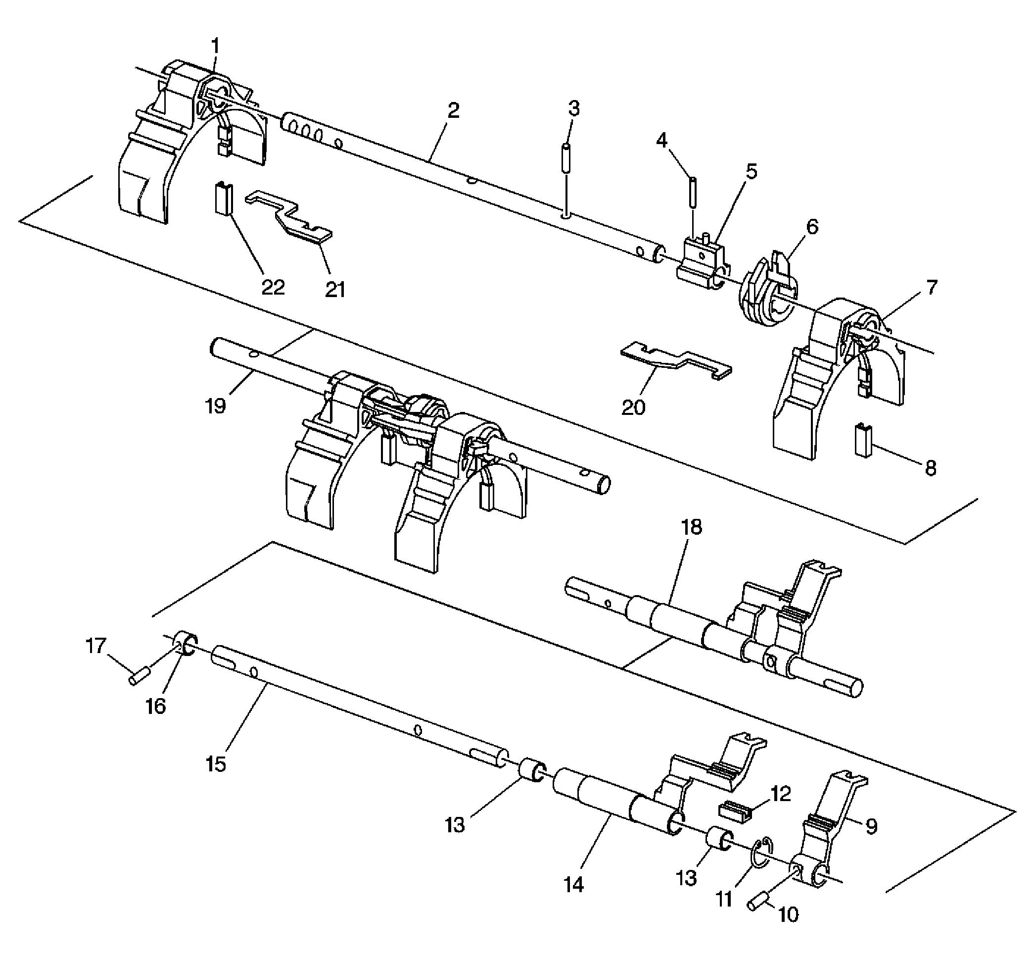
Reverse Shift Collar Pin
9 Reverse Lockout Solenoid Mounting Bolt 10 Reverse Lockout Body 11 Reverse Lockout Inner Spring 12 Snap Ring 13 Reverse Lockout Collar 14 Reverse Lockout Outer Spring 15 Reverse Lockout Plunger 16 Snap Ring
Fig. 10: Shift Shafts Courtesy of GENERAL MOTORS CORP.
Advertisement





