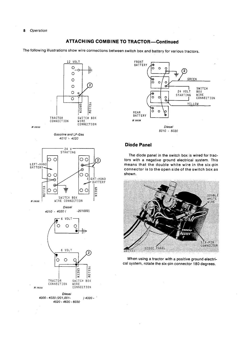
John Deere 6601 Combine Operator’s (No.OMH84345) Manual Instant Download, This provides service information. It is divided into three parts: General, Mechanism, and Servicing. The General section includes identification, maintenance checks, and safety precautions. The Mechanism section describes the construction and functions. The Servicing section covers troubleshooting, specifications, servicing procedures, and precautions. The document also includes specifications for the loader and buckets.