ARC 382 | Final Comprehensive Binder

Page 10

Glass Louver Detail Drawing

Glass Louver Detail Drawing

ARC 382 | ARCHITECTURE DETAILING

ARC 382 | ARCHITECTURE DETAILING

Glass Louver Detail Drawing

95 mm 18.00 mm 18.00 mm 18.00 mm 18.00 mm 10 mm 10 mm 10 mm 10 mm 3 mm 5 mm 5 mm 39 mm 69 mm 55 mm 80 mm 167 mm 45 mm 248 mm 386 mm 414 mm 146 mm 254 mm 21 mm 14 mm 51 mm 30 mm 21 mm 14 mm 51 mm 30 mm 15 mm 5 mm 10 mm 3 mm 5 mm 5 mm 39 mm 69 mm TEMPERED CURVED GLASS PLANE FILM STEEL PLATE STEEL PLATE STEEL NUT BOLT GALVANIZED STEEL SHOE STRUCTURAL SILICON 95 mm 18.00 mm 18.00 mm 18.00 mm 18.00 mm 10 mm 10 mm 10 mm 10 mm 3 mm 5 mm 5 mm 39 mm 69 mm 55 mm 80 mm 167 mm 45 mm 248 mm 386 mm 414 mm 146 mm 254 mm 21 mm 14 mm 51 mm 30 mm 21 mm 14 mm 51 mm 30 mm 15 mm 5 mm 10 mm 3 mm 5 mm 5 mm 39 mm 69 mm TEMPERED CURVED GLASS PLANE FILM STEEL PLATE STEEL PLATE STEEL NUT BOLT GALVANIZED STEEL SHOE STRUCTURAL SILICON 10 mm 30 mm 60 mm 100 mm 150 mm 200 mm mm Plan Scale 1:2 ARC 382 S21 | Final Detail Drawing Glass Louver Detail Drawing Salma Hani Mubarak Ali 88270 Plan Scale 1:2.5 ARC 382 | S23 | Final Detail Drawing
Salma Hani Mubarak Ali _ 88270
FINAL COMPREHENSIVE BINDER SPRING 2023 _ PROF. IGOR PERAZA Salma Hani Mubarak Ali _ 88270 Plan Scale 1:2.5 ARC 382 | S23 | Final Detail Drawing
Salma Hani Mubarak Ali _ 88270 Scale 1:2.5 ARC 382 | S23 | Final Detail Drawing
Salma Hani Mubarak Ali _ 88270
FINAL COMPREHENSIVE BINDER SPRING 2023 _ PROF. IGOR PERAZA Salma Hani Mubarak Ali _ 88270

ARC 382 | FINAL BINDER

A1 A2 A3 A4

CASE STUDY

MURABA LUXURY RESIDENCE, UAE DUBAI

RCR ARCHITECTS

GLASS LOUVER DETAIL

DESIGN PROPOSAL

MURABA RESIDENCE, LOUVER SYSTEM

DETAIL DRAWINGS

DESIGN PROPOSAL

JAPANESE JOINT, SAMPO GUMI SHIKUCHI

DETAIL DRAWINGS

PAVILION DESIGN

MURABA RESIDENCE

LOUVER SYSTEM

FINAL DETAIL DRAWINGS

A1 | CASE STUDY

MURABA LUXURY RESIDENCE

UAE DUBAI

RCR ARCHITECTS

GLASS LOUVER DETAIL

RCR Arquitectes

RCR Arquitectes is a Spanish architectural practice situated in the Spanish town of Olot. Rafael Aranda, Carme Pigem, and Ramon Vilalta created it in 1988. The studio is noted for its simple and modern designs, which are frequently influenced by the surroundings. RCR Arquitectes has received multiple honors for their work, including the renowned Pritzker Architecture Prize in 2017. The Soulages Museum in Rodez, France, the Les Cols Restaurant and Events Pavilion in Girona, Spain, and the Bell-Lloc Winery in Palamós, Spain are among their major projects.

RCR Arquitectes is noted for its minimalist and modern designs that are strongly anchored in the environment. Their approach is centered on producing architecture that matches and enhances the natural beauty of the setting while simultaneously being practical and meets the client’s demands. Their buildings are designed to blend in with the landscape than than stand out as dominant constructions, and many of their designs demonstrate a commitment to sustainability and environmental responsibility. The objective is to design architecture that blends in with its surroundings and has a good influence on the community.

The firm has a comprehensive and meaningful vision that extends beyond merely finishing a construction project. They want to design architecture that is in tune with its environment and improves the quality of life for people who live in it. This is apparent in their use of natural materials, creation of peaceful and calm settings, and incorporation of sustainable design ideas into their work. RCR Arquitectes is developing not simply practical structures, but also settings that promote well-being and allow people to interact with nature. Their work exemplifies the concept that architecture can help shape our perception of the world and improve our quality of life.

The Architects RCR design style RCR vision

RCR Arquitectes’ work is firmly rooted in the Catalan architectural tradition, which is distinguished by its emphasis on creating public spaces that serve as civic hubs, its use of climate control devices like porches and blinds, and its emphasis on designing spaces that blur the lines between the interior and exterior. RCR Arquitectes received the Pritzker Prize in appreciation of their contributions to the field of architecture and their capacity to modernize Catalan architectural traditions. Through their work, they continue to highlight the principles that underpin this architectural movement while also incorporating fresh concepts and cutting-edge technology to produce structures that are both aesthetically pleasing and useful.

The architectural style of RCR Arquitectes is renowned for incorporating a location’s history and existing structures into its projects. An excellent illustration of this strategy is how their studio, the Laboratorio Barber, was transformed from an ancient foundry. They are able to create a place that is rich in history and memory while still being functional and tailored to the demands of the studio by maintaining and modifying the existing building features, such as the steel sheets and bars, the empty spaces left by the ovens, and even the soot on the walls. The finished space serves as evidence of their strategy of developing architecture that is both flexible and responsive to its surroundings and the past.

RCR Arquitectes has a substantial global presence and has been requested to collaborate on projects in several nations. Despite having a global following, the firm is steadfast in their commitment to producing architecture that is tied to the region and unique to the location in which it is located. So, whether they are working in their own Catalonia or in another nation like Belgium, France, or Dubai, they are able to produce structures that are both distinctive and reflective of their environment. This strategy enables them to share their distinctive architectural vision with a larger audience while also enhancing the ethnic variety and depth of the workplaces.

RCR Catalan architecture RCR history inclusion RCR Future

Muraba Residence

An introduction The Site

Muraba Residence is an opulent residential complex in Dubai, United Arab Emirates. It was created by RCR Arquitectes (RCR Architects), a Pritzker Prize-winning Spanish architectural group famed for its distinctive and inventive design. The structure has a modern minimalist design with clean lines and an emphasis on natural light. The building is noted for its distinctive geometric designs and use of high-quality materials, and it is regarded as one of the city’s most iconic landmarks. It is also RCR’s first ever residential project.

The Muraba home is located on the plam island in the emirate of Dubai, United Arab Emirates. It is exactly where the walkway terminates on the island’s exterior edge. The Palm Jumeirah is a world-renowned resort and one of Dubai’s most desirable locales. It provides people with a variety of premium shopping, eating, and entertainment opportunities, as well as world-class beaches and parks.

Glass louvers

To limit views into the houses, a system of louvred glass slats sculpted with a rippling pattern is included into the building’s façade. The cast glass louvers have a water wave texture and a thorough relationship to the steel beams and construction. RCR investigated a method to orient the view of all the flats towards the Ocean, and developed a system of glass slits that funnel light into the rooms all day while safeguarding individual privacy.

Interior Glass Louvres Exterior Glass Louvres Texture of Glass Louvres Texture of Glass Louvres

Material library of the Muraba residence

Precast GRC panel Joint sealing between GRC panels IPE- 200 laminated steel profile Interior dry wall Travertine stone paving Bottom galvanized steel bracket Halfen built in galvanized steel channel Galvanized steel plate embedded in concrete slab Steel reinforced concrete Slab Gypsum board false ceiling Thermal insulation embedded Clay hollow block wall

Exterior Louver connection detail drawings

3D drawing Exploded Axonometric drawing Detail section drawing Section drawing Elevation drawing Axonometric drawing without the glass Axonometric drawing with the glass

Exterior louvre Connection to the steel I beam

Exploded Axonometric drawing of the whole structure Exploded Axonometric drawing of the detail

PLan Detail Drawings

Exploded Axonometric drawing of the whole

Section Detail Drawings

Exploded Axonometric drawing of the whole

Exploded Axonometric drawing of the whole

Axonometric Detail Drawings

Exploded Axonometric drawing of the whole

Exploded Axonometric drawing of the whole

A2 | LOUVER DESIGN PRPOSAL

MURABA RESIDENCE

LOUVER SYSTEM DESIGN

DETAIL DRAWINGS

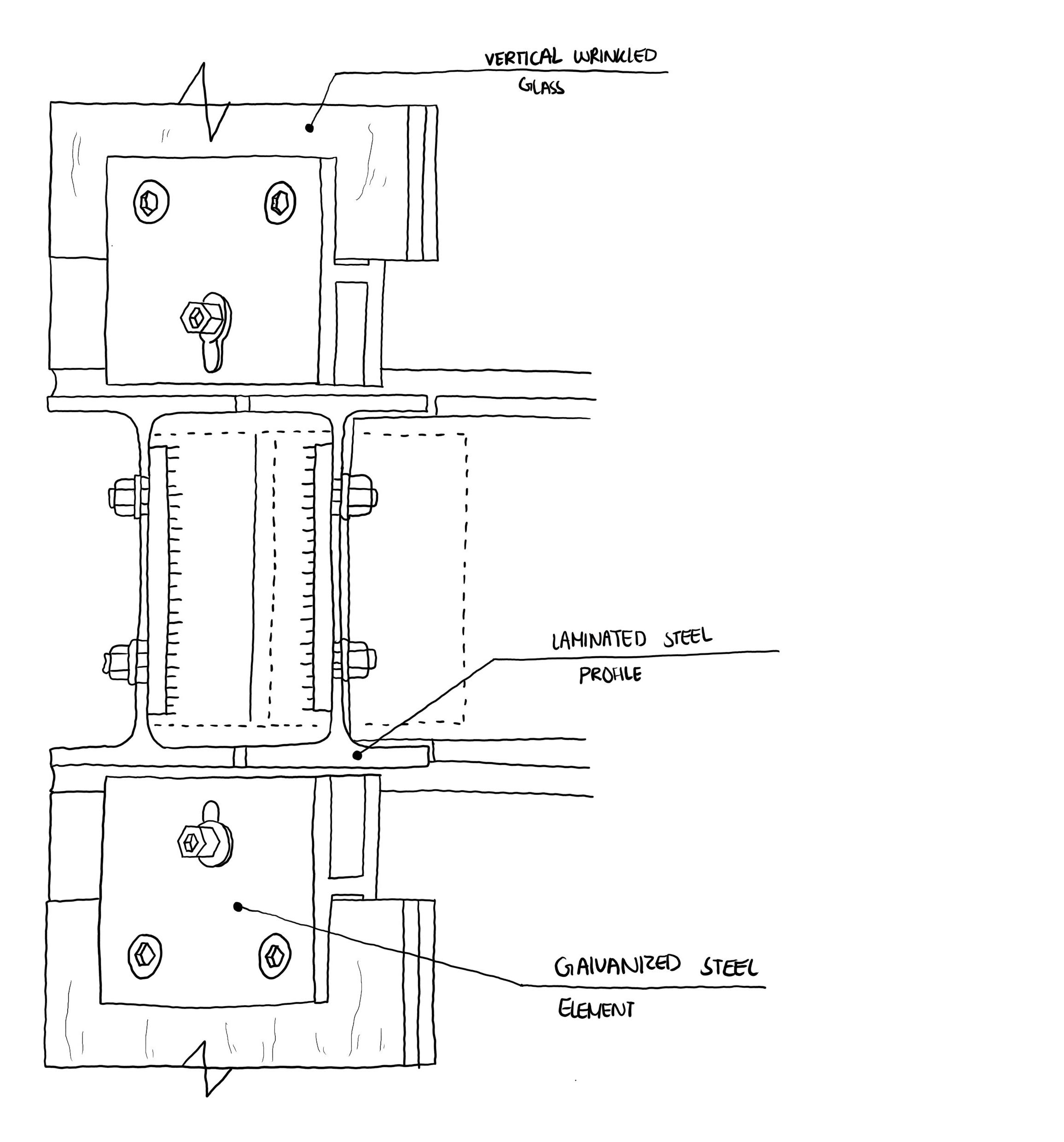
0.18 3.49 3.37 2.06 0.18 2.57 2.76 3.85 0.18 3.49 0.18 3.85 0.43 2.06 2.57 0.44 0.48 SHA.07 SALMA.H louverdesign.dwg D005 FACADE DETAILS CURVED GLASS LOUVER DETAIL 01 02 03 04 06 02 01 07 04 03 01 02 08 09 10 12 05 LEGEND Precast GRC Panel Variable Length Depth: 9cm 01 IPE-200 laminated steel profile - 2 layers of antioxidant primer coating - 2 layers of paint coating, highly resistant 02 to marine environment (same color as natural aluminum in window frames) 03 Curved Glass Louver 04 Galvanized steel glass shoe to support fixing of the curved glass panel, connected to glass using compression screws, welded to the I-beam using 05 Fixed window hidden profiles with insulating glass 06 Painted steel facade cladding panel (Same color as natural aluminum in window frames) 07 Clay hollow block wall (width = 10 cm), for facade envelope enclosure, with access points for adjustment of panel fixings 08 Joint sealing between GRC panels and I-beams silicone DOW CORNING 813C (same color as panel) 09 Steel reinforced concrete slab 10 Travertine stone paving laid on 6cm leveling cement mortar screed "ALUCOBOND" facade cladding panel - Side enclosure panel (same color as natural aluminum in window 11 frames) 12 Facade thermal insulation "ALUCOBOND" facade cladding panel (same color as natural aluminum in window frames) 13 Acrylic covering clipped on to Pilkington profilit glass to protect from environment 14 03 04 0.43 0.43 0.43 0.43 0.43 0.43 0.43 DET 2 DET 01 SALMA HANI ALI _G00088270 DET 03

CURVED GLASS LOUVER

GALVANIZED STEEL SHOE

BOLT

GALVANIZED STEEL ELEMENT

STEEL PLATE BOLT AND NUT

WELDED STEEL PLATE STEEL I-BEAM

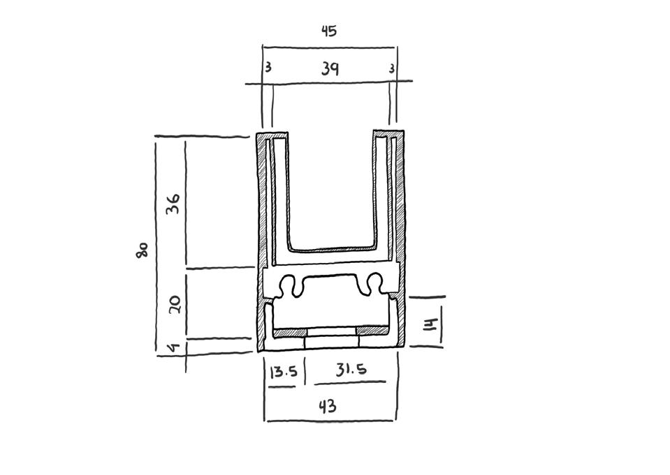
SHA.07 2023 SALMA.A louverdesign.dwg SALMA HANI ALI _G00088270 DETAIL _01 SIDE ELEVATION GLASS LOUVER DETAIL 1:2 90 mm 100 mm 40 mm

STEEL PLATE

STEEL PLATE

CURVED GLASS PLANE

GALVANIZED STEEL SHOE

BOLTS

430 mm

SHA.07 2023 SALMA.A louverdesign.dwg SALMA HANI ALI _G00088270 DETAIL _02 PLAN GLASS LOUVER DETAIL 1:5
260 mm
400 mm 72 mm 10 mm

CURVED GLASS LOUVER

STRUCTURAL SILICON

GALVANIZED STEEL GLASS SHOE

BOLT

VERTICAL STEEL ELEMENT WELDED TO A STEEL PLATE

HEAVY DUTY BOLT WELDED TO STEEL PLATE

STEEL PLATE

STEEL PLATE

STEEL I BEAM

SHA.07 2023 SALMA.A louverdesign.dwg SALMA HANI ALI _G00088270 DETAIL _03 SECTION ELEVATION GLASS LOUVER DETAIL 1:2 96 mm 40 mm 20 mm 90 mm
SHA.07 23 03 2023 SALMA.A louverdesign.dwg SALMA HANI ALI _G00088270 AXONOMETRIC DRAWING BEAM CONNECTION
SHA.07 23 03 2023 SALMA.A louverdesign.dwg SALMA HANI ALI _G00088270 AXONOMETRIC DRAWING CONSTRUCTION AND ASSEMBLY GENERATIVE DIAGRAM
STEP 1 : STEEL I BEAM STEP 2 : WELD THE STEEL PLATE THAT HAS BOLTS WELDED TO IT, TO THE STEEL I BEAM

STEP 3 :

PLACE THE STEEL PLATE WITH THE WELDED VERTICAL STEEL ELEMENTS ON TOP OF THE WELDED STEEL PLATE

STEP 4 :

SCREW THE NUTS ON THE BOLT ON TOP OF THE STEEL PLATE AND POSITION THE GALVANIZED STEEL GLASS SHOE INTO THE VERTICAL ELEMENTS

SHA.07 23 03 2023 SALMA.A louverdesign.dwg SALMA HANI ALI _G00088270 AXONOMETRIC DRAWING CONSTRUCTION AND ASSEMBLY GENERATIVE DIAGRAM

SCREW THE BOLTS THROUGH THE GLASS SHOE AND THE VERTICAL ELEMENTS TO SECURE THE CONNECTION IN PLACE

PLACE THE CURVED GLASS PLANE ON THE GLASS SHOE USING STRUCTURAL SILICON

SHA.07 23 03 2023 SALMA.A louverdesign.dwg SALMA HANI ALI _G00088270 AXONOMETRIC DRAWING CONSTRUCTION AND ASSEMBLY GENERATIVE DIAGRAM
STEP 5 : STEP 6 :
SHA.07 23 03 2023 SALMA.A louverdesign.dwg SALMA HANI ALI _G00088270 RENDERS OF THE GLASS LOUVER INTERIOR RENDER
SHA.07 23 03 2023 SALMA.A louverdesign.dwg SALMA HANI ALI _G00088270 RENDERS OF THE GLASS LOUVER CLOSE UP OF EXTERIOR RENDER

A3 | JAPANESE JOINT STUDY

DESIGN PROPOSAL

JAPANESE JOINT

SAMPO GUMI SHIKUCHI

DETAIL DRAWINGS

PAVILION DESIGN

The Sampo Gumi Shikuchi exhibition designed by the Japanese architect Kengo Kuma. The exhibition was held at the Aomori Museum of Art in Japan in 2019 and focused on the history and legacy of the Sampo Gumi Shikuchi joint venture.

The name «Sampo Gumi» translates to «Three Treasure Group» in English, referring to the three companies that came together to form the joint venture. «Shikuchi» means «precision» in Japanese, indicating the focus of the joint venture on producing high-precision semiconductors.

Kengo Kuma designed the exhibition space to reflect the precision and innovation of the Sampo Gumi Shikuchi’s semiconductor production. The exhibit featured a variety of displays, including vintage electronics products that used Sampo Gumi Shikuchi’s semiconductors, as well as interactive installations that allowed visitors to explore the history and technology of the joint venture.

Sampo Gumi Shikuchi translates to the three-sided joint is a type of traditional Japanese woodworking joint that has been used in the construction of wooden buildings, furniture, and other objects for centuries. As its name suggests, the joint consists of three pieces of wood that are joined together at a 90-degree angle.

To create a three-sided joint, one piece of wood is cut with a slot or groove that runs along its length, while two other pieces of wood are cut with matching tongues or tenons that fit snugly into the slot. When the three pieces are fitted together, the joint forms a strong and stable connection that is able to support weight and resist lateral forces.

The three-sided joint is valued for its simplicity and strength, and is often used in the construction of traditional Japanese architecture, such as tea houses and temples. The joint’s design allows for a high degree of precision and accuracy, making it ideal for use in the intricate and delicate work that is characteristic of Japanese woodworking.

In addition to its practical applications, the three-sided joint is also valued for its aesthetic qualities. The joint’s clean lines and precise angles create a visually striking pattern that is often used as a decorative element in furniture, doors, and other wooden objects.

` SAMPO
GUMI SHIKUCHI 三方組仕口

KEY CLIENT : IGOR PERAZA

DRAWN BY : SALMA HANI ALI

PROJECT: JAPANESE JOINT

DRAWING : ASSEMBLY PROCESS

ARC 382

SAMPO - GUMI - SHIKUCHI 三方組仕口

SPRING 2023

KEY CLIENT : IGOR PERAZA

DRAWN BY : SALMA HANI ALI

PROJECT: JAPANESE JOINT

DRAWING : MODULE A ELEVATIONS

450 mm 150 mm 150 mm 150 mm 150 mm 450 mm 150 mm 150 mm 150 mm 150 mm 450 mm 150 mm 150 mm 150 mm 150 mm 450 mm 150 mm 150 mm 150 mm 150 mm 150 mm 150 mm 150 mm 150 mm FRONT ELEVATION BACK ELEVATION SOUTH ELEVATION NORTH ELEVATION WEST ELEVATION EAST ELEVATION MODULE A 150 mm 150 mm 150 mm 150mm 150mm 450 mm
ARC 382
SAMPO
三方組仕口 150 mm 65 mm 150 mm 65 mm 150 mm 65 mm 150 mm 65 mm
SPRING 2023
- GUMI - SHIKUCHI

SECTIONCC MODULE A SECTION BB

SECTIONBB

150 mm 150 mm 150 mm 150 mm 65 mm

KEY CLIENT : IGOR PERAZA

DRAWN BY : SALMA HANI ALI

PROJECT: JAPANESE JOINT

DRAWING : MODULE A SECTIONS

150 mm 150 mm

ARC 382

SAMPO - GUMI - SHIKUCHI 三方組仕口 SECTIONAA

SPRING 2023 SECTION AA SECTION CC

150 mm 75 mm

150mm 450 mm 450 mm 150 mm

150 mm 150mm

150 mm 150 mm 150 mm

KEY CLIENT : IGOR PERAZA

150 mm 150 mm 150 mm 150 mm

150 mm 75 mm

150 mm 75 mm

150 mm 75 mm

DRAWN BY : SALMA HANI ALI

150 mm 150 mm 150 mm

450 mm 150 mm

150 mm 150 mm 150 mm

450 mm 150 mm

150 mm 150 mm 150 mm

450 mm 150 mm

PROJECT: JAPANESE JOINT

SAMPO - GUMI - SHIKUCHI 三方組仕口 150 mm 150 mm

DRAWING : MODULE B ELEVATIONS

NORTH ELEVATION FRONT ELEVATION BACK ELEVATION SOUTH ELEVATION WEST ELEVATION EAST ELEVATION
ARC 382 SPRING 2023 MODULE B

SECTIONCC MODULE B SECTION BB

KEY CLIENT : IGOR PERAZA

150 mm 150 mm

150 mm 150 mm 75 mm

三方組仕口 SECTIONBB

SAMPO - GUMI - SHIKUCHI SECTIONAA

PROJECT: JAPANESE JOINT

ARC 382

150 mm 150 mm

DRAWN BY : SALMA HANI ALI

DRAWING : MODULE B SECTIONS

SPRING 2023 SECTION AA SECTION CC

KEY CLIENT : IGOR PERAZA

DRAWN BY : SALMA HANI ALI

PROJECT: JAPANESE JOINT

DRAWING : MODULE C ELEVATIONS

ARC 382

SAMPO - GUMI - SHIKUCHI

SPRING 2023

FRONT ELEVATION BACK ELEVATION SOUTH ELEVATION NORTH ELEVATION WEST ELEVATION EAST ELEVATION 150 mm 450 mm 75 mm 225 mm 150 mm 150 mm 150 mm 150 mm 75 mm 450 mm 150 mm 150 mm 450 mm 150 mm 150 mm 225 mm 150 mm 150 mm 450 mm 75 mm 150 mm 150 mm 150 mm
三方組仕口 225 mm 150 mm 75 mm 150mm 150mm 450 mm 225 mm MODULE C 150 mm 150 mm 150 mm 150 mm

75 mm 150 mm

150 mm 150 mm 150 mm

KEY CLIENT : IGOR PERAZA

三方組仕口 SECTIONBB SECTIONCC MODULE C SECTION BB

150 mm 150 mm

75 mm 150 mm

SAMPO - GUMI - SHIKUCHI SECTIONAA

PROJECT: JAPANESE JOINT

ARC 382

DRAWN BY : SALMA HANI ALI

DRAWING : MODULE C SECTIONS

SPRING 2023 SECTION AA SECTION CC

C D C D

KEY CLIENT : IGOR PERAZA

DRAWN BY : SALMA HANI ALI

PROJECT: JAPANESE JOINT

150 mm 150 mm

75 mm 150 mm

150 mm

SAMPO - GUMI - SHIKUCHI 三方組仕口 B B AXO OF THE JOINT KEY PLAN OF THE JOINT SECTION AA

DRAWING : JOINT SECTION AA

75 mm 150 mm

ARC 382 SPRING 2023 A A

C D C D

KEY CLIENT : IGOR PERAZA

DRAWN BY : SALMA HANI ALI

150 mm 450 mm 75 mm 150 mm

75 mm 150 mm

150 mm

SAMPO - GUMI - SHIKUCHI 三方組仕口 B B AXO OF THE JOINT KEY PLAN OF THE JOINT SECTION BB

PROJECT: JAPANESE JOINT

DRAWING : JOINT SECTION BB

ARC 382 SPRING 2023 A A

KEY CLIENT : IGOR PERAZA

DRAWN BY : SALMA HANI ALI

PROJECT: JAPANESE JOINT

DRAWING : EXTERIOR RENDER

ARC 382

SAMPO - GUMI - SHIKUCHI 三方組仕口

SPRING 2023

A PAVILION FOR RELAXATION AND RESPITE

KEY CLIENT : IGOR PERAZA

DRAWN BY : SALMA HANI ALI

PROJECT: JAPANESE JOINT

DRAWING : INTERIOR RENDER

ARC 382

SAMPO - GUMI - SHIKUCHI 三方組仕口

SPRING 2023

A PAVILION FOR RELAXATION AND RESPITE

A4 | FINAL DETAIL DRAWINGS

CURVED GLASS LOUVER

MURABA RESIDENCE LOUVER SYSTEM

FINAL DETAIL DRAWINGS

STRUCTURAL SILICON

GALVANIZED STEEL GLASS SHOE

BOLT

VERTICAL STEEL ELEMENT WELDED TO A STEEL PLATE

HEAVY DUTY BOLT WELDED TO STEEL PLATE

STEEL PLATE

STEEL PLATE

STEEL I BEAM

42 mm 25 mm 33 mm 160 mm 70 50 26 17 mm 33 mm 364 mm 400 mm 427 mm 14 mm 10 mm 10 mm
SHA.07 23 03 2023 SALMA.A louverdesign.dwg SALMA HANI ALI _G00088270 95 mm 18.00 mm 18.00 mm 18.00 mm 18.00 mm 10 mm 10 mm 10 mm 10 mm 3 mm 5 mm 5 mm 39 mm 69 mm 55 mm 80 mm 167 mm 45 mm 248 mm 386 mm 414 mm 146 mm 254 mm 21 mm 14 mm 51 mm 30 mm 21 mm 14 mm 51 mm 30 mm 15 mm 5 mm 10 mm 3 mm 5 mm 5 mm 39 mm 69 mm TEMPERED CURVED GLASS PLANE FILM STEEL PLATE STEEL PLATE STEEL NUT BOLT GALVANIZED STEEL SHOE STRUCTURAL SILICON STEEL PLATE WELDED TO THE I-BEAM A BOLT WELDED TO THE STEEL PLATE STEEL I-BEAM STEEL VERTICAL ELEMENTS WELDED TO A STEEL PLATE HEAVY DUTY BOLTS STEEL GLASS SHOE LAYERS OF CURVED GLASS WITH FILM IN BETWEEN STRUCTURAL SILICON AXONOMETRIC DRAWING EXPLODED AXO OF THE GLASS LOUVER ELEMENTS PLAN 1:2.5 PLAN DETAIL DRAWING GLASS LOUVER DETAIL DRAWING AXONOMETRIC DRAWING EXPLODED AXO OF THE GLASS LOUVER ELEMENTS PLAN 1:2.5 PLAN DETAIL DRAWING GLASS LOUVER DETAIL DRAWING 95 mm 18.00 mm 18.00 mm 18.00 mm 18.00 mm 10 mm 10 mm 10 mm 10 mm 3 mm 5 mm 5 mm 39 mm 69 mm 55 mm 80 mm 167 mm 45 mm 248 mm 386 mm 414 mm 146 mm 254 mm 21 mm 14 mm 51 mm 30 mm 21 mm 14 mm 51 mm 30 mm 15 mm 5 mm 10 mm mm 5 mm 5 mm 39 mm 69 mm TEMPERED CURVED GLASS PLANE STEEL PLATE STEEL PLATE STEEL NUT GALVANIZED STEEL SHOE STRUCTURAL SILICON 10 mm 30 mm 60 mm 100 mm 150 mm 200 mm mm Plan Scale 1:2 ARC 382 S21 Final Detail Drawing Glass Louver Detail Drawing Salma Hani Mubarak Ali _ 88270

STRUCTURAL SILICON

VERTICAL STEEL ELEMENT WELDED TO A STEEL PLATE

STEEL PLATE STEEL PLATE CURVED GLASS LOUVER STEEL I BEAM 90 mm 10 mm 80 mm 100 mm 20 mm 20 mm 42 mm 25 mm 33 mm 73 mm 160 mm 70 mm 50 mm 26 mm 17 mm 33 mm 10 mm 10 mm 364 mm 400 mm 427 mm 14 mm 10 mm 10 mm FILM CURVED GLASS LOUVER CURVED GLASS LOUVER 3490 mm 254 mm AXONOMETRIC DRAWING EXPLODED AXO OF THE CURVED GLASS LOUVER ELEMENTS SECTION 1:2.5 SECTION DETAIL DRAWING SECTION THROUGH THE CURVED GLASS LOUVER AXONOMETRIC DRAWING EXPLODED AXO OF THE CURVED GLASS LOUVER ELEMENTS SECTION 1:2.5 SECTION DETAIL DRAWING SECTION THROUGH THE CURVED GLASS LOUVER 95 mm 18.00 mm 18.00 mm 18.00 mm 18.00 mm 10 mm 10 mm 10 mm 10 mm 3 mm 5 mm 5 mm 39 mm 69 mm 55 mm 80 mm 167 mm 45 mm 248 mm 386 mm 414 mm 146 mm 254 mm 21 mm 14 mm 51 mm 30 mm 21 mm 14 mm 51 mm 30 mm 15 mm 5 mm 10 mm 3 mm 5 mm mm 39 mm 69 mm CURVED GLASS PLANE STEEL SHOE SILICON 10 mm 30 mm 60 mm 100 mm 150 mm 200 mm mm Plan Scale 1:2 ARC 382 | S21 | Final Detail Drawing Glass Louver Detail Drawing Salma Hani Mubarak Ali _ 88270

SHA.07 23 03 2023 SALMA.A louverdesign.dwg SALMA HANI ALI _G00088270
GALVANIZED STEEL GLASS SHOE BOLT
HEAVY DUTY BOLT WELDED TO STEEL PLATE

Glass Louver Detail Drawing

ARC 382 | ARCHITECTURE DETAILING

95 mm 18.00 mm 18.00 mm 18.00 mm 18.00 mm 10 mm 10 mm 10 mm 10 mm 3 mm 5 mm 5 mm 39 mm 69 mm 55 mm 80 mm 167 mm 45 mm 248 mm 386 mm 414 mm 146 mm 254 mm 21 mm 14 mm 51 mm 30 mm 21 mm 14 mm 51 mm 30 mm 15 mm 5 mm 10 mm 3 mm 5 mm 5 mm 39 mm 69 mm TEMPERED CURVED GLASS PLANE FILM STEEL PLATE STEEL PLATE STEEL NUT BOLT GALVANIZED STEEL SHOE STRUCTURAL SILICON 95 mm 18.00 mm 18.00 mm 18.00 mm 18.00 mm 10 mm 10 mm 10 mm 10 mm 3 mm 5 mm 5 mm 39 mm 69 mm 55 mm 80 mm 167 mm 45 mm 248 mm 386 mm 414 mm 146 mm 254 mm 21 mm 14 mm 51 mm 30 mm 21 mm 14 mm 51 mm 30 mm 15 mm 5 mm 10 mm 3 mm 5 mm 5 mm 39 mm 69 mm TEMPERED CURVED GLASS PLANE FILM STEEL PLATE STEEL PLATE STEEL NUT BOLT GALVANIZED STEEL SHOE STRUCTURAL SILICON 10 mm 30 mm 60 mm 100 mm 150 mm 200 mm mm Plan Scale 1:2 ARC 382 S21 | Final Detail Drawing Glass Louver Detail Drawing Salma Hani Mubarak Ali 88270 Plan Scale 1:2.5 ARC 382 | S23 | Final Detail Drawing
Salma Hani Mubarak Ali _ 88270
FINAL COMPREHENSIVE BINDER SPRING 2023 _ PROF. IGOR PERAZA Salma Hani Mubarak Ali _ 88270 Plan Scale 1:2.5 ARC 382 | S23 | Final Detail Drawing
Salma Hani Mubarak Ali _ 88270
Glass Louver Detail Drawing

Turn static files into dynamic content formats.

Create a flipbook
Issuu converts static files into: digital portfolios, online yearbooks, online catalogs, digital photo albums and more. Sign up and create your flipbook.