Pre Dimensionamientos CONCRETO ARMADO 2025

Page 1


Mgtr. Arq. Luis Fernando Ruano Paz P R E D I M E N S I O N A M I E N T O S

Arquitectura y Diseño

1. GENERAL

- Es un edificio con una estructura principal de concreto reforzado.

- La estructura se encuentra localizada según indique los planos de arquitectura

2. CONCRETO

Las columnas y muros se han especificado con concretos con f'c= 560 kg/cm², f'c= 490 kg/cm², f'c= 420 kg/cm², f'c= 385 kg/cm², f'c= 350 kg/cm² y f'c= 280 kg/cm² esas resistencias han permitido reducir la cuantía de acero en elementos de soporte Es extremadamente importante que si se logren las resistencias especificadas a los 28 días o lo indicado en el plano.

3. ACERO DE REFUERZO

- Barras milimétricas y mallas electrosoldadas: fy > 5000 kg/cm² ASTM A1064.

- No 2: (d=7/32", fy > 2300) o (d=4.5 mm, fy 5000 kg/cm²)

- Calibre No 3 al No 11: ASTM A706 (grado 60) y ASTM A706 (grado 80)

Se permite utilizar ASTM A615 con las siguientes restricciones:

Sección 20.2.2.5 aci 318-14

I: La resistencia a la fluencia real medida en ensayos en la siderúrgica no exceda fy en más de 18,000 psi

II: La relación entre la resistencia a la tracción real a la resistencia a la fluencia real es al menos 1.25

III: La elongación mínima en una longitud de medición de 0 20m debe ser al menos 14 por ciento en barras de diámetro No 3 a No 6, al menos 12 por ciento en barras de diámetro No 7 a No 11, y al menos 10 por ciento en barras de diámetro 14 y No 18

4a. EXTENSIÓN DE LAS

FUNDICIONES

Las fundiciones grandes deben fragmentarse para minimizar esfuerzos residuales y agrietamiento Área máxima recomendable de colados de entrepisos 600m² sin exceder 115 metros de perímetro. Fundiciones de mayor extensión pueden ser considerados por el constructor, pero deberán tomarse precauciones adicionales para prevenir agrietamiento por contracción Ver nota sobre control de fisuración La extensión de las fundiciones se limitará al área cuyo refuerzo esté totalmente preparado y fijado al iniciar la operación de fundición

4b. ALTURA DE LAS FUNDICIONES

Las columnas y muros estructurales se fundirán en una sola etapa (utilizando recursos anti-disgregantes mecánicos o químicos donde sea necesario). Las fundiciones de columna se llevarán hasta el fondo de la viga superior sin dejar ninguna longitud sin fundir, (a veces en América Central se deja un pequeño tramo de columna de 10 cm sin fundir - esto no es recomendable)

4c. DESENCOFRADOS, DESENTARIMADOS Y REAPUNTALAMIENTOS

El desencofrado de las superficies verticales se retardará lo suficiente para que el concreto haya finalizado el curado inicial (12 horas o más en general)

El desentarimado de elementos horizontales se podrá efectuar cuando el elemento se autosoporte con las cargas realmente impuestas (usualmente al alcanzar el 70% de la resistencia final); antes de cargar una losa "verde" o reciente se reapuntalará. Los reapuntalamientos serán calculados por el constructor y su propósito será transmitir a una superficie inferior los excedentes de carga que la losa no deba soportar Las operaciones de fundición ejercen cargas vivas del orden de 500kg/m² o más, además del peso de tarima

5 JUNTAS FRÍAS

Juntas frías horizontales, especialmente columnas y muros: Martelinar toda la superficie; limpieza absoluta antes de fundir; sellar pie de formaleta para evitar fuga de lechada. Fundir nuevo concreto sobre superficie anterior sin morteros ni pegamentos. Limpiar varillas de siguiente junta inmediatamente después de fundir.

Juntas frías verticales, especialmente vigas (obviar si es posible);

Junta vertical o bien un escalón de 0.30m; no inclinar junta; limpieza de varillas inmediatamente después de fundir y martelinar superficie; para siguiente fundición saturar con agua; no requiere pegamento; fundir siguiente tramo

6. CURADO

Superficies horizontales: por inundación (curador es aceptable, pero se recomienda doble aplicación con 24 horas de intervalo)

Superficies verticales: aplicar curador inmediatamente después de desencofrar, proteger del viento

6a ALISADO DE SUPERFICIE

Cuando se requiera alisado con "helicópteros" u otros niveladores de precisión y esto implique retardar el inicio del curado varias horas, se tomarán dos precauciones:

I: Se programarán fundiciones de poca extensión (a criterio) en horas de menor insolación.

II: Se aplicará un retardador de evaporación (como con film de Basf o equivalente).

7. TRASLAPES, GANCHOS Y ANCLAJES

- No se usará ninguna soldadura en el refuerzo.

8. PUNTALES ESTRUCTURALES

- Tubo cuadrado: material según especificaciones de estructura metálica

- Tubo circular: material según especificaciones de estructura metálica

FISURACIÓN Y AGRIETAMIENTO ADVERTENCIA DE FISURACIÓN E IMPERMEABILIDAD

El concreto está sujeto a ciertas fisuraciones especialmente en losas, al centro de vigas, en cenefas y sillares

EL CONCRETO NO ES IMPERMEABLE

El concreto reforzado no es impermeable, deja pasar humedad por sus poros y por sus fisuras; para evitar esto debe impermeabilizarse. Todas las superficies horizontales expuestas a la intemperie requieren impermeabilización formal preferentemente con membranas, películas y calafateos. Todas las superficies verticales requieren repelente de agua Todas las sisas deberán ser calafateables (es decir deben tener más de 1cm de espesor)

CONTROL DE FISURACIÓN

Si se desea minimizar la fisuración de losas deberá utilizarse un concreto con el mínimo contenido de agua posible, fluidificado y plastificado con los aditivos recomendados por el proveedor de concreto y deberá implementarse un programa de curado estricto. Para losas, deberá indicarse al proveedor de concreto que se desea minimizar fisuras y que recomiende una mezcla de baja retracción conforme a los materiales disponibles

La fisuración por contracción de fraguado del concreto puede reducirse con una adecuada planificación de etapas de fundición, limitando la superficie a fundir a dimensiones que se pueda fundir en menos de una jornada laboral; el sol directo promueve evaporación temprana la cual deberá controlarse; el viento también promueve evaporación temprana; el uso de corta-vientos reduce las fisuras.

El curado del concreto deberá iniciarse a la brevedad posible.

FISURACIÓN POR CARGA VERTICAL

Las vigas tienden a fisurarse al centro, especialmente donde hay vigas secundarias al centro del claro o en claros libres largos se forman de 2 a 6 fisuras separadas 30 o 40 cm entre sí Esto es más notorio en sótanos donde hay carga dinámica y no hay cielo suspendido. Estas fisuras no implican deficiencia estructural.

FISURAS Y GRIETAS POR SISMO

En caso de sismo fuerte, el agrietamiento de tabiques de mampostería es inevitable. El agrietamiento de vigas es de esperarse, así como agrietamiento de muros de concreto. Después de sismos intensos debe establecerse un programa de inspección de grietas y un programa de resane y reparación La estructura no colapsará, pero el grado de fisuración y daño a vidrieras y tabiques aumenta con la intensidad Mercalli del sismo

E S P E C I F I C A C I O N

FISURAS EN TABIQUES DE MAMPOSTERÍA

Las losas son flexibles y los tabiques de mampostería tienen gran rigidez y las fisuras son inevitables. Se pueden minimizar construyendo paños cortos (2 00 m) separados por sisas verticales de 1 cm Selladas con Sikaflex Si los tabiques se fijan rígidamente a la losa de techo pueden crearse fisuras horizontales; para reducirlas dejar holgura arriba y usar retenedores laterales de pared

Asegurarse con el proveedor del block que las unidades ya están volumétricamente estables Ocasionalmente se han producido mayor número de fisuras en blocks de reciente fabricación que aún se contrajeron después de usarlos en el levantado.

MAMPOSTERÍA DE BLOCK DE CONCRETO TABIQUES INTERIORES NO-ESTRUCTURALES

BLOCK DE CONCRETO

- Resistencia de la unidad: 35 kg/cm² medida sobre área bruta

- Relación área neta/área bruta mayor que 0.45.

- Tamaño de unidades l x h x t según indique plano > 0.39x0.19x0.14m o 0.39x0.19x0.19m.

MORTERO DE PEGA

- De arena, cemento y una pequeña parte de cal hidratada f’m = 125 kg/cm2.

- Adquirirlo premezclado; en su defecto agregar componentes para trabajabilidad según IBC

- Aplicarlo en dos tiras paralelas de 2 5 cm a 3 00 cm de ancho y 1 cm de espesor

ACERO DE REFUERZO

- ASTM A615 grado 40 (o grado 60 sin reducción)

- No se permite grado 70 estirado en frío excepto en estribos, eslabones y soleras

- Las varillas No. 2 pueden ser grado 33 o alta resistencia de 4.5mm.

CONCRETO PARA SOLERAS Y NERVIOS VERTICALES

- f'c = 175 kg/cm2, agregado grueso de 3/8”

GRAUT PARA ADHERIR REFUERZO INTERBLOCK

- Graut fluido (revenimiento 8 a 9 pulgadas)

- Resistencia f'g > 175 kg/cm2 (puede ensayarse mezcla de cemento/arena/gravilla 1/4" con proporciones en volumen 1:3:1 1/2 fluidificada con un aditivo apropiado, modificándola según se requiera

- El control de calidad del refuerzo interblock se hará conforme especificaciones IBC

Fuente: SismoConsult / Ing. Héctor Monzón Despang.

CANTIDAD DE MATERIALES PARA 1 M³ DE CONCRETO FRAGUADO

CONCRETOS DE ALTA RESISTENCIA

CONCRETOS DE MEDIANA RESISTENCIA

CONCRETOS DE BAJA RESISTENCIA

CONCRETOS DE ALTARESISTENCIA= 200 A300 kg/cm² (2,800 psi. A4,300 psi.)

CONCRETOS DE MEDIANARESISTENCIA= 140 A200 kg/cm² (2,000 psi. A2,800 psi.)

CONCRETOS DE BAJARESISTENCIA= 75 A140

NOTAS:

PROPORCIÓN VOLUMÉTRICA X X

(1,100

* 1 saco de cemento = 1 pie3 = 42.5 kg. = 94 lbs. Tipo IPortland

* Un buen concreto lo define: Relación agua - cemento

* Agregado fino: Arena caliza

* Agregado grueso: Piedrín de 3/8" ó 1/2"

A

* Para hacer terciados en obra, se fabrica la "parihuela" (cajón de madera); sirve para obtener proporciones deseadas. Volumen interno = 1 pie3

* Para concreto considerar un desperdicio del 5%

VARILLAS DE REFUERZO PARA CONCRETO

No. DE VARILLA (octavos pulgada) DIÁMETRO (pulgadas)

* Basados ennormas COGUANOR

Para efectos de cálculo de hierro utilizar éstas cantidades.

NOTAS:

* Todas las varillas son corrugadas, a excepción de las de 1/4" que son lisas.

* Resistencia de las varillas al esfuerzo de tensión:

Grado 60 = 60,000 lbs./pulg.2

Grado 40 = 40,000 lbs./pulg.2

* Clases de hierro en el mercado: > Legítimo (Grado 40 y 60)

> Comercial (Grado 33)

> Milimétrico (Grado 70)

TRASLAPES Y ANCLAJES DEL ACERO DE REFUERZO

No. DE VARILLA (octavos pulgada)

DIÁMETRO

(pulgadas)

TRASLAPES EN COLUMNAS (metros) TRASLAPES EN LOSAS Y VIGAS (metros)

(metros)

NOTAS:

* Traslapar como máximo hasta un 50% del refuerzo a una misma altura, o en una misma zona de traslape.

* No traslapar en intersección con vigas.

* Traslape = 30 Ø del refuerzo o 10 cms. por c/octavo del refuerzo.

F'y y F'c

Cimientos, Vigas y Losas:

Acero: f'y = 60,000 psi.

Concreto: f'c = 4,000 psi.

Columnas:

Acero: f'y = 60,000 psi.

Concreto: f'c = 5,000 psi.

ESPECIFICACIONES DE RECUBRIMIENTOS MÍNIMOS DE CONCRETO:

(para protección del acero de refuerzo)

* Estructuras fundidas directamente contra el suelo = 0.08 mts.

* Estructuras expuestas a contacto con el suelo, pero fundidas con formaletas (soleras, vigas de cimentación, etc.) = 0.05 mts.

* Columnas y vigas = 0.04 mts.

* Losas y vigas secundarias = 0.02 mts.

ÁREA DE ACERO DE LAS VARILLAS DE REFUERZO

No. DE VARILLA (octavos pulgada)

DIÁMETRO (pulgadas)

ÁREA DE ACERO (pulgadas2)

DE ACERO (centímetros2)

LONGITUDES DE GANCHOS PARA ESTRIBOS

No. DE VARILLA DIÁMETRO

DE VARILLA DIÁMETRO (octavos pulgada) (pulgadas)

NOTAS:

* C = Longitud de gancho sin curvatura

* K = Longitud de gancho con doblez

Cuantía: Se refiere a la relación entre área de acero respecto al área bruta de concreto en una sección transversal. Relación 1% - 4%

Cuantía = As (sección de acero)

Ac (sección bruta concreto)

Cuantía de columna:

Cc = As b x h

Cuantía de viga:

Cv = As b x d

Ejemplo cálculo de cuantía en columna:

Columna 24” x 24” = 576 pulg. 2

>> 8 varillas Ø 1 1 / 4” x 1.27 = 10.16 pulg. 2 •

>> 8 varillas Ø 1 1 / 8” x 1.00 = 8.00 pulg. 2 

Total: 18.16 pulg. 2

Cuantía de acero:

Cc = As >>> 18.16 pulg.2 = 3.15% b x h 576 pulg.2

24”
24”

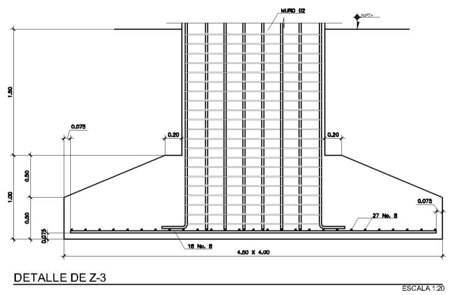
• Sección Zapatas:

>> Base = 5 veces lado mayor de columna

Ejemplo: columna de 0.80 x 0.80 m. = 0.80 x 5 = 4.00 m. x 4.00 m.

>> Peralte = 1/5 - 1/7 de la base, o 12% de la base

Ejemplo: 4.00 / 5 = 0.80 m.

4.00 / 7 = 0.57 m.

4.00 x 12% = 0.48 m.

0.62 m (promedio)

Zapata trapezoidal: h = B/4 > B/3

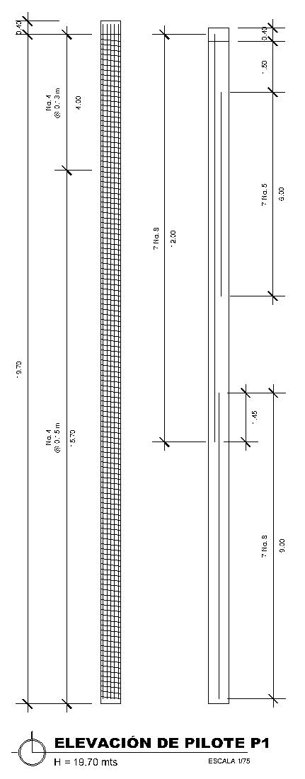
• Pantalla de Pilotes:

• Sección Columnas:

>> (No. de niveles x 5) + 30

Ejemplo: (10 niveles x 5) + 30 = 80 cms. x 80 cms.

>> 7 a 10 cms. por cada nivel

Ej: 8 niveles x 10 cms. = 80 cms. x 80 cms.

>> Por gráfica

Ej: Promedio = 75 cms. x 75 cms.

Gráficos para el predimensionado de estructuras

Argimiro Castillo Gandica

• Separación máxima de Estribos:

>> 16 Ø del refuerzo principal

>> 48 Ø del propio estribo

>> Lado menor de columna usar menor !!!

• Zona de confinamiento de Estribos:

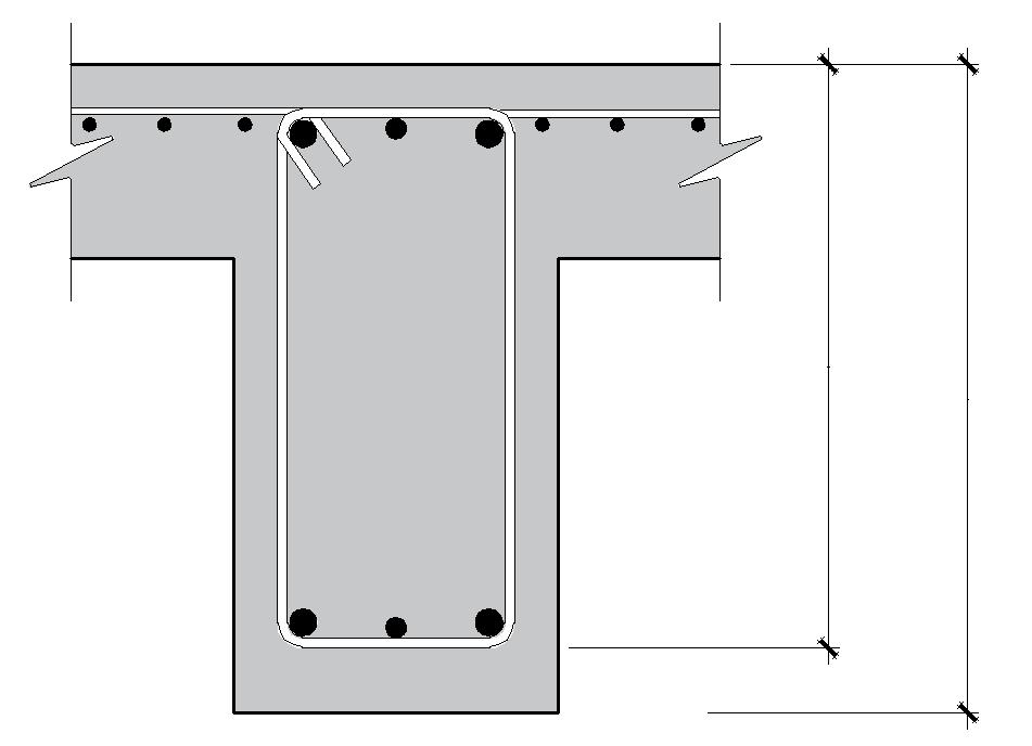
Armado columna:

• Traslapes columnas y vigas:

L E V A C I Ó N

Traslapes de refuerzo longitudinal de vigas y columnas Hacerse afuera de las zonas sombreadas

E

• Peralte de viga:

>> p= L/10 > L/12

>> p= 10 % x luz entre ejes

>> p= Por gráfica

Distancia entre columnas “L”

Viga
Columna
Columna
Ancho “b”
Peralte “p”

• Predimensionamiento peralte:

Ejemplo: Luz entre ejes = 9.50 m

p = 9.50 m / 10 = 0.95 m

p = 9.50 m / 12 = 0.79 m

p = 9.50 m x 10% = 0.95 m

p = gráfica promedio = 0.71 m

m (promedio)

Gráficos para el predimensionado de estructuras

Argimiro Castillo Gandica

• Ancho de viga:

>> b= p/2 > p/3

Ancho “b” = 0.38

Ejemplo:

0.90/2 = 0.45 > 0.90/3 = 0.30

Promedio b = 0.38

p = 0.90

• Viga secundaria:

>> p = 65% al 70% del peralte de la viga principal

Ejemplo: 0.90x65% = 0.59 > 0.90x70% = 0.63

Promedio p = 0.61 b = 0.30

Viga principal

p = 0.61

b = 0.30

Viga secundaria

Viga principal

• Refuerzo principal

>> Ø = Cuantía de acero 1.5% - 2%

>> Ø = 1/8 de hierro por c/ml de viga

Ejemplo: 9.50 m x 1/8 = 9.5/8 > Varilla No. 9 o No. 10 Ø = 1 1/8” > 1 1/4"

• Estribos en vigas:

135°

Refuerzo transversal

Gancho cerrado a 135° S 135°

Separación entre estribos 10 veces el Ø del estribo

Refuerzo longitudinal

Vista tridimensional de los estribos verticales

Separación máxima de los estribos

• Estribos: separaciones y dimensiones mínimas

1 ½”

1/4”, 3/8”, 1/2” Ø refuerzo

1 ½”

• 1 Ø refuerzo, ó

• 1 1/3 veces el tamaño del agregado grueso, ó

• 1” mínimo

• Vigas en voladizo:

Viga anclada a un marco

Viga anclada a más de un marco

Voladizo
Voladizo

• Estribos: confinamiento

• Refuerzos longitudinales en vigas:

L

Estribos Corridos

L

L

L

L

Tensión recta

Tensión con doblez

• Vigas de gran peralte:

Adicionalmente al refuerzo superior e inferior, se necesitan hierros corridos intermedios, para evitar el pandeo local de los estribos.

>> L / d = > 5 (L= Luz entre apoyos, d= Peralte efectivo)

Ejemplo:

7.50 m / 0.56 m = 13.39 > 5

Si necesita hierros intermedios

Generalmente Ø 3/8” y Ø 1/2"

0.60 d = 0.56

• Peralte “t” losa tradicional:

>> t = Perímetro / 180

>> Espesor mínimo = 0.10 m.

>> Espesor máximo = 0.14 m. Debido a que excede su peso.

Si se pasa del espesor permitido, existen 2 posibilidades:

1. Utilizar otro sistema.

2. Dividir la losa por medio de vigas.

• Armado losa tradicional:

> Refuerzo principal en 1 dirección (corto) = L / A > 2

> Refuerzo principal en 2 direcciones = L / A < 2

▪Ejemplos:

> L=3.75 m. y A=1.50 m. 3.75/1.50 = 2.5 >> armado 1 dirección > L=3.75 m. y A=2.25 m. 3.75/2.25 = 1.67 >> armado 2 direcciones

Losa armada con doble cama de electromalla

• Losa tradicional:

Longitudes (desde eje de muro)

Bastón = L/4

Tensión = L/5

Riel = L

Bastón
Tensión
Riel

Dimensiones Electromalla:

▪ 6.00 m de largo x 2.35 m de ancho

▪ 14.10 m² de área bruta

▪ Traslape por temperatura 0.15 m

▪ 11.68 ≈ 12 m² de área útil

▪ Cuadros de 15 x 15 cm. (6” x 6”)

▪ Fabricada con varilla de acero Grado 70

Aplicaciones sugeridas:

Casas:

▪ 10/10 y 9/9

Edificios:

▪ 7/7 y 6/6

Aplicaciones Sugeridas

▪ 10/10 Banquetas delgadas, cenefas, planchas prefabricadas.

▪ 9/9 Refuerzo para losas prefabricadas 5-6 cms. Prefabricados en general. Pisos: tráfico liviano hasta 5cms.

▪ 8/8 Refuerzo para losas prefabricadas 5 6 cms. Tabiques de

Documento elaborado con fines académicos

Facultad de Arquitectura y Diseño

Universidad Rafael Landívar

Departamento de Arquitectura

Guatemala, C.A.

C o n s t r u c c i ó n 4

Mgtr. Arq. Luis Fernando Ruano Paz 2 0 2 2

Turn static files into dynamic content formats.

Create a flipbook
Issuu converts static files into: digital portfolios, online yearbooks, online catalogs, digital photo albums and more. Sign up and create your flipbook.