McCormick GX Series Tier 1 (2002-2004) - RP80 - GX45 GXH45 Tractor Parts Catalogue Manual Instant D

Page 1

4204519M94 1 1

This is a component of an assembly !

Replacement 3

Replacement T-A

Overhaul T-B

Complete with flywhell A

GX\00010157.png
Mistral
N.L.A.(1)
A 12:0 T-A 30:0 T-B Engine
!
Flywheel
3
4204280M91 1 2 1
3653762M1(1) 3 10:50 T-A
GX Series Tier 1 (2002-2004) - RP80 - GX45 / GXH453670638M2 McCormick_Ne w
3666912M1 1 1 3653900M1(1) 3 33:50 T-A Cylinder 3653754M1 1 2 0.1.2. (X) 5:50 T-A Gasket 3653428M1 18 3 Stud 3653316M1 2 4 1 ! 0:25 T-A Plug 3653796M1 1 5 1 ! 0:25 T-A Plug 3653429M1 10 6 1 ! Bolt 3653432M1 2 7 1 ! 4215968M1(2) 3 16:50 T-A Ring 3653433M1 2 7 4215970M1(2) 3 A 16:50 T-A Ring 3653336M1 5 8 1 ! 4215967M1(5) 3 16:50 T-A Kit 3653431M1 5 8 3653431M2(5) 3 B 16:50 T-A Ring 3665017M1 1 9 1 ! 0:25 T-A Plug 3664445M1 1 10 1 ! Plug 3653888M1 2 11 1 ! Plug GX Series Tier 1 (2002-2004) - RP80 - GX45 / GXH453670638M2 McCormick_Ne w
Mistral GX\00001425.png

Mistral GX\00001425.png

GX Series Tier 1 (2002-2004) - RP80 - GX45 / GXH453670638M2

3653889M1 8 12 1 !

3653889M2(8) 3 0:75 T-A

3653791M1 1 13 1 ! 0.1.2. (X) 31:0 T-A

Plug

Bearing

3653886M1 1 14 1 ! Plug

3665018M1 1 15 1 ! Plug

This is a component of an assembly !

Replacement 3

Qty per tractors sold (aa.bbb.ccc.ddd) (aa) for 1,(bbb) 2-10 (ccc) 11-25 (ddd) 26-50 (X)

Replacement T-A

Over-size (0,25mm) part. A

Under-size (0,25mm) part. B

w
McCormick_Ne
3653902M1 1 1 16:50 T-A 18:50 T-B Shaft 3653378M1 1 2 1 ! Dowel 3653731M1 4 3 17:50 T-A Cotter 3653815M1 8 4 Clip 3653308M1 1 5 1 ! Dowel 3664468M1 1 6 1 ! 20:0 T-A Gear 3653897M1 4 7 17:50 T-A 18:0 T-B Conrod 3653383M1 4 8 7 ! 17:50 T-A Bearing 3653307M1 8 9 7 ! Bolt 3653763M1 1 10 4216750M1(1), 6510420M1(1) 3 20:0 T-A Pulley 3653794M1 1 11 Washer 3653309M1 1 12 Bolt 3653301M1 6 13 Bolt 3653762M1 1 14 10:50 T-A Flywheel 3653450M1 4 15 7 ! 4216034M1(4) 3 (X) 17:50 T-A Bearing GX Series Tier 1 (2002-2004) - RP80 - GX45 / GXH453670638M2 McCormick_Ne w
Mistral GX\00001426.png

Replacement 3

Qty per tractors sold (aa.bbb.ccc.ddd) (aa) for 1,(bbb) 2-10 (ccc) 11-25 (ddd) 26-50 (X)

Replacement T-A

Overhaul T-B

Over-size (0,25mm) part. A

Under-size (0,25mm) part. B

3653451M1 4 15 7 ! B 17:50 T-A Bearing 3653297M1 1 16 14 ! 10:50 T-A Crownwheel 3664436M1 4 17 A 17:50 T-A Piston 3664451M1 4 17 17:50 T-A Piston 3653354M1 4 18 17 ! 17:50 T-A Kit 3653356M1 4 18 17 ! A 17:50 T-A Kit
!
Mistral GX\00001426.png
This is a component of an assembly
GX Series Tier 1 (2002-2004) - RP80 - GX45 / GXH453670638M2 McCormick_Ne w
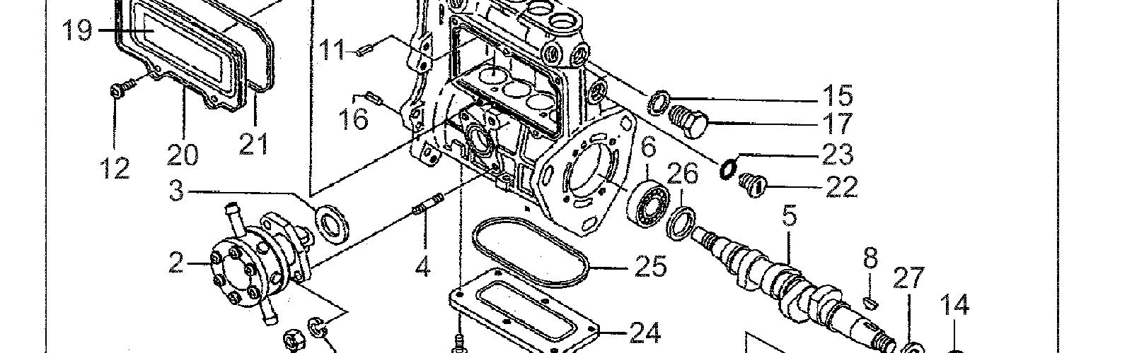
3653735M1 1 1 1:50 T-A 1:25 T-C Cover 3653858M1 2 2 1 ! Bolt 3653843M1 1 3 1 ! 0:25 T-A O ring 3653434M1 1 4 1 ! 0:25 T-A Cover 3653777M1 1 5 1 ! Gasket 3664553M1 1 6 3653948M1(1) 3 Shaft 3653469M1 2 7 6 ! 2:0 T-A Support 3653470M1 3 8 6 ! 2:0 T-A Support 3653440M1 4 9 6 ! 2:0 T-A Spring 3653776M1 1 10 6 ! 0.1.2. (X) 2:25 T-A Shaft 3653317M1 3 11 Plug 3653831M1 3 12 O ring 3653895M1 8 13 6 ! 2:0 T-C Rocker 3653439M1 1 14 13 ! Screw 3653436M1 1 15 1 ! 2:75 T-A Plate 3653444M1 1 16 13 ! Nut GX Series Tier 1 (2002-2004) - RP80 - GX45 / GXH453670638M2 McCormick_Ne w
Mistral GX\00010184.png

This is a component of an assembly !

See page - reference number 4

Replacement 3

Qty per tractors sold (aa.bbb.ccc.ddd) (aa) for 1,(bbb) 2-10 (ccc) 11-25 (ddd) 26-50 (X)

Replacement T-A

Setting T-C

3653875M1 3 17 6 ! Bolt 3653884M1 3 18 6 ! Nut 3653860M1 3 19 6 ! Bolt 3653864M1 7 20 6 ! Bolt 3653437M1 1 21 0:25 T-A Pipe 3664430M1 1 22 1 ! 3653315M1(1) 3 0:25 T-A Plug 3653835M1 1 23 22 ! 0:25 T-A O ring 3653435M1 1 24 1 ! Guard 30 A-05 045 4
Mistral GX\00010184.png
GX Series Tier 1 (2002-2004) - RP80 - GX45 / GXH453670638M2 McCormick_Ne w
3653331M1 2 1 0:25 T-A Stirrup 3653857M1 4 2 Bolt 3653761M1 1 3 8:0 T-B Bush 3653298M1 4 4 3 ! 0.8.16.3 (X) 8:75 T-A Guide 3653445M1 4 5 3 ! 0.8.16.3 (X) 8:75 T-A Guide 3653873M1 8 6 3 ! Stud 3653890M1 2 7 3 ! Plug 3653380M1 3 8 3 ! 7:75 T-A Valve 3653381M1 3 9 3 ! 3653381M2(3) 3 7:75 T-A Valve 3653792M1 8 10 3 ! 0.2.4.1 (X) 7:75 T-A Spring 3653793M1 8 11 3 ! 0.8.16.3 (X) 7:75 T-A Nameplate 3653891M1 8 12 3 ! 7:75 T-A Clip GX Series Tier 1 (2002-2004) - RP80 - GX45 / GXH453670638M2 McCormick_Ne w
Mistral GX\00010173.png

Mistral GX\00010173.png

This is a component of an assembly !

See page - reference number 4

Replacement 3

Qty per tractors sold (aa.bbb.ccc.ddd) (aa) for 1,(bbb) 2-10 (ccc) 11-25 (ddd) 26-50 (X)

Replacement T-A

Overhaul T-B

3653304M1 4 13 3 ! 0.8.16.3 (X) 7:75 T-A Thimble 3664434M1 4 14 3653323M1(4) 3 7:75 T-A Seal 3653443M1 8 15 3 ! 7:75 T-A Shim 3653818M1 2 16 3 ! 7:75 T-A Pin 3653876M1 8 17 3 ! Nut 3653265M1 4 18 3 ! 7:75 T-A Guard 3653266M1 4 19 3 ! 7:75 T-A Washer 3653267M1 4 20 3 ! 7:75 T-A Nameplate
21 A-05 04 4
GX Series Tier 1 (2002-2004) - RP80 - GX45 / GXH453670638M2 McCormick_Ne w
3653447M1 8 1 31:0 T-A Tappet 3653448M1 8 2 2:75 T-A Rod 3653896M1 1 3 31:0 T-A Shaft 3653430M1 1 4 3 ! 0:31 T-A Plate 3653800M1 1 5 0.2.4. (X) 1:0 T-A Gasket 3653446M1 1 6 3 ! 31:0 T-A Gear 3653820M1 1 7 3 ! 31:0 T-A Key 3653384M1 1 8 9:50 T-A Support 3653452M1 1 9 9:50 T-A Gear 3653879M1 1 10 Bolt 1 11 A-05 11 1 4 Pump 3653454M1 1 12 9 ! 9:50 T-A Bush 3653863M1 2 13 Bolt 3664455M1 1 14 9:25 T-A Gear 3664454M1 4 15 Screw 3653321M1 1 16 0.2.4. (X) 0:50 T-A Gasket 3653858M1 2 17 Bolt 3653300M1 1 18 0:50 T-A Cover GX Series Tier 1 (2002-2004) - RP80 - GX45 / GXH453670638M2 McCormick_Ne w
Mistral GX\00010160.png

Qty per tractors sold (aa.bbb.ccc.ddd) (aa) for 1,(bbb) 2-10 (ccc) 11-25 (ddd) 26-50

3653839M1 1 19 0.2.4. (X) 0:50 T-A O ring 3653869M1 2 20 Bolt 3653363M1 1 21 1:0 T-A Kit 3653830M1 2 22 21 ! 0.2.4. (X) 1:50 T-A Bearing 3653364M1 1 23 21 ! 1:50 T-A Gear 3653858M1 4 24 Bolt 3653320M1 1 25 0:50 T-A Cover 3653321M1 1 26 0:50 T-A Gasket
Mistral GX\00010160.png
This is a component of an assembly !
See page - reference number 4
(X)
GX Series Tier 1 (2002-2004) - RP80 - GX45 / GXH453670638M2 McCormick_Ne w
Replacement T-A
3653798M1 1 1 4:75 T-A Flange 3653305M1 3 2 Stud 3653799M1 1 3 4:75 T-A Housing 3653788M1 1 5 3 ! 72x55x9 0.2.4. (X) 2:50 T-A Seal 3664430M1 1 6 3653315M1(1) 3 Plug 3653835M1 1 7 6 ! 0:25 T-A O ring 3653321M1 1 8 0.2.4. (X) 0:50 T-A Gasket 3653789M1 2 9 Bush 3653438M1 1 10 Clip 3653310M1 1 11 4:75 T-A O ring 3665004M1 4 12 27 ! Ring 3665004M1 1 13 27 ! Ring 3653833M1 2 14 4:75 T-A O ring 3653320M1 1 15 0:50 T-A Cover 3653858M1 4 16 27 ! Bolt 3653858M1 1 17 27 ! Bolt 3653858M1 3 18 Bolt 3653863M1 6 19 Bolt 3653865M1 3 20 Bolt 3664450M1 4 21 3 ! Bolt GX Series Tier 1 (2002-2004) - RP80 - GX45 / GXH453670638M2 McCormick_Ne w
Mistral GX\00010162.png

GX Series Tier 1 (2002-2004) - RP80 - GX45 / GXH45 -

Qty per tractors sold (aa.bbb.ccc.ddd) (aa) for 1,(bbb) 2-10 (ccc) 11-25 (ddd) 26-50 (X) Replacement T-A

For application, reper to workshop manual

GX\00010162.png 3653877M1 3 22 Nut 3653299M1 1 23 0:25 T-A Cover 3653841M1 1 24 0:25 T-A O ring 3653853M1 2 25 Bolt 3653908M1 1 26 3653908M2(1) 3 A (X) Gasket 3664441M1 2
3 ! Bolt
! Replacement
Mistral
27
This is a component of an assembly
3
A
McCormick_Ne w
3670638M2
3653764M1 1 1 7:0 T-A 9:0 T-B Weight 3664476M1 1 2 1 ! 4:0 T-A Housing 3653868M1 2 3 2 ! Bolt 3653743M1 4 4 2 ! 9:0 T-A Bush 3653905M1 1 5 1 ! 9:0 T-A Kit 3653790M1 2 6 2 ! 9:0 T-A Bush 3653832M1 1 7 2 ! 9:0 T-A O ring 3653866M1 4 8 2 ! Bolt 3653827M1 1 9 2 ! Plug 3653906M1 1 10 1 ! 9:0 T-A Kit 3653308M1 1 11 1 ! Dowel 3653857M1 4 12 Bolt 3653739M1 1 13 1 ! 9:0 T-A Gear 3653334M1 1 14 1 ! Nut This is a component of an assembly ! Replacement T-A Overhaul T-B GX Series Tier 1 (2002-2004) - RP80 - GX45 / GXH453670638M2 McCormick_Ne w
Mistral GX\00001366.png
3653378M1 2 1 Dowel 3653357M1 1 2 11:25 T-A Flange 3653872M1 8 3 Bolt 3653759M1 1 4 5:75 T-A Spacer 3653358M1 1 5 5:75 T-A Spacer 3653760M1 1 6 5:75 T-A Pan 3653253M1 2 7 6 ! 0:50 T-A Plug 3653811M1 2 8 6 ! Seal 3653908M1 1 9 3653908M2(1) 3 A (X) Gasket 3653351M1 14 10 Bolt 3653352M1 4 11 Bolt 3653834M1 2 12 5:75 T-A O ring 3653860M1 8 13 Bolt 3653862M1 4 14 Bolt 3653864M1 8 15 Bolt 3653378M1 2 16 Dowel 3653379M1 1 17 4206673M1(1) 3 10:75 T-A Housing 3653908M1 1 18 3653908M2(1) 3 A (X) 10:75 T-A Gasket GX Series Tier 1 (2002-2004) - RP80 - GX45 / GXH453670638M2 McCormick_Ne w
Mistral GX\00001365.png

Mistral

3653787M1 1 19 3653787M2(1) 3 (X) 10:75 T-A

Seal

3653772M1 9 20 Bolt

This is a component of an assembly !

Replacement 3

Qty per tractors sold (aa.bbb.ccc.ddd) (aa) for 1,(bbb) 2-10 (ccc) 11-25 (ddd) 26-50 (X)

Replacement T-A

For application, reper to workshop manual A

GX\00001365.png
GX Series Tier 1 (2002-2004) - RP80 - GX45 / GXH453670638M2 McCormick_Ne w
3653744M1 1 1 6:0 T-A Pump 3653459M1 1 2 3678034M2(1) 3 (X) 0:25 T-A Filter 3653327M1 1 3 Bolt 3653808M1 2 4 Washer 3653318M1 1 5 Bolt 3653809M1 2 6 Washer 3653779M1 1 7 0:50 T-A Pipe 3653460M1 1 8 0:25 T-A Nut 3653859M1 3 9 0:25 T-A Bolt 3653457M1 1 10 0:25 T-A Support 3653458M1 1 11 0.4.8.1 (X) 0:25 T-A Gasket 3653833M1 1 12 0:25 T-A O ring 3653347M1 1 13 0:25 T-A Bolt 3653455M1 1 14 6:0 T-A Gasket 3653878M1 4 15 Bolt 3653766M1 1 16 0:25 T-A Rod 3653306M1 1 17 Guide 3653456M1 1 18 3653456M2(1) 3 6:0 T-A Gasket 3653767M1 1 19 6:0 T-A Pipe 3653861M1 2 20 Bolt 3664370M1 1 21 0:50 T-A Switch GX Series Tier 1 (2002-2004) - RP80 - GX45 / GXH453670638M2 McCormick_Ne w
Mistral GX\00010163.png

Mistral GX\00010163.png

3653847M1 1 22 Bolt

3664442M1 1 23 Screw

Replacement 3

Qty per tractors sold (aa.bbb.ccc.ddd) (aa) for 1,(bbb) 2-10 (ccc) 11-25 (ddd) 26-50 (X)

Replacement T-A

GX Series Tier 1 (2002-2004) - RP80 - GX45 / GXH453670638M2 McCormick_Ne w
3653302M1 1 1 0.2.4. (X) 0:25 T-A Switch,indirect 3664448M1 1 2 3664448M2(1) 3 (X) 2:50 T-A Pump 3653322M1 1 3 0.2.4. (X) 0:25 T-A Bulb 3653462M1 1 4 Gasket 3653324M1 1 5 Gasket 3653797M1 1 6 Plug 3653867M1 1 7 Bolt 3653801M1 1 8 1:0 T-A Spacer 3653734M1 1 10 0.1.2. (X) 1:0 T-A Fan 3653846M1 4 11 Bolt 391884X1 4 11 M6x50 Bolt 3665018M1 2 12 Plug 3653785M1 1 13 2:50 T-A Pulley 3664547M1 1 14 2:50 T-A Gasket 3653866M1 3 15 Bolt 3653314M1 1 16 3678009M1(1) 3 0:50 T-A Cover 3653795M1 1 17 0.2.4. (X) 0:50 T-A Gasket GX Series Tier 1 (2002-2004) - RP80 - GX45 / GXH453670638M2 McCormick_Ne w
Mistral GX\00010312.png
3693923M1 1 18 0.2.4. (X) 0:50 T-A Thermostat 3653463M1 1 19 0.2.4. (X) 0:50 T-A Gasket 339375X1 4 20 Lock washer 3664432M1 1 20 2:50 T-A Gasket 3653860M1 1 21 Bolt 390971X1 4 21 Washer 3653349M1 1 22 2:50 T-A Plate 3664548M1 1 23 0.2.4. (X) Ring 3653858M1 3 24 Bolt 3653844M1 1 25 0.2.4. (X) 0:50 T-A 0:25 T-C Belt Replacement 3 Qty per tractors sold (aa.bbb.ccc.ddd) (aa) for 1,(bbb) 2-10 (ccc) 11-25 (ddd) 26-50 (X) Replacement T-A Setting T-C GX Series Tier 1 (2002-2004) - RP80 - GX45 / GXH453670638M2 McCormick_Ne w
Mistral GX\00010312.png
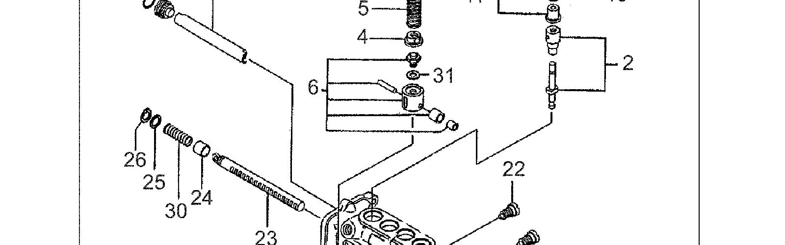
3666915M1 1 1 0.0.1. (X) 0:75 T-A 8:0 T-B 5:75 T-C Pump 3653388M1 1 2 1 ! 3653388M2(1) 3 (X) 8:0 T-A Kit 3653504M1 1 3 1 ! 3685384M1(1) 3 8:0 T-A Gasket 3653471M1 2 4 1 ! Stud 3653770M1 1 5 1 ! 8:0 T-A Shaft 3653472M1 1 6 1 ! 8:0 T-A Bearing 3664462M1 1 7 1 ! 0:75 T-A Support 3653312M1 1 8 1 ! 8:0 T-A Key 3653881M1 2 9 1 ! Nut 3653813M1 2 10 1 ! Spring 3653474M1 4 11 1 ! 8:0 T-A Pin 3007932X1 11 12 1 ! Screw 3653850M1 4 13 1 ! Screw GX Series Tier 1 (2002-2004) - RP80 - GX45 / GXH453670638M2 McCormick_Ne w
Mistral GX\00010165.png
3653829M1 1 14 1 ! Bearing 3653811M1 1 15 1 ! Seal 3653817M1 2 16 1 ! Dowel 3653488M1 1 17 1 ! Rod 3653487M1 1 18 1 ! Shim 3653730M1 1 19 1 ! Decal 3664557M1 1 20 1 ! 0:75 T-A Coperch. 3653784M1 1 21 1 ! 0:75 T-A Gasket 3653493M1 1 22 1 ! Plug 3653494M1 1 23 1 ! O ring 3664555M1 1 24 1 ! 0:75 T-A Coperch. 3664556M1 1 25 1 ! 0:75 T-A Gasket 3653502M1 1 26 3,25mm B 1 ! Shim 3653503M1 1 27 1,50mm B 1 ! Shim 1 28 A-05 12 1 4 Ref.n.1 6 1 ! Kit GX Series Tier 1 (2002-2004) - RP80 - GX45 / GXH453670638M2 McCormick_Ne w
Mistral GX\00010165.png

Mistral GX\00010165.png

GX Series Tier 1 (2002-2004) - RP80 - GX45 / GXH453670638M2 McCormick_Ne

3664463M1 1 29 1 ! 3653814M1(1), 3653882M1(1), 3678996M1(1)

3 0:75 T-A

Flange

3653814M1 1 30 1 ! Washer

3653882M1 1 31 1 ! Nut

This is a component of an assembly !

See page - reference number 4 Not serviced, order 6 Shim B

Replacement 3

Qty per tractors sold (aa.bbb.ccc.ddd) (aa) for 1,(bbb) 2-10 (ccc) 11-25 (ddd) 26-50 (X)

Replacement T-A

Overhaul T-B

Setting T-C

w

Suggest:

If the above button click is invalid.

Please download this document first, and then click the above link to download the complete manual.

Thank you so much for reading

3666915M1 1 1 0.0.1. (X) 0:75 T-A 8:0 T-B 5:75 T-C Pump 3653775M1 4 2 1 ! 8:0 T-A Piston 3653803M1 4 3 1 ! 8:0 T-A Clip 3653475M1 4 4 1 ! 8:0 T-A Nameplate 3653333M1 4 5 1 ! 8:0 T-A Spring 3653476M1 4 6 1 ! 8:0 T-A Tappet 3653870M1 2 7 1 ! Bolt 3653812M1 2 8 1 ! Spring 3653477M1 4 9 1 ! Screw 3653478M1 4 10 1 ! O ring 3664464M1 4 11 1 ! 8:0 T-A Valve 3653840M1 1 12 1 ! O ring 3664558M1 4 13 1 ! 8:0 T-A Spring 3664559M1 4 14 1 ! Guard 3653325M1 4 15 1 ! 8:0 T-A Gasket GX Series Tier 1 (2002-2004) - RP80 - GX45 / GXH453670638M2 McCormick_Ne w
Mistral GX\00010171.png
Mistral GX\00010171.png 3653326M1 4 16 1 ! 8:0 T-A O ring 3664560M1 4 17 1 ! 8:0 T-A Valve 3653482M1 2 18 1 ! Clip 3653483M1 2 19 1 ! Clip 3653780M1 1 20 1 ! Deflector 3653485M1 1 21 1 ! Plug 3653501M1 1 22 1 ! Plug 3664554M1 1 23 1 ! 3653953M1(1) 3 8:0 T-A Pin 3653489M1 1 24 1 ! 8:0 T-A Bush 3653490M1 1 25 1 ! 8:0 T-A Spacer 3653491M1 1 26 1 ! Ring 3653492M1 4 27 1 ! Pinion 3653311M1 4 28 1 ! Screw 3653804M1 4 29 1 ! Pinion 3653495M1 1 30 1 ! 8:0 T-A Spring 3653496M1 4 31 1 ! Shim This is a component of an assembly ! Replacement 3 Qty per tractors sold (aa.bbb.ccc.ddd) (aa) for 1,(bbb) 2-10 (ccc) 11-25 (ddd) 26-50 (X) GX Series Tier 1 (2002-2004) - RP80 - GX45 / GXH453670638M2 McCormick_Ne w

Turn static files into dynamic content formats.

Create a flipbook
Issuu converts static files into: digital portfolios, online yearbooks, online catalogs, digital photo albums and more. Sign up and create your flipbook.
McCormick GX Series Tier 1 (2002-2004) - RP80 - GX45 GXH45 Tractor Parts Catalogue Manual Instant D by k5mfsudoaiok - Issuu