McCormick GM Series Tier 2 (2003-2008) - RS11 - GM55 Tractor Parts Catalogue Manual Instant Download

Page 1

RS11\00012225.png 3669989M91 1 1 A 13:0 T-A 31:0 T-B Engine Replacement T-A Overhaul T-B Complete with flywhell A GM Series Tier 2 (2003-2008) - RS11 - GM553687983m2 McCormick_Ne w
3678319M1 1 1 33:0 T-A Kit 3693927M1 1 2 1.3.6.1 (X) 5:50 T-A Gasket 3653428M1 18 3 Stud 3653316M1 2 4 1 ! 0:25 T-A Plug 3653796M1 1 5 1 ! 0:25 T-A Plug 3653429M1 10 6 1 ! Bolt 3653432M1 2 7 1 ! 4215968M1(2) 3 16:50 T-A Ring 3653433M1 1 7 1 ! 4215970M1(1) 3 A 16:50 T-A Ring 3653336M1 5 8 1 ! 4215967M1(5) 3 16:50 T-A Kit 3653431M1 5 8 1 ! 3653431M2(5) 3 B 16:50 T-A Ring 3678007M1 1 9 1 ! 0:25 T-A Plug 3664445M1 1 10 1 ! Plug GM Series Tier 2 (2003-2008) - RS11 - GM553687983m2 McCormick_Ne w
RS11\00012226.png

RS11\00012226.png

McCormick_Ne

GM Series Tier 2 (2003-2008) - RS11 - GM553687983m2

This is a component of an assembly !

Replacement 3

Qty per tractors sold (aa.bbb.ccc.ddd) (aa) for 1,(bbb) 2-10 (ccc) 11-25 (ddd) 26-50 (X)

Replacement T-A

Over-size (0,25mm) part. A

Under-size (0,25mm) part. B

3653888M1 2 11 1 ! Plug 3653889M1 8 12 1 ! 3653889M2(8) 3 0:75 T-A Plug 3653791M1 1 13 1 ! 31:0 T-A Bearing 3677943M1 1 14 1 ! Plug
3678014M1 1 15 Spacer
w
3678286M1 1 1 3678286M2(1) 3 16:50 T-A 18:50 T-B Shaft 3653378M1 1 2 1 ! Dowel 3653731M1 4 3 17:0 T-A Cotter 3653815M1 8 4 Clip 3653308M1 1 5 1 ! Dowel 3664468M1 1 6 1 ! 20:0 T-A Gear 3653897M1 4 7 17:0 T-A Conrod 3653383M1 4 8 7 ! 17:0 T-A Bearing 3653307M1 8 9 7 ! Bolt 3653763M1 1 10 4216750M1(1), 6510420M1(1) 3 2:0 T-A Pulley 3653794M1 1 11 Washer 3653309M1 1 12 Bolt 3653301M1 6 13 Bolt 3653762M1 1 14 10:50 T-A Flywheel 3653450M1 4 15 7 ! 4216034M1(4) 3 17:0 T-A Bearing 3653451M1 4 15 7 ! B 17:0 T-A Bearing GM Series Tier 2 (2003-2008) - RS11 - GM553687983m2 McCormick_Ne w
RS11\00012227.png

RS11\00012227.png

This is a component of an assembly !

Replacement 3

Qty per tractors sold (aa.bbb.ccc.ddd) (aa) for 1,(bbb) 2-10 (ccc) 11-25 (ddd) 26-50 (X)

Replacement T-A

Overhaul T-B

Over-size (0,25mm) part. A

Under-size (0,25mm) part. B

3653297M1 1 16 14 ! 10:25 T-A Crownwheel 3678265M1 4 17 17:50 T-A Piston 3678266M1 4 17 B 17:50 T-A Piston 3678015M1 4 18 17 ! 2.4.8.1 (X) 17:50 T-A Kit 3678016M1 4 18 17 ! A 17:50 T-A Kit 3677974M1 1 19 1 ! 4206674M1(1) 3 20:0 T-A Gear 3653820M1 2 20 1 ! Key
GM Series Tier 2 (2003-2008) - RS11 - GM553687983m2 McCormick_Ne w
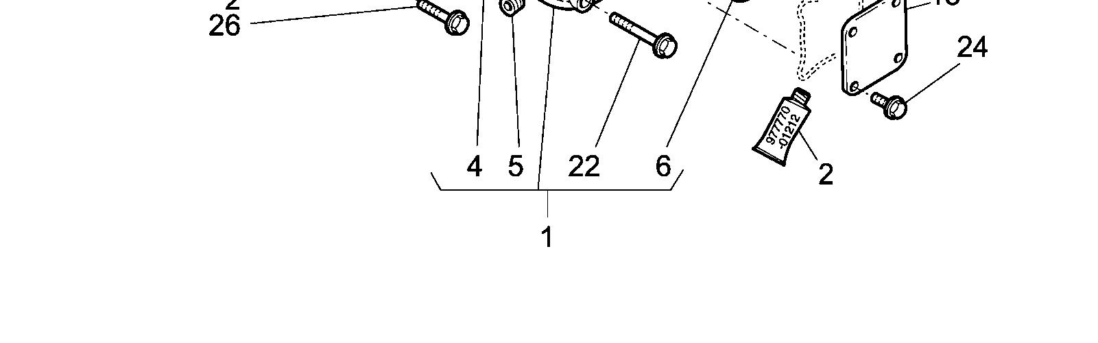
3678242M1 1 1 Shaft 3678243M1 1 2 1 ! 3:0 T-A Shaft 3678244M1 2 3 1 ! Support 3678245M1 3 4 1 ! 2:0 T-A Support 3678246M1 8 5 1 ! Washer 3678249M1 4 6 1 ! 2:0 T-A Arm 3653439M1 8 7 1 ! Screw 3653444M1 8 8 1 ! 0:25 T-A Nut 3678250M1 4 9 1 ! 2:0 T-A Arm 3653437M1 1 10 0:25 T-A Pipe 3653908M1 1 11 3653908M2(1) 3 Gasket 3678258M1 4 12 1 ! 2:0 T-C Union 3678314M1 3 13 1 ! M8x35 Stud 3653860M1 3 14 M8x25 Bolt 3653864M1 7 15 M8x50 Bolt 3678296M1 4 16 Bolt 3653315M1 1 17 0:25 T-A Plug GM Series Tier 2 (2003-2008) - RS11 - GM553687983m2 McCormick_Ne w
RS11\00012228.png
3678248M1 1 18 1:50 T-A 1:25 T-B Coperch. 3678047M1 1 19 18 ! Disc 3677970M1 1 20 18 ! Control 3653435M1 1 21 18 ! Guard 3678025M1 1 22 18 ! 0:25 T-A Cover 3678247M1 1 23 18 ! 1.3.6.1 (X) 1:50 T-A Gasket 3665010M1 8 24 18 ! M5x10 Screw 3678312M1 1 25 18 ! 0:25 T-A Ring 3653317M1 3 26 0:25 T-A Plug 3653831M1 3 27 0:25 T-A O ring 3653835M1 1 28 0:25 T-A O ring 3678257M1 4 29 2:0 T-C Clip This is a component of an assembly ! Replacement 3 Qty per tractors sold (aa.bbb.ccc.ddd) (aa) for 1,(bbb) 2-10 (ccc) 11-25 (ddd) 26-50 (X) Replacement T-A Overhaul T-B Setting T-C GM Series Tier 2 (2003-2008) - RS11 - GM553687983m2 McCormick_Ne w
RS11\00012228.png
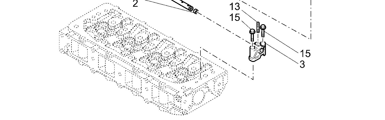
3664580M1 2 1 0:25 T-A Cam 3653857M1 4 2 M8x14 Bolt 3678256M1 8 3 Plug 3678251M1 1 4 5:0 T-A 8:0 T-B Cylinder head 3653818M1 2 5 Pin 3677971M1 4 6 7:75 T-A Guard 3653266M1 4 7 Washer 3685204M1 8 8 4 ! Valve 3677965M1 32 9 4 ! 7:75 T-A Dowel 3678003M1 8 10 4 ! Screw 3677967M1 16 11 4 ! 8:75 T-A Guide 3678255M1 8 12 4 ! 8:75 T-A Guide 3678308M1 4 13 4 ! Plug 3653890M1 2 14 4 ! Plug 3678049M1 8 15 4 ! 7:75 T-A Valve 3678239M1 16 16 4 ! 7:75 T-A Spring 3678241M1 16 17 4 ! 7:75 T-A Clip 3677966M1 8 18 4 ! Ring GM Series Tier 2 (2003-2008) - RS11 - GM553687983m2 McCormick_Ne w
RS11\00012229.png
RS11\00012229.png 3677968M1 8 19 4 ! Ring 3678254M1 8 20 4 ! 7:75 T-A Kit 3653444M1 8 21 4 ! 0:25 T-A Nut This is a component of an assembly ! Replacement T-A Overhaul T-B GM Series Tier 2 (2003-2008) - RS11 - GM553687983m2 McCormick_Ne w
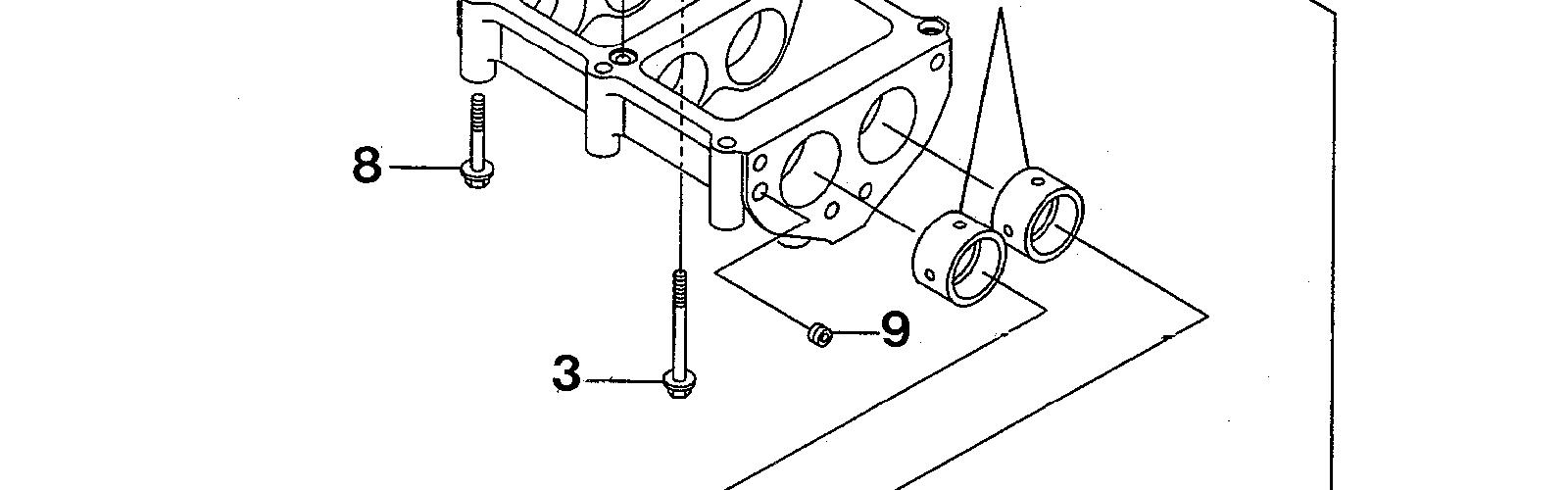
3653447M1 8 1 31:0 T-A Tappet 3653448M1 8 2 2:75 T-A Rod 3678261M1 1 3 31:0 T-A Shaft 3653430M1 1 4 3 ! 31:0 T-A Plate 3678315M1 1 5 Nut 3678300M1 1 6 Spring 3653446M1 1 7 3 ! 31:0 T-A Gear 3653820M1 1 8 3 ! 31:0 T-A Key 3677975M1 1 9 9:50 T-A Shaft 3677977M1 1 10 9:50 T-A Gear 3678298M1 1 11 9:25 T-A Flange 3653857M1 2 12 M8x14 Bolt 3677976M1 1 13 10 ! 9:50 T-A Bush 3653862M1 3 14 M8x40 Bolt 3677978M1 1 15 9:25 T-A Gear 3664454M1 4 16 Screw 3653320M1 1 17 0:50 T-A Coperch. 3653321M1 1 18 0:50 T-A Gasket 3653300M1 1 19 0:50 T-A Coperch. 3653800M1 1 20 1:0 T-A Gasket 3653363M1 1 21 1:0 T-A Kit GM Series Tier 2 (2003-2008) - RS11 - GM553687983m2 McCormick_Ne w
RS11\00012230.png

GM Series Tier 2 (2003-2008) - RS11 - GM553687983m2

This is a component of an assembly ! Qty per tractors sold (aa.bbb.ccc.ddd) (aa) for 1,(bbb) 2-10 (ccc) 11-25 (ddd) 26-50 (X) Replacement T-A

3653879M1 1
M8x28 Bolt 3653364M1 1 23 21 ! 1:50 T-A Gear 3653869M1 2 24 M10x45 Bolt 3653858M1 4 25 M8x16 Bolt 3653839M1 1 26 0:50 T-A O ring 3653830M1 2
21 ! 2.4.8.1 (X) 1:50 T-A Cuscinet
RS11\00012230.png
22
27
w
McCormick_Ne
3678317M1 1 1 4:75 T-A Cover 3653908M1 1 2 3653908M2(1) 3 Gasket 3653853M1 2 3 M6x16 Bolt 3665018M1 1 4 1 ! 0:50 T-A Plug 3678309M1 1 5 1 ! 0:50 T-A Plug 3653788M1 1 6 1 ! 72x55x9 1.3.6.1 (X) Seal 3677980M1 1 7 Cover 3677979M1 1 8 7 ! Cover 3678295M1 1 9 7 ! Valve 3678043M1 1 10 7 ! Spring 3678013M1 1 11 7 ! Plug 3678023M1 1 12 1.3.6.1 (X) 4:75 T-A Flange 3677969M1 3 13 M8x25 Stud 3653315M1 1 14 0:25 T-A Plug 3653320M1 1 15 0:50 T-A Cover 3653789M1 2 16 Bush 3677944M1 4 17 Ring 3678267M1 1 18 Rotor 3678268M1 1 19 Rotor 3677981M1 7 20 M6x16 Screw GM Series Tier 2 (2003-2008) - RS11 - GM553687983m2 McCormick_Ne w
RS11\00012231.png

RS11\00012231.png

GM Series Tier 2 (2003-2008) - RS11 - GM553687983m2

This is a component of an assembly !

Replacement 3

Qty per tractors sold (aa.bbb.ccc.ddd) (aa) for 1,(bbb) 2-10 (ccc) 11-25 (ddd) 26-50 (X)

Replacement T-A

3653310M1 1
4:75 T-A O ring 3664450M1 3 22 M8x85 Bolt 3653835M1 1 23 0:25 T-A O ring 3653858M1 7 24 M8x16 Bolt 3653841M1 1
0:25 T-A O ring 3653865M1 11 26 M8x55 Bolt 3666905M1 3
Nut
1
0:25 T-A Coperch.
21
25
27
3653299M1
28
w
McCormick_Ne
3653746M1 1 1 2:0 T-A 4:0 T-B Housing 3664476M1 1 2 1 ! 4:0 T-A Housing 3653868M1 2 3 2 ! M8x80 Bolt 3653743M1 4 4 2 ! 4:0 T-A Bush 3653905M1 1 5 1 ! 4:0 T-A Kit 3653790M1 2 6 2 ! 4:0 T-A Bush 3653832M1 1 7 2 ! 4:0 T-A O ring 3653866M1 4 8 2 ! M8x60 Bolt 3653827M1 1 9 2 ! Plug 3653906M1 1 10 1 ! 4:0 T-A Kit 3653308M1 1 11 1 ! Dowel 3653857M1 4 12 1 ! M8x14 Bolt 3653739M1 1 13 1 ! 4:0 T-A Gear 3653334M1 1 14 1 ! Nut This is a component of an assembly ! GM Series Tier 2 (2003-2008) - RS11 - GM553687983m2 McCormick_Ne w
RS11\00001366.png

RS11\00001366.png

Replacement

Overhaul T-B

T-A
GM Series Tier 2 (2003-2008) - RS11 - GM553687983m2 McCormick_Ne w
3653378M1 2 1 Dowel 3653357M1 1 2 11:25 T-A Flange 3653872M1 8 3 M10x20 Bolt 3653759M1 1 4 5:75 T-A Spacer 3653358M1 1 5 5:75 T-A Spacer 3653760M1 1 6 5:75 T-A Pan 3653253M1 2 7 6 ! 0:50 T-A Plug 3653811M1 2 8 6 ! Seal 3653908M1 1 9 3653908M2(1) 3 A (X) Gasket 3653351M1 14 10 M8x100 Bolt 3653352M1 4 11 M8x120 Bolt 3653834M1 2 12 5:75 T-A O ring 3653860M1 8 13 M8x25 Bolt 3653862M1 4 14 M8x40 Bolt 3653864M1 8 15 M8x50 Bolt 3653378M1 2 16 Dowel 3653379M1 1 17 4206673M1(1) 3 10:75 T-A Housing 3653908M1 1 18 3653908M2(1) 3 A 10:75 T-A Gasket GM Series Tier 2 (2003-2008) - RS11 - GM553687983m2 McCormick_Ne w
RS11\00001365.png

RS11\00001365.png

3653787M1 1 19 3653787M2(1) 3

(X) 10:75 T-A

Seal

3653772M1 9 20 M8x30 Bolt

This is a component of an assembly !

Replacement 3

Qty per tractors sold (aa.bbb.ccc.ddd) (aa) for 1,(bbb) 2-10 (ccc) 11-25 (ddd) 26-50 (X)

Replacement T-A

For application, reper to workshop manual A

Series Tier 2 (2003-2008) - RS11 - GM553687983m2 McCormick_Ne w
GM

RS11\00012232.png

3653766M1 1 1 0:25 T-A Rod 3653306M1 1 2 Guide 3653456M1 1 3 3653456M2(1) 3 6:0 T-A Gasket 3653767M1 1 4 6:0 T-A Pipe 3693924M1 1 5 0:25 T-A Nut 3678269M1 1 6 0:50 T-A Exchanger 3653861M1 2 7 M8x35 Bolt 3653847M1 1 8 M8x16 Bolt 3678026M1 1 9 Stirrup 3677982M1 1 10 9 ! 0:50 T-A Stirrup 3693925M1 1 11 9 ! Stud 3653458M1 1 12 0:50 T-A Gasket 3678034M1 1 13 3678034M2(1) 3 (X) 0:25 T-A Filter 3678027M1 1 14 Union 3653797M1 1 15 Plug 3678271M1 1 16 0:25 T-A Pipe 3678299M1 1 17 16 ! Clamp 3678301M1 4 18 Spring 3678305M1 1 19 16 ! Clamp 3678272M1 1 20 0:25 T-A Pipe GM Series Tier 2 (2003-2008) - RS11 - GM553687983m2 McCormick_Ne w

GM Series Tier 2 (2003-2008) - RS11 - GM553687983m2 McCormick_Ne

This is a component of an assembly !

See page - reference number 4

Replacement 3

Qty per tractors sold (aa.bbb.ccc.ddd) (aa) for 1,(bbb) 2-10 (ccc) 11-25 (ddd) 26-50 (X)

Replacement T-A

3677988M1 1 21 20 ! 0:50 T-A Guard 3678283M1 4 22 6:0 T-A Nozzle 3678305M1 1 23 20 ! Clamp 3678306M1 1 24 20 ! Clamp 3678033M1 1 25 Elbow 3653859M1 3 26 M8x20 0:25 T-A Bolt 1 27 D-00 03 01 4 Switch
4
Bolt
RS11\00012232.png
3678293M1
28
w

Suggest:

If the above button click is invalid.

Please download this document first, and then click the above link to download the complete manual.

Thank you so much for reading

3678270M1 1 1 2:50 T-A Pump 1 2 D-00 03 07 4 1.3.6.1 (X) 0:25 T-A Bulb 3678031M1 1 3 1 ! Gasket 3678032M1 1 4 1 ! Disc 3653324M1 1 5 Gasket 1 6 D-00 03 06 4 0:50 T-A Switch,indirect 3653867M1 1 7 M8x65 Bolt 3678000M1 3 8 1 ! Screw 3653462M1 1 9 Gasket 3677983M1 2 10 1 ! Union 3665017M1 1 11 1 ! Plug 3678308M1 1 12 1 ! Plug 3678297M1 2 13 1 ! Plug 3664547M1 1 14 2:50 T-A Gasket 3678017M1 1 15 2:50 T-A Gasket 3664548M1 1 16 2:50 T-A Ring 3664432M1 1 17 2:50 T-A Gasket 3653858M1 3 18 M8x16 Bolt 3653866M1 3 19 M8x60 Bolt 3653785M1 1 20 2:50 T-A Pulley GM Series Tier 2 (2003-2008) - RS11 - GM553687983m2 McCormick_Ne w
RS11\000013375.png
3653844M1 1 21 1.3.6.1 (X) 0:50 T-A 0:25 T-C Belt 3674559M1 1 22 1:0 T-A Fan 3653856M1 1 23 M8x12 Bolt 3693923M1 1 24 1.3.6.1 (X) 0:50 T-A Thermostat 3653463M1 1 25 0:50 T-A Gasket 3658005M1 1 26 0:50 T-A Lever 3653795M1 1 27 0:50 T-A Gasket 3653860M1 1 28 M8x25 Bolt 3653822M1 1 29 Gasket 3678018M1 1 30 0:25 T-A Pipe 3678020M1 1 31 30 ! Pipe 3677984M1 1 32 30 ! Clamp 3678010M1 4 33 30 ! Clamp 3678019M1 1 34 0:25 T-A Pipe 3678021M1 1 35 Pipe 3653863M1 1 36 M8x45 Bolt 3653801M1 1 37 1:0 T-A Spacer 3653846M1 4 38 M6x45 Bolt 3674849M1 1 39 Spacer 3019894X1 4 40 M6x100 Screw 339375X1 4 41 Lock washer This is a component of an assembly ! GM Series Tier 2 (2003-2008) - RS11 - GM553687983m2 McCormick_Ne w
RS11\000013375.png

Turn static files into dynamic content formats.

Create a flipbook
Issuu converts static files into: digital portfolios, online yearbooks, online catalogs, digital photo albums and more. Sign up and create your flipbook.