Ex-Stock Colour Range
Manufacturers of quality PVCu Windows & Doors, Conservatories and Aluminium Products. Supplying trade only customers nationwide
Colour Variations Winter 2025




















Ex-Stock Colour Range
Manufacturers of quality PVCu Windows & Doors, Conservatories and Aluminium Products. Supplying trade only customers nationwide
Colour Variations Winter 2025
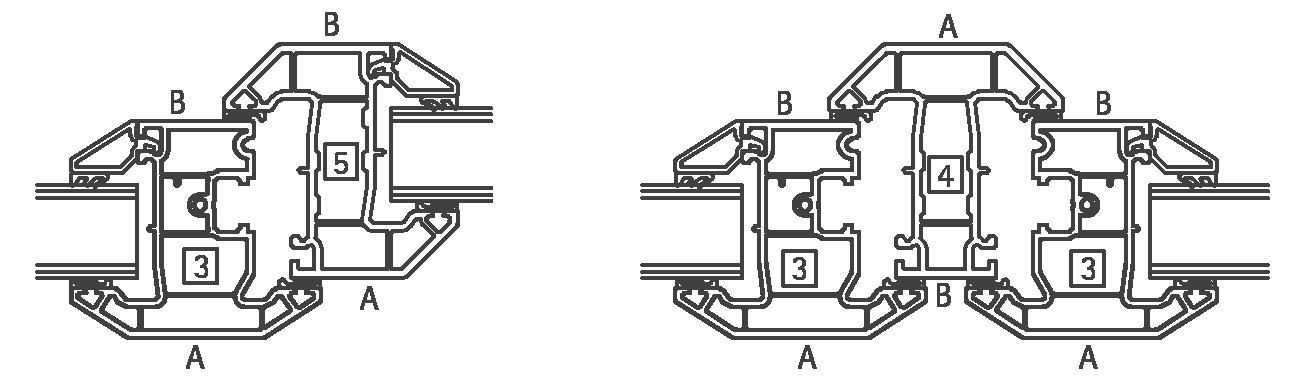
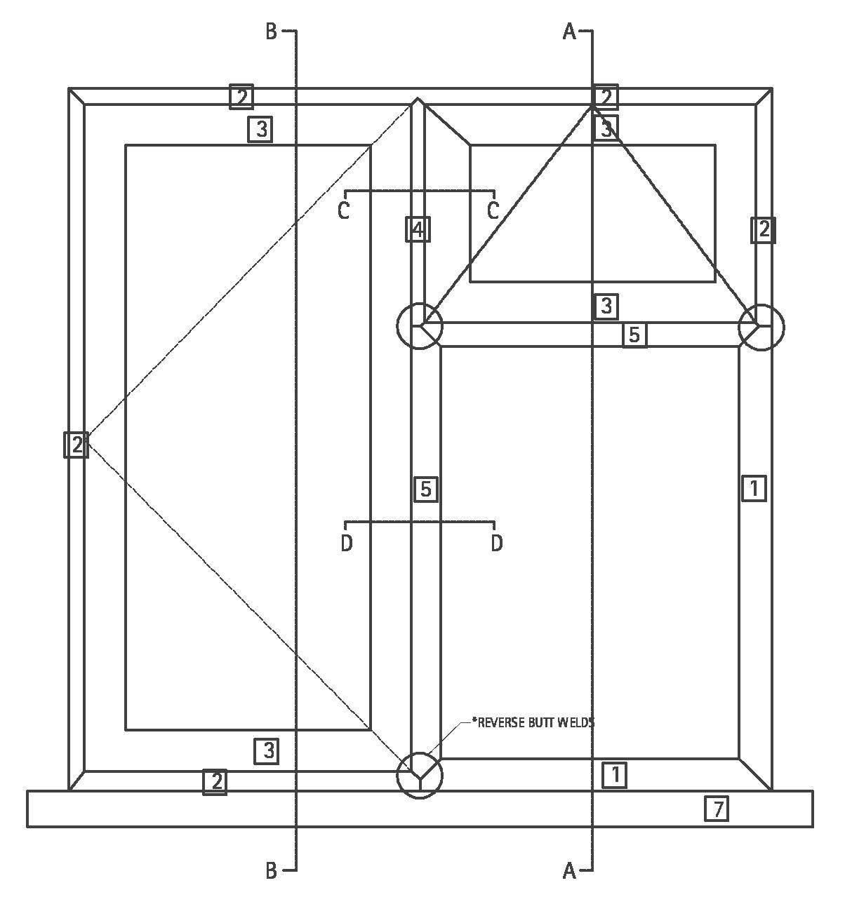
To assist with profile orders, all lamination charts clearly identify all A & B faces.
Drawing identifies internal and external faces on a typically internally beaded frame. This same logic will apply to VEKA & Halo systems.
Face A underbelly of ALL cills to be laminated as shown to ensure continuous colour when viewed from underneath.
For RAL codes and to compare colour across multiple systems, please refer to our cross systems colour guide on pages 20-21
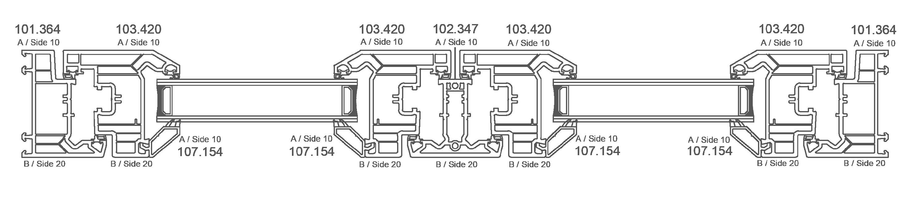
System 10 is a highly versatile and fully integrated 70mm system that boasts an attractive curb appeal, showcasing a bevelled edge with sleek and slim sightlines.
Lamination Chart
Any face with an *s* next to it is offered in SPECTRAL and only on bevelled faces.
For
Combining the authenticity of a traditional window with the modern performance benefits of PVCu, Rustique is a sculptured system offering the ultimate solution for when aesthetics and performance are demanded.
A beautiful option when looking for traditional styling with modern PVCu performance, FlushSash sits true to the frame, offering the traditional understated elegance of timber.
Lamination Chart
Any face with an *s* next to it is offered in SPECTRAL and only on bevelled faces.
Halo System 10
For ex-stock availability of the Rustique and System 10, please refer to their specific availability chart within this brochure. These profiles are shown here as being compatible with the FlushSash profiles.
For RAL codes and to compare colour across multiple systems, please refer to our cross systems colour guide on pages 20-21
Lamination Chart
Any face with an *s* next to it is offered in SPECTRAL and only on bevelled faces.
For RAL codes and to compare colour across multiple systems, please refer to our cross systems colour guide on pages 20-21
With Casement windows, Tilt and Turn, French and Residential doors, OMNIA is a pioneering system creating a truly flush appearance inside and out, setting the standard for design, efficiency, and security.
Ancillaries
Ex-Stock Colour Availability
For RAL codes and to compare colour across multiple systems, please refer to our cross systems colour guide on pages 20-21
A range of laminated ancillaries and injection mouldings are fully compatible with all profile systems, providing the perfect professional finish for any installation.
Any face with an *s* next to it is offered in SPECTRAL and only on bevelled faces.
Please follow guide from left to right
We have included this quick cross systems colour guide so you can compare colours across multiple systems. These colours are ex-stock, please contact us for more information on made to order colours.
Our full range of 17 Ex-Stock Colours cover all systems, so if not available ex-stock in a particular product ex-stock it can be ordered made to order*.
In addition to our Ex-Stock Colour range, we also have a collection of Made-to-Order Colours on an extended lead time. These 27 colours give you even more options and something to suit every requirement.
Feinstruktur Feinstruktur
and SPECTRAL are only available on bevelled or flat surfaces
Eight contemporary colours that harmonise with every style of architecture.
A decorative foil for windows and doors exclusive through VEKA, offering the very best of both worlds: the practicality of a durable lacquered finish, with a finely-textured surface that mirrors the sophistication of powder-coated aluminium.
Manufacturers of Quality PVCu and Aluminium Products
• Established since 1998 – Over 27 years of expertise
• 100,000+ sq. ft. Facility – Advanced manufacturing for top-quality products
• Trusted Partnerships – Working with industry-leading suppliers
• Quality Through Investment – Cutting-edge technology for efficiency & consistency
• Nationwide Delivery – Flexible, site delivery available
• Real People, Real Service – A dedicated team supporting your success
Nationwide deliveries, twice weekly and direct to site if required
• VEKA PVCu Window & Door products
• Aluminium Window & Door products
• Composite Doors
• Conservatory & Lantern Roofs