Quality and Testing Regulations for Office and Contract Furniture

Page 1

Quality and Testing Regulations for Office and Contract Furniture

Quality Assurance

RAL-GZ 430/8

Dated: January 2022

DEUTSCHES INSTITUT FÜR GÜTESICHERUNG UND KENNZEICHNUNG E. V.

Editor

RAL Deutsches Institut für Gütesicherung und Kennzeichnung e. V. Fränkische Straße 7 53229 Bonn

Tel.: (+49) 228 68895-0

Fax: (+49) 228 68895-430

E-Mail: RAL-Institut@RAL.de

Internet: www.RAL.de

Reprinting, even in parts or extracts, is not permitted. All rights, including those of translation into other languages, are reserved by RAL.

© 2022, RAL, Bonn

1

Quality and Testing Regulations for

Office Furniture

Quality Assurance

RAL-GZ 430/8

Deutsche Gütegemeinschaft

Möbel e. V.

Friedrichstraße 13 - 15

90762 Fürth

Tel.: +49 911 950 999 80

Fax: +49 911 950 999 850

E-Mail: dgm@dgm-moebel.de

Internet: www.dgm-moebel.de

These Quality and Testing Regulations have been established by RAL Deutsches Institut für Gütesicherung und Kennzeichnung e. V. (RAL German Institute for Quality Assurance and Labelling) under the principles for quality labelling in a recognition process together with expert groups and responsible authorities.

Bonn, January 2022

RAL Deutsches Institut für Gütesicherung und Kennzeichnung e. V.

Foreword to the Furniture Quality Assurance RAL-GZ 430

RAL-GZ 430 has been the “gold standard” for good furniture quality for more than half a century. However, its contents require constant adaptation in order to meet the needs of changing consumer requirements on the one hand and technical as well as social developments on the other. Standards, laws, and other recognised rules of technology are constantly changing. They are an essential part of RAL-GZ 430, which in its quality requirements, however, often goes beyond normative basic requirements.

With the claim of a holistic quality standard for furniture, RAL-GZ 430 includes in testable form the topics of processing quality, utility and comfort, product safety, healthy living as well as sustainability in product design and material selection.

The previously proven requirements and test methods have been adopted largely unchanged in this new edition of the RAL. In detail, however, changes, updates and adaptations were necessary, based on the experience in dealing with this set of rules and due to changes in standards which are referenced in this RAL.

As the person responsible for the editorial processing of the results of the DGM working groups, I would like to express my special thanks to the staff of these working groups as well as to the editorial team of the DGM. Without the dedicated cooperation and competent contributions of the voluntary DGM working group participants, further development and updating of RAL-GZ 430 would not have been possible.

It all started with RAL-GZ 430. It is the basis for the “Golden M” certification, which focused on quality, function, and environmental compatibility early on. It was and still is a matter of consumer protection.

I am all the more pleased that the Deutsche Gütegemeinschaft Möbel e. V. recognised early on that quality, and thus durability, is an essential part of sustainability. Various certification offers in this area followed, whether it was climate neutrality or emission measurements of the products. Then, in 2019, very consistently, the Advisory Board for Sustainability was founded to meet the everincreasing pressure for change, which was also of a legislative nature. Today, sustainability is no longer a trend, nor is it a megatrend, but a must, an imperative.

We need to recognise that companies are part of the environment and part of society, that we are all part of a system with interdependencies, no matter what we do or don’t do. Sustainability management is a journey that never ends for companies. With its various certifications, the DGM offers companies goals and intermediate destinations for this journey, and thus also offers the end-consumer reliable information on the subject of sustainability. With this in mind, I am honoured to be able to shape the future with the wonderful people on the Advisory Board and I look forward to continued constructive discussions leading to results for the good of all.

6.4.1.

I Index 1. AREA OF APPLICATION ........................................................................................................................ - 12. QUALITY AND TESTING REGULATIONS - 13. MONITORING ...................................................................................................................................... - 13.1. INITIAL TESTING - 23.2. INTERNAL QUALITY CONTROL .................................................................................................................... - 23.3. EXTERNAL QUALITY CONTROL - 23.4. REPEAT TESTING OF EXTERNAL QUALITY CONTROL ......................................................................................... - 23.5. TEST AND MONITORING REPORT / APPROVAL LICENSE - 23.6. TESTING COSTS - 33.7. INSPECTORS .......................................................................................................................................... - 34. SUSTAINABILITY - 3 -
PROTECTION OF HEALTH - 3 -
Requirements for test samples - 44.1.2. Test material ........................................................................................................................... - 4 -
Sample preparation - 64.1.4. Emission requirements for contract and office furniture - 74.1.5. Additional material requirements ........................................................................................ - 104.2. PROTECTION OF ENVIRONMENT AND CLIMATE - 114.2.1. Energy and eco-balance ....................................................................................................... - 114.2.2. Human and ecosystem health - 114.2.3. Use of materials - 114.2.4. Circular economy - 124.3. SOCIAL RESPONSIBILITY - 124.4. ADVERTISING STATEMENTS .................................................................................................................... - 135. GENERAL QUALITY PRINCIPLES.......................................................................................................... - 135.1. PRODUCT INFORMATION ....................................................................................................................... - 146. WORK DESKS, CABINETS, ROOM DIVIDING ELEMENTS ...................................................................... - 156.1. GENERAL PROVISIONS ........................................................................................................................... - 156.1.1. Material-specific characteristics - 156.1.2. Safety and ergonomic characteristics - 156.2. APPLICABLE ERGONOMIC, DIMENSIONAL, TESTING AND SAFETY STANDARDS - 15 -
Office work desks, cabinets, room dividing elements - 15 -
Office work chairs ................................................................................................................. - 16 -
Visitor chairs for the contract sector - 166.2.4. To be considered in office planning ...................................................................................... - 176.3. EXTERNAL DESIGN, WORKMANSHIP - 176.3.1. External design - 176.3.2. Material selection and workmanship ................................................................................... - 186.4. STRENGTH, DURABILITY - 18 -
4.1.
4.1.1.
4.1.3.
6.2.1.
6.2.2.
6.2.3.
Hinged doors, swing doors, hinges ....................................................................................... - 18 -
Room dividing elements - 19 -
6.4.2.

6.4.3.

6.4.4.

6.4.5.

6.4.6.

6.4.7.

6.4.8.

6.5.

6.5.1.

6.6.

6.6.1.

6.6.2.

I
Locks ..................................................................................................................................... - 20 -
Durability of the construction joint - 21 -
Furniture casters - 24 -
pull-out stops ................................................................................................... - 24 -
Durability of
Freedom from vibrations - 24 -
Foot levelling
floor loading ............................................................................................ - 24 -
and
SAFETY
ERGONOMICS - 25 -
AND
External design, corners, edges, shaping, surface - 25 -
Functional safety .................................................................................................................. - 26 -
Ergonomic design - 27 -
Stability - 29 -
Electrical safety - 30 -
6.5.2.
6.5.3.
6.5.4.
6.5.5.
FUNCTION AND HANDLING - 31 -
Function of moving parts ...................................................................................................... - 31 -
General and special requirements according to DIN Technical Report 147 - 32 -
Cleaning, care, assembly and installation instructions ......................................................... - 32 -
SURFACE PROPERTIES - 32 -
Chemical and mechanical stress - 326.8. CORROSION RESISTANCE OF FITTINGS AND OFFICE STEEL FURNITURE ............................................................... - 337. OFFICE AND CONTRACT CHAIRS ........................................................................................................ - 347.1. SAFETY ............................................................................................................................................... - 347.2. ERGONOMIC REQUIREMENTS - 347.3. COVER MATERIALS................................................................................................................................- 357.3.1. Fabrics for office and contract furniture - 357.3.2. Leather for office furniture - 397.3.3. Artificial leather for office furniture - 457.4. CONSTRUCTION COMPONENTS - 478. SAFETY .............................................................................................................................................. - 479. ELECTRICAL APPLIANCES ................................................................................................................... - 4710. LABELLING ......................................................................................................................................... - 4811. AMENDMENTS - 4812. IMPLEMENTING REGULATIONS FOR THE AWARD AND USE OF THE QUALITY MARK OF THE DEUTSCHE GÜTEGEMEINSCHAFT MÖBEL E. V. ............................................................................................................. - 4812.1. ASSESSMENT BASIS ............................................................................................................................... - 4812.2. AWARDING THE QUALITY MARK - 4812.3. USE OF THE QUALITY MARK - 4912.4. QUALITY CONTROL - 4912.5. SANCTIONING OF VIOLATIONS - 5012.6. OBJECTION ......................................................................................................................................... - 5212.7. REINSTATEMENT OF USAGE RIGHTS - 5212.8. AMENDMENTS .................................................................................................................................... - 5213. ANNEX .............................................................................................................................................. - 55 -
6.6.3.
6.7.
6.7.1.
I 13.1. TRANSPORT AND ASSEMBLY GUIDELINES FOR BOX FURNITURE ....................................................................... - 5513.2. TRANSPORT AND ASSEMBLY GUIDELINES FOR UPHOLSTERED FURNITURE - 6213.3. ESTIMATES OF DIMENSIONS AND REQUIREMENTS - 6613.4. ACCEPTANCE REPORT - 6713.5. COMPLAINT PROTOCOL - 6813.6. GUIDELINE FOR ELECTRICAL EQUIPMENT / COMPONENTS IN FURNITURE .......................................................... - 6913.7. MAINTENANCE CARE FOR UPHOLSTERED FURNITURE 14 13.7. ASSESSMENT OF RIPPLE FORMATION ON SEATING SURFACES 17 13.8. ODOUR TEST FOR FURNITURE LEATHER ........................................................................................................ 23 13.9. ODOUR TEST FOR FOAM MATERIALS 24 13.10. DEFINITION OF PUR FOAM TYPES .......................................................................................................... 25 13.11. EXPLANATION OF THE TERM “FORCE MAJEURE” 27 13.12. EMISSION CLASS FOR FURNITURE ACCORDING TO RAL-RG 437 ................................................................... 28 13.13. CLIMATE NEUTRAL FURNITURE MANUFACTURER FOR THE FURNITURE INDUSTRY ACCORDING RAL-GZ 435 29 13.14. THE TEN PRINCIPLES OF THE UN GLOBAL COMPACT 30

1. Area of Application

These Quality and Testing Regulations apply to the condition of furniture for the office and contract sector 1 that may be labelled with the RAL quality mark. All legal regulations must be observed as a matter of principle. In addition, quality assured furniture must meet the requirements as defined below. All standards relating to the scope of these Quality and Testing Regulations shall be consulted as well.

Only the most recent versions of standards or their relevant replacements are valid.

The requirements take into account as standard climate according to DIN 50014 a temperature of 23° C and a relative humidity of 50% and apply to furniture in new condition.

At the time of publication of these Quality and Testing Regulations, the DIN 68890 standard is being revised. Upon publication of this standard, the requirements contained therein shall be considered binding, provided that they do not fall below the values specified in these Quality and Testing Regulations.

Proper transport and professional assembly of the products are assumed.

2. Quality and Testing Regulations

The basic requirements for quality assured furniture are regulated by the relevant standards and guidelines of the Quality and Testing Regulations, compliance with which is mandatory as a prerequisite for initial testing according to Section 3.1.

Furniture that contains functional and constructional elements not included in RAL-GZ 430 must conform to current technological standards

3. Monitoring

Monitoring is divided as follows:

• Initial testing

• Internal quality control

• External quality control

• Repeat testing

• Testing and monitoring reports / Approval license

• Testing costs

1 Where the term office furniture is used below, this also includes furniture for the contract sector.

- 1 -

3.1.

• Inspectors

Initial testing

Passing the initial test is one of the requirements for the award and use of the quality mark of the Quality Association. Initial testing is carried out in the production facilities of the applicant. As part of this assessment, random laboratory test samples are taken from ongoing production by the commissioned third-party inspector. If the applicant can provide test certificates for supplied products or materials, the test procedure is reduced. It is, however, important that these documents (test certificates may not be older than 1 year) are based on the current technological standards and the tests were carried out by competent and neutral testing institutes.

3.2.

Internal quality control

Ongoing internal quality control, which can be reproduced at any time, is mandatory for all quality mark users. Users must carefully record the results of internal quality controls, keep them for at last 5 years and present them to the appointed inspector for inspection upon request within the scope of external quality control procedures

3.3.

External quality control

In order to ensure the consistent quality of quality assured products, external quality control is carried out every 2 years on the premises of the quality mark user. Within the first 3 years of awarding the quality mark/membership, external quality control is carried out annually. This test covers the inspection of the results of all quality control measures (e. g. internal quality control, test reports from competent, neutral testing institutes) and the inspection of the proper manufacturing of “quality assured office furniture”.

3.4.

Repeat testing of external quality control

If deficiencies in the quality assurance are detected during external quality control measures, the Quality Committee can order a repetition of the test, whereby the type, content and scope of this test are determined by the Quality Committee of Deutsche Gütegemeinschaft Möbel e. V. Should the repeat test also conclude with a negative result, the Quality Committee may, in agreement with the Executive Board, take further measures in accordance with Section 12.5 of the Implementing Regulations for the Award and Use of the Quality Mark

3.5.

Test and monitoring report / Approval license

The contracted external inspectors must draw up corresponding test reports on the tests and quality control procedures carried out; the applicant or quality mark user each receive copies of said reports.

- 2 -

Based on the passed tests, the DGM office issues an approval license for the furniture programs listed therein for a certain term

3.6.

Testing costs

The applicant or quality mark user must bear all arising testing or monitoring costs.

3.7.

Inspectors

The Quality Association appoints suitable, expert testing institutes to carry out tests and monitoring measures.

Institutes entrusted with this task must prove their identity to the applicant or quality mark user by submitting a written identification before starting their work.

4. Sustainability

Sustainability is to be understood as a development that is ecologically compatible, socially just and economically efficient.

Important in this context is a long product life, which can only be achieved through high quality, which contributes significantly to saving resources and which is therefore an essential part of sustainable economic activity. Another aspect of sustainability is the consideration of social impacts.

Sustainability as well as the environment and personal health are particularly important to consumers today. In close cooperation with leading testing institutes and taking into account more recent specifications of the Federal Environment Agency, the requirements were revised and adapted to the latest scientific findings.

These requirements apply to office furniture as purchasable by consumers in furniture stores. Manufacturers must ensure that all supplied materials (including those from abroad) comply with the statutory European and German regulations (e. g. Chemicals Act, Banned Chemicals Ordinance and Ordinance on Hazardous Substances, REACH POP) as well as additional DGM requirements.

In case of mandatory normative, legal, safety-relevant as well as contractual specifications regarding the use of materials, substances and requirements, the effects on the requirements according to RAL-GZ 430, especially in the contract sector, are not taken into consideration.

The initial and monitoring tests are to be carried out according to Point 3

4.1. Protection of health

The preparations (paints, adhesives, stains, coatings, etc.) must not contain substances of the following categories as formulation components:

- 3 -

Substances according to Regulation (EC) No 1272/2008 (CLP Regulation):

Categories Carcinogenic 1A and 1B, Mutagenic 1A and 1B, Toxic to reproduction 1A and 1B

a) Sensitising substances according to the Technical Rule for Hazardous Substances (TRGS) 907 and the EC Regulation 1272/2008, Annex VI

b) Substances which are of very high concern for other reasons, and which have been included in the list (so-called candidate list 1) established in accordance with REACH Article 59(1)

c) Acutely toxic (poisonous) of the category Acute Tox. 1 or Acute Tox. 2

d) Toxic to specific target organs of the category STOT SE 1, STOT SE 2, STOT RE 1, or STOT RE 2

Excluded from these regulations are:

a) Process-related, technically unavoidable impurities that are below the classification limits for mixtures.

b) Monomers or additives that react to form polymers or are chemically bonded (covalently) into the plastic during plastic production if their residual concentrations are below the classification limit for mixtures.

4.1.1.

Requirements for test samples

The examinations in test chambers can be carried out both as whole-body tests and as component tests. The selection of test samples is to be agreed between the testing institute and the manufacturer and is to be carried out in such a way that all model variants awarded the quality mark are represented by the test

4.1.2.

Test material

The final products falling within the area of application differ in shape, materials and the number of materials used. Therefore, in each individual case, the test procedure and the selection of test samples must be determined by the testing institute responsible for the surveillance test in consultation with the manufacturer.

For furniture made of wood and wood-based materials with a three-dimensional surface, there are two ways of testing:

a) Whole-body testing, especially for small furniture, chairs, etc.

b) Component testing, especially for modular furniture and furniture programs with similar components.

1 Link to the candidate list of Regulation (EC) No 1907/2006 on the Registration, Evaluation, Authorisation and Restriction of Chemicals (REACH): https://echa.europa.eu/de/candidate-list-table

- 4 -

4.1.2.1.

Whole-body testing

The product to be tested must be taken directly from current production. Supplied parts may not be older than 10 days. A deviation from this specification is permissible if the manufacturer proves that individual supplied parts used in the normal production process are regularly older than 10 days.

Immediately after removal from production, the product must be placed in airtight packaging; modular furniture must be packed in closed state.

Note:

During component testing, it is permissible to use the following calculation formula to extrapolate the total concentration of complete products consisting of known area segments of the tested components, based on the established concentrations of volatile organic compounds of the individual components.

The proportionate areas of the total product must be calculated for each component and entered into the formula with the emission values determined:

Ccalc. = Calculated total concentration for complete product in µg/m³

n = Number of components tested

i = Compendent index

Ai (%) = Area share of the i-th component in %

Ci = Concentration of the i-th component in µg/m³

This method can be foregone if none of the tested components exceed the permissible emission values or if the entire product is tested

4.1.2.2.

Component testing

In the case of component testing, e. g. for furniture programs, the testing institute selects the components to be tested in consultation with the manufacturer. The different materials used, in particular different coating systems, must be taken into account. The selection must be made in such a way as to ensure compliance with the requirements of the award criteria for the product to be tested. In the case of components with a total area share of no more than 5% of the product, sample analyses and emission testing are not necessary.

The components to be tested are be taken directly from the current production in sufficient quantity. Supplied parts may not be older than 10 days. A deviation from this specification is

- 5 -
��������������������. = ∑ �������� (> 5%) ∗�������� ���� ����=1 ∑ �������� (%) ���� ����=1

permissible if the manufacturer proves that individual supplied parts used in the normal production process are regularly older than 10 days. In the case of flat components, at least 3 parts must be taken as a stack, of which only the middle part is used for the emission test. The testing institute has to be consulted about the exact sample quantity, taking into account the size of the component and the emission test chamber to be used. The samples taken from the same components must be immediately packed together in airtight packing. The individual samples should be placed as close to each other as possible in order to minimise unavoidable emissions during transport to the testing institute.

4.1.2.3. Transport

The packaged sample material must be transported to the testing institute as quickly as possible. No more than 7 days may elapse between packaging and arrival at the testing institute.

4.1.3.

Sample preparation

Until the start of the test, the test sample or sample material must be stored at the testing institute in packaged form.

When preparing the test samples for the emission test, only those flat components should be used that are stored on the inside of the stack and not those on the outside.

Components and complete products can be tested in their original condition in a large test chamber. In this case, possible low results for semi-volatile compounds must be taken into account. As a rule, test samples are to be taken from the sample material which can be examined in a test chamber suitable for volatile organic compounds. The test samples should represent the materials used and the different surfaces of a complete piece of furniture. Any narrow surfaces exposed by cutting must be sealed with a suitable sealant.

Self-adhesive, low-emission aluminium foil has proven suitable for this purpose. Any selfemission of the aluminium foil must be determined in preliminary tests.

When calculating the emission area, the surfaces on both sides and the narrow surfaces (without surfaces subsequently sealed as a result of test sample cuts) must be included.

After completion of the test samples, they must be immediately placed in the test chambers or stored in packages until the test chamber is loaded.

For the manufacturer's own internal documentation, a sampling protocol (dates of production, packaging, shipping, etc.) must be created for each sample.

The time between packaging of the samples at the manufacturer and loading of the chambers should be as short as possible. According to DIN EN 16516, the test must be started within 8 weeks after sampling, provided that the sample is stored in the laboratory in the specified

- 6 -

packaging and under normal indoor conditions. Sampling, sample receipt and test start must be documented in the test report

4.1.4. Emission requirements for contract and office furniture

Table 1 – Emission requirements for contract and office furniture

Parameters

Other acc. to current list of LCI values 2)

TVOCspec. (C6 – C16) acc. to AgBB 2) Only box furniture < 3000 µg/m³ < 50 µg/m³ < 450 µg/m³ <

TSVOC (<C16 – C22)

µg/m³ < 600 µg/uh

CMR- substances 3) acc. to EU Cat. 1A and 1B ∑ < 10 µg/m³ < 1 µg/m³ per individual value < 1 µg/m³ per individual value < 1 µg/m³ per individual value

Odour (see explanations below) < 3.0 < 3.0 < 3.0

VOC without LCI

acc. to AgBB 2)

R value 4) < 1 < 1 < 1

1) The test can be terminated on the 7th day after loading if the required final values of the 28th day are reached and no increase in concentration of one of the detected substances can be detected compared to the measurement on the 3rd day.

2) Sum of all individual substances ≥ 5 µg/m ³) at test chamber concentration

3) The substance Dimethylformamide (DMF, CAS 68-12-2) is treated separately during the assessment of CMR properties. For DMF, a limit value (based on the LCI value) of < 15 µg/m³ after 28 days applies. The value after 3 days shall not be included in the total evaluation. For the calculation of the R value, DMF must still be taken into account. This regulation is valid for a transitional period until 31.12.2023. As of 01.01.2024, it will no longer apply.

Formaldehyde and acetaldehyde are excluded from the CMR assessment (classification: Carc. 1B).

4) The R value is based on the current list of LCI values according to AgBB; https://www.umweltbundesamt.de/sites/default/files/medien/4031/dokumente/agbb_bewertungsschema_2021.pdf

- 7 -
All Cabinet furniture/ Box furniture Tables Chairs/ Corner seats Chairs/ Corner seats
Day 3 Day 28 1) Day 28 1) Day 28 1) Day 28 1) Test chamber concentration Test chamber concentration Test chamber concentration Test chamber concentration Product-specific emission rate Test chamber size At least 100 l At least 100 l At least 1 m3 Airflow rate 1.0 m³/m2h 1.0 m³/m2h 2.0 m³/m2h Temperature 23° C ± 1° C 23° C ± 1° C 23° C ± 1° C 23° C ± 1° C 23° C ± 1° C Relative humidity 50% ± 5% 50% ± 5% 50% ± 5% 50% ± 5% 50% ± 5% Formaldehyde < 0.05 ppm < 60 µg/m³ < 0.05 ppm = < 60 µg/m³ < 0.033 ppm = < 40 µg/m³ < 80 µg/uh
Test duration
< 40 µg/m³ < 80
µg/uh
300
< 100 µg/m³
100 µg/m³ < 50 µg/m³
100 µg/uh
<
<
100 µg/m³
100 µg/m³
100 µg/m³
200 µg/uh
<
<
<
<

Definitions of TVOCspec und TSVOC

TVOCspec:

Sum of all individual substances found ≥ 5 µg/m³ in the retention range C6–C16 (between nhexane up to and including n-hexadecane). The determination is carried out in accordance with the currently valid AgBB scheme. Data in the AgBB scheme for C substances apply here to CMR substances of category 1A and 1B.

TSVOC:

Sum of all individual substances ≥ 5 µg/m³ in the retention range > C16–C22. In individual cases, LCI values have been derived for SVOC. The SVOCs for which LCI values have been determined are to be included in the R value calculation for the requirements after 28 days and are no longer subject to the sum SVOC value. The sum of the TVOCspec value and the sum of the individual SVOC with LCI value must not exceed the TVOC requirements after 28 days (AgBB procedure).

General information on TVOC and TSVOC:

The basis for measuring the emission of volatile organic compounds and formaldehyde is the BAM test method in the current version. The requirements for the test chamber procedure and the analysis are based on DIN EN 16516 in conjunction with the DIN EN ISO 16000 et. seq. series of standards.

4.1.4.1. Odour

The odour test shall be performed after a minimum of 3 and a maximum of 28 days of residence time in the test chamber. In case of a previous test according to Point 4.1.4 testing can be carried out after the previous test is completed. In the case of several tests, the result of the last test series (longest period in test chamber) is definitive.

Requirements:

Score to be maintained: Level 3.0

The majority of individual scores must not be above level 3.0. The average must be ≤ 3.0.

- 8 -

Testing:

Odour neutral room:

Temperature: 23° C ± 1° C

Humidity 50% r. h. ± 5% r. h.

Airflow rate: Depending on the type of test sample

Chamber volume: The chamber volume is based on the specified test chamber size (Table 1)

Room loading: Depending on the type of test sample

At least 7 test persons independently assess the odour intensity according to a 5-point scale:

1 = no odour

2 = weak odour

3 = distinctive, not unpleasant odour

4 = unpleasant odour

5 = unbearable odour

The following should be recorded:

• Age and sex of test persons

• Room size

• Room temperature

• Room humidity (rel. humidity)

• Date of assessment

• Time span between production and odour assessment

• Type of odour

Test persons: The test persons (at least 7 persons, at least 3 of them women) should spend at least 10 minutes in a room with clean air before the odour test. The odour assessment is performed undiluted. The test persons should not have any previous exposure to the odours to be evaluated.

Mean value:

Of all the individual values determined, one highest and one lowest are not to be used for averaging. Only the mean value is given in test reports

- 9 -

4.1.5. Additional material requirements

4.1.5.1. Chlorophenols

Pentachlorophenols / Tetrachlorophenols / Trichlorophenols

Test specimen: wood-based materials

Requirements:

Table 2 – Values to be maintained for individual biocides

Wood-based materials < 3 mg/kg < 3 mg/kg

Method of analysis:

The sample is heated with 1 m KOH in a drying oven. An aliquot of the extract is derivatised with acetic anhydride. The derivative is extracted with n-hexane and analysed on capillary GC by ECD. Other methods are permitted if comparability has been demonstrated.

4.1.5.2. Dispersion dyes and pigments

Requirements:

• Carcinogenic dyes

• Mutagenic or teratogenic dispersion dyes

• Potentially irritating dyes

• Dyes containing heavy metals are not permissible

Testing according to DIN 54231

Proof via manufacturer’s declaration possible.

4.1.5.3. PAH (Polycyclic aromatic hydrocarbons)

Testing and evaluation according to AfPS GS 2019:01 PAC

GS Specification “Testing and Evaluation of Polycyclic Aromatic Hydrocarbons (PAH) in the Award of the GS Mark” of the Product Safety Committee (AfPS) as of April 2020 or the respective current regulation.

Proof via manufacturer’s declaration possible.

- 10 -
PCP Tetrachlorophenols Trichlorophenols

4.2. Protection of environment and climate

4.2.1. Energy and eco-balance

The efforts of manufacturers to minimise the energy and atmospheric environmental impact associated with the transport of their products and supplier materials must be evident from appropriate documents.

The use of self-generated, renewable energy (e. g. burning waste wood) and the purchase of CO2 neutral energy are to be preferred.

To optimise the use of materials and energy with regard to a sustainable eco-balance, the implementation of a life cycle assessment based on the systematics of the standards DIN EN ISO 14001, DIN EN ISO 14040 and DIN EN ISO 14044 is suitable.

A life cycle assessment or environmental declaration of the products according to DIN EN ISO 14025 (EPD verification) is also recommended.

4.2.2. Human and ecosystem health

In addition to the legal regulations on the handling of chemicals that are harmful to humans and the environment (e. g. REACH Regulation), this Furniture Quality Assurance RAL-GZ 430 contains extensive testing requirements to ensure furniture that has been tested for harmful substances

4.2.2.1. Liquid coating systems

Operators of coating plants must comply with the requirements of the 31st Federal Imission Control Act (BlmSchV). This shall be proven via the manufacturer’s declaration

4.2.3. Use of materials

4.2.3.1. Solid wood and wood-based materials

Solid wood and wood-based materials must comply with EU Regulation 995/2010 and, as far as possible, originate from sustainably and legally managed forestry (FSC/PEFC documentation). When using waste wood in wood-based materials, the Waste Wood Ordinance must be observed. Proof of the pollutant limit values of the Waste Wood Ordinance according to testing in compliance with the EPF standard.

4.2.3.2. Plastic components

Plastic components > 50 g should be labelled according to DIN EN ISO 11469 and should not contain additives of other materials that conflict with recycling.

4.2.3.3. Adhesives

The VOC content of adhesives should not exceed 10% for water-based systems and 30% for solvent-based systems.

- 11 -

4.2.3.4. PVC

The use of PVC should be limited to furniture parts for which no equivalent other materials are available and for which the special properties of PVC are required.

The use of PVC must be indicated in the product information (PI). Dismountable PVC parts are exempt from this regulation if they are clearly marked as PVC parts

4.2.4. Circular economy

4.2.4.1.

Constructional layout – wear – durability

The principles of recycling-friendly design (VDI 2243) must be observed. The use of recyclable and biodegradable materials is to be preferred.

For wear parts, a functional, compatible replacement is ensured over a period of at least 5 years.

The durability of the products shall be ensured by appropriate design.

4.2.4.2. Packaging

The packaging material must be suitable for reuse or recycling. The packaging must be designed in such a way that any volatile components of the furniture can outgas.

4.2.4.3. Reusability / recycling

With regard to reusability and recycling, no material preservatives (fungicides, insecticides, flame retardants) and no halogenated organic compounds may be added to the furniture, or the materials used for its production (wood-based materials, adhesives, coatings, etc.).

This excludes fungicides used solely for in-can preservation in water-based coatings and glues or flame retardants in which inorganic ammonium phosphates (diammonium phosphate, ammonium polyphosphate, etc.), boron compounds (boric acid, borates) or other waterreleasing minerals (aluminium trihydrate or similar) are used for flame retardation.

4.3. Social responsibility

With a view to sustainable human resources development and to ensure health, occupational safety and social working conditions, a company should, in accordance with good management practice, define and document responsibilities and procedural rules concerning this matter

• These include in particular:

• Fair hiring practices

• Continuing education of employees

• Social responsibility in company regulations

- 12 -

• Social ethics

Social ethics may also include social measures for the local environment of the operating site (e. g. sponsoring cultural or charitable institutions).

Compliance with the requirements can be achieved through membership of the UN Global Compact 13.14 or equivalent certificates. The Deutsche Gütegemeinschaft Möbel supports the UN Global Compact and its 10 principles. These guiding principles for business and human rights are to be implemented by the quality mark users. The implementation is documented during the monitoring audits.

With regard to social responsibility for products of the supply chain over which the company has no direct influence, preference is to be given wherever possible to supplier companies that take social standards into account.

4.4. Advertising statements

Advertising claims must not contain any statements such as “biologically tested” or similar statements that play down hazards as laid out in the EU Directive 67/548/EWG Article 23 (Designation) Section 4 (e. g. “non-toxic”, “no risk to health”, “free from ”).

5. General Quality Principles

It is a prerequisite for “furniture with the quality mark” that suitable materials and construction elements are used which are appropriate to the product and have been professionally processed. Safety, function, and utility are assessed according to the latest standards of technology at the time of product launch. Environmental and health protection as well as product information are essential quality features.

Deviations from the Quality and Testing Regulations

Deviations from the requirements laid out in the Quality and Testing Regulations may be made if an equivalent or higher quality and safety objective is achieved by other means. Suitable proof is required

Visual inspections

Visual inspections are carried out under the following conditions (unless otherwise specified):

General assessment: At distance of 2 to 3 m

Detailed assessment: At distance of 0.7 ± 0.1 m

Assessment basis: normal vision; diffuse daylight (without direct sunlight or artificial light).

- 13 -

Parts that are not visible in the position of use or subordinate parts as well as irregularities that are only visible in grazing light are excluded from the assessment

5.1. Product information

The product information for office and contract furniture shall be made available to the retailer for marketing purposes and for passing on to the end customer and contains the following details based on RAL-GZ 430/8:

1. Product name

2. Product label*

3. Structural design

4. Materials

5. Surface treatment

6. Model variants

7. Dimensions

8. Weight

9. Maximum load

10. Cleaning and care instructions

11. User information**

*Labelling obligations according to the Product Safety Act (ProdSG) must be observed.

**User information in accordance with DIN EN 82079-1 must be supplied where necessary.

Visual inspection, laboratory test

In addition, the following information, if applicable, should be included in the product information:

• Information on wear parts and their repair or replacement, repair service if necessary (For wear parts, a functional compatible replacement of at least 5 years is guaranteed).

• Information on the type and origin of the wood predominantly used.

• Information on other materials (proportion > 3 weight percent)

• Information on the assembly of the products and disassembly for removal and subsequent material recycling. For special product groups, the Eco Design Directive (2009/125/EC) must also be observed.

• In the case of furniture that falls under the Electrical and Electronic Equipment Act (ElektroG, see annex 13.6), appropriate labelling must be applied to the furniture and the method of disposal must be indicated in the operating instructions.

• If PVC must be used, this must be stated in the product information.

- 14 -

6. Work desks, Cabinets, Room Dividing Elements

6.1. General provisions

6.1.1. Material-specific characteristics

The material-specific characteristics of office furniture are regulated by special requirements according to DIN Technical Report 147.

Deviations in the panels and the coating material used must be recorded in the product information or agreed with the customer.

The requirements for office furniture must be met by all materials used (if necessary, proof by manufacturer’s declaration).

6.1.2. Safety and ergonomic characteristics

Office furniture shall in principle be designed and constructed in such a way that the ergonomic functionality and variability as well as the safety-related design enable an optimal office workplace.

In conjunction with the other testing regulations for office furniture, these functions and characteristics are to be designed for a long service life with appropriate use.

For cabinets intended specifically for the contract sector (e. g. accommodation, youth hostels, conference centres, etc.), the requirements according to DIN EN 16121 must be complied with to prove safety.

6.2. Applicable ergonomic, dimensional, testing and safety standards

(For the standards and regulations outlined below, the relevant current version applies.)

6.2.1. Office work desks, cabinets, room dividing elements

DIN Technical Report 147 Requirements and testing of office furniture

DIN EN ISO 9241-T5

Ergonomic requirements for office work with monitors

Part 5: Requirements for workplace design and posture

DIN EN 527-1 Office furniture, office work desks, dimensions

DIN EN 527-2 Office furniture, office work desks, mechanical safety requirements

BGR 234 Storage equipment and devices

DGUV 215-410

Monitor and office workstations, guidelines for design

DIN VDE 0100, Part 713 Electrical installations in furniture

DIN EN 60335-1

Safety of electrical appliances for household use

BSO Guideline for electrical installation in office furniture Compilation of recognised rules of technology

DIN EN ISO 13857

Safety of machinery; Safety distances to reduce risk of

- 15 -

squashing/ clamping body parts in danger zones

DIN VDE 1000

General principles for the safe design of technical products, (identical to DIN 31000) minimum distances, crushing and shearing points

DIN EN 14073-2

DIN EN 14073-3

DIN EN 14074

DIN EN 15372

DIN EN 16121

DIN EN 16122

DIN EN 1023-1

DIN EN 1023-2

DIN EN 1023-3

DIN EN 1730

ZLS / EK5/AK3

ZLS / EK5/AK3

ZLS / EK5/AK3

ZLS / EK5/AK3

VDS 2024

6.2.2. Office work chairs

Office furniture, cabinets, safety features

Office furniture, cabinets, stability, and strength of construction

Office furniture, office work desks and cabinets; determination of strength and durability of moving parts

Tables for non-domestic areas, durability, and safety

Storage furniture for non-domestic areas - Safety, strength and durability requirements

Storage furniture for non-domestic areas – Test method for the determination of safety, strength, and durability

Room dividing element - Dimensions

Room dividing element - Mechanical safety requirements

Room dividing element - Testing

Tables – Test methods for determining stability, strength and durability

Basic principles for testing the safety and ergonomic features of sitting/standing work desks

Basic principles for testing the safety and ergonomic features of office furniture on casters

Basic principles for testing the safety and ergonomic features of the work surfaces of work desks

Basic principles for testing the safety and ergonomic features of screen support arms

Erection of electric installations in furniture and similar furnishings

DIN EN 1335-1 Dimensions

DIN EN 1335-2

DIN EN 16955

Safety requirements including user information

Testing of gas springs

6.2.3. Visitor chairs for the contract sector

DIN EN 1728

Seating furniture – Test method for determining strength and durability

- 16 -

DIN EN 16139

DIN EN 1022

DIN 68878

Seating furniture for non-domestic areas – Requirements

Furniture – Seating furniture – Determination of stability

Chairs for domestic use, performance characteristics –Requirements and test methods

6.2.4. To be considered in office planning

DIN 16555

DIN 4543-1 (withdrawn)

DIN 15906

Office workplace – Areas for communication places in office and administration buildings

Office workplaces – Areas

Conference facilities

6.3. External design, workmanship

The overall appearance of a piece of furniture is determined by the level of decorative design and the quality of workmanship. These criteria are examined and assessed as “technical quality features” according to objective aspects within the framework of furniture testing.

In contrast, the aesthetics of a piece of furniture depends greatly on the subjective perception of the observer or user. The aesthetics of a piece of furniture cannot be judged according to technical parameters. It is a question of individual taste, which is influenced by fashion trends, the environment, personal image needs, and art and taste sensations, among other things.

6.3.1. External design

Visual assessment of the overall appearance and metrological inspection of connections, dimensional accuracy, evenness, uniformity, colour design.

Essential test criteria:

• Dimensions for office work desks according to DIN EN 527-1

• Evenness of front and side surfaces, work surfaces

• Joint width (deviations)

• Alignment line of doors, flaps, and drawer fronts

• Design of corners and edges according to DIN Technical Report 147

• Uniform colour design

Requirements:

• Optimum external appearance

• Compliance with coordination dimensions or product information for other dimensions

- 17 -

• Perfectly fitting joints

• Uniformly even surfaces, max. permissible deviation 0.5% related to the distance between two corners

• Visually and technically good design of corners and edges, minimum radii 2 mm or 3 mm for desk top surfaces and topsides respectively

• Matching joints and parallel edges, deviation max. 2 mm per m edge length

• Matching alignment lines of doors, flaps, and drawer fronts; max. permissible deviation from alignment line 2 mm

• Good uniform colour design according to DIN Technical Report 147 (surface gloss max. 20 gloss units, surface resistance not less than 0.15 and not higher than 0.75)

6.3.2. Material selection and workmanship

Visual inspection of appearance, findings and quality of the materials used as well as the quality of workmanship

Essential test criteria:

• For solid wood: quality-reducing knots, tree edges, worm marks, wood rot

• For panel material: defects in coatings and veneers

• Uniform material quality

• Processing quality of the materials

• Selection, use and installation of high-quality fittings

Requirements:

• No imperfections

• No quality-reducing phenomena

• Visually and professionally flawless workmanship of all materials

• Correct selection, use and installation of appropriate fittings (for loads see corresponding standards)

6.4. Strength, durability

6.4.1. Hinged doors, swing doors, hinges

With regard to the testing and assessment of moving parts of the furniture (e. g. drawer runners) as well as other load-bearing construction elements (e. g. shelves or shelf supports), various requirements and test methods of DIN EN 14073/2-3 as well as DIN EN 14074 and DIN Technical Report 147 must be observed.

- 18 -

6.4.2. Room dividing elements

The same test conditions which apply to other office furniture also apply to room dividing elements For systems that are permanently connected to the structure (room dividers), the building regulations apply. Special requirements for movable partitions and partition systems: Additional testing according to DIN EN 1023/3.

Static load capacity (deformation test)

Test conditions:

Movable wall fixed on one side at the top and bottom

Opposite side fixed at the bottom, at the top under horizontal load deflection of the movable wall by 200 mm or with a force 200 N – see picture, load after each side 5 min.

Requirements:

No permanent deformation after unloading, functional safety must be guaranteed.

Durability of the construction

Test conditions:

Movable wall fixed at the top and bottom on one side

Bending fatigue load test by applying a load of 200 N at half the height of the movable wall, on the side that is not fixed at the top – see picture

Max. deflection to each side: 100 mm

Load change: 1,000

Requirements:

No damage or fractures to the corner connections and positioning elements, unit should be fully functional after endurance test.

- 19 -

Dynamic load capacity

A dynamic load capacity test is carried out in the same manner as described in the drop test. In addition, the movable wall surface is tested against hard impact.

Test conditions:

Movable wall mounted horizontally with 2 longitudinal edges on a rigid base,

Impact body 1: steel ball 1 kg (ø 63 mm),

Impact body 2: sandbag with 20 kg (ø 200 mm),

Drop heights: 400 mm, 600 mm,

Impact load: 1 load per drop height and impact body with point of impact at the centre of gravity of the surface.

Requirement:

No permanent damage to the deformations

Stability

Testing of non-upgradable and upgradable room dividing elements according to DIN EN 10233 Point 6.

Strength of upgradable elements

The strength test of upgradable elements is to be carried out according to DIN EN 1023-3 Points 6.3. and 6.4.

Requirement:

No damage when lowering 1/100 of the depth of the element.

6.4.3.

Locks

Locks must be positioned in such a way that injuries are avoided. According to DIN Technical Report 147, locks on cabinets and base units must be fitted at the front. As a matter of principle, no locks must protrude in the leg space of tables.

The effect of all loads occurring in practice, such as transverse forces, counterforces when closing on the latch, etc., are taken into account in the test.

The test is carried out on the finished furniture in accordance with DIN EN 16014.

Locking systems must allow at least 100 different lockings or the different number of lockings must be agreed.

- 20 -

Durability test

Test conditions:

Torque and closing resistance are determined before and after the durability test:

10,000 operations without additional load

3,000 operations with 0.5 kg additional load

2,000 operations with 1.0 kg additional load

Additional load applied to the original key shaft or rotary knob in each case

Requirements:

Functional safety guaranteed, locking resistance max. 50 Ncm (with door open).

Overtightening test

Test conditions:

According to DIN EN 16014 the lock is overtightened with 160 Ncm.

Requirements:

Functional safety guaranteed.

Pull-out resistance

Test conditions (acc. to DIN EN 16014):

Test force on lock: 300 N

Test force on rod bearing: 200 N

Load duration: 10 s

Unloading duration: 120 s

Cycles: 5 loads

Requirements:

Max. permissible lift-off from the support material 2 mm

6.4.4. Durability of the construction joint

Durability test

Test conditions:

• Individual pieces of furniture fixed to the floor with 10 mm open adjusting elements, without preventing movement.

- 21 -

• Additional load for tables Fv = max. 1,000 N (centre of surface, evenly distributed), Test weight ø 350 mm

• Additional load for cabinets: F = 1.5 kg/dm2 (all shelves evenly loaded)

• Horizontal force (alternating load): 300 N

• Force application: see picture

• Step sequence: 1, 2, 3, 4 (lengthwise, lengthwise, crosswise, crosswise)

• For round or oval conference tables, the force application is analogous.

• Cycles: 5,000

Requirements:

Max. permissible deflection under horizontal load max. 2% related to the force application height.

Note: Retightening of fastening screws permissible.

Dynamic test (drop test)

Test conditions:

Individual pieces of furniture (office desks and cabinets) tilted over narrow side according to picture (test based on DIN EN 1730 Point 6.9.)

Drop height according to DIN EN 527-2

Frequency: 2 times over each of the two narrow sides

Test surface: concrete floor with PVC overlay (1.5 mm thick)

- 22 -

Requirements:

No visible changes permitted; functional safety must remain unaffected.

Static load capacity, deflection of table and work surfaces

Test conditions:

• Static load of drawers, pull-outs, shelves, and inserts

• Static load of table and work surfaces (deviating from DIN EN 527-2)

• Table or work surface centre loaded with test weight

• Test weight: 75 kg, outside ø 350 mm

• Additional load: for office desks, cabinets with work surfaces etc., the additional load depends on the respective loads of the containers.

• Load duration: 7 days

Requirements:

• Max. permissible deflection under test load: 1/100 (related to panel length)

• Max. permissible permanent deformation: 3 mm

• Max. permissible inclination of the work surface for skid tables: 2%, measured at test load (see picture)

Note: Protruding tabletops and their fastening must be constructed in such a way that the unloaded table (dead weight) can be lifted at any point on the tabletop (requirement according to DIN Technical Report 147) and that it is possible to move the table in the room

Strength and fatigue under vertical force application

Testing according to DIN EN 527-2

- 23 -
Lowering Max. 2 % From T

Requirement:

No visible changes, functionality must remain unaffected

6.4.5. Furniture casters

Casters adapted to the weight of the loaded furniture must be used. The casters must meet the requirements of DIN EN 12528 or DIN EN 12530

6.4.6. Durability of pull-out stops

Test conditions:

Pull-outs loaded with payload; 1 pull-out fully extended; further pull-out on the actuating element loaded with tensile force to the outside.

• Tensile force: 100 N (threshold load)

• Load frequency: 5,000

• Test frequency: 15 min-1

Requirements:

Pull-out stop functionally reliable, actuating elements without damage

6.4.7. Freedom from vibrations

Test conditions and requirements based on DIN Technical Report 147.

The design must ensure that no disturbing vibrations occur in office work desks. This requirement is deemed to be fulfilled if the values for the permissible deflection (S permissible) given in Table 1 (DIN Technical Report 147) are not exceeded during the test with a pendulum impact hammer with an energy of 10 Nm.

Permanent deformation must not occur.

6.4.8. Foot levelling and floor loading

Office furniture must include a device to compensate for floor unevenness.

Test conditions:

The surface pressure is calculated over the supporting surfaces of the loaded furniture (loading according to DIN EN 14073-2). Supporting surfaces are pedestals, legs, and casters

- 24 -

Surface pressure = F1 + F 2 N/mm2

F1 = Dead weight force (N)

F2 = Specific load (N)

A = Total supporting surface of the stand elements (mm2)

Requirements:

Floor levelling min. 10 mm

Surface pressure = max. 4 N/mm2

Other values are to be specified in special agreements. In case of dynamic loads, e. g. due to vibration, pedestal constructions are recommended to avoid floor damage.

6.5. Safety and ergonomics

Office furniture, contract furniture and work furniture of all kinds are subject to the provisions of the Product Safety Act (ProdSG). Accordingly, the basic safety, occupational health and ergonomic requirements laid down in the relevant standards and safety regulations apply bindingly to all such furniture.

In addition, the goal for high-quality office furniture is to achieve optimum ergonomic functionality and variability.

6.5.1. External design, corners, edges, shaping, surface

Test conditions:

Haptic, metrological, and visual testing:

• Corners and edges of work surfaces (all accessible working edges) with which the user comes into contact during intended use and reasonably foreseeable misuse

• Shaping in leg area and head area (wall cabinets)

• Shaping in containers (drawers, shelves, baskets, etc.)

• Shaping of accessible fitting parts

• Surface finish with regard to roughness

• Surfaces with which the user is in constant contact, especially the worktop, must not allow any unwholesome heat dissipation

Requirements:

• Accessible corners and edges with minimum radius 2 mm

• Accessible corners and edges of tabletops with minimum radius 2 mm

- 25 -
A

• Material thicknesses not permitting these values must be free of burrs (see DIN ISO 13715)

• Avoidance of projections, corners and edges in the extended leg area, construction parts shaped with generous radii, no construction parts in the direct leg area, generous shaping in the accessible area of the head (wall cabinets in system furniture)

• No sharp-edged construction parts in containers

• Burr-free, optimally shaped, and rounded fittings

• Smooth and even accessible surfaces (except for design-related deviations that are not ergonomically disturbing)

• No unacceptable heat dissipation from work surfaces (thermal conductivity

≥ 0.7 watt/mK)

• Safety glass must be used for freely accessible vertical glass surfaces.

6.5.2. Functional safety

Safety distances, avoidance of pinching, crushing, and shearing points

Office furniture must be designed in such a way that, when used properly and in a foreseeable manner, there are no pinching, crushing, or shearing points on moving parts that could cause injury.

Based on DIN EN ISO 13857

Test conditions:

Testing of safety distances for moving parts:

• Adjustable tables, sitting/standing work desks

• Flaps, scissors, actuators

• Sliding doors

• Furniture with motorised adjusting parts, e. g. sitting/standing work desks

• Swivel and pull-out fittings

Requirements:

Opening width for fingertip < 8 mm or > 25 mm

Opening height for feet > 120 mm

Doors, flaps, and pull-outs including their hardware parts are excluded from this. The safety distances also apply to the distance between handles, knobs, and other parts.

- 26 -

Securing moving parts (e. g. drawers and doors)

Test conditions:

All detachable and moving furniture components are tested.

Essential criteria:

• Secure locking

• No automatic opening and closing of drawers, pull-outs, roller shutters and doors (with the exception of the self-closing mechanism)

• Drawers and pull-outs must be shock-absorbing to prevent them from being pushed in too far and to prevent them from falling out

• Doors, roller shutters, pull-outs and drawers must not be removed or unhinged when locked

• The securing of the moving parts must be sufficiently durable (verified by the functional life and wear test)

6.5.3. Ergonomic design

Ergonomic design of office furniture means that construction, conception, execution ,and use are carried out in such a way that an optimal adaptation to the working person is achieved.

Desk heights, legroom design

Test conditions:

Testing according to DIN EN 527-1, BGI 650

Requirements:

The minimum ergonomic dimensions must be observed.

- 27 -
Minimum distance Clamping points Minimum distance Crush points Shear points

Surfaces, surface gloss, surface brightness, heat dissipation

In the field of vision, glare due to shiny surfaces must be avoided and disturbing contrasts due to surfaces that are too bright or too dark must be ruled out (DIN Technical Report 147).

Test conditions:

• Testing of accessible and visible surfaces

• Condition (finish)

• Surface gloss: Exterior surfaces in the field of vision must not be glossy (gloss degree tables or reflectometer)

• Surface brightness: Exterior surfaces in the field of vision must not be too bright or too dark (reflectance tables or brightness metres)

• Heat dissipation

Requirements:

• Smooth surfaces that cannot cause injury when touched or permit distraction-free work (e. g. writing on work surfaces)

• Surface brightness (colour reflection) between 0.15 and 0.75

• Surface gloss max. 20 gloss units at 60° light incidence angle

• No unacceptable heat dissipation from surfaces with which the user comes into contact (thermal conductivity ≥ 0.7 watt/mK)

Noise generation of moving parts

Test conditions:

See test specifications for seated/standing workplaces

For partition walls, movable wall systems; testing of sound absorption for special equipment

Requirements:

For appropriately declared partition walls, room dividers and partition wall systems, sound absorption in accordance with the delivery agreement. The rating level at office workplaces should be as low as possible, taking into account the noise from outside.

Access area, rooms of use

Test conditions: (test criteria)

• Access area or access space for cabinets

• Access space for partial pull-outs

• Coordination dimensions with regard to file heights DIN A4 or hanging files DIN A4/A5

- 28 -

• Position of wall cabinets

Requirements:

Doors, sliding doors and roller shutters must be able to be opened to such an extent that the entire useable space can be accessed without hindrance (even when doors are open 90°, fixtures must be functional).

Partial pull-outs must allow at least 70% unhindered access.

Full-extension pull-outs must allow unhindered access to the full useable space.

The interior design of cabinets is free.

6.5.4. Stability

Test conditions:

The stability of office furniture must be guaranteed in every operating condition. This means that testing is carried out in the worst possible case, e. g. when all drawers, clothes rails, shelves etc. that can be pulled open at the same time are pulled out.

The furniture is loaded with loads from DIN EN 14073-3.

The stability test is carried out according to DIN technical report in deviation from DIN EN 5272 for tables and DIN EN 14073-3. In addition, the basic principles for testing the safety and ergonomics of office furniture on casters (except office seating) are to be applied. Furthermore, BGR 234 must be observed.

Requirements:

Furniture must not tip over.

Tables must be stable, even when loaded with 75 kg at the most unfavourable point of the tabletop.

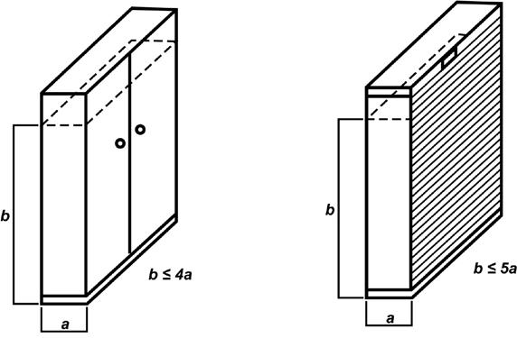
Provided that they have sufficient load-bearing capacity and are set up vertically, the following can generally be considered stable:

Cabinets with hinged doors, if the height of the uppermost shelf is not more than 4 times the plinth or frame depth (see picture).

Cabinets without doors, sliding or roller blinds, if the height of the top shelf is not more than 5 times the plinth or frame depth (see picture).

- 29 -

Room dividing elements

A device is used to apply a uniform increasing horizontal force, most unfavourable position, along a horizontal line of 1300 mm.

The applied force shall be increased gradually until either a maximum of 200 N is reached or the partition element is deflected 200 mm at the point of application of the force.

Note: Stability can be achieved by appropriate dead weight of the tables and cabinets, by pullout stops, by counterweights or wall fastening (here, holes must be drilled for the stable connection of the cabinets to each other or to structural elements).

6.5.5. Electrical safety

Electrical safety in general

Test conditions:

VDE 0100, Part 713, applies, with all tangential regulations depending on the equipment, as well as the BSO guideline for electrical installation in furniture.

Office furniture with electrical equipment and office furniture prepared for electrification are tested.

In the case of furniture subject to registration under the Electrical and Electronic Equipment Act (ElektroG), an appropriate marking must be made on the furniture and the type of disposal must be indicated in the operating instructions (see Guideline for electrical equipment / components in furniture 13.6).

Essential criteria:

• Cables, cable cross-sections

• Plug connections, other connections

• Mains connections

• Sockets

• Luminaires, other devices

• Installation ducts

- 30top shelf cabinet depth cabinet depth
top shelf

• Installation requirements

Requirements:

The requirements according to the applicable VDE regulations must be adhered to.

Conductivity of electrostatic charges (special furniture)

Special workplace conditions require dissipative office and work furniture

Test conditions:

Testing is carried out in accordance with DIN EN 61340

Measuring voltage: 500 V DC

Conditioning: 24 h at 25° C, 30% rel. humidity

Measurement in conditioning climate

Or

Testing is carried out in accordance with DIN EN 12527 for wheels and casters according to ESP (Expertise Service Providers).

Requirements:

Good discharge capacity is present at discharge resistances: 103 Ω < R abl. < 109 Ω

6.6. Function and handling

6.6.1. Function of moving parts

Test conditions:

The function of all moving parts is tested under normal operating conditions on loaded and unloaded furniture, also after the durability test.

Requirements:

• Actuating forces max. 50 N, for payloads > 400 N max. 12.5% of the payload

• Low-noise

• Smooth-running

• Functionally reliable

• No soiling due to greased, oiled, or otherwise treated parts

• Unhindered function under load

• No functional impairment after durability test

- 31 -

• With convertible office furniture functional reliability even after 10-fold conversion

6.6.2. General and special requirements according to DIN Technical Report 147

Test conditions:

• Testing of ergonomic requirements for function and handling

• Floor levelling according to DIN Technical Report 147

Requirements:

• Ergonomic functionality

• Floor levelling of tables and cabinets (except pedestals): 10 mm

6.6.3. Cleaning, care, assembly and installation instructions

Factual technical information should contain all the following details required by the user (IEC/IEEE DIN EN 82079-1):

• Permissible working loads

• Surface resistance

• Care and maintenance

• Assembly, if necessary

• Operation

Accordingly, the effectiveness and conformity of the technical information for the respective office furniture or office furniture programme is checked.

6.7. Surface properties

6.7.1. Chemical and mechanical stress

The following stress groups correspond to requirements for normal conditions of use. In case of deviations, appropriate product information is required:

6.7.1.1. Painted materials

- 32 -
Testing acc. to DIN 68861 Work surface Other surface Chemical stress DIN 68861 Part 1 1 B 1 C

stress

68861 Part 2

68861 Part 4

6.7.1.2. Melamine resin coated surfaces (MFB, HPL, KF panels)

Requirement / testing acc. to DIN 68861

68861 Part 1

68861 Part 2

68861 Part 4

EN 438-2

6.8. Corrosion resistance of fittings and office steel furniture

Test conditions according to DIN EN ISO 6270-2: AHT (condensation alternating climate)

1 cycle: 24 hrs, in total 2 cycles

8 hrs: 40° C ± 3° C, 100% rel. humidity

16 hrs: 18° C (up to 28° C) with 100% humidity (e. g. 75%)

Requirements: No signs of corrosion on visible parts

- 33Abrasion
DIN
2 D (50 to 150) 2 E (25 to 50)
4 E (0.5
1.0 N) 4 E (0.5 ≤ 1.0 N) Cigarette
DIN
6 B 6 D
1 2
stress
Scratch
DIN
test
EN 438-2
Cross cut EN ISO 24092 mm grid
Work surface Other surface Chemical stress DIN
1 B 1 B Abrasion stress DIN
2 B 2 C Scratch
DIN
4 B 4 C Cigarette
DIN
6 B 6 C
DIN
20
10 N
stress
test
EN 438-2
Impact stress with impact testing device
N

7. Office and Contract Chairs

7.1.

Safety

Office work chairs and visitor chairs must be designed in such a way that there is no risk of injury during use and that the ergonomic properties are fulfilled according to the state of the art.

This is ensured if DIN EN 1335-1, -2, DIN EN 16955 are complied with for office chairs and DIN EN 16139 for visitor chairs and DIN 68878 (20,000 cycles per load direction, 750 N overload) is also adhered to.

The tilt drop test is only to be carried out for four-legged chairs and conference chairs.

Note: For office chairs the bending fatigue method according to DIN EN 1335 Part 3, edition August 2002 (withdrawn) is applied.

Caster resistance test:

The caster resistance test for hard casters remains in deviation from the current version of DIN EN 1335 (requirement according to DIN 1335, Part 2, edition August 2012, withdrawn).

7.2. Ergonomic requirements

In addition to the legal requirements, office work chairs must also have the following features:

Minimum suspension

The chair must be equipped with a minimum suspension.

Testing:

The chair is adjusted once to the lowest seat height and once to the middle seat height, then a weight of 75 kg is dropped onto the seat surface from a height of 40 mm in each of these positions.

Adjust the drop height from the static sink-in point upwards. The dynamic reaction force must not exceed 4,500 N.

Surface pressure

Measurements with sedometer according to Ergonomic Testing Programme PfG 947/03.04 (TÜV Rheinland) Point 4.2; Requirement: < 3.0 N/cm2

- 34 -

Lifting the front edge of the seat

The front edge of the seat must not lift more than 20 mm when the backrest is tilted to the rearmost position.

Testing: according to PfG 947/03/04

Shirt-sliding effect

When leaning against the backrest, the relative movement between the back and the seat backrest must be limited.

Testing: according to PfG 947/03.04; relative movement < 1.5 mm/°

Upholstery / cover

Upholstery and cover must be permeable to air and water vapour.

Restoring force

The backrest must not spring forward in an uncontrolled manner.

7.3. Cover materials

Requirements and test methods

The respective requirements are taken from DIN EN 14465. The requirements take into account a wide range of different qualities.

Note: Special materials that do not meet the following requirements due to their designoriented conception and are nevertheless processed may not be associated with the RAL quality mark unless the deviating usage properties are clearly pointed out in the product information.

7.3.1. Fabrics for office and contract furniture

7.3.1.1. Tensile strength

This characteristic must be determined for all fabrics except knit and non-woven fabrics.

DGM plus requirement: At least 400 N

Testing according to DIN EN ISO 13934-1

7.3.1.2. Tear resistance

This characteristic must be determined for all fabrics except knit and non-woven fabrics.

DGM plus requirement: At least 30 N

- 35 -

Testing according to DIN EN ISO 13937-3

7.3.1.3. Resistance to seam slippage

This characteristic must be determined for all fabrics except knit and non-woven fabrics.

DGM plus requirement: Max. 5 mm

Testing according to DIN EN ISO 13936-2

7.3.1.4. Abrasion resistance

Abraded” or “completely abraded” means significant changes in structure or appearance such as loss of pile loops, loss of fibres in the flock layer, or destruction of three or more pile loops. These should be indicated in the test report, as should the evaluation interval at which they occurred. This information is purely informative.

With regard to colour change, all upholstery fabrics listed below must achieve at least fastness rating 3 after 3,000 abrasion cycles. The assessment is to be carried out using the grey scale according to DIN EN 20105-A02.

Flat woven fabric

Destruction of the test sample is usually achieved when three threads in a flat woven fabric are completely destroyed.

Assessment according to DIN EN 14465

DGM requirement: ≥ 30,000 abrasion cycles

Testing according to DIN EN ISO 12947-2

Destruction of the test sample is usually achieved when three threads in a chenille fabric are completely destroyed or when the chenille layer is completely abraded (whichever occurs first).

Assessment according to DIN EN 14465

DGM requirement: ≥ 30,000 Martindale cycles

Testing according to DIN EN ISO 12947-2

- 36 -
Chenille

Knitted fabric

Destruction of the test sample is usually achieved when a hole appears in a knitted fabric (without pile) due to a completely destroyed thread.

Assessment according to DIN EN 14465

DGM requirement:

≥ 30,000 Martindale cycles

Testing according to DIN EN ISO 12947-2

Loop pile fabric

Destruction of the test sample is usually achieved when the pile is completely abraded in a loop pile fabric.

Assessment according to DIN EN 14465

DGM requirement:

≥ 30,000 Martindale cycles

Testing according to DIN EN ISO 12947-2

Pile fabric

Destruction of the test sample is usually achieved when

• in a pile fabric the pile layer is completely abraded without destroying the warp/weft threads.

• in a knitted pile fabric, the pile layer of 5 mm2 is completely abraded without destroying the warp/weft threads.

Assessment according to DIN EN 14465

DGM requirement:

≥ 30,000 Martindale cycles

Testing according to DIN EN ISO 12947-2

Flocking material

Destruction of the test sample is usually achieved when the fibre layer of the flocking material is completely abraded or detached without the carrier fabric being frayed or abraded.

Assessment according to DIN EN 14465

DGM requirement:

≥ 30,000 Martindale cycles

Testing according to DIN EN ISO 12947-2

- 37 -

Non-woven fabric

Destruction of the test sample is usually achieved when a hole is observed in a non-woven fabric. A hole means that the top layer is abraded in such a way that a different looking layer or the base fabric is visible.

Assessment according to DIN EN 14465

DGM requirement:

≥ 30,000 Martindale cycles

Testing according to DIN EN ISO 12947-2

Napped fabric

Destruction of the test sample is usually achieved when the fibre layer of a napped fabric is completely abraded.

Assessment according to DIN EN 14465

DGM requirement:

≥ 30,000 Martindale cycles

Testing according to DIN EN ISO 12947-2

7.3.1.5. Pill formation

Must be determined for flat woven fabrics, knitted fabrics (without pile), loop pile fabrics and non-woven fabrics.

A scouring agent fabric made of wool (according to DIN EN ISO 12947-1) must be used and the category must be determined after 2,000 abrasion cycles.

DGM requirement:

At least grade 4

Testing according to DIN EN ISO 12945-2

7.3.1.6.

Light fastness

For light colours, a tolerance of a fastness rating of 0.5 applies.

DGM requirement:

At least fastness rating 5

Testing according to DIN EN ISO 105-B02 Procedure 2 (Procedure 3 may be used for quality control purposes.)

Correction of the test procedure referencing was made on 15/05/2024

7.3.1.7. Rubbing fastness dry

DGM requirement:

At least fastness rating > 4

- 38 -

Testing according to DIN EN ISO-105 X12

7.3.1.8.

DGM requirement:

Rubbing fastness wet

At least fastness rating 3 to 4

For dark and brilliant colours and blends, for natural and viscose fibres the following applies:

DGM requirement: At least fastness rating 3

Testing according to DIN EN ISO-105 X12

7.3.1.9. Colour difference

Permissible colour difference between the supplied material and the sample material according to greyscale (DIN EN 20105-A02)

Upholstery fabrics:

DGM requirement: At least level 4

Micro fibre fabrics:

DGM requirement: At least level 3 to 4

7.3.1.10.

Flammability

Cigarette test according to DIN EN 1021-1 must be passed.

Testing according to DIN EN 1021-1

7.3.2. Leather for office furniture

The following test requirements apply to new, unused leather. For used leathers, the tests and test results are only a guide.

Note for incoming goods inspections, see appendix 13.8

Point 3.2 Internal quality control must be observed as well.

7.3.2.1. Definition leather

Definitions of terms related to leather according to DIN EN 15987, RAL 060 A2 and RAL 061 A1 as well as DIN 68871.

Labelling regulations for products related to leather according to RAL 060 A2, RAL 061 A1, DIN 68871 and DIN EN 16223-1 must be observed.

- 39 -

7.3.2.2. Colour migration

Determination of colour migration fastness to plasticised polymers.

Requirement: grey scale ≥ 4

Testing according to DIN EN ISO 15701

7.3.2.3. Light fastness

For all types of leather, at least light fastness level 3 (fastness rating 3) must be demonstrated, unless listed separately below.

Aniline leather, natural

Aniline leather, refined (optimised for use)

Semi-aniline leather, lightly pigmented

Leather, pigmented

Ful grain leather / nubuck

≥ Level 3

≥ Level 3

≥ Level 4

≥ Level 5

≥ Level 3

If particularly high usage properties are advertised, at least level 6 must be demonstrated in each case.

Testing according to DIN EN ISO 105-B02 Exposure method 3

White leathers must not show any yellowing after three days of (dark) storage at 50° C.

Visual assessment according to DIN EN ISO 20105-A02; grey scale at least level 4 to 5

7.3.2.4. Rubbing fastness

Requirements:

Full grain leather / nubuck / aniline leather, natura

Felt dry

Felt welt

Felt moistened with alkaline sweat solution

(pH value 8)

(Colour black: at least level 2)

3

3

Note: With the colour black, no higher value than at least level 2 is currently achievable according to the state of the art.

- 40 -
No. of cycles Level
50
3
20
20

Aniline leather, refined (optimised for use)

Felt dry

No. of cycles Level

3

Felt welt 40 3

Felt moistened with alkaline sweat solution

30 3 (pH value 8)

(Colour black: at least level 2)

Semi-aniline leather, lightly pigmented

Felt dry

Felt wet

Felt moistened with alkaline sweat solution

No. of cycles Level

500 4

80 3 to 4

50 3 to 4 (pH value 8)

(Colour black: at least level 2)

Pigmented leather

Felt dry 500 4

Felt wet

3 to 4

Felt moistened with alkaline sweat solution 80 3 to 4 (pH value 8)

Note: If particularly high usage properties are advertised, at least level 4 to 5 must be demonstrated for all types of leather.

The colouring of the felt is assessed using the grey scale DIN EN 2015-A03; the damage to the surface is also assessed according to DIN EN ISO 11640.

7.3.2.5. Permanent bending strength

Semi-aniline leathers and pigmented leathers must not show any cracks, grey fracture, or detachment even after 50,000 buckling cycles.

This test is not necessary for suede/nubuck.

Aniline leather and aniline leather, refined (optimised for use) must not show any cracks, grey fracture, or detachment even after 20,000 buckling cycles.

Testing according to DIN EN ISO 5402-1

- 41 -
100
No.
of cycles Level
250

7.3.2.6. Adhesion of the finish

Minimum value for the adhesion of the finish for smooth leather ≥ 2.0 N / 10 mm strip width.

Separation within the finish layer is not permitted, even if the force is greater than 2 N/10 mm.

Testing according to DIN EN ISO 11644 in N/cm; at least 3 samples from different locations

7.3.2.7. Tear propagation force

The tear propagation force must be ≥ 20 N.

Testing according to DIN EN ISO 3377-1

7.3.2.8. Cold fracture resistance of the finish

No fractures of the finish may occur.

Testing according to DIN EN ISO 17233 up to -15° C

7.3.2.9. Water drop fastness

Testing and requirements based on DIN EN ISO 15700

Evaluation of water drop penetration time

Test duration:

Aniline leather, natural

Aniline leather, refined (optimised for use)

Semi-aniline leather, lightly pigmented

Pigmented leather

Full grain leather / nubuck

Grey scale at least level 3, no permanent swelling

7.3.2.10. pH value of the leather

According to DIN EN 13336 ≥ 3.5

Testing according to DIN EN ISO 4045

At least 10 min.

At least 10 min.

At least 10 min.

At least 30 min.

At least 10 min.

- 42 -

7.3.2.11. Dyeing for leather

Leather must be dyed throughout. Absolutely 100% colour uniformity between surface and inner zone is not possible due to processing reasons. Slight differences in colour are permissible. The colour of the crust (uncoated leather) must match the top layer.

Visual assessment

Colour difference

Permissible colour differences from the delivered material to the sample material as well as within a leather hide and on the processed upholstered furniture according to grey scale DIN EN 20105-A02.

Requirements:

Aniline leather, natural

Aniline leather, refined (optimised for use)

Semi-aniline leather, lightly pigmented

Pigmented leather

Full grain leather / nubuck

Visual assessment

7.3.2.12. Water vapour permeability

At least level 3

At least level 3

At least level 4

At least level 4

At least level 3

Measured in mg (cm² x h). This test is currently still considered a recommendation.

Requirements:

Aniline leather, natural ≥ 3

Aniline leather, refined (optimised for use) ≥ 2

Semi-aniline leather, lightly pigmented ≥ 3

Full grain leather / nubuck ≥ 10

Testing according to DIN EN ISO 14268 (without pre-treatment)

7.3.2.13. Water vapour uptake

Measured in mg (cm² x h)

Test climate 23° C / 50% rel. humidity

- 43 -

This test is currently still considered a recommendation.

Requirements:

Aniline leather, natural 8

Aniline leather, refined (optimised for use) 6

Semi-aniline leather, lightly pigmented 6

Full grain leather / nubuck 10

Testing according to DIN 17229

7.3.2.14. Elongation in the tensometer

Measurement of the permanent elongation in the tensometer according to DIN 53323 or JUP 13.

Within 30 ± 10 s bring the pressure up to 5 bar, hold for 10 s, release for 30 s, then read off the permanent elongation at 1 bar.

Requirement: < 20%

7.3.2.15. Resistance to ageing and temperature

Visual assessment of colour shade and surface. No changes must be detectable after the test, e. g. no cracks, colour changes, strong shrinkage, changed grain.

Evaluation of a colour change with the grey scale according to DIN EN 20105-A02: at least level 4 to 5.

Testing after 3 days at 60° C in a heating cabinet

7.3.2.16. Leather processing

Leather cuts and seam designs may have additional dividing seams for leather processing due to material and processing reasons (product information).

Natural and growth characteristics

Natural and growth characteristics include all fused and closed injuries and features which have occurred on the living animal. These may be processed while maintaining the usual durability and harmonious overall appearance. Open, not overgrown and subsequently developed damage to the skin is considered a defect. This includes tanning and finishing defects as well as storage damage.

- 44 -

Split leather

Split leathers such as split velour and covered split leather as well as leather fibre materials are not permitted for use surfaces (seat, back, armrest inner surfaces, armrest tops).

If types of leather are used on the main body of the furniture item or the reverse side, then the item of upholstered furniture must be clearly labelled (product information).

7.3.3. Artificial leather for office furniture

According to DIN 16922, artificial leather is a coated textile. For the purposes of RAL-GZ 430, artificial leather in the narrower sense is understood to be a coated textile with a leather-like surface and/or leather-like characteristics. The composition of the coating materials must be stated, also in the product information (e. g. 95% PVC, 5% PUR).

If used for the seat surface of seating furniture, artificial leather must show comparable characteristics to natural leather in terms of water vapour permeability.

7.3.3.1. Surface characteristics

Rubbing fastness

Dry

Wet

Testing according to DIN EN ISO 105-X12

Light fastness

Fastness rating ≥ 4.5

Fastness rating ≥ 4.5

In principle, all artificial leathers must correspond to at least level 5.

If particularly high usage properties are advertised, at least level 6 must be demonstrated.

Testing according to DIN EN ISO 105-B02 Exposure method 3

Light-coloured or white artificial leathers must not show any yellowing after 3 days of (dark) storage at 50° C in a circulating air oven:

Requirement: ∆b ≤ 0.5 according to the CIELAB system against the zero sample.

Storage conditions according to DIN EN 12280-1, Procedure 1

Colour measurement with a suitable colour measuring device according to DIN 5033-7

- 45 -

7.3.3.2. Strengths

Tear resistance

Longitudinal ≥ 25 N

Transverse ≥ 20 N

Testing according to DIN EN ISO 4674-1, Procedure B

Maximum tensile strength

Longitudinal ≥ 380 N/5 cm

Transverse ≥ 280 N/5 cm

Testing according to DIN EN ISO 1421, Procedure 1

Adhesion strength of the coating to the substrate

Longitudinal ≥ 25 N/5 cm

Transverse ≥ 20 N/5 cm

Testing according to DIN EN ISO 2411

7.3.3.3. Wear characteristics

Rubbing resistance according to Martindale

Martindale 51,200 cycles dry

Martindale 25,600 cycles wet

Level ≤ 2

Level ≤ 2

Testing according to DIN EN ISO 54702, Procedure 1 with wool fabric*

*In deviation from the standard DIN EN ISO 5470-2, significant colour changes due to rubbed-off print application must be assessed with level 3 and are therefore not permissible.

Continuous folding behaviour Ballyflex 23° C 50,000 cycles

Longitudinal

Transverse

Testing according to DIN EN ISO 32100

Level ≤ 1

Level ≤ 1

- 46 -

7.3.3.4. Hydrolysis test (only for PUR artificial leather)

Evaluation of surface condition: no cracks, no detachment

After testing 21 d / 70° C / 95 to 98%: no delamination and no stickiness

Continuous folding behaviour Ballyflex 23° C 15,000 cycles

Longitudinal

Transverse

Testing according to DIN EN ISO 32100

7.4.

Construction components

Level < 2

Level < 2

Seat supports, casters, foot crosses, mechanisms, gas springs, etc.

If supplied components with a safety function are used, evidence of component testing is required.

8. Safety

In accordance with the Product Safety Act (ProdSG) the following applies:

A product may only be made available on the market if it does not endanger the safety and health of persons or other legal interests listed in the legal ordinances pursuant to Article 3 when used as intended or in a foreseeable manner.

Furthermore, the safety and ergonomic requirements of BGI 650 must be taken into account (see also Point 7.2 Ergonomic requirements).

9. Electrical Appliances

Only electrical equipment and components that comply with the current and relevant EU directives or EN standards may be used.

In the case of furniture subject to registration in accordance with the Electrical and Electronic Equipment Act (ElektroG), appropriate labelling must be applied to the furniture and the method of disposal must be indicated in the operating instructions.

Note for electrical safety: see “Guideline for electrical equipment/ components in furniture” 13.6

- 47 -

10. Labelling

Furniture that complies with these Quality and Testing Regulations and which has been awarded the quality mark can be labelled with the quality mark shown below:

RAL-GZ 430 / 8

The implementation regulations of the Deutsche Gütegemeinschaft Möbel apply exclusively to the use of the quality mark.

11. Amendments

Amendments to these Quality and Testing Regulations require the prior written consent of RAL to become effective. They come into force after a reasonable period of time after they have been announced by the Executive Board.

12. Implementing Regulations for the Award and Use of the Quality Mark of the Deutsche Gütegemeinschaft Möbel e. V.

12.1. Assessment basis

The assessment basis for the quality mark consists of the Quality and Testing Regulations for Furniture. It is amended and further developed in line with technical progress.

12.2. Awarding the quality mark

11.2.1 The Deutsche Gütegemeinschaft Möbel e. V. awards the right to use the quality mark for furniture to manufacturers of quality furniture upon application.

11.2.2 The application for the award of the quality mark must be submitted in writing to the office of the Deutsche Gütegemeinschaft Möbel e. V., Friedrichstraße 13-15 in 90762 Fürth. The application must be accompanied by a list of the products which the applicant wishes to have approved for quality assurance as well as a legally binding signed certificate of commitment (Sample 1).

- 48 -

11.2.3 This application is reviewed by the Quality Committee. The Quality Association commissions a neutral testing institute to carry out the initial testing. The test result is sent in writing to the Quality Committee, the applicant, and the Executive Board of the Quality Association. In addition, the Quality Committee may arrange for a factory inspection to be carried out by authorised inspectors or inspectors authorised by the testing institute. The applicant shall bear the costs for this as well as the cost for the inspection of the products. The Quality Association may authorise the testing institute to request an advance payment for inspection costs.

11.2.4 If the result of the inspection is positive, the Executive Board of the Quality Association awards the quality mark to the applicant on the recommendation of the Quality Committee. The award is certified (Sample 2). If the result of the inspection is negative, the Quality Committee will defer the application. It must give reasons for the deferral in writing.

12.3. Use of the quality mark

11.3.1 Users of the mark may only use the quality mark for products that comply with the Quality and Testing Regulations.

11.3.2 The Quality Association has the sole right to have marking materials of the quality mark produced for all purposes (embossing stamps, printing blocks, matrixes, seal stamps, rubber stamps, etc.) and to issue them or have them issued to the users of the quality mark or to grant permission for their production and to specify the type of application in more detail.

11.3.3 The Executive Board may issue special regulations for the use of the quality mark in advertising on brochures, offers, order confirmations and delivery bills, etc., in order to maintain fair competition and prevent misuse of the quality mark.

11.3.4 The right to use the quality mark ends in case of death, opening of insolvency proceedings, liquidation, withdrawal or if the user of the quality mark renounces the right to use the quality mark by legally signed declaration to the Managing Director by registered letter on a date determined by the user.

11.3.5 If the right to use the quality mark has been legally withdrawn, the award certificate and all means of labelling with the quality mark must be returned; there is no entitlement to reimbursement. The same applies if the right to use the quality mark has otherwise expired.

12.4. Quality Control

11.4.1 The Quality Association is entitled and obliged to monitor compliance with the Quality and Testing Regulations as well as the lawful and proper use of the quality mark.

- 49 -

11.4.2 Every user of the quality mark must take the necessary precautions to ensure that the products bearing the quality mark comply with the Quality and Testing Regulations. Careful records must be kept of the required internal quality control procedures. In addition, every user of the quality mark shall subject these products to the monitoring tests arranged by the Quality Association to the extent and frequency in accordance with the requirements of the Quality and Testing Regulations and shall bear the testing and transport costs incurred as a result.

11.4.3 The Quality Committee commissions neutral testing institutes (officially recognised material testing institutes or equivalent testing institutes) to carry out the monitoring tests and makes the necessary agreements with them.

11.4.4 Assessors authorised by the neutral testing institutes may carry out monitoring tests at the company of the quality mark user at any time without prior notification up to twice a year, inspect the records of the company's own inspections and visit the company during operating hours. Products requested by the assessor as test pieces are to be handed over immediately. The assessor is entitled to dismantle finished products during the inspection. If the test is carried out elsewhere, the test pieces must be clearly marked by the assessor immediately upon removal. Products of the quality mark user can also be taken from the trade.

11.4.5 The appointed testing institute determines the test results independently of the bodies of the Quality Association. The testing institute prepares a test report for each test, a copy of which is sent to the Quality Association and to the quality mark user in question. Further dissemination of the test result is prohibited.

11.4.6 In case of a negative test result or in case of complaints about products of the quality mark user, the Quality Committee has the test repeated.

11.4.7 In the case of inspections requested from the Quality Association by third parties, the inspection costs are borne by the complainant in the event of an unjustified complaint, and by the quality mark user in the event of a justified complaint.

12.5. Sanctioning of violations

11.5.1 If the Quality Committee identifies deficiencies in quality assurance, it proposes sanctioning measures to the Executive Board of the Quality Association. Depending on the severity of the violation, the Board may:

11.5.1.1 Issue an instruction and/or a warning against the user of the quality mark,

11.5.1.2 Order an increase in the number of monitoring tests to be carried out for a certain period of time,

11.5.1.3 Impose the payment of a contractual penalty depending on the extent of the breach in question, up to EUR 10,000 in favour of the Quality Association,

- 50 -

11.5.1.4 Withdraw the right to use the quality mark temporarily or permanently.

11.5.2 If deviations from the Quality and Testing Regulations or an infringement of the conditions of use of the quality mark are detected during inspection of the products of the quality mark user, an instruction or warning will be issued. Depending on circumstances, the latter is issued in conjunction with an ordered increase in the number of monitoring tests to be carried out and/or by the imposition of a contractual penalty. The contractual penalty is to be paid to Deutsche Gütegemeinschaft Möbel e. V. within 14 days after the decision has become legally binding.

11.5.3 The right to use the quality mark will be withdrawn temporarily or permanently if the Quality and Testing Regulations or the conditions for use of the quality mark have been repeatedly violated, or if the quality mark has been misused, or if a deliberate violation of the Quality and Testing Regulations has been proven, or if the quality mark user otherwise grossly violates the quality assurance through their conduct.

11.5.4 Should a member use the quality mark without authorisation or allow a third party to affix it to their products or permit the third party to use the quality mark in any other way, a contractual penalty of up to EUR 10,000 will be due for each individual case. Any legal action ensuing from such behaviour will not be affected by the issuing of said penalties.

11.5.5 A penalty as laid out under Section 5.1 may also be issued if the quality mark user delays or obstructs immediate monitoring tests as described under Section 4.

11.5.6 The affected party must be heard before any measures are taken. Before the right to use the quality mark is withdrawn from a quality mark user, the affected party must be given the opportunity to make a statement within a period of 4 weeks.

11.5.7 In urgent cases, the Chairman of the Quality Association may provisionally prohibit a quality mark user from using the quality mark with immediate effect. Such an order must be confirmed or rescinded by the Executive Board of the Quality Association within 14 days.

11.5.8 The duty of the Quality Association to intervene against impairment of the use of the quality mark and in the event of misuse of the quality mark also obliges the users of the quality mark under trademark law to notify the Managing Director of the Quality Association without delay of any violations of the conditions of use of the quality mark and any cases of misuse of the quality mark of which they become aware and to submit substantiating documents so that the violation can be prosecuted in an appropriate manner. Failure to do so shall be punished in accordance with Section 5.1.

11.5.9 Measures taken by the Quality Association to protect the quality mark within the meaning of these provisions shall not affect the right of quality mark users to assert

- 51 -

any claims for compensation for damage directly incurred by them as a result of infringement under civil law.

12.6. Objection

11.6.1 The quality mark user may lodge an appeal with the Quality Committee against a penalty notice in accordance with Section 5.1 within 4 weeks of notification of the notice. A decision on the appeal must be made within 4 weeks. The appeal has a suspensive effect; however, in the event of an acute risk of misleading the market, the Quality Committee may provisionally confirm a sanctioning measure in accordance with Section 5.1.4 even before deciding on the appeal.

11.6.2 If the objection is rejected, the complainant may take legal action in accordance with Section 11 of the Articles of Association within 4 weeks of being served with the decision rejecting the complaint.

12.7. Reinstatement of usage rights

If the right to use the quality mark has been withdrawn, it may be re-awarded after three months at the earliest. The procedure is determined in accordance with Section 2. However, the Executive Board of the Quality Association may impose additional conditions.

12.8. Amendments

These Implementing Regulations together with samples (declaration of membership, award certificate) are recognised by RAL. Amendments, including those of an editorial nature, require the prior written consent of RAL to become effective. They come into force after being announced by the Executive Board within a reasonable period determined by the Executive Board of the Quality Association.

- 52 -

Certificate of Commitment for the Quality Assurance of the Deutsche Gütegemeinschaft Möbel e. V.

1. The undersigned / the undersigned company hereby applies to the Deutsche Gütegemeinschaft Möbel e. V. for

 admission as a member*

 the award of the right to use the quality mark for furniture in conjunction with the product related addition according to Section 2 of this Certificate of Commitment.

2. The undersigned / the undersigned company confirms that they have read the Quality and Testing Regulations for Furniture in conjunction with the

 Quality and Testing Regulations for Cabinet Furniture, RAL-GZ 430/1*

 Quality and Testing Regulations for Kitchen and Bathroom Furniture, RAL-GZ 430/2*

 Quality and Testing Regulations for Tables, Chairs and Corner Seats, RAL-GZ 430/3*

 Quality and Testing Regulations for Upholstered Furniture, RAL-GZ 430/4*

 Quality and Testing Regulations for Beds, RAL-GZ 430/5*

 Quality and Testing Regulations for Mattresses, RAL-GZ 430/6*

 Quality and Testing Regulations for Waterbeds, RAL-GZ 430/7*

 Quality and Testing Regulations for Office Furniture, RAL-GZ 430/8*

 Quality and Testing Regulations for Children’s Furniture, RAL-GZ 430/9*

 Quality and Testing Regulations for School Furniture, RAL-GZ 430/10*

 Quality and Testing Regulations for Outdoor Furniture RAL-GZ 430/11*

The Articles of Association of the Deutsche Gütegemeinschaft Möbel e. V.,

The Quality Mark Statutes for the quality mark Furniture,

The Implementing Regulations with Samples 1 and 2

and hereby recognise them without reservation as binding in themselves.

Number of employees: ...............

(Place and date)

*Please mark as appropriate

(Stamp and signature of the applicant)

- 53 -
________________________

Certificate

On the basis of the test report submitted to the Quality Committee, the Deutsche Gütegemeinschaft Möbel e. V. hereby awards the company

Mustermann GmbH

Marktplatz 1, 12345 Witzhausen, Deutschland

the Quality Mark for Furniture

Which has been recognised by RAL Deutsches Institut für Gütesicherung und Kennzeichnung e. V. (RAL German Institute for Quality Assurance and Labelling) and is protected as a collective trademark through registration at the German Patent and Trademark Office in connection with the product-related addendum according to the following mark illustration

FÜRTH, 01. 01. 2022

Chairperson of the Board CEO

- 54 -
RAL-GZ 430/____

13.1. Transport and assembly guidelines for box furniture

Industry – Logistics – Trade

Index

Delivery vehicle

Loading (valid for industry and trade)

Unloading at the warehouse

Unloading at the end customer

Furniture assembly

Furniture, equipment and b uilding connection technology

Returns

- 55 -
13. Annex

Delivery vehicle

The delivery vehicle must meet the following requirements of a transport-suited furniture delivery:

• Solid, watertight box truck

• Walls with coextensive lashing rails at 3 different heights (at least)

• Load compartment floor always well-swept, smooth, and clean

• Unloading edge rounded and in clean condition

• Equipment:

 Furniture covers (in sufficient number)

 Foam wedges

 Lashing straps (according to DIN EN 12195-2)

 Loading bars

 Sack truck (rounded edges)

 Airbags

Loading (valid for industry and trade)

The following criteria must be taken into account for loading:

• Check furniture items for damage and completeness

• Do not place furniture item on the edge/corner

• Take into account the specified stacking edge (symbol acc. to DIN EN ISO 780)

• Stack furniture items according to the rule light on heavy

• Use suitable cargo securing equipment

• For extra protection, always place furniture fronts (tall cabinets) between outer and middle sides

• Never place mirrors and glass components on the edge and always protect them with covers, cardboard, etc.

• Do not slide packages of dressers, panels and kitchen corner base cabinets when stacking, but place them correctly on top. The load must be transmitted in such a way that it is secured by the corner protection edges at the body

• Always secure kitchen corner base cabinets with a protective plate before stacking them with other packages

- 56 -

• Observe unloading points and commission-specific loading sequence

Unloading at the warehouse

• When releasing the load securing devices, make sure that the furniture items do not tilt or slip

• Do not place furniture items on the corner/edge

• Observe the unloading guidelines of the trading partners

• Check furniture items for damage and completeness; obvious damage must be reported to the warehouse personnel/forwarding agency and documented in the delivery note

• After each unloading point, the remaining furniture items must be reloaded and secured (as described under Loading)

Unloading at the end customer

• When releasing the load securing devices, make sure that the furniture items do not tilt or slip

• Do not place furniture items on the corner/edge

• Do not remove the original packaging until you are at the installation site

• The possible disassembly of a piece of furniture to facilitate transport may only be carried out in accordance with the assembly instructions

• Any damage must be documented immediately with photos

Furniture assembly

• Assembly pursuant to the manufacturer’s specifications according to the assembly and installation instructions

• Alignment for a harmonious overall appearance

• Horizontal alignment on the floor space

• Briefing of the customer on the product, including visual inspection and functional testing

• Handing over of the product information (operating or instruction manual)

• When using electrical or battery-powered components, the manufacturer’s safety and operating instructions must be strictly observed

- 57 -

• Wall mounting for tilt-critical furniture

• Mount wall cabinets with fasteners that are adapted to the wall structure 1

• Special tools provided by the manufacturer for assembly and disassembly must be used

• Take into account functional and assembly dimensions

Assembly clearance – upwards, tilt angle for high parts: height dimension + approx. 2%

Mounting clearance for corner units approx. 20 mm per wall leg side, check angle in advance with protractor

Furniture, equipment and building connection technology

All electrical connections must only be installed by trained personnel!

Technical basics

• Electrical installations in furniture according to DIN VDE 0100 Part 724

• Lighting systems in furniture according to DIN VDE 0100 Part 559

• Lights, cables, and wires according to DIN EN 60598/ VDE 0711 with quality mark

• Lights, safety transformer, converter according to DIN VDE 0710 Part 14 with labelling

• Connection and connecting element according to DIN EN 60320

1 The furniture buyer is responsible for the suitability of the building conditions for the installation and assembly of the furniture, particularly with regard to the load-bearing strength of the walls and their building moisture/wall humidity.

- 58 -

Consultation obligations and sales bases

The furniture buyer is obligated to point out construction- related conditions and obstacles! If obstacles are not indicated in the purchase contract, the assembler has the duty of care to check the following details before assembly, which inhibit , restrict, or possibly exclude correct assembly.

The basis for the test is an electronic construction and cable finder for:

• Electrical lines

• Water/drainpipes

• Heating pipes – wall and floor heating

• Communication/TV connections

• Gas connections

When connecting extractor hoods, open fireplaces must be taken into account. An additional circuit with a tilt switch to the window is necessary here to ensure a sufficient amount of air in the room.

Stove with gas connection

Installation may only be carried out by qualified personnel.

Technical information

• Network and antenna connection behind/above media elements

• Euro socket strip with overvoltage for equipment connection technology

• Separation of current- and signal-carrying cable connections

• Wall mountings: check of wall condition required

• Mounting position can be seen in the planning height according to the drawing – cable outlet centred behind the rear panel

• For wall shelves 300 mm from outer edges

• Installation or attachment with network connection (fixed connection only by qualified electrician)

• Separate circuits are possible on request

• Control via foot-, radio-, dimmer- or IR- switch

• Cable connections “on wall plaster” with paintable cable duct

• Cable connection “below wall plaster” with empty conduit Ø 20 mm

- 59 -

Building connection

Installation position of electrical components to network connection only as instructed by the manufacturer.

Electrical or fixed sanitary connection only by skilled electrician or sanitary expert

Caution – induction current

Always mask cable routing separately – if possible, do not lay cables crosswise so that a negative induction current reaction can be ruled out.

Safety and warning instructions

• Disconnect the power during assembly, cleaning, or servicing of electrical equipment.

• Small children should not be able to reach or operate electrical equipment.

• Electrical equipment must not be covered or hung up (heat accumulation or danger of overheating).

• Spare parts may only be replaced if they are of the same type and have the same amperage and voltage

Returns

“Returns are to be treated as new goods (possibly already customer property)”

• If possible, the goods should be packed already in the customer’s home (but at the latest on the truck)

- 60 -

• The goods must be packed in such a way that further additional, subsequent damage is avoided (with bubble wrap and edge protection if possible).

• Further additional damage must be reported immediately to your customer service.

• The goods must be declared in such a way that proper “internal control” can take place (e. g. return for factory rework).

• The goods must be handled with even more care than new goods during the entire transport route.

• The goods must be taken to their designated storage position and stored in such a way that no further damage is caused.

• If the goods are forwarded (e. g. by forwarding agency to industry), it must be ensured that they are ready in time for the notified date (if necessary, the driver – including the forwarding agent - m ust be asked to take the returned goods with him).

- 61 -

13.2. Transport and assembly guidelines for upholstered furniture

Industry – Logistics – Trade

Index

Delivery vehicle

Loading (valid for industry and trade)

Unloading at the warehouse

Unloading at the end customer

Furniture assembly

Returns

- 62 -

Delivery vehicle

The delivery vehicle must meet the following requirements of a transport-suited furniture delivery:

• Solid, watertight box truck

• Walls with coextensive lashing rails at 3 different heights (at least)

• Load compartment floor always well-swept, smooth, and clean

• Unloading edge rounded and in clean condition

• Equipment:

– Furniture covers (in sufficient number)

– Foam wedges

– Lashing straps (according to DIN EN 12195-2)

– Loading bars

– Sack truck (rounded edges)

– Airbags

Loading (valid for industry and trade)

The following criteria must be taken into account for loading:

• Check furniture items for damage and completeness

• Do not place furniture item on the edge/corner

• Take into account the specified stacking edge (symbol acc. to DIN EN ISO 780)

• Stack furniture items according to the rule light on heavy

• Use suitable cargo securing equipment

• Avoid creating pressure points when using lashing straps/loading bars

• Observe unloading points and commission-specific loading sequence

Unloading at the warehouse

• When releasing the load securing devices, make sure that the furniture items do not tilt or slip

• Do not place furniture items on the corner/edge

• Observe the unloading guidelines of the trading partners

- 63 -

• Check furniture items for damage and completeness; obvious damage must be reported to the warehouse personnel/forwarding agency and documented in the delivery note

• After each unloading point, the remaining furniture items must be reloaded and secured (as described under Loading)

Unloading at the end customer

• When releasing the load securing devices, make sure that the furniture items do not tilt or slip

• Do not place furniture items on the corner/edge

• Do not remove the original packaging until you are at the installation site

• The possible disassembly of a piece of furniture to facilitate transport may only be carried out in accordance with the assembly instructions

• Any damage must be documented immediately with photos

Furniture assembly

• Assembly pursuant to the manufacturer’s specifications according to the assembly and installation instructions

• Alignment for a harmonious overall appearance

• Horizontal alignment on the floor space

• Briefing of the customer on the product, including visual inspection and functional testing

• Handing over of the product information (operating or instruction manual)

• When using electrical or battery-powered components, the manufacturer’s safety and operating instructions must be strictly observed

• Special tools provided by the manufacturer for assembly and disassembly must be used

Returns

“Returns are to be treated as new goods (possibly already customer property)”

• If possible, the goods should be packed already in the customer’s home (but at the latest on the truck).

• The goods must be packed in such a way that further additional, subsequent damage is avoided (with bubble wrap and edge protection if possible).

• Further additional damage must be reported immediately to your customer service.

- 64 -

• The goods must be declared in such a way that proper “internal control” can take place (e. g. return for factory rework).

• The goods must be handled with even more care than new goods during the entire transport route.

• The goods must be taken into their designated storage position and stored in such a way that no further damage is caused.

• If the goods are forwarded (e. g. by forwarding agency to industry), it must be ensured that they are ready in time for the notified date (if necessary, the driver – including the forwarding agent - m ust be asked to take the returned goods with him).

- 65 -

13.3. Estimates of dimensions and requirements

Name, address

Commision no./ purchase agreement no. :

Room dimensions (please provide a sketch) : room height, width, depth, angle, wall projection, door width, etc.Unobstructed access on the day of delivery is possible (wide doors, staircase) yes □ no □

Base height:___________ cm

Working height:___________ cm

Window height:____________ cm

Balustrade height (upper edge of windowsill): ___________ cm Tall cabinet height (without cornice) ___________ cm

Required door dimension for corner cabinets: ___________ cm

Information on parking possibility for delivery vehicle )e.g. distance to customer: _________________________________________

Note for large capacity furniture (dimensions, weight, disassembly possibilities): __________________________________________

The following points must be observed: Yes No

Worktop with excess depth cm

Incorporate worktop into window

Incorporate windowsill into worktop

Raised skirting board required – uneven floor

Equipment skirting required (at 91 cm working height)

Are cutouts to be worked in?

Are the fittings and wall properties adapted to subsequent loads?

Can a test drilling be carried out by the experts if necessary?

Are there pipes behind the cabinets?

Do exposed pipes have to be covered?

Is a depth fitting required for the tile bed?

Will the customer’s own equipment be installed?

Separate workshop order has been completed

Is additional body material required?

Repositioning of a therme

Installation of a hot water tank (prepare sketch if necessary)

Install installation connections according to measurement

Sketch for water and wastewater pipes prepared

Installation plan for electrical connections available

□ Natural gas □ City gas □ Liquid gas

Sketch for gas connection available

Existing connections are used (see drawing)

Note on possible consequential damage in case of wall moisture orinsufficient wall insulation due to constructional reasons

If a measurement cannot yet be taken for structural reasons or if the customer does not want a measurement, the customer is liable for the correctness of the specified dimensions and bears all costs for any necessary modifications. Any subsequent measurement or non measurement may result in a delivery delay. The customer is responsible for this delay as well as for the costs of any necessary rescheduling or new and repeat orders. Built-in sinks and electrical appliances are not connected. Place, date Signature of sales personnel/measurer Customer’s signature

- 66 -

13.4. Acceptance report

Acceptance report for delivery at …………………..… Customer: ……………………………………

Order no. ………………………………….

For furniture delivery / assembly Y / N

Have all parts been assembled completely and in balance?

Were the functions of the movable parts demonstrated and explained?

Are the surfaces flawless?

Was the furniture correctly aligned?

Are the upholstery/covers in good order?

Was the workplace left clean?

Was the packaging taken back?

Are there any reasons for a complaint?

Reason for complaint:

Item:

Defects:

Sales error Assembly error Supplier’s fault

Additionally for kitchen assembly Y / N

Have built-in appliances been checked for function and explained?

Were cabinets, doors, flaps, and drawers functionally and neatly aligned?

Was the water installation checked for leaks?

Were care instructions provided f or the counter tops?

Were moisture issues in the dishwasher and in mitre areas addressed?

Are the operating instructions for appliances available?

Was customer property damaged (walls; floors…)?

Were any missing parts or damage noted i n the delivery note?

Notes:

Invoice amount of the rejected item:

Reasonable retention:

Date

Customer’s signature Technician’s signature

- 67 -
○ ○
○ ○
○ ○
○ ○
○ ○
○ ○
○ ○
○ ○
○ ○
○ ○
○ ○
○ ○
○ ○
○ ○
○ ○
○ ○
Yes ○ Yes ○ Yes ○ No ○ - No ○ No ○

13.5. Complaint protocol

Date - time:

Name - Furniture store and clerk:

Name - Model – Execution – Commission:

Order confirmation number – Delivery from:

Description of damage:

1. Was the packaging already damaged when handed over by the shipping company?

Yes □ No □

When was the damage reported?

2. When/how was the damage detected?

Date: ………………………………………

 During receipt of goods  During loading  During assembly

 Approx. …… day/s after assembly by the end customer  In use since ........................

3. Brief description of the “defect type” of the complaint:

□ Compression mark (dent) □ Fracture/ breakthrough

□ Scratch (transverse – longitudinal - diagonal)

□ Compression (edge – surface) □ not functional

4. Brief description of defect – please mark location (if possible with digital photo, possibly use folding rule for size estimation):

Body (exterior)

Ancillary

Body (interior) Console

Outside right/left

Back panels

Doors/front

Outside drawers

Drawer front

Dresser

Armchair

Sofa

Functional part

Electrical part

- 68 -
units – Dressers – Consoles
Signature of end customer Signature of sales
Chair Other Place, date
representative

13.6. Guideline for electrical equipment / components in furniture

For all employees from the areas of Purchasing – Construction – Quality assurance

Index

General remarks

Labelling in accordance with the Product Safety Act (ProdSG)

Directives

Significant product changes

Combination of components

Requirements for different product groups

General classification of devices and modules according to the Low Voltage Directive or the Machinery Directive

Abbreviations and their meaning

Installation in furniture

- 69 -

General remarks

Aim:

This guideline provides an overview of the essential standards and technical rules to be taken into consideration where statutory regulations on product safety and product labelling in the European Economic Area are concerned.

General instructions for purchasing:

1. The supplier must submit precise product-specific test certificates on product safety in accordance with the relevant EU directives. Declarations of conformity alone or only the cover page of certificates are not sufficient for manufacturer liability. It must be ensured that the test reports or test certificates are up to date.

2. A release from liability with the pre-supplier must be contractually stipulated

3. The system requirements for the respective area of application must already be contractually specified when the order is placed.

4. The requirements for the individual destination countries with regard to labelling and normative requirements are to be listed and requested with the order.

Note on the specification of standards:

If no date of issue is given for standards or guidelines, the current version applies. Special attention must be paid to any transitional periods.

Application of the Low Voltage Directive:

The Low Voltage Directive is to be considered only for certain nominal voltages of a device:

For DC voltage: 75 to 1500 Volt

For AC voltage: 50 to 1000 Volt

For electrified furniture that has a connection to the main network, the Low Voltage Directive applies in all cases.

Disclaimer: These guidelines are intended as a guide and make no claim to completeness. In individual cases, it is also necessary to check which requirements must be met in accordance with the relevant legal regulations. No liability can be assumed for individual cases.

Labelling according to the Product Safety Act (ProdSG of 8 November 2011)

Consumer products must generally be labelled according to Section 6 of the Product Safety Act with:

1

- Name and contact address of the manufacturer

- Clear labelling for identification of the consumer product

If the manufacturer is based outside the European Economic Area, some obligations are transferred to the importer. For example, the importer must ensure that a European address is provided and that the technical documentation for the product is available or prepared.

If products are manufactured outside the EU but sold under the name of a European ( trading) company (OEM business), then the European company becomes a quasi-manufacturer and must fulfil all the obligations of a manufacturer (including the issuance of the declaration of conformity).

Liability risks: Incorrect and misleading labelling of products may give rise to regulatory or competition law liability risks. In the event of a hazard, regulatory authorities may order product recalls. Likewise, in the event of liability, insurance law problems may arise in the event of gross negligence, which may even lead to the loss of insurance coverage.

Directives

A product must bear the CE label if the product falls within the scope of at least one EC Directive that requires this label.

The “CE Directives” are usually all equally valid. If a product falls within the scope of several directives, then all of them must be observed (e. g. Low Voltage Directive and EMC Directive). In the declaration of conformity, several directives must be mentioned accordingly (or several declarations of conformity must be issued).

Exceptions:

If a product falls within the scope of the Machinery Directive and the Low Voltage Directive, then formally only the Machinery Directive applies to the declaration of conformity. However, the technical safety requirements of the Low Voltage Directive, which is mentioned as a cross-reference in the Machinery Directive, must be fulfilled.

If a product falls within the scope of the RED Directive, then the EMC Directive and the Low Voltage Directive formally fall away in the declaration of conformity. However, the RED Directive itself contains cross-references to the technical requirements of the EMC Directive and the Low Voltage Directive.

In the case of furniture that falls under the Electrical and Electronic Equipment Act (ElektroG), appropriate labelling must be applied to the furniture and the method of disposal must be indicated in the operating instructions.

2

In the case of declarations of conformity in accordance with EC Directives based on internal manufacturing controls, special technical instruction may be required for employees in manufacturing who install electrical components or manufacture machines.

Significant product changes

The existing conformity assessment documents (and thus also the declaration of conformity and the CE labelling) always apply only to the product in the condition in which the assessment was made.

If a product is substantially changed, e. g. by a processing company, then the person who makes these changes becomes the manufacturer of a new product and must carry out a new conformity assessment (including declaration of conformity and labelling).

Such changes may include operative changes to the product itself, but also changes to the environmental conditions intended by the original manufacturer:

Example: Installation of a device actually intended for desktop operation in a closed housing (=> problems with heat dissipation). Commercially available AV/IT devices, for example, are usually not designed for complete integration, but for free-standing installation with sufficient air space for cooling around the device

Combination of components

When combining components into a final product (e. g. wiring of multiple ballasts, connecting cables and lamps), it CANNOT be assumed that the complete product automatically meets the requirements of all directives if the individual components are CE marked individually:

- In some cases, the combination results in new requirements.

- The combination may cause limit values to be exceeded that are still met individually

13.6.1.

Requirements for different product groups

13.6.1.1.

Complete luminaires

Installation and mounting variants

Normative and legal requirements

Standard series EN 60598 (Luminaires):

DIN EN 60598-1 General requirements

EN 60598-2-1 Fixed luminaires

DIN EN 60598-2-2 Recessed luminaires

DIN 57710-14 (MM marking; national standard, withdrawn)

3

Red Directive 2014/53/EU (only if radio interface exists)

ErP Directive – Energy consumption

Directive 2009/125/EC

Regulation 2019/2020 Establishment of ecodesign requirements for light sources and separate operating devices

Regulation 2019/2015 Energy consumption labelling of light sources

Recycling RoHS and WEEE Directives

2011/65/EC (RoHS)

2012/19/EU (WEEE) only for certain luminaires/lamp types

Electrical and Electronic Equipment Act

Performance / Lifetime Applicable standards, for example:

DIN EN 60929 Performance ballasts for fluorescent lamps (only applies to tubular fluorescent lamps)

DIN EN IEC 62384 Performance LED ballasts

Control / Remote control

13.6.1.2.

Direct integration

Audio / Video and IT devices

For example:

DIN EN IEC 61347-2-11 Electronic modules for lamps (Twilight or proximity switch modules installed in luminaires)

DIN EN 61058-1 Device switch – General requirements

Standard and legal requirements

DIN EN 60065 (Audio/video devices) Safety requirements

DIN EN 60950-1 (IT devices) Safety requirements

DIN EN IEC 62368 (IT devices) Safety requirements

Labelling including declaration of conformity

CE labelling and declaration of conformity

Test records and conformity documents

- Declaration of conformity

- Test reports for the individual standards

- Private test marks/certificates

- GS label with associated certificate

Safety

Low Voltage Directive 2014/35/EU; Product Safety Directive 2001/95/EC;

5

Control / Remote control

Instructions for use

Product Safety Act (ProdSG)

Requirements from directives and standards (e. g. DIN EN 82079)

EMC – Electromagnetic compatibility

EMC Directive 2014/30/EU

DIN EN 55013 (A/V Emitted interference)

DIN EN 55020 (A/V Interference immunity)

DIN EN 50561-1 (IT radio disturbance)

DIN EN 55024 (IT interference immunity)

DIN EN IEC 61000-3-2 Harmonic currents

DIN EN 61000-3-3 Voltage changes / fluctuations

RED Directive

2014/53/EU (Only relevant for devices with radio interface or connection to the telephone network; devices used only for the reception of public radio and television broadcasts are exempt from the RED )

The standards are very diverse and depend on the frequency range and interface parameters => individual clarification required

ErP Directive – Energy consumption

ErP Directive 2009/125/EC

Regulation 1275/2008 (Stand-by consumption)

Regulation 642/2009 Ecodesign requirements for televisions

Regulation 1062/2010 Energy labelling for televisions

Regulation 107/2009 Ecodesign requirements for simple set-top boxes

Regulation 278/2009 Power consumption of external power supplies

Regulation 617/2013 Ecodesign for PCs

Regulation 801/2013 Ecodesign for televisions

Recycling RoHS and WEEE Directives

RoHS Directive 2011/65/EU

WEEE Directive 2012/19/EU

The requirements are essentially included in the aforementioned directives/standards.

13.6.1.3.

Normative and legal requirements

Standard series EN 60335 (General part and relevant special part)

6

Direct integration

Domestic Appliances

DIN EN 60335-1 General requirements for all appliances

DIN EN 60335-2-5 Dishwasher

DIN EN 60335-2-6 Stoves, (built-in) ovens, hobs, steam cookers

DIN EN 60335-2-14 Kitchen appliances (e. g. all-purpose slicer)

DIN EN 60335-2-24 Cooling devices

DIN EN 60335-2-25 Microwave ovens

DIN EN 60335-2-31 Range hoods

DIN EN 62233 Electromagnetic fields with regard to safety

Labelling including declarations of conformity

CE label and declaration of conformity

Test records and conformity documents

- Declaration of conformity

- Test reports for the individual standards

- Private test marks/certificates

- GS label with associated certificate

Safety

Low Voltage Directives: 2014/35/EU;

Product Safety Directive (2001/95/EC); Machinery Directive (2006/42/EC)

Instructions for use

Product Safety Act (ProdSG)

Requirements from directives and standards

EMC – Electromagnetic compatibility

EMC Directive 2014/30/EU

DIN EN 55014-1 Emitted interference

DIN EN 55011 (only for microwave ovens and induction; instead of EN 55014-1)

EN 55014-2 Interference immunity

DIN EN IEC 61000-3-2 Harmonic currents

DIN EN 61000-3-3 Voltage changes / fluctuations

(Higher interference immunity requirements apply if products are used commercially in industrial environments.)

RED Directive

(Only relevant for devices with radio interface or connection to the telephone network)

7

Control / Remote control

13.6.1.4.

Motorised drive gears

ErP Directive – Energy consumption

ErP Directive 2009/125/EC

Regulation 1275/2008 Stand-by consumption

Regulation 643/2009 Ecodesign requirements for cooling devices

Regulation 278/2009 Power consumption of external power supplies

Regulation 1016/2010 Ecodesign requirements for dishwashers

Energy-labelling requirements for ovens, refrigerators, and dishwashers

Recycling RoHS and WEEE Directives

RoHS Directive 2011/65/EU

WEEE Directive 2012/19/EU

Requirements for remote-controlled devices are partly already included in the DIN EN 60335 series.

Normative and legal requirements

DIN EN 60335-1 General requirements

(DIN EN 60335-2-103, DIN 18650-1); as well as other product-related requirements of the standard series DIN EN 60335

DIN EN ISO 13849 for functional safety in control systems

DIN EN 62233 Electromagnetic fields with regard to safety

Labelling including declaration of conformity

Depending on the type

(Component, partly-completed machine, complete machine)

Test records and conformity documents

- Declaration of conformity

- Installation instructions in accordance with Machinery Directive

- Test reports for the individual standards

- Private test labels/certificates

- Risk assessments

Safety

Usually Machinery Directive (2006/42/EC) and applicable EU directives, e. g. Low Voltage Directive

Instructions for use / Operating instructions

Yes, plus assembly instructions

8

EMC – Electromagnetic compatibility

EMC Directive 2014/30/EU

DIN EN 55014-1 Household purposes

DIN EN 55014-2 Interference immunity

DIN EN IEC 61000-3-2 Harmonic currents

DIN EN 61000-3-3 Voltage changes / fluctuations or

DIN EN IEC 61000-6-2 / -3 (universal application also in commercial/industrial environment)

RED Directive

Directive 2014/53/EU (Only relevant for devices with radio interface or connection to the telephone network)

ErP Directive – Energy consumption

ErP Directive 2009/125/EC

Currently, no relevant implementing regulation exists.

Recycling RoHS and WEEE Directives

RoHS Directive 2011/65/EU

WEEE Directive 2012/19/EU

13.6.2. General classification of devices and modules according to the Low Voltage Directive1) or the Machinery Directive2)

(Other directives are not considered in this note but may apply beyond it.)

Electromechanical drives for furniture must first be assigned to the Low Voltage Directive. Within the framework of the conformity assessment procedure according to the Machinery Directive2), the drives are to be differentiated, on the one hand, according to the “intended use” defined by the manufacturer and, on the other hand, according to the comprehensiveness of the delivery condition (“Does it fulfil the intended function without further ado or not?”).

The dependent accessories required for the drive, e. g. power supply units, controls, etc., which are purchased in direct connection with the drive and do not contain any moving components of their own, are also subject to the Low Voltage Directive.

Further documentation can be agreed between the customer and the manufacturer. All cited standards must correspond to the valid dates of the EU Official Journals if they may be used for conformity assessment.

9

LVD1)

General principles:

Test records and conformity documents for safety (LVD1))

EMC Directive3)

– Electromagnetic compatibility

RED Directive 2014/53/EU4

Ecodesign Directive5) (ErP)

External power supplies

Normative requirements

e. g. EN 15338, RAL-GZ 430/1-2, DIN EN 4749, EN 60335-1, EN 62233 [EMF], EN 60335-2-103

Depending on the type of furniture, applicable EN standards for mechanical safety

EN 55014-1 (Household use)

EN 55014-2

EN IEC 61000-3-2

EN 61000-3-3 or

EN IEC 61000-6-2 / -3

Only relevant for devices with radio interface or connection to the telephone network

External AC/DC power supplies

Average efficiency:

If 1.0 W ≤ PO ≤ 51.0 W then 0.090 · ln(PO) + 0.500 shall apply if PO > 51.0 W then 0.850 shall apply

For no-load (idling)

PO ≤ 51.0 W 0.30 W PO > 51.0 W 0.50 W shall apply

PO = Power output according to nameplate

RoHS Directive6)

- Limitation of hazardous substances

WEEE Directive7)

- Take-back / recycling/ disposal

RoHS conformity of the drives must be demanded (as of 2013 usually by declaration of conformity).

WEEE specifics for the disposal and recycling of furniture with integrated electromechanical drives do not exist at the time of writing these notes.

IN PARTICULAR (labelling + accessories)

Private & commercial use

CE label, assembly and operating/user instructions

10
of delivery by manufacturer
Intended for Scope
Operating equipment

13.6.3. Abbreviations and their meaning

1) LVD (Low Voltage Directive)

DIRECTIVE 2014/35/EU OF THE EUROPEAN PARLIAMENT AND OF THE COUNCIL of 26 February 2014 on the harmonisation of the laws of Member States relating to electrical equipment designed for use within certain voltage limits. Scope of application: DC voltage: 75 to 1500 Volt, AC voltage: 50 to1000 Volt

2) Machinery Directive

DIRECTIVE 2006/42/EC OF THE EUROPEAN PARLIAMENT AND OF THE COUNCIL of 17 May 2006 on machinery and amending Directive 95/16/EC (recast)

3) EMC Directive

DIRECTIVE 2014/30/EU OF THE EUROPEAN PARLIAMENT AND OF THE COUNCIL of 26 February 2014 on the approximation of the laws of the Member States relating to electromagnetic compatibility and repealing Directive 89/336/EEC

4) RED Directive 2014/53/EU DIRECTIVE OF THE EUROPEAN PARLIAMENT AND OF THE COUNCIL of 05 June 2018 on radio equipment and telecommunications terminal equipment and the mutual recognition of their conformity

5) Ecodesign Directive

DIRECTIVE 2009/125/EC OF THE EUROPEAN PARLIAMENT AND OF THE COUNCIL of 21 October 2009 establishing a framework for the setting of ecodesign requirements for energy-related products (recast) together with COMMISSION REGULATION (EC) No 278/2009 of 6 April 2009 implementing Directive 2005/32/EC of the European Parliament and of the Council with regard to ecodesign requirements for the no-load power consumption of external power supplies and their average operating efficiency

6) RoHS Directive

DIRECTIVE 2011/65/EU OF THE EUROPEAN PARLIAMENT AND OF THE COUNCIL of 08 June 2011 on the restriction of the use of certain hazardous substances in electrical and electronic equipment (recast)

7) WEEE Directive

DIRECTIVE 2012/19/EU OF THE EUROPEAN PARLIAMENT AND OF THE COUNCIL of 04 July 2012 on waste electrical and electronic equipment (WEEE)

11

All the EU Directives cited have been transposed into national laws.

13.6.4.

Installation in furniture

Cabling / Connections / Sockets

Normative and legal requirements

- VDE 0620-101 “Euro plug” bipolar up to 2.5 A; usable in almost all of Europe (except Ireland / Great Britain)

- DIN VDE 0620-1 Plugs and sockets, extension cords, multiple socket strips for Germany (There are different national requirements for plugs and sockets)

- EN 60320 Device connectors (to be operated by laymen);

- EN 60799 Device connecting cables

Installation regulations (national in Germany):

VDE 0100 Part 713 (Electric installation in furniture)

VDE 0100 Part 701 (Electric installation in rooms with bathtub or shower)

Labelling including declaration of conformity

CE label for complete extension cords

No CE for individual plugs according to national standards

Test records and conformity documents

- Declaration of conformity

- Test reports for the individual standards

- Private test label/certificates

- GS mark with appropriate certificate (only for ready-to-use products, e. g. extension cords)

Safety

Low Voltage Directive (2014/35/EU), Product Safety Directive (2001/95/EC), Machinery Directive (2006/42/EC);

Product Safety Act (ProdSG): Implementation of the Directives 2001/95/EC and 2014/35/EU.

Note: The individual plugs/sockets of the national mains systems in the household sector (e. g. Schuko) do not fall within the scope of the Low Voltage Directive (the General Product Safety Directive applies here). However, complete extension cords and multiple socket strips with these plug systems do fall within the scope of the Low Voltage Directive.

Instructions for use

Product Safety Act (ProdSG)

12

Requirements from directives and standards

Note: It is recommended to differentiate in the scope of application for consumers or professionals during assembly.

EMC – Electromagnetic Compatibility

Not relevant if EMC passive

ErP Directive – Energy consumption

Not relevant

Recycling RoHS and WEEE Directives

RoHS Directive 2011/65/EU

WEEE Directive 2012/19/EU

Further information for the installation in furniture:

Subsequent guidelines from the Gesamtverband der Deutschen Versicherungswirtschaft e. V. (German Insurance Association) can be found at: http://www.vds-industrial.de/service/suche/

Available only in German:

VdS 2324:

Richtlinien zur Schadenverhütung/ Guidelines for loss prevention (Niedervoltbeleuchtungsanlagen und –systeme / Low voltage lighting equipment and systems)

VdS 2024:

Unverbindliche Richtlinien zur Schadenverhütung / Non-binding guidelines for loss prevention Errichtung elektrischer Anlagen in Möbeln und ähnlichen Einrichtungsgegenständen / Erection of electrical installations in furniture and similar furnishings

13

13.7. Maintenance care for upholstered furniture

Upholstered furniture is soft and formable. To maintain the furniture’s usage properties and quality, maintenance care is indispensable.

The following measures should therefore be carried out regularly to maintain the furniture’s value:

Fluffing up the cushions/upholstery

Regular use will leave traces on the upholstery, such as seat imprints, shifted seams and rippling on the used surfaces. By fluffing up the cushions/upholstery, upholstered furniture quickly regains its desired shape and appearance.

Hold the back cushion firmly with one hand in the back and fluff the cushion using the other hand. .

Fluff the back cushion with both hands at the same time, thereby distributing the filling evenly.

Particularly casual upholstered furniture

Subsequent to the back cushion, fluff the armrest cushions in the same way.

Maintenance care is particularly important for furniture with this type of upholstery (quilted mats, loose filling material, functions, etc.). This furniture already has a certain wavy appearance at the time of delivery. In most cases, high-quality chamber cushions are incorporated in the seat and/or back. The filling material is held in chambers within the cushions so that it does not shift. Depending on the type and thickness of the cover material,

14

both the chambers and the filling material will sometimes show more and sometimes less. By fluffing up the cushion after use, the compression of the cushion filling can be largely reversed.

Seam offset / height shift

These depend on use and are unavoidable. By gently pulling and aligning the cover, any seam offsets and/or height differences can be adjusted.

15

General information

Functional elements:

Always return the functional elements (footrests, headrests, etc.) to their original position after use so that no compression in the foam or visible marks form on the cover.

When using one of the functional elements, metal abrasion may occur, which should be removed regularly by wiping or vacuuming (depending on the floor covering).

Construction elements:

Mounted feet that can become loose during use should be aligned and tightened occasionally. Wear parts such as felt gliders should be replaced in time before they wear out.

Regular

cleaning

Fabric covers:

Regular brushing with a soft natural brush prolongs the life of the covers. Careful vacuuming with a vacuum cleaner is also recommended.

Leather covers:

Leather covers should be dusted once a week. Then wipe large areas with a damp cloth (Note: use only distilled or boiled water and do not use microfibre cloths or sponges).

Wood:

Varnished and waxed surfaces should be cleaned and maintained with a slightly damp leather cloth. The surfaces must be protected from hot objects.

Metal:

Metal surfaces should be cleaned and cared for with a damp cloth and detergent. Then polish with a dry, soft cloth.

Special cleaning agents are commercially available for polished surfaces.

General rule:

 Liquids should always be removed immediately by dabbing.

 Solvents and scouring agents should not be used.

 Specific instructions from the manufacturer, e. g. cleaning and care instructions, must always be followed as a matter of priority.

16

13.7. Assessment of ripple formation on seating surfaces

A ripple is a deformation that deviates from the original cushion surface. A fold is a ripple with a crease.

Casual upholstered seating surfaces have a tendency to ripple in use. Ripples occur because of the main tensioning direction of the upholstery – from front to back – transverse to the tensioning direction. Such ripples are typical for casual upholstery.

Further causes for the formation of ripples in covers can be material stretching of the covers, punctual loads, too large cuts, weakening upholstery materials. etc.

Ripples in seating surfaces are permissible if the largest ripple, related to a seat width of 700 mm, is max. 20 mm high. The seat width is to be measured from seam to seam. If the seat width is interrupted by dividing seams, these are not to be taken into account for the evaluation of the seat width for the measurement. The following table serves as a guideline for the assessment of ripples on the seating surface of an upholstered piece of furniture. The ripple measurement is carried out by means of a ripple measuring device (aid), which is placed over the ripple created after the cover has been folded.

At the beginning of the test, the cover is to be smoothed and a seat test is to be carried out. After standing up, without pulling the side edges inwards, the cover is smoothed together from both sides towards the middle of the seat width. The height of the resulting largest ripple is measured.

The measuring device must not be pressed into the upholstery.

This procedure must not be followed for particularly casual models where the cover cut has been kept somewhat larger for design reasons or where the upholstery construction has been made with softer materials (e. g. down covers, especially fine padding, mat covers, belt underspringing, etc.). In this case, the ripple formation can be more pronounced without a justified complaint.

The testing and assessment method is to be applied equally to furniture leather and furniture fabrics.

17

Ripple / fold formation

18
Example: ripple Example: fold

Readout line

Execution

Before the test, the cover shall be smoothed, and a seat test performed.

After standing up, without pulling the side edges inwards, the cover is smoothed together from both sides towards the centre of the seat width. The height of the resulting largest ripple is measured. The measuring device must not be pressed into the upholstery.

Assessment

Ripples are permissible if the largest ripple, related to a seat width of 700 mm, is max. 20 mm high. In case of deviating seat widths (700 mm), the values must be converted accordingly. For corner elements, the seat surface is measured at the point with the largest seat width. This test method is to be used for both furniture leather and furniture fabrics equally.

19
Ripple measuring device
Scale Ripple

Casual upholstery

Casual upholstery – seat imprint

Design-intended ripple formation

Particularly casual upholstery

Functional upholstery

Upholstered furniture with chamber cushions

Material and modelrelated marking of the chambers or quilting or filling materials on seating surfaces

20

Measuring method

Overlaying dividing seam. Not connected to upholstery or frame

Detailed view of the dividing seam

Construction seam. Connected to upholstery or frame

Construction seam

Dividing seam

Measurements are taken from seam to seam, including any curvature of the upholstery.

If the seat width is interrupted by a dividing seam, this should not be taken into account when evaluating the seat width for measurement (see picture above).

Division of the upholstery areas – E = element

L1 = seat width element E1

L2 = seat width element E2

L3 = largest seat width element E3

L4 = different seat width with diving seam E4

21
L4 L3
L2 L1
E E E E

13.7.1. Upholstered furniture – Table for permissible ripple formation

Depending on the seat width according to RAL-GZ 430

This table serves as a guideline for the assessment of ripples on the seating surface of upholstery furniture (not for backrests). The calculation is based on a seat width of 700 mm. Here, a ripple height of no more than 20 mm may occur after the cover has been smoothed together towards the centre. The ripple measurement is carried out by means of a ripple measuring device (aid), which is placed above the ripple created after the cover has been folded.

Exception: This procedure must not be followed for particularly casual models where the cover cut has been kept slightly larger for design reasons or where the upholstery construction has been made with softer materials (e. g. down covers, especially fine padding, mat covers, belt under-springing, etc.). These guide values cannot be applied here. In this case, the ripple formation can be more pronounced without a justified complaint.

22
Seat width in mm Ripple height in mm Seat width in mm Ripple height in mm Seat width in mm Ripple height in mm Seat width in mm Ripple height in mm Seat width in mm Ripple height in mm 450 13 680 20 910 26 1140 33 1370 39 460 13 690 20 920 26 1150 33 1380 39 470 13 700 20 930 27 1160 33 1390 40 480 14 710 20 940 27 1170 33 1400 40 490 14 720 21 950 27 1180 34 1410 40 500 14 730 22 960 27 1190 34 1420 41 510 15 740 22 970 28 1200 34 1430 41 520 15 750 22 980 28 1210 35 1440 41 530 15 760 22 990 28 1220 35 1450 41 540 15 770 22 1000 29 1230 35 1460 42 550 16 780 22 1010 29 1240 35 1470 42 560 16 790 23 1020 29 1250 36 1480 42 570 16 800 23 1030 29 1260 36 1490 43 580 17 810 23 1040 30 1270 36 1500 43 590 17 820 23 1050 30 1280 37 1510 43 600 17 830 24 1060 30 1290 37 1520 43 610 17 840 24 1070 31 1300 37 1530 43 620 18 850 24 1080 31 1310 37 1540 43 630 18 860 25 1090 31 1320 38 1550 44 640 18 870 25 1100 31 1330 38 1560 45 650 19 880 25 1110 32 1340 38 1570 45 660 19 890 25 1120 32 1350 39 1580 45 670 19 900 26 1130 32 1360 39 1590 45

13.8. Odour test for furniture leather

Quick method based on VDA 270 and RAL-GZ 430

Aim: The simplified odour test is intended as an incoming goods inspection for furniture manufacturers and as an orienting test in the event of odour complaints from customers.

Test procedure: The test is carried out in accordance with VDA 270 with the following changes and concretisations:

a) Test equipment and chemicals:

• 1-litre jar with odourless screw cap. The jars must be thoroughly cleaned and baked out (80 to 100° C).

• 100 ml beaker

• Saturated sodium chloride solution with sufficient sediment (Corresponds to 75% rel. humidity)

b) Sample size:

The sample area is 10 cm2 (5 cm x 2 cm). This corresponds to a sample area/sample volume ratio of 1 m2 / 1 m3.

c) Storage conditions:

The samples are stored for 24 h at 23° C ± 2° C in a tightly closed glass. To adjust the relative humidity to 75%, the 100 ml beaker filled with 50 ml of saturated NaCl solution is placed in the glass jar. It must be ensured that the sample to be examined has no direct contact with the salt solution.

d) Grading scale (according to RAL-GZ 430):

1 = no odour

2 = weak odour

3 = distinctive, not unpleasant odour

4 = unpleasant odour

5 = unbearable odour

e) Evaluation:

The individual marks are averaged and rounded to half marks.

Example: Mean value 2.1 = Grade 2

23

Mean value 2.3 = Grade 2.5

Mean value 2.8 = Grade 3

Acceptance/rejection criterion: so far 3.5 with elimination of the maximum and minimum value for 7 test persons (non-smokers), 3 of whom must be female.

13.9. Odour test for foam materials

Quick method based on VDA 270 and RAL-GZ 430 (15)

Aim: The simplified odour test is intended as an incoming goods inspection for furniture manufacturers and as an orienting test in the event of odour complaints from customers.

Test procedure: The test is carried out in accordance with VDA 270 with the following changes and concretisations:

a) Test equipment and chemicals:

• 1-litre jar with odourless screw cap. The jars must be thoroughly cleaned and baked out (80 to 100° C).

• 100 ml beaker

• Saturated sodium chloride solution with sufficient sediment (Corresponds to 75% rel. humidity)

b) Sample size: (50 x 50 x 20 mm)

The sample size is (50 ± 5) cm3. This corresponds to a loading volume of 50 cm3/l.

c) Storage conditions:

The samples are stored for 24 h at 23° C ± 2° C in a tightly closed glass. To adjust the relative humidity to 75%, the 100 ml beaker filled with 50 ml of saturated NaCl solution is placed in the glass jar. It must be ensured that the sample to be examined has no direct contact with the salt solution.d) Grading scale (according to RAL-GZ 430):

1 = no odour

2 = weak odour

3 = distinctive, not unpleasant odour

4 = unpleasant odour

5 = unbearable odour

24

e) Evaluation:

The individual marks are averaged and rounded to half marks.

Example: Mean value 2.1 = Grade 2

Mean value 2.3 = Grade 2.5

Mean value 2.8 = Grade 3

Acceptance/rejection criterion: so far 3.5 with elimination of the maximum and minimum value for 7 test persons (non-smokers), 3 of whom must be female.

13.10. Definition of PUR foam types

PUR standard foam

Foam of types MB and MM according to EN ISO 5999 with a rebound resilience, measured according to ISO 8307, of greater than 15% and less than 50%. The molecular weight of conventional PUR foams is between 3,000 and 3,500 Dalton.

Note: Another characteristic of PUR standard foam, in contrast to HR foam, is the crystalline urea that predominantly forms during production. Due to the different morphology of PUR standard foam compared to PUR cold foam, it can be clearly identified using IR spectroscopy.

PUR cold foam

PUR polyurethane foam according to EN ISO 5999 of the types MB, HB and HM, produced with highly reactive polyols and a closed-cell pore structure, which is broken up after production by crushing for better air permeability and has a rebound resilience of more than 50%, measured according to DIN ISO 8307. The molecular weight of PUR cold foams is between 5,000 and 6,000 Dalton.

Note: Further characteristics of PUR cold foam, also known as HR foam (HR = High Resilient), is a SAG factor according to EN ISO 2439 of at least 2.5 and the amorphous or dissolved carbonic acid diamide (urea) that is formed exclusively during production.

25

PUR viscous foam

Foam of types LB and LM according to EN ISO 5999 with predominantly viscous behaviour, in which the rebound resilience measured according to DIN ISO 8307 is at most 15%.

Note: Two types of viscous foam are distinguished. Pneumatic viscous foam with predominantly closed or microporous cells and chemical viscous foam with open cells. In terms of the dependence of its mechanical properties on temperature, pneumatic foam is less sensitive than chemical viscous foam.

PUR hypersoft foam

PUR hypersoft foam is an extremely soft, elastic, supple and air-permeable PUR foam for nonload-bearing purposes as defined in DIN EN ISO 5999 with compressive stress values below 2.0 kPA or indentation hardness below 80 N, in which carbon dioxide is added during production or a special polyol is used and in which the chain ends produced by polyaddition contain almost exclusively primary OH groups.

Note: PUR hypersoft foam is suitable for the production of mattress toppers and cushions as well as for upholstered furniture as a cover layer between the load-bearing foam and the cover fabric.

PUR gel foam

Gel foam is a relatively new PUR soft foam of a rather viscous character, which is produced with organic or synthetic gel particles or binds them.

The rebound resilience is approx. 15% according to DIN EN ISO 8307, resulting in an assignment to the group of viscous soft foams according to DIN EN ISO 5999. The other technical characteristics according to DIN EN ISO 5999 (Flexible elastic polymer foamsPolyurethane foams for upholstery purposes with the exception of carpet underlays) vary, which makes a clear classification according to DIN EN ISO 5999 difficult.

Note: Further specification is currently being discussed among experts. A number of inaccurate statements are made about gel foam in the trade – further specification in the definition is therefore necessary.

26

13.11. Explanation of the term “force majeure”

Definition Deutsche Gütegemeinschaft Möbel e. V.

(Member of RAL German Institute for Quality Assurance and Labelling e. V.)

1. Definition

In general, the term "force majeure" is understood to mean an event that comes from outside, has no operational connection and cannot be averted even by the utmost diligence that could reasonably be expected (instead of many: BGHZ 100, 185). Events such as natural disasters (hurricanes, earthquakes, or floods), (local) epidemics, pandemics, wars, and political unrest are usually regarded as "force majeure". Official measures and warnings are also a strong indication of the existence of force majeure. 1

The supplier and the customer agree that the following circumstances are also to be attributed to force majeure:

o Transport and freight delays for which the supplier is not responsible (in particular in the event of delayed receipt despite timely handover of the goods from the Supplier to the transport person)

o Operational disruptions for which the supplier is not responsible or pandemic capacity reductions of any kind due to a lack of manpower, energy, preliminary products, raw materials and untimely or improper own preliminary supply of the supplier (interruption of the supply chains), which significantly change the economic significance or the content of the delivery or have a significant effect on the supplier's operations

o Damage at the supplier or his sub-suppliers caused by natural disaster

o Strikes or labour disputes including lawful lockouts

o Attacks on the supplier's IT system which are detrimental to the production process

o Delays for which the supplier is not responsible due to difficulties in obtaining the necessary official approvals

o In case of border closure or official measure, instruction, or warning

2. Legal consequences due to force majeure as defined under Item 1

A contracting party who is unable to deliver in accordance with the contract due to force majeure shall be obliged to inform the contractual partner immediately of the reason and the expected duration of the delay in delivery. At the request of the contractual partner, the supplier shall be obliged to explain the objective existence of the force majeure and the effects on the ability to deliver.

Contractual delivery periods shall be automatically extended by the duration of the hindrance due to force majeure. Other reasons for delay may not be taken into account. Claims for damages, contractual penalties, or termination/withdrawal from the contract due to the delay in delivery on account of force majeure may not be asserted.

In the event of delays in delivery due to force majeure, the contract shall be adjusted appropriately at the request of either party in good faith. Insofar as this is not economically justifiable from the supplier's point of view, the supplier shall have the right to withdraw from the contract.

Fürth, November 2021

1 Case law

Case law has ruled that the term “force majeure” within the meaning of travel law may include war, a terrorist attack, massive violent unrest (LG Frankfurt a. M. RRa 2015, 8; also BT-Drs. 8/2343, p. 12), a reactor accident (BGHZ 109, 224) or the outbreak of an epidemic such as SARS (AG Augsburg 14 C 4608/03).

27

13.12. Emission class for furniture according to RAL-RG 437

For the members of the DGM, healthy living has been a focus for many years. There has been great progress due to environmental protection and building refurbishment over the last few decades. Our homes have become increasingly tight due to thermal insulation systems and windows that seal properly. Natural air exchange is only possible through thorough ventilation or automatic ventilation systems, such as in low-energy houses or public buildings.

Pollutants can be emitted from a wide range of different products, such as building materials, adhesives, wallpaper, varnishes, furnishing materials or furniture. Therefore, all materials used indoors must be low in harmful substances and release as few emissions as possible into the ambient air.

In cooperation with leading testing institutes such as TÜV Rheinland and eco-INSTITUT, a group of DGM experts has developed emission classes for furniture. The objective was to develop a label that provides the consumer with the most important information on the emission profile in a simple way. This seems to be useful for a risk assessment in our opinion since the legislator does not specify limit values for many pollutants. Emission class A signifies a low risk of exposure to pollutants.

The emission label can be awarded to the following collections/models:

Seating furniture

Cabinet furniture

Tables

Office furniture

Slatted frames

Mattresses

Beds

The basic principles are stipulated in the RAL registration RAL-RG 437 Emission classes for furniture.

An emission label provides the consumer with information on pollutant emissions and is intended to protect the consumer from detrimental health effects. The emission label developed by the Deutsche Gütegemeinschaft Möbel e. V. refers to a collection / a model and is attached directly to the product/s. Proof of classification is based on appropriate pollutant tests, and the label is awarded exclusively by the Deutsche Gütegemeinschaft Möbel e. V.

28

13.13. Climate neutral furniture manufacturer for the furniture industry according RALGZ 435

To mark their sense of responsibility towards climate change, furniture manufacturers can have themselves certified with regard to the Climate Pact. This provides consumers with an additional basis for decision-making, as it shows them that they are dealing with a piece of furniture whose manufacturer attaches importance to climate protection. In the further development of the climate pact, there is the possibility of being specially distinguished as a climate neutral furniture manufacturer. The award is made exclusively by the Deutsche Gütegemeinschaft Möbel e. V.

The foundation of the Climate Pact is a company's carbon footprint. Furniture manufacturers who join the pact have their “footprint” calculated annually by a neutral body on the basis of applicable standards. This footprint is made up of direct and indirect greenhouse gas emissions.

Scope 1: Direct emissions of the company resulting from the consumption of primary energy sources

= Burning of fossil raw materials for energy production, heat generation, fuels for company-owned cars and trucks, process emissions, and refilling of cooling and air-conditioning systems.

Scope 2: Indirect emissions resulting from the generation of self-procured energy = Secondary energy sources such as electricity, district heating, steam, or cooling energy.

Scope 3: All indirect emissions resulting from the operation of all daily business processes and the product life cycle

= Mining and processing of raw materials, consumables and supplies, upstream chains of fuels, thermal energy, process energy and electricity production, employee travel, external logistics, business flights, business travel incl. overnight stays, commercial waste, paper and cardboard consumption, water consumption.

29

The Ten Principles of

The Ten Principles of the UN Global Compact

1. Businesses should support and respect the protection of internationally proclaimed human rights.

2. Businesses should make sure that they are not complicit in human rights abuses.

3. Businesses should uphold the freedom of association and the effective recognition of the right to collective bargaining.

4. Businesses should uphold the elimination of all forms of forced and compulsory labour.

5. Businesses should uphold the effective abolition of child labour.

6. Businesses should uphold the elimination of discrimination in respect of employment and occupation.

7. Businesses should support a precautionary approach to environmental challenges.

8. Businesses should undertake initiatives to promote greater environmental responsibility.

9. Businesses should encourage the development and diffusion of environmentally friendly technologies.

10. Businesses should work against corruption in all its forms, including extortion and bribery.

30 13.14.
UN
the
Global Compact

Turn static files into dynamic content formats.

Create a flipbook
Issuu converts static files into: digital portfolios, online yearbooks, online catalogs, digital photo albums and more. Sign up and create your flipbook.