SERVICE MANUAL
L218 / L220
Tier 4B (final)
200 Series Skid Steer Loader
L218 PIN NDM449275 and above; L220 PIN NDM456673 and above
Part number 47851949
English May 2015
Replaces part number 47712047
![]()
200 Series Skid Steer Loader
L218 PIN NDM449275 and above; L220 PIN NDM456673 and above
Part number 47851949
English May 2015
Replaces part number 47712047
Engine
[10.001] Engine and crankcase
[10.400] Engine cooling system
[10.414] Fan and drive
Power coupling
assembly
Front axle system
[25.450] Chain drive system
Rear axle system
Chain drive system
Hydrostatic drive
Hydrostatic transmission
[29.134] T assembly
[29.200] Mechanical control
Pump and motor components
Brakes and
[33.1 10] Parking brake parking lock
Hydraulic systems
Fixed displacement pump
Reservoir , cooler , and filters
Main control valve
Auxiliary hydraulic valves and lines
High flow hydraulics
Front loader arm hydraulic system
Front loader hydraulic system control
T ool quick coupler hydraulic system
Frames and ballasting
[39.140] Ballasts and supports
Wheels
Front wheels
Rear wheels
Cab climate control
[50.100] Heating
[50.200] Air conditioning
Electrical systems
Electrical system
Fuel tank system
Engine cooling system
Engine intake and exhaust system
Hydrostatic drive control system
Parking brake electrical system
Hydraulic system control
V and (HV AC) control system
Harnesses and connectors
Battery W arning and instruments 1
Cab controls
Electronic modules F AUL T CODES
Front loader and bucket
[82.100] Arm .
[82.300] Bucket
[90.150] Cab . . . .
[90.154] Cab doors and hatches

All repair and maintenance work listed this manual must carried out only qualified dealership strictly complying with the instructions and whenever the special
Anyone who performs repair and maintenance operations without complying with the procedures provided herein shall responsible for any subsequent
The manufacturer and all the organizations its distribution including - without limitationlocal reject any responsibility for damages caused parts and / components not approved the facturer , including those used for the servicing repair the product manufactured marketed the manufacturer any warranty given attributed the product manufactured marketed the manufacturer case damages caused parts and / components not approved the manufacturer
The manufacturer reserves the right make improvements design and changes specifications any time without notice and without incurring any obligation install them units previously and illustrative material herein are accurate known time publication but are subject change without case refer your NEW HOLLAND CONSTRUCTION Sales and Service

This the safety alert used alert you potential personal injury Obey all safety messages that follow this symbol avoid possible death injury .
Throughout this manual you will find the signal words DANGER, W ARNING, and CAUTION followed special These precautions are intended for the personal safety you and those working with
Read and understand all the safety messages this manual before you operate service the machine.



DANGER indicates a hazardous situation not will result death serious injury
W ARNING indicates a hazardous situation not could result death serious injury
CAUTION indicates a hazardous situation that, not avoided, could result minor moderate injury .
Machine safety
NOTICE: Notice indicates a situation not could result machine property
Throughout this manual you will find the signal word Notice followed special instructions prevent machine property The word Notice used address practices not related personal safety
Information
NOTE: Note indicates additional information that clarifies other information this
Throughout this manual you will find the word Note followed additional information about a other information the The word Note not intended address personal safety property
Carefully study these precautions, and those included the external attachment operators manual, and insist that they followed those working with and for you.
Thoroughly read and understand this manual and the attachment Operator ’ s Manual before operating this any other
Be sure all people and pets are clear the machine before Sound the three times before starting
Only the operator should the machine when Never allow anyone climb the machine while the machine equipped with Instructors this must only used for training Passengers must not allowed use the Instructors
Keep all shields Never work around the machine any the attachments while wearing loose clothing that might catch moving
Observe the following precautions whenever lubricating the machine making
• Disengage all clutching levers
• Lower the the ground raise the attachment completely and engage the cylinder safety Completing these actions will prevent the attachment from lowering unexpectedly
• Engage the parking
• Shut f the engine and remove the key
• W ait for all machine movement stop before leaving the operators
Always keep the machine gear while travelling
The machine should always equipped with suf ficient front rear axle weight for safe operation.
Under some field more weight may required the front rear axle for adequate stability This especially important when operating hilly conditions / when using heavy attachments.
Always lower the shut f the set the parking engage the transmission remove the key and wait for all machine movement stop before leaving the operators the attachment machine should become obstructed plugged; set the parking shut f the engine and remove the key , engage the transmission wait for all machine attachment motion come a before leaving the operators platform removing the obstruction plug.
1 Never disconnect make any adjustments the hydraulic system unless the machine and / the attachment lowered the ground the safety lock(s) the engaged position.
Use the flashing lights highly recommended when operating a public
When transporting a road highway , use accessory lights and devices for adequate warning the tors other this check local government V arious safety lights and devices are available from your NEW HOLLAND CONSTRUCTION dealer
Practice safety 365 days a year
Keep all your equipment safe operating
16. Keep all guards and safety devices place.
Always set the parking shut f the engine and remove the key , engage the transmission wait for all machine attachment motion come a stop, before leaving the operators platform service the machine and
Remember: A careful operator the best insurance against
Extreme care should taken keeping hands and clothing away from moving

L218 TIER
L220 TIER
[NDM449275 - ]
[NDM456673 - ]
L218 TIER Final [NDM449275 - ] L220
Remove the access cover the rear , lower left the machine, exposing the engine oil drain hose and mote oil filter
Remove the drain plug drain the
When the oil has completely reinstall the drain plug and torque - ( - ) .

L218 TIER Final [NDM449275 - ]
L220 TIER Final [NDM456673 - ]

A void injury! Always the following before servicing the Disengage all drives.
Engage parking brake.
Lower all attachments the raise and engage all safety
Shut off engine.
Remove key from key
Switch off battery key , installed.
W ait for all machine movement stop.
Failure comply could result death serious injury

Fire hazard!
When handling diesel observe the following precautions: not smoke.
Never fill the tank when the engine running.
W ipe spilled fuel immediately
Failure comply could result death serious injury .

Heavy objects!
Lift and handle all heavy components using lifting equipment with adequate capacity . Always support units parts with suitable slings hooks. Make sure the work area clear all bystanders.
Failure comply will result death serious injury
Prior operation:
T ilt the Roll Over Protection Structure
Prior operation:
Disconnect the battery See Battery - Disconnect
Prior operation:
Drain the See
Prior operation:
Drain the oil.
Prior operation:
Recover the A / C refrigerant (if See Air conditioning - Discharging (50.200)
Remove the rear trim panels (1)

Remove the engine hood strut from the side gently prying the retaining clip just enough release the
Disconnect the A / C lines (if
Disconnect the lights and disconnect the harness from the hood.
Remove the engine hood mounting hardware from lefthand and right - hand side the engine
Remove the engine hood (1)
Remove the engine cover (1)


Remove the air filter assembly (1) and

Remove the fuel filter assembly (1) and plug the hoses.
Remove the bracket (2) for the air filter assembly
1 Remove the oil fill tube (3)
Disconnect the mount (4) for the oil dip stick from the cooling package
For vertical lift remove the cotter pin the lock pin link for the left Unbolt the boom lock bellcrank (5) and place away from the engine

Remove the bracket (1) for the coolant overflow

Remove the air cooler (1)

16. Remove the coolant overflow bottle.

Remove the radiator (1)

Loosen the alternator mounting bolt (3) and the mounting bolt (2) for the adjustment bolt (1)
Remove the tension from the belt turning the justment screw (1) the alternator

20. Remove the engine fan assembly .

Remove the cooling package bracket assembly (1)

Disconnect the positive battery cable (1) the nator
23. Disconnect the electrical connector (2) the tor
Disconnect the starter ignition wire (3)
Disconnect the positive battery cable (4) the starter

26. applicable, disconnect the supply and return hoses for the heater
NOTE: The supply hose located the left - hand side the engine and the return hose located the right - hand side the
27. Disconnect and cap the lines (1) for the remote, oil filter

Disconnect and cap the fuel feed line (1) and the fuel return line (2) .

Remove the access plate (1) for the engine oil

30. Disconnect the remote drain line (1) from the engine oil

Disconnect the following sensors:
• pressure sensor (1)
• pre - oxidation temperature sensor (2)
• post - oxidation temperature sensor (3)

Unbolt the pressure sensor from the cross member

33. Disconnect both exhaust pipes (2) .
Remove the mounting bolts (1) , and carefully remove the filter / muf fler assembly

Disconnect the joystick linkage (1) from the static pump assembly .

Support the hydrostatic pump assembly with a able lifting

37. Disconnect the ground wire (1) .
Unplug the engine harness (2)
Unbolt the engine harness (3) from the bell
Carefully remove the return spring assembly (4)

Remove the rear engine mount bolts (1)

Remove the front engine mount bolts (1)

43. Unbolt the hydrostatic pump assembly (1) , and gage the pump assembly (1) from the bell

Apply suitable lifting equipment the and carefully lift the engine out the machine.

L218 TIER Final [NDM449275 - ]
L220 TIER Final [NDM456673 - ]
Carefully lower the engine into the

Engage the pump assembly into the bell ply L OCTITE ® 243™ the bolts (1) . T orque the bolts (1) - 1 N·m ( - )

Install the front engine mount bolts (1) . Apply L OCTITE ® 243™ the bolts (1) T orque the bolts (1) 163176 ( 120 - 130 )

Install the rear engine mount bolts (1) . Apply L OCTITE ® 243™ the bolts (1) T orque the bolts (1) 163176 ( 120 - 130 )

Carefully install the return spring assembly (4)
Connect the ground wire (1)
Bolt the engine harness (3) the bell
Connect the engine harness (2) .

Remove the lifting device (1) from the hydrostatic pump assembly

10. Connect the joystick linkage (1) the hydrostatic pump assembly

1 Carefully install the filter / muf fler assembly T orque the bolts (1) - ( - ) .
12. Connect both exhaust pipes (2) . T orque the bolts - N·m ( - )

Attach the pressure sensor the cross member

14. Connect the following sensors:
• pressure sensor (1)
• pre - oxidation temperature sensor (2)
• post - oxidation temperature sensor (3)

Connect the remote drain line (1) the engine oil

Install the access plate (1) for the engine oil T orque the bolts (2) - N·m ( - )

17. Connect the fuel feed line (1) and the fuel return line (2)

Connect the lines (1) for the oil filter

Connect the positive battery cable (1) the alternator T orque the nut 4 N·m ( )
Connect the electrical connector (2) the alternator
Connect the starter ignition wire (3)
Connect the positive battery cable (4) the starter

connect the supply and return hoses for the heater core.
NOTE: The supply hose located the left - hand side the engine and the return hose located the right - hand side the engine.
24. Install the cooling package bracket assembly (1) .

Install the engine fan assembly

Install the T urn the adjuster bolt (3) clockwise The belt tightened properly when a force 5 ( 1 1 ) applied perpendicular the belt the center the span with a 5 ( / )
28. T ighten locking bolt (2) and pivot bolt (1) .

29. Install the radiator (1) . T orque the bolts( - ) T orque the hose clamps 3 - 4 N·m ( - )

30. Install the coolant overflow bottle.

Install the air cooler (1) T orque the boltsN·m ( - ) T orque the hose clamps 3 - 4 N·m ( - )

32. Install the bracket (1) for the coolant overflow bottle. T orque the bolts - N·m ( - )

Install the fuel filter assembly (1)
Install the bracket (2) for the air filter assembly
Install the oil fill tube (3)
36. Connect the mount (4) for the oil dip stick the cooling package
For vertical lift install the boom lock crank (5) Install the cotter pin the lock pin link for the boom lock

Install the air filter assembly (1) and T orque the bolts - N·m ( - ) T orque the hose clamps 3 - 4 ( - )

39. Install the engine cover (1) . T orque the bolts 23 N·m ( - )

40. Carefully install the engine hood (1) . T orque the nuts (2) - 6 N·m ( - )
Install the engine hood
Connect the A / C lines (if
Connect all the lights and reattach the harness the

Install the rear trim panels (1) Apply L OCTITE ® 243™ the bolts (2) . T orque the bolts (2) 1 - 1 N·m ( - )

Next operation:
Charge the A / C system (if See Air conditioning - Charging
Next operation: Fill the engine oil pan with oil.
Next operation: Fill the radiator with
Next operation: Connect the battery See Battery - Connect (55.302)
Remove the radiator cap (1)

Drain the engine coolant system loosening the drain valve (1) , and drain the coolant into a suitable tainer When the radiator empty , tighten the drain valve
NOTE: Rear access door removed for picture clarity


Burn hazard!
very careful avoid contact with hot fluids. fluid extremely hot, allow cool a moderately warm temperature before proceeding.
Failure comply could result death serious injury
Prior operation:
Drain the coolant See Radiator - Drain fluid (10.400)
Prior operation:
Remove the air cooler
Disconnect the upper radiator hose (1)

Disconnect the lower radiator hose (1) .
NOTE: Rear access door removed for picture clarity

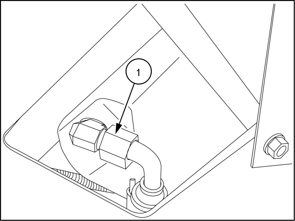
Remove the ° overflow hose elbow (1) .
NOTE: Engine hood removed for picture clarity
Remove the radiator hold - down bolts (3) , and remove the radiator (2)

Place the radiator (2) above the hydraulic oil cooler stall the radiator hold - down bolts (3) . T ighten the bolts a torque - N·m ( - )
NOTE: Engine hood and rear access door removed for picture clarity
Apply L OCTITE ® 567™ PST P IPE S EALANT the treads the ° overflow hose elbow (1) and install the elbow into the side the radiator T ighten the ° overflow hose elbow (1) two three turns past finger
NOTE: ° overflow hose elbow (1) positioned with the spout facing

Connect the lower radiator hose (1) T ighten the clamp a torque 3 - 4 N·m ( - )

Connect the upper radiator hose (1) T ighten the clamp a torque 3 - 4 ( - ) .

T
ighten the drain valve (1)
NOTE: Rear access door removed for picture clarity

Remove the radiator cap (1) , and add a coolant solution 50% ethylene glycol and 50% distilled water
Install the radiator cap (1)

Start and run the engine until reaches operating
Stop the engine and check the level the coolant the reservoir The coolant level must the cold minimum hot maximum mark which stamped the reservoir
the coolant level falls below the cold minimum add the proper coolant solution 50% ethylene glycol and 50% distilled water
