John Deere 7610 (2WD MFWD)Tractor Operation & Test Manual

Page 1


7610, 7710 and 7810 Tractors

Operation and Test

Download Manual

DIAGNOSIS AND TESTS MANUAL

2WD or MFWD models 7610, 7710; 2WD or MFWD - PIN pre x RW - USA models 7810

TM2030 22APR10 (ENGLISH)

For complete service information also see: 7610 7710 and 7810 Tractors Repair TM1651

PowerTech 8.1 L Diesel Engines Base Engine

Alternators and Starting Motors

OEM Engine Accessories

CTM86

CTM77

CTM67

MFWD Axles 1100 and 1150 Series. CTM44

PowerTech 8.1L Diesel Engines Level 9

Electronic Fuel System With Denso High Pressure Common Rail

PowerTech 8.1 L Diesel Engines Mechanical Fuel Systems

PowerTech 4.5L and 6.8L Diesel Engines Mechanical Fuel Systems

PowerTech 6.8L and 8.1L, 6068 and 6081 Diesel Engines (Level 3 Electronic Fuel Systems with Bosch In-Line Pump)

PowerTech 4.5L & 6.8L Diesel Engines Tier 1/Stage I, Tier 2/Stage II, Tier 3/Stage IIIA, Tier 3/Stage IIA Tier 3/Stage III, (Base Engine)

CTM255

CTM243

CTM207

CTM134

CTM104 John Deere Agriculture

Table of contents

FOREWORD

Section 210 - GENERAL

Group 05 - Safety

Group 10 - General References

Group 15 - General References

Section 211 - SERVICE CODE DIAGNOSTICS

Group APC - APC Code Diagnostics

Group CCU - CCU Code Diagnostics

Group ECU - ECU Code Diagnostics

Group HCU - HCU Code Diagnostics

Group JdL - JdL Code Diagnostics

Group LHP - LHP Code Diagnostics

Group PCU - PCU Code Diagnostics

Group PEC - PEC Code Diagnostics

Group RCU - rcu Code Diagnostics

Group SFA - SFA Codes Diagnostics

Group UIC - UIC Code Diagnostics

Section 212 - OBSERVABLE SYMPTOMS

Group 05 - Axles

Group 10 - Brakes

Group 13 - Control Units

Group 15 - Electrical

Group 18 - Engine

Group 20 - Hitch

Group 25 - Heating, Ventilation, and Air Conditioning

Group 30 - Operators Station

Group 40 - Power Take-O

Group 45 - Selective Control Valves

Group 46B - JdLink

Group 50 - Steering

Group 51 - AutoPowr / IVT Transmission

Group 55 - Powershift Transmission

Group 56 - PowerQuad Transmission

Group 57 - AutoQuad II Transmission

Group 70 - Hydraulics

Section 213 - COMPLETE SYSTEM DIAGNOSTICS

Group 40A - North American Lighting

Group 40B - European Lighting

Group 50 - Power Shift Transmission

Group 51 - AutoPowr / IVT Transmission

Group 54 - Autoquad II TransmissionAutoquad II Is A Trademark Of Deere & Company.

Group 55 - PowrQuad Transmission

Group 56 - Drive Systems

Group 56A - Di erential Lock

Group 56B - MFWD

Group 56C - Front PTO

Group 56D - Rear PTO

Group 56E - SFA

Group 60A - Brakes

Group 60B - Steering

Group 70 - Hydraulic System

Group 90 - Air Conditioning System Diagnosis

Section 220 - ENGINES

Group 05 - General Information

Group 10 - Operational Checks

Group 15 - Test And References

Group 20 - Engine System Theory of Operation

Group 25 - Schematics and Diagrams

Section 230 - FUEL AND AIR

Group 15 - Tests and References

Group 20 - Fuel/Air/Cooling System Theory of Operation

Section 240 - ELECTRICAL

Group 05 - General Information

Group 15 - Tests and Adjustments

Group 20 - Theory of Operation

Group 25 - Functional Schematics

Group 35 - Sub-System Diagnostic Schematics

Section 245 - CONTROL UNITS

Group 05 - Codes And Addresses

Group APC - APC References

Group CCU - CCU References

Group ECU - ECU References

Group HCU - HCU References

Group LHP - LHP References

Group PCU - PCU References

Group PEC - PEC References

Group RCU - rcu References

Group SFA - SFA References

Group UIC - UIC References

Section 246B - AG MANAGEMENT SOLUTIONS (AMS) JDLINK

Group 10A - Accessing Diagnostic Addresses and Codes

Group 10B - Diagnostic Trouble Codes

Group 10C - Diagnostic Addresses

Group 15A - JDLINK Machine Messenger Diagnostics

Section 250 - POWERSHIFT TRANSMISSION

Group 05 - General References

Group 10 - Operational Checks

Group 15 - Test And Procedure References

Group 20 - POWERSHIFT THEORY OF OPERATION

Group 25 - SCHEMATICS DIAGRAMS AND COMPONENT LOCATIONS

Section 251 - AUTOPOWR / IVTIVT IS A TRADEMARK OF DEERE & COMPANY TRANSMISSION

Group 05 - General References

Group 10 - Operational Checks

Group 15 - Test And Procedure References

Group 20 - AutoPowr / IVT Theory of Operation

Group 25 - Schematics Diagrams And Component Locations

Section 254 - AUTOQUAD II TRANSMISSION

Group 05 - General References

Group 10 - Operational And Preliminary Checks

Group 15 - Test And Adjustments

Group 20 - AutoQuad Theory Of Operation

Group 25 - SCHEMATICS DIAGRAMS AND COMPONENT LOCATIONS

Section 255 - POWRQUAD TRANSMISSION

Group 05 - General References

Group 10 - Operational Checks

Group 15 - Test And Adjustments

Group 20 - PowrQuad Theory Of Operation

Group 25 - SCHEMATICS DIAGRAMS AND COMPONENT LOCATIONS

Section 256 - DRIVE SYSTEMS

Group 10 - OPERATIONAL CHECKS

Group 15 - TEST REFERENCES

Group 20 - Theory Of Operation

Group 25 - SCHEMATICS DIAGRAMS AND COMPONENT LOCATIONS

Section 260 - STEERING AND BRAKES

Group 15 - Tests and Adjustments

Group 20 - STEERING AND BRAKES THEORY OF OPERATION

Group 25 - SCHEMATICS DIAGRAMS AND COMPONENT LOCATIONS

Section 270 - HYDRAULICS

Group 05 - GENERAL REFERENCES

Group 10 - OPERATIONAL AND PRELIMINARY CHECKS

Group 15 - TEST AND PROCEDURE REFERENCES

Group 20 - HYDRAULIC SYSTEM THEORY OF OPERATION

Group 25 - SCHEMATICS DIAGRAMS AND COMPONENT LOCATIONS

Section 290 - OPERATOR STATION

Group 10 - Operational Checks

Group 15 - Air Conditioning System References

Group 20 - Theory of Operation

Group 25 - Schematics, Diagrams and Component Locations

Section 299 - SERVICE TOOLS

Group 05 - Dealer Fabricated Tools

Group 10 - Service Test Kit Listing

Foreword

This manual is written for an experienced technician. Essential tools required in performing certain service work are identi ed in this manual and are recommended for use.

Live with safety: Read the safety messages in the introduction of this manual and the cautions presented throughout the text of the manual.

CAUTION:

This is the safety-alert symbol. When you see this symbol on the machine or in this manual, be alert to the potential for personal injury.

Technical manuals are divided in two parts: repair and operation and tests. Repair sections tell how to repair the components. Operation and tests sections help you identify the majority of routine failures quickly.

Information is organized in groups for the various components requiring service instruction. At the beginning of each group are summary listings of all applicable essential tools, service equipment and tools, other materials needed to do the job, service parts kits, speci cations, wear tolerances, and torque values.

Technical Manuals are concise guides for speci c machines. They are on-the-job guides containing only the vital information needed for diagnosis, analysis, testing, and repair.

Fundamental service information is available from other sources covering basic theory of operation, fundamentals of troubleshooting, general maintenance, and basic type of failures and their causes.

APC 033- APC Sensor Supply Voltage Low

03

The APC sensing less than 4V supply being provided to the Clutch Enable, Park Brake, and Transmission Pump Pressure Sensors.

Service Code Diagnosis

Alarm Level: Information, Read Operator s Manual

NOTE:

Additional References:

APC Theory of Operation (See Reference 245-APC-200 ).

IVT Transmission Theory of Operation Reference Listing (See Reference 251-20-001 ).

Functional Schematics Listing (See Reference 240-25-001 ).

General References List (See Reference 210-10-002 ).

( 1 ) Preliminary Check

Action:

No preliminary checks required for this code.

Result:

YES: GO TO (2)

( 2 ) Verify Code

Action:

Recall, record and clear codes.

NOTE:

If using SERVICE ADVISOR , this procedure can be performed by making a connection to the CCD bus and using the Diagnostic tab to view and clear codes. If connected through SERVICE ADVISOR, DO NOT use manual procedure for accessing codes.

If not connected to the tractor through SERVICE ADVISOR, see Reference 245-05-001 for procedure.

Recall codes again and check for return of this code.

Result:

YES:Code does not return. GO TO (3) .

NO:Code returns. GO TO (4) .

( 3 ) Operational Check

Action:

NOTE:

Remove diagnostic fuse from F10 location before performing the following operational check.

Start tractor and operate.

See if code is stored again.

Result:

YES:Code does not return. Diagnosis complete.

( 4 ) System Check

Action:

No system checks required for this code.

Result:

YES: GO TO (5)

( 5 ) Circuit Check and Speci cation

Action:

AccessAPC Address 18 .

NOTE:

If not connected to the tractor through SERVICE ADVISOR, see Access Control Unit Addresses (Reference 245-05-002 ) for procedure.

APC Address 18

Perform theSensor Supply Voltage Circuit Test (See Reference 245-APC-018 ), to check the following associated components and circuits:

APC Controller (A101)

Cab Harness (W46)

Circuit 591

Circuit 593

NOTE:

See APC Wiring Diagram in Reference 240-35-100 (Wiring Diagram Listing), for test points.

Result:

YES:Perform Operational Check. GO TO (3) .

NO:Repair as necessary. GO TO (2) .

APC 054- Park Brake Previously Failed / May Not Hold

03 Park engaged (hydraulically) and APC code 055 stored.

Service Code Diagnosis

Alarm Level: Information, Park

NOTE:

Additional References:

APC Theory of Operation (See Reference 245-APC-200 ).

IVT Transmission Theory of Operation Reference Listing (See Reference 251-20-001 ).

Functional Schematics Listing (See Reference 240-25-001 ).

General References List (See Reference 210-10-002 ).

( 1 ) Preliminary Check

Action:

No preliminary checks required for this code.

Result:

YES: GO TO (2)

( 2 ) Verify Code

Action:

Recall, record and clear codes.

NOTE:

If using SERVICE ADVISOR , this procedure can be performed by making a connection to the CCD bus and using the Diagnostic tab to view and clear codes. If connected through SERVICE ADVISOR, DO NOT use manual procedure for accessing codes.

If not connected to the tractor through SERVICE ADVISOR, see Reference 245-05-001 for procedure.

Recall codes again and check for return of this code.

NOTE:

Check to see if APC code 054 is stored with APC 055.

Result:

YES:Code does not return. GO TO (3)

NO:Code returns. GO TO (4)

NO:Code returns and code 055 is stored.Perform AutoPowr / IVT System Diagnostic (Reference 213-51 ).

( 3 ) Operational Check

Action:

NOTE:

Remove diagnostic fuse from F10 location before performing the following operational check.

Operate tractor if possible.

Stop tractor and place in park.

Check to see if APC code 054 is stored again.

Result:

YES:Code does not return. Diagnosis complete.

NO:Code returns. GO TO (4)

( 4 ) System Check

Action:

No system check is required for this code.

Result:

YES: GO TO (5)

( 5 ) Circuit Check and Speci cation

Action:

Check resistance across Park Supply Solenoid, and Park Sump Block Solenoid.

Park Supply Solenoid

Park Sump Block Solenoid

PerformAutoPowr / IVT System Diagnosis (Reference 213-51 ), to check the following associated components and circuits:

Park Brake Solenoid (Y45)

Park Sump Block Solenoid (Y46)

Park Supply Solenoid Valve

Park Sump Block Solenoid Valve

Park Supply Inlet Check Valve

Circuit 638

Circuit 050

Circuit 523

Circuit 080

NOTE:

See APC Wiring Diagram in Reference 240-35-100 (Wiring Diagram Listing), for test points.

The APC detects that the transmission output speed is greater than 8000 rpm for longer than 3 seconds.

Service Code Diagnosis

Alarm Level: Warning, Transmission

NOTE:

Additional References:

APC Theory of Operation (See Reference 245-APC-200 ).

IVT Transmission Theory of Operation Reference Listing (See Reference 251-20-001 ).

Functional Schematics Listing (See Reference 240-25-001 ).

General References List (See Reference 210-10-002 ).

( 1 ) Preliminary Check

Action:

Consult with operator to nd out when indicators illuminated / code was stored.

NOTE:

Operating tractor downhill with a heavy rear load may cause the rear di erential to overspeed the transmission output shaft.

Check the following APC addresses for correct con guration of the transmission output shaft pulses per revolution:

Address

.

YES: GO TO (2)

NO:APC Address 58 and / or 59 is con gured incorrectly. Change as necessary. See APC Calibration (Reference 245-APC-001 ) for procedure. GO TO (2)

( 2 ) Verify Code

Action:

Recall, record and clear codes.

NOTE:

If using SERVICE ADVISOR , this procedure can be performed by making a connection to the CCD bus and using the Diagnostic tab to view and clear codes. If connected through SERVICE ADVISOR, DO NOT use manual procedure for accessing codes.

If not connected to the tractor through SERVICE ADVISOR, see Reference 245-05-001 for procedure.

Recall codes again and check for return of this code.

Result:

YES:Code does not return. GO TO (3)

NO:Code returns. GO TO (4)

( 3 ) Operational Check

Action: NOTE:

Remove diagnostic fuse from F10 location before performing the following operational check.

Perform theAutoPowr / IVT Transmission Operational Checks (Reference251-10-001 ).

Check for code return.

Result:

YES:Code does not return. Diagnosis complete.

NO:Code returns. GO TO (4)

( 4 ) System Check

Action:

Perform theAutoPowr / IVT System Diagnostic (Reference 213-51 ).

Result:

YES: GO TO (5)

NO:Make repairs as necessary. GO TO (3)

( 5 ) Circuit Check and Speci cation

Action:

No circuit test is required for this code.

Result:

YES:Clear codes. GO TO (3)

APC 068- Hydro Fixed Unit Speed Sensor Circuit Fault

03

The APC receiving a hydro xed unit speed signal that is either greater than or less than 50 rpm of what the APC internally calculated hydro xed unit speed should be during operation.

Service Code Diagnosis

Alarm Level: Information, Read Operator s Manual

NOTE:

Additional References:

APC Theory of Operation (See Reference 245-APC-200 ).

IVT Transmission Theory of Operation Reference Listing (See Reference 251-20-001 ).

Functional Schematics Listing (See Reference 240-25-001 ).

General References List (See Reference 210-10-002 ).

( 1 ) Preliminary Check

Action:

Check the following address for the correct con guration for hydro xed unit pulses per revolutions:

AccessAPC Address 39 .

The display should read:

39 046

Result:

YES: GO TO (2) .

NO:APC Address 39 is con gured incorrectly. Change as necessary. See APC Calibration (Reference 245-APC-001 ) for procedure. GO TO (2)

( 2 ) Verify Code

Action:

Recall, record and clear codes.

NOTE:

If using SERVICE ADVISOR , this procedure can be performed by making a connection to the CCD bus and using the Diagnostic tab to view and clear codes. If connected through SERVICE ADVISOR, DO NOT use manual procedure for accessing codes.

If not connected to the tractor through SERVICE ADVISOR, see Reference 245-05-001 for procedure.

Recall codes again and check for return of this code.

Result:

YES:Code does not return. GO TO (3) .

NO:Code returns. GO TO (4)

3 ) Operational Check

Action:

NOTE:

Remove diagnostic fuse from F10 location before performing the following operational check.

Start tractor and operate.

Check for code return.

Result:

YES:Code does not return. Diagnosis complete.

NO:Code returns. GO TO (4)

( 4 ) System Check

Action:

No System Checks required for this code.

Result:

YES: GO TO (5)

( 5 ) Circuit Check and Speci cation

Action:

AccessAPC Address 06 .

NOTE:

If not connected to the tractor through SERVICE ADVISOR, see Access Control Unit Addresses (Reference 245-05-002 ) for procedure.

APC Address 06

Perform theHydro Fixed Unit Speed Sensor Circuit Test (Reference 245-APC-006 ), to check the following associated components and circuits:

Sensor (B41)

APC Controller (A101)

Circuit 609 Circuit 050

NOTE:

See APC Wiring Diagram in Reference 240-35-100 (Wiring Diagram Listing), for test points.

APC 069- Carrier Speed Sensor Circuit Fault

03

The APC receiving a carrier speed signal that is either greater than or less than 50 rpm of what the APC internally calculated carrier speed should be during operation.

Service Code Diagnosis

Alarm Level: Information, Read Operator s Manual

NOTE:

Additional References:

APC Theory of Operation (See Reference 245-APC-200 ).

IVT Transmission Theory of Operation Reference Listing (See Reference 251-20-001 ).

Functional Schematics Listing (See Reference 240-25-001 ).

General References List (See Reference 210-10-002 ).

( 1 ) Preliminary Check

Action:

Check the following address for the correct con guration for carrier pulses per revolution:

AccessAPC Address 38 .

The display should read: 38 048

Result:

YES: GO TO (2) .

NO:APC Address 38 is con gured incorrectly. Change as necessary. See APC Calibration (Reference 245-APC-001 ) for procedure. GO TO (2)

( 2 ) Verify Code

Action:

Recall, record and clear codes.

NOTE:

If using SERVICE ADVISOR , this procedure can be performed by making a connection to the CCD bus and using the Diagnostic tab to view and clear codes. If connected through SERVICE ADVISOR, DO NOT use manual procedure for accessing codes.

If not connected to the tractor through SERVICE ADVISOR, see Reference 245-05-001 for procedure.

Recall codes again and check for return of this code.

Result:

YES:Code does not return. GO TO (3) .

NO:Code returns. GO TO (4)

Action: NOTE:

Remove diagnostic fuse from F10 location before performing the following operational check.

Start and operate tractor under no load.

Check to see if APC code 069 is stored under no load.

Restart tractor and operate under load.

Check for transmission slippage.

Check to see if APC code 069 is stored under load.

Result:

YES:Code does not return. Diagnosis complete.

NO:Code returns. GO TO (4)

( 4 ) System Check

Action:

No system check is required for this code.

Result:

YES: GO TO (5)

( 5 ) Circuit Check and Speci cation

Action:

AccessAPC Address 05 . NOTE:

If not connected to the tractor through SERVICE ADVISOR, see Access Control Unit Addresses (Reference 245-05-002 ) for procedure.

APC Address 05

AccessAPC Address 05 and perform theCarrier Speed Sensor Circuit Test (Reference 245-APC-005 ), to check the following associated components and circuits:

Sensor (B42)

APC Controller (A101)

Cab Harness (W46)

Transmission Harness (W45)

NOTE:

See APC Wiring Diagram in Reference 240-35-100 (Wiring Diagram Listing), for test points.

Result:

YES:Perform Operational Check. GO TO (3)

NO:Repair as necessary. GO TO (2)

070- ECU Power Level Invalid

The APC receiving a power level di erent from original power level for ECU power level (during operation). Low idle will be commanded until shutdown.

Service Code Diagnosis

Alarm Level: Information, Engine

NOTE:

Additional References:

APC Theory of Operation (See Reference 245-APC-200 ).

IVT Transmission Theory of Operation Reference Listing (See Reference 251-20-001 ).

Functional Schematics Listing (See Reference 240-25-001 ).

General References List (See Reference 210-10-002 ).

( 1 ) Preliminary Check

Action:

Visually inspect the ECU connector (located beneath the right hand side of seat).

Check to ensure that CAN circuits to ECU connector, and / or pins are not damaged or disconnected.

AccessECU Address 22 . The

NOTE:

See ECU Wiring Diagram in Reference 240-35-100 (Wiring Diagram Listing), for test points.

Result:

YES: GO TO (2) NO:Repair or calibrate as necessary. GO TO (3)

( 2 ) Verify Code

Action:

Recall, record and clear codes.

NOTE:

If using SERVICE ADVISOR , this procedure can be performed by making a connection to the CCD bus and using the Diagnostic tab to view and clear codes. If connected through SERVICE ADVISOR, DO NOT use manual procedure for accessing codes.

If not connected to the tractor through SERVICE ADVISOR, see Reference 245-05-001 for procedure.

Recall codes again and check for return of this code.

Result:

YES:Code does not return. GO TO (3)

NO:Code returns. GO TO (4)

( 3 ) Operational Check

Action: NOTE:

Remove diagnostic fuse from F10 location before performing the following operational check.

Attempt to start and operate tractor.

Check to see if APC code 070 is stored again.

Result:

YES:Code does not return. Diagnosis complete.

NO:Code returns. GO TO (4)

( 4 ) System Test

Action:

Perform theCAN Bus Diagnosis AutoPowr / IVT (Reference 245-05-007 ).

Result:

YES:CAN Bus Diagnosis did not reveal any malfunction(s). Replace and calibrate UIC. See UIC Calibration (Reference 245UIC-001 ).

NO:CAN Bus Diagnosis reveals a malfunction. Repair as necessary. GO TO (2)

( 5 ) Circuit Check and Speci cation

Action:

No circuit test is required for this code.

Result:

YES:Clear codes. GO TO (2) .

APC 071- ECU Vehicle Level Invalid

03

The APC receiving a vehicle level di erent from original vehicle level. Low idle will be commanded until shutdown.

Service Code Diagnosis

Alarm Level: Information, Engine

NOTE:

Additional References:

APC Theory of Operation (See Reference 245-APC-200 ).

IVT Transmission Theory of Operation Reference Listing (See Reference 251-20-001 ).

Functional Schematics Listing (See Reference 240-25-001 ).

General References List (See Reference 210-10-002 ).

( 1 ) Preliminary Check

Action:

Visually inspect the ECU connector (located beneath the right hand side of seat).

Check to ensure that ECU connector, and / or pins are not damaged or disconnected.

AccessECU Address 24 . The

level calibration should read:

AccessECU Address 25 . The

NOTE:

See ECU Wiring Diagram in Reference 240-35-100 (Wiring Diagram Listing), for test points.

Result:

YES: GO TO (2)

NO:Repair or calibrate as necessary. GO TO (2)

( 2 ) Verify Code

Action:

Recall, record and clear codes.

NOTE:

If using SERVICE ADVISOR , this procedure can be performed by making a connection to the CCD bus and using the Diagnostic tab to view and clear codes. If connected through SERVICE ADVISOR, DO NOT use manual procedure for accessing codes.

If not connected to the tractor through SERVICE ADVISOR, see Reference 245-05-001 for procedure.

Recall codes again and check for return of this code.

Result:

YES:Code does not return. GO TO (3)

NO:Code returns. GO TO (4)

( 3 ) Operational Check

Action: NOTE:

Remove diagnostic fuse from F10 location before performing the following operational check.

Attempt to start and operate tractor.

Check to see if APC code 071 is stored again.

Result:

YES:Code does not return. Diagnosis complete.

NO:Code returns. GO TO (4)

( 4 ) System Test

Action:

Perform theCAN Bus Diagnosis AutoPowr / IVT (Reference 245-05-007 ).

Result:

YES:CAN Bus Diagnosis did not reveal any malfunction(s). Replace and calibrate UIC. See UIC Calibration (Reference 245UIC-001 ).

NO:CAN Bus Diagnosis reveals a malfunction. Repair as necessary. GO TO (2)

( 5 ) Circuit Check and Speci cation

Action:

No circuit test is required for this code.

Result:

YES:Clear codes. GO TO (2) .

APC 075- Hydro Fixed Unit Overspeed

03

The APC detects a hydro xed unit speed above 2500 rpm. Amperage to hydro control valve will be reduced until hydro xed unit speed drops below 2450 rpm. The code will clear when hydro speed drops below 2200 rpm.

Service Code Diagnosis

Alarm Level: Warning, Transmission

NOTE:

Additional References:

APC Theory of Operation (See Reference 245-APC-200 ).

IVT Transmission Theory of Operation Reference Listing (See Reference 251-20-001 ).

Functional Schematics Listing (See Reference 240-25-001 ).

General References List (See Reference 210-10-002 ).

( 1 ) Preliminary Check

Action:

Check the following address for the correct con guration for hydro xed unit pulses per revolutions:

AccessAPC Address 39 .

The display should read:

39 046

Result:

YES: GO TO (2) .

NO:APC Address 39 is con gured incorrectly. Change as necessary. See APC Calibration (Reference 245-APC-001 ) for procedure. GO TO (2)

( 2 ) Verify Code

Action:

Recall, record and clear codes.

NOTE:

If using SERVICE ADVISOR , this procedure can be performed by making a connection to the CCD bus and using the Diagnostic tab to view and clear codes. If connected through SERVICE ADVISOR, DO NOT use manual procedure for accessing codes.

If not connected to the tractor through SERVICE ADVISOR, see Reference 245-05-001 for procedure.

Recall codes again and check for return of this code.

Result:

YES:Code does not return. GO TO (3) .

NO:Code returns. GO TO (4)

Action:

NOTE:

Remove diagnostic fuse from F10 location before performing the following operational check.

Start engine operate tractor in all forward and reverse modes.

Recall, Record, and Clear Codes (See Reference 245-05-001 ).

Check to see if APC 075 is stored again.

Result:

YES:Code does not return. Diagnosis complete.

NO:Code returns. GO TO (4)

( 4 ) System Check

Action:

Perform theAutoPowr / IVT System Diagnostic (Reference 213-51 ) to determine the cause of the hydro xed unit overspeed code being generated.

Result:

YES: GO TO (5)

NO:Repair as necessary. Perform Operational Check. GO TO (3)

( 5 ) Circuit Check and Speci cation

Action:

AccessAPC Address 06 .

NOTE:

If not connected to the tractor through SERVICE ADVISOR, see Access Control Unit Addresses (Reference 245-05-002 ) for procedure.

Address 06

Perform theHydro Fixed Unit Speed Sensor Circuit Test (Reference 245-APC-006 ), to check the following associated components and circuits:

Sensor (B41)

APC Controller (A101)

Cab Harness (W46)

Transmission Harness (W45)

Circuit 609

NOTE:

See APC Wiring Diagram in Reference 240-35-100 (Wiring Diagram Listing), for test points.

Result:

YES:Perform Operational Check. GO TO (3)

NO:Repair as necessary. GO TO (2)

APC 077- Park Sump Block Valve Fault

03

The APC calculates a di erential pressure when the park brake is engaged. The park supply solenoid valve is turned o before the park sump block solenoid valve is turned o to see if the sump blocking valve will hold park release pressure from spring engagement of the park element. If the pressure value from when the sump blocking valve is holding o park engagement is less than 75% of the pressure measured when the park supply valve is holding o park engagement, code 077 is stored to indicate a failed sump block valve.

Service Code Diagnosis

Alarm Level: Warning, Park

NOTE:

Additional References:

APC Theory of Operation (See Reference 245-APC-200 ).

IVT Transmission Theory of Operation Reference Listing (See Reference 251-20-001 ).

Functional Schematics Listing (See Reference 240-25-001 ).

General References List (See Reference 210-10-002 ).

( 1 ) Preliminary Check

Action:

No preliminary checks required for this code.

Result:

YES: GO TO (2)

( 2 ) Verify Code

Action:

Recall, record and clear codes.

NOTE:

If using SERVICE ADVISOR , this procedure can be performed by making a connection to the CCD bus and using the Diagnostic tab to view and clear codes. If connected through SERVICE ADVISOR, DO NOT use manual procedure for accessing codes.

If not connected to the tractor through SERVICE ADVISOR, see Reference 245-05-001 for procedure.

Recall codes again and check for return of this code.

Result:

YES:Code does not return. GO TO (3)

NO:Code returns. GO TO (4)

( 3 ) Operational Check

Action:

APC Address 12

Perform thePark Brake Pressure Sensor Circuit Test (See Reference 245-APC-012 ), to check the following associated components and circuits:

Sensor (B39)

Cab Harness (W46)

Transmission Harness (W45)

Circuit 591

Circuit 621

Circuit 593

NOTE:

See APC Wiring Diagram in Reference 240-35-100 (Wiring Diagram Listing), for test points.

Result:

YES:Perform Operational Check. GO TO (3)

NO:Repair as necessary. GO TO (2)

APC 097- Transmission Oil Filter Bypassed < 1500 rpm / Park Not Engaged

03

The APC detecting park pressure is 675 kPa (6.6 bar) (98 psi) below pump pressure while engine is below 1500 rpm, and transmission is not in park. Low idle will be commanded by the APC until power down.

Service Code Diagnosis

Alarm Level: Stop Engine, Transmission Oil Filter

NOTE:

Additional References:

APC Theory of Operation (See Reference 245-APC-200 ).

IVT Transmission Theory of Operation Reference Listing (See Reference 251-20-001 ).

Functional Schematics Listing (See Reference 240-25-001 ).

General References List (See Reference 210-10-002 ).

( 1 ) Preliminary Check

Action:

Check the condition and service interval of the transmission oil and lter.

Result:

YES:Oil and lter are OK. GO TO (2)

NO:Oil and / or lter need to be changed. Change as necessary. GO TO (2)

( 2 ) Verify Code

Action:

Recall, record and clear codes.

NOTE:

If using SERVICE ADVISOR , this procedure can be performed by making a connection to the CCD bus and using the Diagnostic tab to view and clear codes. If connected through SERVICE ADVISOR, DO NOT use manual procedure for accessing codes.

If not connected to the tractor through SERVICE ADVISOR, see Reference 245-05-001 for procedure.

Recall codes again and check for return of this code.

Result:

YES:Code does not return. GO TO (3) .

NO:Code returns. GO TO (4)

( 3 ) Operational Check

Action: NOTE:

Remove diagnostic fuse from F10 location before performing the following operational check.

Hydro Fixed Unit Speed Sensor (B41)

APC Controller (A101)

Circuit 609

Circuit 050

NOTE:

See APC Wiring Diagram in Reference 240-35-100 (Wiring Diagram Listing), for test points.

Result:

YES:Perform Operational Check GO TO (3)

NO:Repair as necessary. GO TO (2)

APC 119- Carrier Speed Low at Start-Up

03

The APC giving full outboard command to the hydro control solenoid, and the carrier speed input to the APC does not come within 250 rpm of the internally calculated expected carrier speed within 25 seconds of startup.

Service Code Diagnosis

Alarm Level: Information, Transmission

NOTE:

Additional References:

APC Theory of Operation (See Reference 245-APC-200 ).

IVT Transmission Theory of Operation Reference Listing (See Reference 251-20-001 ).

Functional Schematics Listing (See Reference 240-25-001 ).

General References List (See Reference 210-10-002 ).

( 1 ) Preliminary Check

Action:

AccessAPC Address 38 .

Display should read: 38 048

NOTE:

The value stored at APC Address 38 is the con guration for the pulses or gear teeth that pass the carrier speed sensor in one revolution. An incorrect value stored at this address will prohibit correct speed calculation.

Check to ensure that the Transmission Enable fuse from the F37 location is not installed at the F41 location.

Result:

YES: GO TO (2) .

NO:Display does not read 048 . Change and save as necessary. (See APC Calibration 245-APC-001 for procedure). GO TO (2) .

( 2 ) Verify Code

Action:

Recall, record and clear codes.

NOTE:

If using SERVICE ADVISOR , this procedure can be performed by making a connection to the CCD bus and using the Diagnostic tab to view and clear codes. If connected through SERVICE ADVISOR, DO NOT use manual procedure for accessing codes.

If not connected to the tractor through SERVICE ADVISOR, see Reference 245-05-001 for procedure.

Recall codes again and check for return of this code.

B2 and B3=RE12364 3-Way Weatherpack tower (with seal) with three R78061 pin terminals

Also required:

Nine R78063 seals

Three 200 mm (8 in.) lengths of wire (14 Ga.), of di erent color

Three 150 mm (6 in.) lengths of wire (14 Ga.) to match color of 200 mm (8 in.) wires

Three AR67855 wire tap connectors

DFRW65 Tap-Out Harness (B)

B1=R78054 3-Way Weatherpack shroud with three R78061 pin terminals

B2=RE12364 3-Way Weatherpack tower (with seal) with three R78060 sleeve terminals

B3=RE12364 3-Way Weatherpack tower (with seal) with three R78061 pin terminals

Also required:

Three 200 mm (8 in.) lengths of wire (14 Ga.), of di erent color

Three 150 mm (6 in.) lengths of wire (14 Ga.) to match color of 200 mm (8 in.) wires

Three AR67855 wire tap connectors

DFRW66 Tap-Out Harness (C)

C1=R78053 2-Way Weatherpack shroud with two R78061 pin terminals

C2=RE12331 2-Way Weatherpack tower (with seal) with two R78060 sleeve terminals

C3=RE12331 2-Way Weatherpack tower (with seal) with two R78061 pin terminals

Also required:

Two 200 mm (8 in.) lengths of wire (14 Ga.), of di erent color

Two 150 mm (6 in.) lengths of wire (14 Ga.), to match color of 200 mm (8 in.) wires

Two AR67855 wire tap connectors

DFRW81 Tap-Out Harness (C)

A1=R78053 2-Way Weatherpack shroud with two R78060 sleeve terminals

A2=RE12363 2-Way Weatherpack tower (with seal) with two R78061 pin terminals

A3=RE12363 2-Way Weatherpack tower (with seal) with two R78061 pin terminals

Also required:

Six R78063 Seals

Two 200 mm (8 in.) lengths of wire (14 Ga.), of di erent color

Two 150 mm (6 in.) lengths of wire (14 Ga.), to match color of 200 mm (8 in.) wires

Two AR67855 wire tap connectors

Reference 299-05-007, DFRW126 Tap-Out Harness

DFRW126 Tap-Out Harness

LEGEND:

A 104 mm (4 in)

B R65597 Male Terminal (W/R77475 Female Connector Body)

C U46662 Female Terminal (W/M43835 Male Connector Body)

D Shift Valve Connector

E Tractor Harness Connector

F Weatherpack Two-Way Tower Connector

FABRICATION: Modify JDG774 Tap-Out Harness as shown (to be able to read current draw) by doing the following.

Measure 104 mm (4 in) (A) from one end of the Weather Pack connector (F) along the wire attached to terminal A . Mark and cut the wire.

Strip insulation approximately 5 mm (3/16 in) from each end of cut wire.

Add a R65597 blade terminal and R77475 female connector body (B) to one end.

Add a U46662 female terminal and M43835 male connector body (C) to the other end.

USE: DFRW126 is used to measure the current draw (in mA), of the power shift transmission analog shift valve solenoids, at di erent steps of valve engagement. Current draw data is used to analyze performance of the electronic portion of the shift valve.

Connect the ammeter in series by attaching meter leads to disconnected male and female terminals (B and C).

NOTE:

Terminals (B and C) must be connected when using the tap-out harness as JDG774 for making voltage readings.

Reference 299-05-008, DFRW133 Tap-Out Harness

DFRW133 Tap-Out Harness

LEGEND:

A 57M7257 3-Way Metri-Pack Shroud Connector

B 57M7255 3-Way Metri-Pack Tower Connecotr

C RE12364 Weatherpack Tower Connector

NOTE:

A 35-Pin CPC bulkhead connector (R77456 Amp No. 206151-1) can be substituted for the above connectors, with the appropriate terminals (R77464 Pin), for use with JT02016 Combine Receptacle Kit.

A One 57M7257 3-Way Metri-Pack shroud connector, three R104919 pin terminals, three 57M7258 seals and a 57M7317 retainer.

B One 57M7255 3-Way Metri-Pack tower connector, three R104846 socket terminals, three 57M7258 seals and a 57M7317 retainer.

C One RE12364 Weatherpack tower connector, three R78061 pin terminals and three R78063 seals

Also required

Three 200 mm (8 in.) lengths of wire (14 Ga.), of di erent color

Three 150 mm (6 in.) lengths of wire (14 Ga.) to match color of 200 mm (8 in.) wires

Three AR67855 wire tap connectors

Reference 299-05-009, DFRW123 Bypass Hose

Bypass Hose

LEGEND:

A

B

C

D

JT03032 or R39783 Cap, 9/16-18 JIC

JT03036 or R27095 Union Connector

JT03005 Swivel Adapter

JT03041 or R30816 Adapter

E R36659 Hose

CAUTION:

Must use all components required to ensure proper ID.

Assemble JT03032 or R39783 Cap (9/16-18 JIC) (A), JT03036 or R27095 (9/16-18 (M) JIC, Use R26448 O-ring) adapter (B), JT03005 (9/16-18 (F) JIC x 1/2-14 (F) NPT) (C) and JT03041 or R30816 (1/2-14 (M) NPT x 3/4-16 (F) O-ring) (D) to each end of R36659 hose (SAE-R2, 1/2 in. I.D. x 36 in. length) (E).

This hose assembly is used for hydraulic testing.

Reference 299-05-010, DFRW145 Leak Test Hose

DFRW145

LEGEND: A 1 I.D. x 60 Long Flexible Hose B 3/4 NPT x 6 Plastic Nipple C (2) 2 Hose Clamps

Cut a 1/4 x 2 1/2 Long Slot in one end of 3/4 NPT x 6 Plastic Nipple (B). Insert other end of nipple 1 1/2 to 2 inches into 1 I.D. x 60 Long Flexible Hose (A) and tighten 2 Hose Clamp (C) around hose and tting. Use other hose clamp as necessary for securing hose.

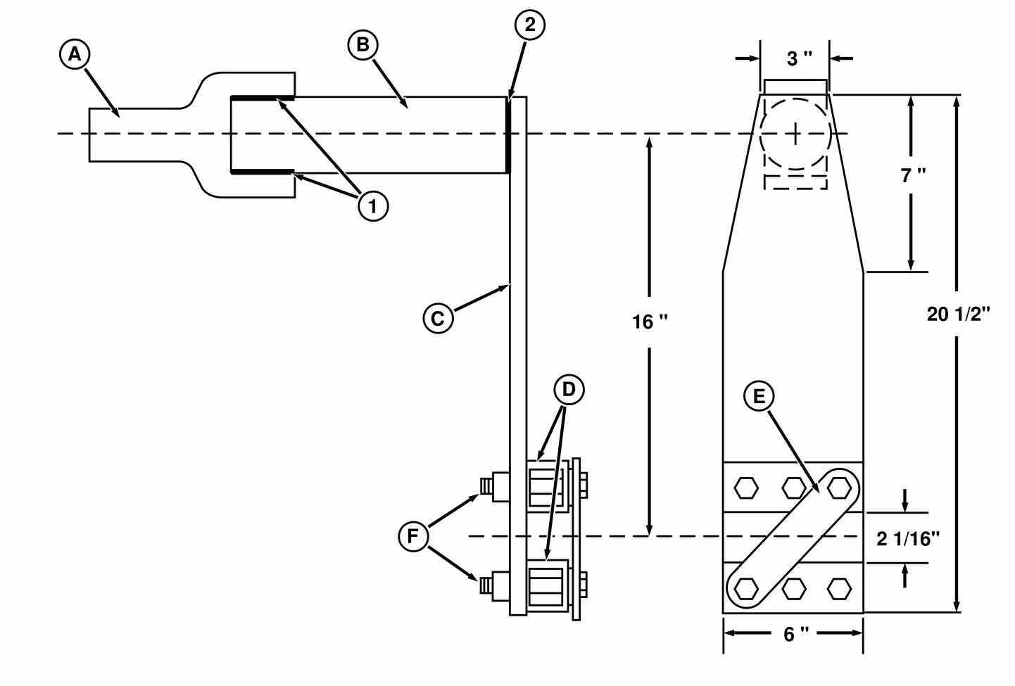
Reference 299-05-011, DFRW88 MFWD Clutch Torque Checking Tool

NOTE:

DFRW88 is available from the factory on a loan basis by contacting the branch.

DFRW88

LEGEND:

A RE58381 yoke

B 11 of 2 7/8 dia. thick walled (.270 min) pipe

C 1/2 x 6 x 20 1/2 plate

D (2 pcs.) 6 of 2 x 2 thick walled (.200 min) square tubing

E 3/16 or 1/4 thick x 1 1/4 or 1 1/2 wide x 8 1/2 long bar stock

F (6) 1/2 x 3 1/2 bolts

1 Weld

2 Weld

CAUTION:

Wear appropriate safety equipment when cutting, welding, drilling and grinding to prevent injury.

DOWNLOAD TECHNICAL MANUAL

Turn static files into dynamic content formats.

Create a flipbook
Issuu converts static files into: digital portfolios, online yearbooks, online catalogs, digital photo albums and more. Sign up and create your flipbook.