BKV Group: Light Gauge Steel Construction Overview

Page 1


LIGHT GAUGE STEEL CONSTRUCTION

We use light gauge steel to create efficient, enduring structures through thoughtful, innovative design.
LANDMARK ON GRAND RIVER | East Lansing, MI

5 PRACTICE SITES

45 YEARS OF OPERATION

200+ EMPLOYEES

ARCHITECTURE INTERIOR DESIGN URBAN DESIGN LANDSCAPE ARCHITECTURE

ENGINEERING BRANDED ENVIRONMENTS

CONSTRUCTION ADMINISTRATION SUSTAINABLE DESIGN

ONE SOUTHDALE PLACE | Edina, MN

BKV Group has created custom, Light Gauge Steel Construction projects over the last twenty years.

LIGHT-GAUGE CONSTRUCTION

Often referred to as Light Gauge Metal Framing (LGMF), Cold-Formed Steel (CFS), Light Gauge Steel (LGS), or Rolled Metal Framing, Light Gauge Steel Construction (LGSC) is a design process unique to BKV Group that is both economic in the form of creative cost reduction, and sustainable by emphasizing industry-based building design:

This brochure outlines the return on investment this process yields:

+ Ease of Constructibility

+ Streamlined Design & Construction Process

+ Cost-Effective Design

+ System Options

+ Stability of Supply & Manufacturing

+ Sustainable Characteristics

+ Resilient Characteristics

EASE OF CONSTRUCTIBILITY

BKV Group employs light gauge steel construction because it uses off-site panelized construction fabrication that lowers on-site labor costs.

LSGC has net environmental advantages due to the manufacturing processes’ exacting specifications.

Steel’s material benefits are that it is lightweight, dimensional stable, straight, and has mechanical attachment methods, all resulting in lack of inherent defects.

With LGSC, you can complete an entire 20,000 SF floor in significantly less time than wood or concrete.

PRIMARY BEARING WALLS

NON-BEARING WALLS

CORRIDOR BEARING WALLS

STREAMLINED DESIGN & CONSTRUCTION PROCESS

LSGC construction adds density at a lower cost per unit while shortening the project duration and lowering labor cost.

LGSC’s smart grid allows design decisions to be made earlier in the process.

The LGSC system generates accurate quantity takeoffs and bills of materials, yielding accurate cost estimates early in the design process.

COST-EFFECTIVE DESIGN

The BKV Group design process addresses client cost challenges for higher-density projects with light gauge steel designs that are high-quality and lower in cost per unit than the traditional wood or concrete approach.

TRANSFER PODIUM & LATERAL DESIGN

For all bearing wall housing designs, the need to have open space for amenity, parking, office, or retail on the lowest levels requires a transfer podium for the bearing wall loads to be transfered to columns.

This is a significant cost over supporting the housing at-grade.

Multiple design options in systems such as poured concrete, precast concrete, and steel.

Project location, contractor experience, system delivery, site constraints all affecting selection.

Concrete is the most flexible. Steel and precast are faster to install.

Aligning the beams and columns under the bearing walls greatly reduces the cost.

The lateral design stability is through “X” bracing in the panels or with floor diaphragm to the cores.

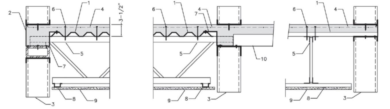
OPTION 1 COMPOSITE METAL DECK

Option Description:

Consists of load-bearing structural stud (braced) walls

3-inch deep metal deck acting as a permanent form

Receive a composite concrete slab

Eliminating the need for load-distribution plates at the top of the stud walls

Metal deck suited for stacked bearing walls up to 15 feet apart

Very price competitive

PIAZZA TERMINAL | Philadelphia, PA

SOUNDS TRANSMISSION

STC: 51 6” concrete slab

TYPICAL DETAILS

TLF-97-1012 NRCC/CNRL

End/Bearing Wall Interior/Bearing Wall Side/Wall Elevation

*credit Panel Systems, Inc.

OPTION 2 SPECIALTY DECKS

Option Description:

Consists of load-bearing structural stud (braced) walls with a 2” inch deep, 22-20 gauge

Metal deck acting as a permanent form to receive a composite concrete slab

Long spans, typically 16 to 20 feet

Continuous bearing, eliminating the need for stud alignment

Flat exposed ceilings to be painted

Thinner slab for longer spans

Minimal wall to deck fire proofing

TYPICAL DETAILS

ANN ARBOR | Ann Arbor, MI

OPTION 3 COLD FORM JOISTS

Option Description:

Comprises load-bearing structural stud (braced) walls with a light gauge “C-Joist” Floor

Assembly topped with (either) poured gypsum-cement or metal deck

Reinforced interlocking 3/4” thick Structural Cement Panels fastened directly to the joists

Eliminates all concrete on the elevated decks

Two-hour rated floor assembly (poured gyp) with only one layer of Firecode Gypsum Board suitable for all medium (± 20 ft) span applications

ONE SOUTHDALE PLACE | Edina, MN

OPTION 4 COMPOSITE JOISTS

Option Description:

Consists of load-bearing structural stud (braced) walls

Composite floor system consisting of bar joists

A steel deck fastened to composite between the joists

3 1/2” (standard) concrete slab deck

Long spans and fewer bearing walls

Plum space for MEP

TYPICAL

DETAILS

Carpet 1. 6 PCF PAd (0.4”)

100% Pet Polyester Carpet (0.438”)

Gypsum W/Poured Gypsum W/Cement Panels

MODERA KATY TRAIL | Dallas, TX
THE FYNN | Elmhurst, IL
Ceramic Tile
Loose-laid cork (0.235”) 2. Thinset Mortar 3. Glazed Ceramic Tile (0.3”)

COORDINATED RESULTS

BKV Group’s holistic approach involves in-house architects and engineers working in the BIM Revit design platform to coordinate all building systems to create building effectiveness and cost reduction. LGSC is designed to compliment MEP code and assembly of the overall building.

Holistic, multi-discipline design approach creates coordinated solutions for the modular and prefabricated process.

The BIM Revit computer modeling of the design confirms the integration of all systems cost effectively.

Design methodology allows for complete MEP integration to construct buildings in a faster sequence.

STABILITY OF SUPPLY & MANUFACTURING

Steel prices are more stable due to the high-recycled content.

Panelized system suppliers are numerous and will deliver panels up to 500 miles to project.

Thinner gauge, “hot-rolled” structural steel is simpler to create.

Present supply of scrap steel keeps prices stable.

More cost-effective than lumber and concrete on a per unit basis.

PIAZZA TERMINAL | Philadelphia, PA

Creating positive impacts on people, the planet, and providing the greatest value for our clients

VISION

Architecture is beautiful for the harmony it creates between itself, it’s environment, and its inhabitants. Sustainable design is the natural progression of that vision with BKV designed buildings always responding to their context — their location, their function, and how they are used by their occupants. BKV Group has a holistic vision for the building’s lifecycle to appropriately respond to context, function, and use. We leverage sustainable design strategies by tapping into a wide spectrum of knowledge — of architecture, interior design, urban planning, energy modeling, engineering, landscape architecture, technology and science — with our clients receiving the benefit of decades of collective professional expertise. In addition, because there is no predetermined outcome or prototypical concept, our process yields work of extraordinary originality, crafted to the specific needs of the site, user and circumstances.

COMMITMENT TO A CARBON-NEUTRAL PRACTICE

Memberships & Affiliations

AIA Materials Pledge, ASID Materials Pledge, Mindful Materials, B3 Guidelines

2030 Documentation

BKV’s Architects and Designers, Structural, and MEP Engineers report Embodied Carbon and Energy performance for all projects to AIA for 2030 green initiative records

Construction Standardization

Standard Method v1.1 (Greenguard, SCS, Indoor Advantage, FloorScore, CRI Green Label Plus)

Healthy Materials Promise

We work with our vendors to minimize the use of toxic materials and focus our specifications on non-toxic materials. Designers will seek certifications for the materials that are specified by HPD, EPD, Declare, Cradle to Cradle, Living Product, FSC, SCAQMD, CDPH Standard Method v1.1 Greenguard. SCS, Indoor Advantage, Floor Score, CRI Green Label Plus

Healthy Community Building

Urban design and landscape architecture are critical components of human health

SUSTAINABLE CHARACTERISTICS

1. Inherently Recyclable:

+ 25% recycled steel that is continually and completely recyclable.

+ Takes the pressure off renewable resources in contrast to concrete or wood.

+ Recycled in aggregate quantities from construction and demolition sites.

2. Lower Total Life Cycle Energy:

+ Consumes only 6.25% of the total life cycle energy used by a building.

+ Provides exceptional heat and cooling protection, resulting in less air loss.

3. Exceptional Strength:

+ Steel’s inherent attributes.

+ Recognized stability and durability by the U.S. Green Building Council’s (USGBC).

+ Decreased maintenance costs and extended life of a building.

4. Fabrication Flexibility:

+ Can be fabricated to exact specifications to minimize on-site waste.

+ Dimensional stability for exceptionally tight building envelope.

+ Better building energy performance over time.

5. Healthy Materiality:

+ Does not emit volatile organic compounds (VOCs).

+ Better indoor air quality.

+ Meets the solar reflectance and LEEDv4 requirements.

+ Reduced cooling loads and lower utility bills.

THE CONTINENTAL | San Antonio, TX

1. Protection Against Seismic Forces:

+ Safe, noncombustible framing system achieves the desired overall building height.

+ Higher strength-to-weight ratio at one third the weight of the same wood framed structure.

+ Less weight and less inertia (less weight to stop moving).

+ Mechanical means of connecting members which cannot be easily undermined.

+ Maintains its structural integrity for its entire life-cycle.

+ Tighter, more uniform structure resist earthquakes.

2. Mitigating Spread of Fire:

+ Will not contribute to the spread or intensity of a fire.

+ A better loss history than wood-framing members.

+ Does not add fuel-to-the-fire as does conventional framing lumber.

+ Fire is contained at the point of origin and denied the opportunity to spread.

3. Mitigating Sound:

+ Measurable decrease in STC values in light gauge steel construction.

+ Tighter construction provides greater sound reduction.

LANDMARK ON GRAND RIVER | East Lansing, MI

LIGHT GAUGE STEEL CONSTRUCTION

EXPERIENCE

PIAZZA ALTA

Philadelphia, Pennsylvania

OVERVIEW

Series of steel-stud framed massings over a two-story concrete podium; features a central courtyard plaza and retail edge.

TYPE

Market-rate housing

SIZE

13-16 stories

935,000 SF 951 units

Piazza Alta is a series of steel stud framed buildings over a two-story concrete podium. This strategy creates a variety of scales for the large development of 1,166,980 GSF. The tallest tower elements, at 16 stories tall, form a backdrop to a central courtyard plaza edged by retail occupancies in the smaller scale buildings that surround the plaza. This plaza connects a newly designed woonerf on Germantown Street to North Hancock Street, which integrates the site into the urban fabric.

The North Hancock Street side of the site is of a lower scale to relate to the adjacent single-family townhouses, with the Germantown Avenue side relating to the more public and retail edge as well as multi-family scale of Schmidt’s Commons. Nearly 682,000 square feet of residential space contains 1,144 market-rate apartments. Piazza Alta’s second floor features amenity space, which extends via skybridge across the courtyard. In addition, an amenity deck is located on the fifth floor, situated above the existing parking garage with two pools and robust lounge areas.

Piazza Alta broke ground in 2020, starting the process of establishing a new node in Germantown. The project will reach completion in early 2023.

BROAD & WASHINGTON

Philadelphia, Pennsylvania

OVERVIEW

Large-scale, mixed-use, retail and multifamily development. Two interlinked “L” shaped towers.

TYPE

Market-rate housing

SIZE

15 stories

1,516,218 SF 1,111 units

Extending across two parcels, Broad & Washington is a mixed-use, retail, and market-rate development in Philadelphia at the intersection of South Broad Street and Washington Avenue. The overall development is broken into a series of “L” shaped towers that bisect the site into four quadrants, with each of the four quadrants having its own identity, characteristics, and courtyard space.

Parcel A is bounded by South Broad Street and located at the end of the “Avenue of the Arts,” forming a connection with the “arts” uses that runs south to downtown. Parcel B is the smaller parcel just to the east, bounded by Washington Avenue. The overall Parcel B is smaller in featuring 300 residential units, two levels of parking, and a centralized, landscaped courtyard open to the sky above.

The building brings notable change block as one of the most significant mid-rise residential structures to go up on what was previously an all-commercial stretch. Both the Tasker-Morris and Snyder Station on the Broad Street Line may be reached within a ten-minute walk to the northwest and the southwest, respectively.

MODERA KATY TRAIL

Dallas, Texas

OVERVIEW

Light-gauge steel construction over podium.

TYPE

Market-rate housing

SIZE

14 stories

394,847 SF

217 units

At the terminus of the Katy Trail and McKinney Avenue, Modera Katy Trail is uniquely positioned to capture the energy of Uptown Dallas. Residents will have unique opportunities to experience the best that Dallas has to offer in dining, shopping, and recreation. Those opportunities will begin at the very doorstep of the project, where the leasing lobby will connect to the trail with a hospitable front porch. Pets aren’t just welcome, they are privileged residents. They have their own spa, recreation area and a dedicated lounge for their owners to socialize. The elevated amenity deck will provide opportunities for exercise, entertainment, working at your own pace, enjoying the weather and expansive views of Highland Park, Uptown and Downtown Dallas.

The design will reflect the contemporary sensibility of young professionals seeking to engage with the culture of Dallas. Clean, minimal detailing, subdued colors, and a material palette that focuses on variations of texture create a relaxed and uncluttered environment. Amenities will provide a spa-like environment that is luxurious, harmonious, and re-energizing. Modera Katy Trail will be an enclave, a base for striking out into the expanding culture of Dallas and a home for enjoying the company of new friends.

CRYSTAL TOWERS

Arlington, Virginia

OVERVIEW

Ground up urban infill development.

TYPE

Market-rate housing

SIZE

11 stories

209 units

BKV Group was selected by Dweck Properties to provide planning and design services for the Crystal Tower development located in Crystal City, Virginia, just off Richmond Highway. The building will be a ground up 11-story infill development with below grade parking. The project is set to consist of 209 market-rate residential units with a 11,0000 SF of indoor & rooftop amenity space with an additional 27,000 SF of retail space.

THE PORTNOW

Newark, New Jersey

OVERVIEW

New construction, set to feature both market-rate and affordable housing with luxury amenities.

TYPE

Market-rate housing

SIZE

14 stories

350 units

180 Parking Spaces

The BKV Group was selected to do the planning and design of The Portnow by Bolton Development. The Portnow is set to be a market rate building with 15% of the units designated as affordable. The building will consist of 350 Units in total. The unit mix is estimated to consist of 87 studio units, 159 one-bedroom units, and a 104 two-bedroom units. An estimated 70 units out of the 350 are set to be affordable units. Portnow will feature amenities such as a fitness center, clubroom, outdoor pool, grill/bar station and a penthouse sky lounge.

SUGAR HOUSE

Salt Lake City, Utah

OVERVIEW

Two-building development.

Co-living environment with co-working spaces where communal working zones are paired with living and recreational spaces.

TYPE

Market-rate housing

SIZE

8 and 10 stories

309,496 SF

346 units

The Sugar House project is a two-building development located in the heart of the Sugar House neighborhood outside of downtown Salt Lake City. The neighborhood has a rich and diverse history, and is named after the sugar beet mill-turned-paper factory-turned train repair hub that was once a prominent structure. Sugar House is ripe with historic inspiration, and this project takes its cues from the whimsical and exciting characteristics of this emerging community.

As a heavily amenitized, market-rate development containing micro-units, Sugar House features a variety of uses including maker space, retail pop-ups, and potentially a partnership with a local bicycle shop. While not zoned for commercial use, these spaces will be embedded in the final project, with both buildings uniquely featuring co-working spaces where communal working zones are paired with living and recreation spaces, establishing an immersive co-living environment including a central kitchen space and bowling alley – the latter of which was one of the original uses of the property.

Constructed via light gauge steel construction using prefabricated and modular design methodologies, the exterior of the structures will be composed of brick and masonry mixed with metal panels, creating an earth-tone palette aligning with the surrounding context – further enhanced through partnerships with local artists who can set up their artwork within Sugar House’s arts plaza.

THE FYNN

Elmhurst, Illinois

OVERVIEW

Designed to create an active street and pedestrian experience. Utilizes light-gauge steel construction.

TYPE

Market-rate housing

SIZE

8 stories

212 units

The project was designed as a courtyard building starting on the second floor facing Addison Avenue. This is done in order to minimize the building’s presence along Addison Avenue in addition to maximizing the amount of afternoon sun that would reach the outdoor pool. The building is set back from Addison Avenue, creating the appearance of a 7-story structure.

The project is designed to create an active street and pedestrian experience. By locating the fitness center, lobby/lounge, leasing offices, and bike lounge spaces along Addison Avenue, the first-floor parking and service spaces are concealed from view, apart from the lower level garage entry on the south end of the site. The second floor is set back from the property line along the north and south sides and is composed of residential units, a clubroom amenity space and a landscaped terrace with an outdoor pool, individual unit terraces, and other outdoor amenities. Levels 3-7 are the typical residential levels, with the 8th-floor setback from the street, north, and south property lines creating terraces for the top-level units.

ONE SOUTHDALE PLACE

Edina, Minnesota

OVERVIEW

A high-end multifamily development featuring diverse unit types, premium amenities, sustainable design, and strong walkable connections to nearby retail and community spaces

TYPE

Market-rate housing

SIZE

370,000 SF 232 units

One Southdale Place Apartments is located at the northwest corner of the intersection of 69th Street and York Avenue South in Edina. The sophisticated multifamily project aims to complement the upscale momentum of Southdale Mall and the City of Edina. This five-acre development features 232 units spread over three buildings — a fivestory, three-story, and a ten-story high-rise. Floor plans include studio, one, two-, and three-bedroom units, as well as exceptional top-floor penthouses.

Resident amenities include a community room, rooftop terrace, outdoor pool, full fitness center, business center, underground heated parking, and landscaped walking paths with bocce courts. The project team also designed sustainable features such as green roof areas, a green courtyard, energy-efficient appliances, individual unit heating and cooling, and walkability with close proximity to transit. A primary goal was to create connectivity between the units, Southdale Mall, and the surrounding businesses. Walk-up apartments on the first floor with patios and new sidewalks help to create a neighborhood feel and sense of community.

LANDMARK ON GRAND RIVER

East Lansing, Michigan

OVERVIEW

Connected to active adult tower; utilizes light-gauge steel construction; near Michigan State University

TYPE

Student living

SIZE

12 stories

273 units

Located across from the Michigan State University campus in downtown East Lansing, Central City District consists of two 12-story individual rental apartment towers, one focused around university living and one for active adults, both at market rate rental. The towers accommodate 91 active adult units, 273 market rate student units and amenities including landscaped courtyards, fitness center, conference, group study lounges, game room, library, and a chef’s kitchen as well as a dedicated dog run. The ground floor occupies a Target and the street will be converted to a curbless “complete street” to accommodate the existing festivals that are held on the surface lot to create a flexible, active and diverse pedestrian corridor.

The project was initially conceived as a single 10-story steel stud panelized construction residential tower over a two story precast podium for amenities and ground floor retail. Included in the deal was a requirement by the developer to incorporate the city-owned ongrade parking lot into a parking structure sufficient to accommodate current demands and future growth, while adding 5-stories of Active Adult Living on top with street level retail. Built with Tax Increment Financing, the parking garage was turned over to the City upon completion of the project.

NEWMAN LOFTS

East Lansing, Michigan

OVERVIEW

Connected to student housing tower; utilizes light-gauge steel construction; near Michigan State University

TYPE

Student living

SIZE

11 stories

96 units 98,956 SF

Located across from the Michigan State University campus in downtown East Lansing, Newman Lofts and Landmark on Grand River consist of two 11-story individual rental apartment towers, one focused around university living and one for active adults, both at market rate rental. The towers accommodate 96 active adult apartments, 289 market rate student apartments and amenities including landscaped courtyards, a pool, fitness center, conference and meeting rooms as well as a dedicated dog run. The ground floor is proposed as retail space and the street will be converted to a curbless “complete street” to accommodate the existing festivals that are held on the surface lot to create a flexible, active and diverse pedestrian corridor.

THE DEACON

Cincinnati, Ohio

OVERVIEW

Utilizes modern design strategies; near University of Cincinnati

TYPE

Student living

SIZE

11 stories

451,800 SF

357 units

1,029 beds

17,500 SF amenities

The Deacon is a 11-story, 357-unit student housing development that will serve the students of the University of Cincinnati. This new development is located on the former Deaconess Hospital site.

This project’s first phase will deliver a mid-rise 1029-bed housing development and the renovation of the former parking garage on the property. The Deacon includes one- to four-bedroom apartments, each bedroom with its own bathroom.

The Deacon include 17,500 square feet of customized amenities.

Residents have access to a jam lounge, music practice rooms, a golf simulator, pet spa, 24/7 fitness center, hammock lounge and private study lounges. The project also includes pedestrian connections to the existing 6-story parking garage, which will undergo aesthetic updates and repairs.

WAHU STUDENT APARTMENTS

Minneapolis, Minnesota

OVERVIEW

Located adjacent to light rail station; utilizes light-gauge steel construction; near University of Minnesota

TYPE

Student living

SIZE

3-, 5-, and 11 stories

313 units

The WaHu Student Apartments are a mixed-use development located just east of the University of Minnesota East Bank Campus in the Prospect Park neighborhood of southeast Minneapolis. The site is located across from the Stadium Village stop on the LRT Green Line. This prominent site location presents a unique opportunity to design a gateway building at this end of the campus that will serve as a catalyst for future transit-oriented development in this area.

The project includes retail and commercial space that fronts the public streets on the first floor. Floors two through 11 have 313 units of market-rate rental housing marketed to university students. Contemporary and dynamic exterior materials such as glass, metal panels, metal siding, and cement board panels animate this particular intersection. The building’s fenestration incorporates an ample amount of glass throughout the upper floors as well as a storefront window system on the ground floor of the building.

Amenities include secured building access, common study areas, community rooms, outdoor courtyards and roof decks, an indoor/ outdoor pool, and on-site leasing and property management staff.

Turn static files into dynamic content formats.

Create a flipbook
Issuu converts static files into: digital portfolios, online yearbooks, online catalogs, digital photo albums and more. Sign up and create your flipbook.
BKV Group: Light Gauge Steel Construction Overview by BKV Group - Issuu