Bienestar animal

Page 1

1. Nutrición e instalaciones

Nutrición periparto

Alimentación de la vaca en producción

Micotoxinas

Plantas tóxicas

Evaluación de la condición corporal Instalaciones ganado adulto

Manejo de los bebederos y comederos

2. Manejo

Etología bovina

Genética, bienestar animal y sostenibilidad

Estrés térmico

Diagrama de vaca sana y vaca enferma

El parto bovino

Secado y parto

Rutina de ordeño

Guía de inseminación

Guía de marcaje

Guía de embarque y transporte de los animales

Guía de matadero

Guía de sacrificio y disposición de cadáveres

Uso del chuzo eléctrico

Plan de emergencia

3. Veterinaria

Manejo del botiquín

Agenda sanitaria del hato

Retención placentaria

Mastitis bovina

Vacunación de la mastitis

Parásitos internos

Manejo de parásitos externos

Vaca renca

Enfermedades metabólicas

Enfermedades reproductivas

Hemoparasitosis

Clostridiales

Leucosis Bovina

Brucelosis

Tuberculosis

Paratuberculosis bovina

Disentería (coronavirus)

Estomatitis Vesicular

4. Reemplazos

Cuidado del recién nacido

Crianza de reemplazos

Guía de descorné Instalaciones de remplazos Guía de enfermedades en terneros

5. Anexos

Ficha médica veterinaria

Cuaderno de registros

Bitácora de sacrificios

contenidos Bitácora
de mantenimiento de instalaciones Bitácora de manejo de alimentos
4 6 11 13 15 17 19 22 24 25 27 28 30 31 33 34 35 36 38 40 41 43 44 45 46 49 50 53 58 78 80 83 85 86 91 93 94 95 97 60 63 66 67 69 70 72 74 75 76

Nutrición e instalaciones

nutrición periparto

Periodo seco (del día de secado a 40 días preparto)

3

Medición de ph urinario

seca parto pronta lactancia inicio

de

40 días 60 días 30 días

a. Ofrecer 1 kg de alimento Fase 1 o reemplazos novillas al día.

b. Si la condición corporal es menor a 3,25 ofrecer 2 kg al día.

c. Dar 40 g de mineral vaca pronta no aniónico.

d. El uso de alimento balanceado en esta etapa es primordial, para evitar problemas de acidosis.

a. Dieta no aniónica (estrategia baja en calcio)

i. Vaca de tamaño mayor a 500 kg de peso vivo dar mínimo 4 kg de alimento Fase 1. Vacas con peso menor a 500 kg de peso vivo ofrecer 3 kg al día.

ii. Consumo de mineral no aniónico ofrecer 60 g/vaca/al día de Multiplex Vaca Pronta.

iii. Si las vacas pastorean forrajes con contenidos de potasio mayores a 2,5 %, se debe ofrecer de 2 a 5 kg de forrajes secos ya sean henos, rastrojo de arroz, o silopacas.

b. Dieta aniónica

i. Vaca de tamaño mayor a 500 kg de peso vivo dar mínimo 4 kg de alimento Parto Plus o preparto, vacas con peso menor a 500 kg de peso vivo ofrecer 3 kg al día.

ii. Bajo esta estrategia no es necesario ofrecer mineral extra.

iii. De acuerdo a mediciones de ph urnario, y sí las vacas pastorean forrajes con contenidos de potasio mayores a 2,5 %, se debe ofrecer de 2 a 5 kg de forrajes secos ya sean henos, rastrojo de arroz, o silopacas.

iv. Nunca permitir que la vaca pierda condición corporal en esta etapa.

v. Otra estrategia de alimentación aniónica consiste en trabajar con alimento Fase 1 de la siguiente forma: vaca de tamaño mayor a 500 kg de peso vivo dar mínimo 4 kg de alimento Fase 1 o Pre Parto. Vacas con peso menor a 500 kg de peso vivo ofrecer 3 kg al día, y adicionar de 250 a 300 g de mineral Multiplex Sal aniónica o 160 a 320 g de Bovigold preparto, dependeiendo de los resultados de ph urinario.

a. Utilizando dieta aniónica se debe llevar el pH en orina entre 6,2 y 6,8 la semana anterior al parto. (en Jersey 5,8 – 6,2)

b. Cuando el pH en orina de las vacas es menor a 5,3 se puede haber causado una acidosis metabólica no compensada, no se recomiendan estos niveles.

c. Se recomienda realizar la medición una vez por semana, de al menos el 50 % del los animales en el periodo, y realizar 6 horas despues de haber sido alimentadas, o en ayuno.

Perido pronto
días preparto al parto aproximado 1 2
22
Nutrición e instalaciones 04 Inicio

Estrategia aniónica seguir la siguiente guía para medición pH urinario.

pH en Orina

9

Sin beneficios Alta tasa de hipocalemia

Beneficios marginales Se necesita un mayor ajuste Muchas vacas con hipocalcemia

DCAD parcialDisminución notable en problemas de hipocalcemia y transición DCAD completo - Beneficios máximos Algunas vacas con hipocalcemia

Zona de Riesgo Sobre acidificación

4 5

¿Cuando utilizar dieta aniónica?

a. Cuando se tenga una incidencia de más de 5% de fiebre de leche y/o retención placentaria.

Inicio de lactancia

a. Durante la primer semana post parto se debe mantenar la misma cantidad de concentrado que preparto (3 a 5 kg aproximadamente).

b. Ir incrementado de 2 a 3 kg por semana hasta alcanzar el tope de alimento a ofrecer en la tercer semana post parto dependeiendo de la pesa de leche.

c. Adicionar minerales de producción desde el día del parto.

Medición de ph. Nutrición e instalaciones 05 Inicio

pH en orina y nivel DCAD de la dieta pH en orina bajo = Calcio en sangre mas alto = mayores beneficios y menores problemas 8,5 8 7,5 7 6,5 6 5,5 5 4,5 4
b. O más de 3% cetosis. Del total de partos en un período de tiempo.

alimentación de la vaca EN PRODUCCIÓN

La meta de la nutrición es satisfacer todas las necesidades de nutrientes en las diferentes etapas fisiológicas del animal, mantener la salud y maximizar el desempeño al menor costo posible. Desde esta perspectiva podemos abordar algunos aspectos prácticos y definir métricas que nos permitan determinar si estamos alcanzando la meta propuesta.

Condición Corporal

Consiste en una escala de puntuación de 1 a 5 para evaluar las reservas corporales especialmente de grasa subcutánea en los animales productivos (1 extremadamente flaca y 5 extremadamente gorda).

Es conveniente realizar esta evaluación periódicamente ya que está directamente relacionada con energía y si los valores están fuera de lo sugeridos puede afectar el desempeño productivo, la reproducción y salud. Un aspecto crítico es la perdida de condición corporal durante los primeros 60 días de lactancia en cuyo caso no debe ser mayor a 1 punto para este periodo.

Parto

Masticaciones o Rumias

Consiste en la cantidad de masticaciones que los animales realizan entre una deglución del bolo alimenticio y la siguiente, ocurre después de que los animales han tenido suficiente tiempo para alimentarse y repercute directamente en la producción de saliva (bufferizante) y sobre la salud ruminal del animal. En condiciones de pastoreo el 50% de los animales deben estar echados rumiando y la cantidad de masticaciones entre 55 y 70, esto está directamente relacionado con el consumo de la fracción de fibra efectiva en la dieta y por ende en la tasa de pasaje (velocidad de paso de los alimentos por el tracto gastro intestinal), por lo que valores inferiores generalmente indican una deficiencia y superiores un exceso. Algunas alternativas para corregir valores bajos es la incorporación de heno o fuentes de fibra larga, evaluar el consumo durante el pastoreo y en el caso de valores altos debe revisarse aspectos como el tipo y la madures de forraje suministrado entre otros.

Consistencia de boñigas

Consiste en una escala de puntuación de 1 a 5 (1 es totalmente líquido a 5 totalmente sólido) donde como máximo el 20% de los animales de un grupo productivo, pueden tener un valor de 2 o inferior o bien valor de 4 o superior.

Este aspecto está relacionado con salud ruminal, tasa de pasaje de los alimentos por el tracto digestivo y su aprovechamiento. En algunos casos boñigas con puntuaciones bajas vienen acompañadas con presencia de burbujas, alta presencia de grano, fibra entera y epitelio, lo que se asocia a algún grado de acidosis ruminal.

En el caso de puntaciones altas generalmente se asocia al tipo, madures y calidad del forraje suministrado.

Lactancia temprana Lactancia intermedia Lactancia tardía Secado Intermedio Secado 3.5 - 3.75 2.5 - 3.0 2.75 - 3.25 3.0 - 3.5 3.25 - 3.5 3.5 - 3.75 Nutrición e instalaciones 06 Inicio

Componentes de la leche

Apariencia Grado

Muy suave liquida, salpica ampliamente caer y chorrear. Presencia de burbujas de gas.

Suave, acuosa. Salpica al caer, pero tiene forma circular. Consistencia de puré, suave, pero forma un círculo de 1 pulgada a 1.5 pulgadas de alto. Pueden observarse fácilmente anillos concéntricos con una depresión en el centro. Es óptimo.

Es firme, rápidamente forma una altura de 2 a 3 pulgadas de alto.

Muy firme, muy seca. Se observan partículas de fibra.

Degradación de la fibra

Adicionalmente el grado de degradación de la fibra presente en la boñiga (indicador de eficiencia y salud del rumen) puede evaluarse también a través del dispositivo NASCO DIGESTION ANALYZER donde el producto del lavado de las boñigas en las Cribas debe ser: Criba1 < 10%, Criba2 <20%, Criba3 > 50%, como se muestra en las imágenes.

El valor de los componentes lácteos está relacionado a muchos factores, la grasa, proteína y Nitrógeno Ureico pueden presentar variaciones de acuerdo con los aportes nutricionales y prácticas de alimentación utilizadas en las unidades productivas.

Una de las relaciones más utilizadas para inferir el efecto de la nutrición sobre los animales es la división de % grasa / % proteína, el cual debe estar entre 1.18 y 1.25, por lo general valores inferiores se asocian a deficiencia de fibra, exceso de carbohidratos no fibrosos y acidosis ruminal; en el caso contrario valores altos también podrían apuntar a deficiencia de energía, carbohidratos no fibrosos o valores de fibra inadecuados.

Con respecto a los componentes lácteos conviene no solo revisar los valores absolutos, sino también las variaciones para épocas y condiciones similares en la unidad productiva, de esta manera reducciones mayores a: 0.3% en grasa láctea, 0.2% en proteína láctea respecto del mismo periodo y con condiciones similares del año anterior pueden ser una alerta para ajuste en la nutrición.

El Nitrógeno Ureico en Leche es utilizado principalmente como un indicador del balance de energía y proteína de la ración, existen diferentes criterios acerca del valor ideal y la evaluación debe realizarse considerando más información de la unidad productiva, sin embargo, puede utilizarse esta escala como referencia.

Nutrición e instalaciones 1 2
3 4 5
OPORTUNIDAD DE MEJORA OPORTUNIDAD DE MEJORA PRECAUCIÓN PRECAUCIÓN ADECUADO
07 Inicio
<8 8 a 10 10 a 16 16 a 18 >18
Menos de 10% Menos de 20% Mayor a 50%

Disponibilidad y calidad de agua

Uno de los elementos más importantes es garantizar agua de bebida limpia a libre consumo para los animales en cualquier momento del día. El agua juega un papel vital para los animales y deficiencias en calidad como suministro tienen un marcado efecto sobre el desempeño. Se recomienda como mínimo 2 puntos de acceso al agua por cada grupo de animales y que exista al menos 90 cm de perímetro del tanque (espejo de agua constante) por cada 15 animales.

Llenado Ruminal

La evaluación de llenado ruminal consiste en una escala de puntuación de 1 a 5 (1 totalmente vacía y 5 totalmente llena) para evaluar de forma práctica consumo y distención del Rumen, lo que resulta muy útil en sistemas de pastoreo para estimar si los animales se están llenando con el forraje y estimar periodos de ayuno. En términos generales como máximo el 10% de los animales lactantes deben tener un valor de 2 o inferior.

Prácticas de alimentación y aspectos de la nutrición

Uno de los aspectos más importantes en la nutrición de rumiantes es maximizar la síntesis de los productos de la fermentación ruminal (ácidos grasos volátiles y proteína microbiana) obtenidos a partir de la acción de los microrganismos presentes sobre los sustratos o alimentos que el animal ingiere, sin comprometer la salud. Para eso se debe revisar algunos conceptos y aspectos prácticos que aplicados en la finca favorecen el óptimo desempeño ruminal.

Sincronización de sustratos o nutrientes en el Rumen

La estabilidad y crecimiento de las poblaciones de microorganismos del Rumen, depende de proporcionar en el momento adecuado la cantidad y tipo de nutrientes que estos microorganismos requieren para la máxima producción de los productos de la fermentación ruminal y además el sobrepaso y/o escape al rumen de otros elementos nutricionales que serán utilizados también por el animal. Esta optimización proporcionada por el equilibrio en el suministro de nutrientes en tiempo, tipo y cantidad de acuerdo con la forma en que son utilizados por los microorganismos es lo que se conoce como sincronización de sustratos o nutrientes en el Rumen.

De esta forma se puede hacer una clasificación básica de los alimentos fundamentada en el contenido de nutrientes por unidad de peso y según qué fracción de nutrientes predomine sobre otros.

1. Fuentes fibrosas (ejemplo forrajes).

2. Fuentes energéticas (ejemplo maíz grano molido).

3. Fuentes proteicas (ejemplo harina de soya).

4. Grasas y aceites (ejemplo aceite de soya).

5. Fuentes de minerales (ejemplo Carbonato de Calcio).

6. Fuentes de vitaminas (ejemplo Tiamina).

7. Aditivos no nutricionales (ejemplo Monensina Sódica).

1 2 3 4 5 Nutrición e instalaciones 08 Inicio

Algunas recomendaciones que puedan favorecer la sincronía de nutrientes y eficiencia de la nutrición, así como también algunas observaciones para la utilización de Raciones Totales Mezcladas TMR y Raciones Parciales Mezcladas PMR son:

• Fraccionar el alimento balanceado y /o las fuentes de carbohidratos no fibrosos en partes iguales de forma equidistante en el tiempo del día. Generalmente cuando la dosificación de grano supera los 6kg (razas pequeñas) u 8 kg (razas grandes) /vaca/día de granos, se sugiere fraccionar en al menos 3 turnos / día.

• Vigilar los máximos de suministros de Carbohidratos No Fibrosos de la ración y utilizar Buffers o moduladores de la fermentación si es necesario. (Buffer Plus, Acid Buff, Bicarbonato de sodio, Levaduras vivas o paredes de levadura).

• Cuando la dieta es complementada con forraje en el comedero siempre es conveniente suministrar estas fuentes antes que el grano.

• Realizar mínimo 4 balances nutricionales por año a fin de ajustar las variaciones ocasionadas por el cambio en la composición nutricional del forraje o según necesidades específicas de la unidad productiva.

• Procurar el punto de cosecha de forraje (corte o pastoreo) con el fin de favorecer el máximo consumo y suministro de nutrientes.

• Vigilar el posible efecto del incremento de temperatura y humedad sobre consumo de los diferentes alimentos a fin de ejecutar medidas de mitigación.

Efecto del fraccionamiento de la ración o grano sobre el ph ruminal en una dieta de vacas lactantes.

pH 1 2 3 4

Promedio Mínimo Máximo 6.09 5.51 6.64 5.11 6.11 5.54 6.66 4.56 6.14 5.56 6.67 4.16 6.15 5.58 6.68 3.94
Nutrición e instalaciones 09 Inicio

Raciones totales mezcladas y raciones parciales mezcladas (TMR y PMR)

• Se debe garantizar un mezclado homogéneo a fin de que cualquier parte de la mezcla realizada contenga los mismos aportes nutricionales lo que evita fluctuaciones en el desempeño y salud ruminal. Para este efecto se pueden realizar pruebas sencillas en laboratorio sobre la concentración de ingredientes adicionados en dosis bajas al TMR o PMR, uno de los más utilizados es la concentración de Sal (Cloruro de Sodio).

• Es recomendable realizar premezclas de los aditivos que se incorporan en dosis pequeñas, generalmente con fuentes de granos molidos que no difieran demasiado en sus características físicas facilitando una premezcla homogénea.

• En el caso de suministro de TMR o PMR se reduce la capacidad de selección del animal sobre el forraje vrs sistemas 100% pastoreo y es por esta razón que debe vigilarse la distribución en el tamaño de partícula para lo cual puede utilizarse el separador de partículas de PENN STATE. Generalmente tamaños de partícula inferiores a los sugerido aceleran el pasaje de la ración y pueden ser más proclives a problemas de acidosis, por otro lado, tamaños de partícula superiores pueden reducir la capacidad de consumo del animal disminuyendo el desempeño.

• En el caso de TMR hay estudios que demuestran que el fraccionar el suministro de la ración tiene un efecto positivo sobre el incremento en el consumo total de materia seca, así como la humedad de la mezcla que debe estar entre 60 y 50 % MS.

Utilización de subproductos agrícolas

La utilización de subproductos agrícolas puede ser bajo algunas circunstancias una alternativa de suplementación para algunas unidades productivas, especialmente como fuentes de carbohidratos no fibrosos a bajo costo, sin embargo, siempre deben realizarse con la ayuda de un asesor nutricional ya que existe riesgo de incrementar problemas de salud además de un posible efecto sustitutivo sobre otros elementos de la dieta como el forraje. En cuanto al costo se sugiere siempre evaluar el costo por kg de materia seca y kg de nutriente (almidón, fibras solubles, azucares etc.).

Sugerencia práctica de consumo máximo (kg/vaca/día) de acuerdo con peso vivo aproximado.

Todas estas recomendaciones pueden tener un impacto positivo sobre la salud ruminal y el desempeño de los animales.

Cáscara Banano Cáscara Piña Cáscara Yuca Pulpa Piña 18 11 8 11 27 17 12 17 Peso vivo aproximado kg 425 575 Subproducto
Nutrición e instalaciones 10 Inicio

mICOTOXINAS

Las micotoxinas son toxinas naturales producidas por algunas especies de hongos (mohos), y pueden estar presentes en los alimentos. Los mohos crecen en varios cultivos y alimentos, como cereales, sobre el material almacenado, generalmente en entornos cálidos y húmedos.

El crecimiento de los microorganismos Aspergillus y Fusarium, en presencia de humedad y temperatura puede generar una amplia variedad de metabolitos que reducen en primera instancia la palatabilidad y causar desbalances metabólicos (Rankin 2000).

Principales toxinas, riego y síntomas básicos

Toxina Riesgo Síntomas

• Rechazo de los alimentos, alimento con olor característico a moho.

Aflatoxina

Zearalenona

Se transfiere a la leche

• Reducción del consumo, menor producción de leche y ganancia de peso, lesiones hepáticas con congestión y sangrado, hígado graso, fertilidad reducida, hemorragias (tracto gastrointestinal, Aflatoxina B1 a Aflatoxina M1 en leche).

• Ingesta de materia seca disminuida, trastornos digestivos (vómito, diarrea, rechazo del alimento);

Problemas reproductivos

• Menor ganancia de peso y producción de leche; inmunidad deficiente, especialmente aumento del recuento de células somáticas.

• Disminución de la digestión de fibra en la dieta y del índice acetato: propionato.

• DON también puede reducir la actividad fagocítica y neutrofílica en consecuencia, generar síntomas serios cuando se presenta mastitis y cojera.

Desordenes digestivos

• Reducción de consumo de alimento Ingesta de materia seca disminuida, trastornos digestivos (vómito, diarrea, rechazo del alimento).

• Menor ganancia de peso y producción de leche; inmunidad deficiente, especialmente aumento, del recuento de células somáticas.

• Disminución de la digestión de fibra en la dieta y del índice, acetato: propionato.

DON también puede reducir la actividad fagocítica y neutrofílica y, en consecuencia, generar síntomas serios cuando se presenta.

• Reducción de consumo de alimento.

Desordenes digestivos

Nutrición e instalaciones
• Reducción del consumo y de la ganancia de peso; inmunosupresión, pobre salud ruminal e intestinal, aumento del índice esfiganina / esfingosina. DON Fumonicina 11 Inicio

Principales subproductos y alimentos con toxinas asociadas

Subproductos / alimentos Toxina asociada

Cebada

“Cama” en los pastos

Yuca y cáscara de yuca

Ensilajes

Silopacas

Pacas

Aflatoxina / Zearalenona

Zearalenona

Aflatoxina / Zearalenona

Aflatoxina / Zearalenona

Aflatoxina / Zearalenona

Aflatoxina / Zearalenona

Recomendaciones generales sobre el uso de secuestrantes de micotoxinas

Secuestrante Dosis

Toxisorb

Elitox 15-20 g/cabeza/día 10 g/cabeza/día

Nutrición e instalaciones 12 Inicio

Plantas tóxicas

Planta Cuadro de Intoxicación Tratamiento Control

Viborana (Asclepias curassavica) Cinco Negritos (Lantana camara)

Zorrillo (Cestrum glanduliferum)

Escoba morada (Melochia pyramidata)

• Causa pérdida de apetito, debilidad, angustia, fiebre, diarrea, animales indiferentes, torpes, pérdidas de control muscular, tambaleo, rechinar de dientes, salivación excesiva, dilatación de pupilas, caída al suelo, convulsiones, muerte, abortos, cegueras. Afecta sistema respiratorio y cardiaco.

• Fotosensibilización primaria: Dermatitis, inflamación y úlceras de las membranas mucosas (boca, nasales y oculares). Pérdida de apetito, debilidad, escurrimiento de saliva (sialorrea), pérdida de peso, ictericia, anorexia.

• Fotosensibilización secundaria o hepatógena: Anorexia, disminución o pérdida del movimiento ruminal, fallas renales, ictericia, inquietud, búsqueda de sombra, orina color marrón, heces en pequeñas cantidades diarreicas y negras; muerte. La piel blanca o sin pigmentación es más sensible, se tornan amarillas, hinchadas, duras, agrietadas y adoloridas.

• Los animales presentan depresión, agresividad, dolor abdominal, espuma en boca y nariz, fiebre, constipación, dificultad para respirar, coma terminal y la muerte toma lugar dentro de las 24 horas.

• La presentación de los síntomas inicia 8 días después del consumo de la planta y se caracteriza por una parálisis del tres posterior (de sus patas traseras) por falta de contracción muscular, incoordinación, ataxia, postración y muerte. Provoca parálisis del intestino, causando timpanismo, por otro lado, puede haber fotofobia causando ceguera.

Nitratos y Nitritos

• Otra causa bastante común y que está relacionada a los factores extrínsecos de la planta es la intoxicación por Nitratos y nitritos la cual ocurre por conversión del nitrato a nitrito. El nitrito es absorbido a la sangre convirtiendo la hemoglobina a metahemoglobina la cual es incapaz de transportar el oxígeno. En consecuencia, la capacidad de la sangre para transportar oxígeno se reduce drásticamente y ocurre asfixia (Muñoz et al. 2012). En nuestro país dicha situación ocurre sobre todo con los pastos Tanner y brachipará a inicios del invierno ya que acumulan gran cantidad de nitratos en los tejidos (Bernal y Espinosa, 2003). Sintomatología: cianosis, metahemoglobinemia, disnea, debilidad, mayor frecuencia de orina (poliuria), hinchazón, exoftalmia (ojos protruidos), congestión de la conjuntiva ocular, sialorrea, meteorismo, diarrea, postración y coma.

• Aceite alcanforado 20% como cardiotónico.

• Tratamiento sintomático.

• Tratamiento específico no hay.

• Protector y estimulante de la función hepática.

• Utilización de carbón activado.

• Sombra y humectantes para la piel.

• Protector y estimulante de la función hepática.

• Tratamiento sintomático.

• Tratamiento específico no existe, pero puede ayudar aplicando dexametasona, vitaminas y minerales a los animales enfermos, suplementos a base de Potasio, Calcio, Fósforo y Magnesio

• Administración endovenosa de azul de metileno, protectores hepáticos.

Ranchero, Trueno, Plenum, Tordon, Navajo. Plenum, Glifosato, Ranchero

Ranchero, Trueno, Plenum, Tordon, Navajo. Ametrina y Gallo. Evitar aplicaciones nitrogenadas, realizar aplicaciones de molibdeno y hierro, incorporación de microorganismos para una descomposición más rápida de la materia orgánica del suelo y alargar rotaciones.

Nutrición e instalaciones
13 Inicio

Asclepias curassavica (Viborana)

Recomendaciones

1. Evitar el sobrepastoreo en los potreros.

2. Brindar alimentación suplementaria en época de sequía.

3. Combatir las malas hierbas peligrosas antes que produzcan semillas. Puede ser manual o mediante el uso de herbicidas, sin exceder las dosis recomendadas.

4. No introducir animales hambrientos a repastos infestados de malas hierbas.

5. No amarrar o encerrar animales donde puedan alcanzar plantas venenosas.

Lantana camara (Cinco negritos)

6. No exceder la fertilización nitrogenada en repastos o especies forrajeras.

Cestrum glanduliferum (Zorrillo) Brachiaria radicans (Tanner) Melochia pyramidata (Escoba Morada)

Nutrición e instalaciones 14 Inicio

Evaluación de la Condición Corporal

Para la determinación del puntaje deben evaluarse zonas anatómicas específicas del área pélvica y lumbar como: las costillas cortas, el ligamento sacro, el hueso de la cadera, los ligamentos de la fosa y los isquiones.

Pelvis Isquion

Costillas Ligamento sacro

Costillas cortas

Pasos para evaluar la condición corporal (Elanco Animal Health; 1997)

Evaluar ángulo entre punto de la cadera y el isquion (región glútea).

Si la línea proyectada tiene forma de V, entonces el EC es ≤ 3,0.

Si se muestra el hueso de la cadera redonda CC=3.

Si el hueso de la cadera se muestra angular CC ≤ 2.75.

Si la punta de la región glútea (isquion) es angular CC <2.75. Si se palpa grasa subcutánea en esa región =2.5.

Si no hay grasa presente CC<2.5.Si se observa la mitad de las costillas cortas CC=2.25, si se observa ¾ de las costillas cortas CC=2.

1 2 3 4 5
Nutrición e instalaciones 15 Inicio

Si al evaluar ángulo entre punto de la cadera y el isquion (región glútea) la línea proyectada tiene forma de U, entonces la CC ≥ 3.25 .

Si se muestran los ligamentos sacros y de la cola, CC = 3.25.

Si se muestran los ligamentos sacros, y ligeramente visible el ligamento de la cola, CC = 3.5.

Si el ligamento sacro es ligeramente visible y no se muestran los ligamentos sacros, CC = 3.75.

Si no se muestra ningún ligamento CC ≥ 4. Si el anca es redondeada CC > 4.0. Si las puntas de las apófisis transversas se ven levemente CC = 4.25. Si las puntas de las apófisis transversas están ocultas CC= 4.5. Si los huesos de la cadera casi no se ven CC= 4.75. Si todas las prominencias óseas son bien redondeadas CC = 5.0.

En la figura se observa el comportamiento ideal de la Evaluación Corporal (EC) a lo largo de la lactancia. Esto es sumamente importante para evitar problemas metabólicos, reproductivos y productivos en la vaca.

1 2 3 4 5
Figura 1. Evolución del consumo de materia seca, producción de leche y reservas corporales en el ciclo de lactancia. (Bargo & Grijera, 2005).
Nutrición e instalaciones 16 Inicio

instalaciones de ganado adulto

Hay muchos tipos de diseño de instalaciones para el hato adulto (sea estabulación o semi-estabulación), sin embargo, cualquiera de estos diseños debe contemplar los siguientes lineamientos para asegurar el bienestar animal:

Caminata de vacas: Las vacas deben movilizarse libremente de área a área, poder dar vuelta con facilidad y entrar y salir de estas con ningún riesgo a sufrimiento o posible dolor.

Áreas en común (áreas de espera y comederos): Se le debe otorgar a los animales el espacio suficiente y ambiente adecuado para que estos socialicen y eviten la mínima competencia por espacio, además de condiciones limpias y lo más seco posible. Al menos 6-8 m2 por animal semi-estabulado en galerón o de 9-11 m2 en sistemas de invernadero o estabulación completa.

Echaderos: Las vacas deben tener un espacio seco, limpio y confortable para descansar echadas. Sea el material que se use: aserrín, granza o hule, este debe ofrecer estabilidad a la hora de levantarse o echarse por tiempos prolongados.

Pisos: Las vacas deben caminar con confianza en pisos no resbaladizos o antideslizantes razonablemente limpios y secos. Estos deben ser construidos en cemento, con un desnivel del 5% y se deben diseñar para que favorezcan a la limpieza y el drenaje.

Comederos y bebederos: Las vacas necesitan acceso a una alimentación adecuada y espacio suficiente de comederos y bebederos tomando en consideración anchura y altura del animal. Deben permanecer limpios.

Condiciones de ventilación correcta: Las vacas necesitan de un suministro de buena calidad de aire a través de un sistema de ventilación correcto. El sistema de ventilación debe contemplar monitores en techos, altura del techo a los animales (mínimo 6.5 m de la cruz del animal) y ventiladores con sistema de agua (si se requirieran).

Luminosidad: los animales requieren de una distribución uniforme en todas las áreas de las instalaciones. Además, que favorece al personal en aspectos de limpieza y detección de celos.

Sombra: Las vacas necesitan de instalaciones que proveen sombra a toda hora para reducir el impacto del estrés calórico, para esto se debe contemplar la ubicación de la infraestructura y del posicionamiento del techo de este a oeste.

Modificado de Dairy Cow Housing NZ (2019).

Nutrición e instalaciones
17 Inicio

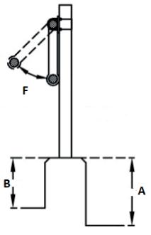
Dimensión de cepos

El espacio de cepo por animal va a repercutir en facilidad de manejo del animal, menor probabilidad de golpes y menor tiempo de consumo de los alimentos en canoa. Cada raza tiene un tamaño específico de acuerdo con su peso o etapa fisiológica, puede indagar la información específicamente en las respectivas asociaciones (Dairy New Zealand, 2015).

Raza

Altura del piso al inicio del cepo (A)

Profundidad comedero (B)

Anchura entre cepo y cepo (C)

Abertura (D)

Dimensiones de echaderos

Ancho del puesto debe ser de 112 a 127 cm, dependiendo de la raza y peso del animal. El localizador de pecho debe tener 8 cm de altura (Universidad de Wisconsin-Madison, 2020)

Altura de tubo del cepo (E) (Universidad de Wisconsin-Madison, 2020).

Productos AV para echaderos y pisos antideslizantes:

Angulosidad de cepo (F)

53-58 cm 46-48 cm 37-42 cm 35-40 cm 65-71 cm 61-68 cm 19-22 cm 18-21 cm 72-89 cm 70-84 cm 10° 10°
Holstein Jersey
A A A B B C D E F Nutrición e instalaciones 18 Inicio

MANEJO de los bebederos y comederos

De los bebederos

“Agua limpia y fresca, siempre disponible”

De la cantidad de bebederos y de la estructura del bebedero requerida:

• Cuando los animales estén agrupados tener al menos 2 puntos de acceso al agua siempre, para evitar que animales dominantes bloqueen el acceso a un único punto.

• Se recomienda que al menos el 10 % de los animales en el grupo tengan acceso al agua al mismo momento.

• En sitios de agrupación de animales la recomendación de espacio disponible por vaca es de 60 a 90 cm de perímetro del tanque por cada 10 a 15 vacas.

•Los bebederos ubicados en los pasillos post ordeño deben tener de 30 a 60 cm de espacio lineal por vaca, y ser dimensionados para el número de animales que entran en conjunto a la sala de ordeño.

El bebedero debe tener:

• Tener previstas de salida de agua para facilidad de limpieza y eliminación de sedimentos.

• Al menos 7 cm de profundidad de agua para evitar ingesta de aire.

• La superficie del agua de los abrevaderos debe estar de 5 a 10 cm por debajo del borde superior.

• La altura del bebedero deberá ser de 60 a 80 cm de altura para vacas Holstein (de 5 a 7 cm menos para vacas Jersey).

De la ubicación de los bebederos:

• Los bebederos no deben mezclarse con las líneas de alimentación, ya que esto disminuye el espacio efectivo y puede generar contaminación del agua.

• Las vacas que toman agua no deben interferir con el espacio para caminar de otros animales.

• Se recomienda que los animales puedan tomar agua sin restricciones en un perímetro de al menos 10 m alrededor del animal

• En potreros, los bebederos deben de estar ubicados a la sombra.

• En condición de espacios de alimentación sin sujeción de los animales, los bebederos deberán estar localizados a no más de 15 m de distancia de los espacios de alimentación, ya que los animales consumen alimento y beben agua alternadamente.

De la limpieza:

• De fácil vaciado y de fácil limpieza, con una frecuencia de al menos 1 vez por semana.

• Los bebederos deben vaciarse y limpiarse (restregarse) con una solución de cloro de baja concentración (1 taza doméstica por cada 5 galones de agua) previo al nuevo llenado inicial.

Del funcionamiento:

• Aquellos recipientes con boyas y dispositivos de activación, se debe asegurar que funcionen apropiadamente, y que todos los animales puedan acceder al agua.

• El agua debe ser rápidamente abastecida acorde con la ingesta por parte del animal, al menos 30 L / min de caudal con boya.

Nutrición e instalaciones 19 Inicio

De los comederos De la ubicación de las zonas de alimentación:

• Deben de estar cubiertas de la lluvia y radiación solar directa.

De las dimensiones del comedero:

• Pennsylvania State University (1995), recomienda las siguientes dimensiones de altura para la estructura de los comederos:

• Se sugiere al menos 75 - 80 cm por animal cuando se disponen de canoas de alimentación.

• Para el uso de cepos, se recomienda de 60 a 70 cm de longitud del comedero. El espacio específico (mínimo sugerido) se puede calcular con la siguiente ecuación:

Ancho de pecho (cm) x 1.15 (para vacas no gestantes) * Ancho de pecho (cm) x 1.25 (para vacas gestantes) *

* Para ambos casos se sugiere aumentar un 10 % para animales mayores a 650 kg.

• Entre la barra inferior y la barra superior del cepo debe existir 90 cm de altura. La barra superior debe estar colocada al 85 % de la altura a la cruz del animal; y 20 a 25 cm más adelantada que la barra inferior. La inclinación puede ser de 10 a 20 °.

• Las dimensiones sugeridas para estructuras en comederos de la altura a la garganta y al cuello Bickert, Willliam G. (1990) mencionado en (Pennsylvania State University, 1995) plantea:

De la limpieza y el lavado:

• Los comederos deben estar limpios, en buen estado y sobre una base firme y con drenaje.

6 a 8 9 a 12 13 a 15 16 a 24 Vaca adulta 163 a 222 222 a 295 295 a 354 354 a 545 545 a 680 35 40 43 48 53 71 76 86 104 122 Edad (meses) Peso (kg) Altura de garganta (cm) Riel al cuello (cm)
Nutrición e instalaciones 20 Inicio

mANEJO

Etología Bovina

La etología bovina estudia el comportamiento animal, específicamente su conducta.

El comportamiento animal está determinado por la interacción de influencias genéticas y ambientales:

El comportamiento instintivo está determinado genéticamente y son poco afectados por la experiencia o el aprendizaje. El comportamiento aprendido depende de las experiencias vividas por cada animal. Por este motivo, un adecuado manejo desde los primeros días de nacido es clave para el aprendizaje y posterior comportamiento de adultos.

Para comprender la etología, es necesario saber sobre el estímulo y la conducta.

Estimulo: factor que produce una respuesta del organismo al medio ambiente. Estímulos externos: un golpe, olores, factores que estimulan el gusto, el olfato y el tacto. Estímulos internos: dolor abdominal, cólicos, etc.

La conducta: es la forma de comportarse de un individuo a través de sensaciones y reflejos, y de ellos nacen acciones voluntarias.

Tendencia gregaria

Los bovinos tienen una tendencia gregaria o convivencia en grupos, definida a través de un orden jerárquico. El orden jerárquico del grupo está dado por la edad, el tamaño y la aptitud del animal para la lucha. Al introducir nuevos integrantes a un grupo se debe considerar un periodo de acomodamiento que no afecte su rendimiento. Se organizan socialmente por niveles de dominancia y jerarquías, por lo que la mezcla de grupos diferentes altera dicho orden y puede generar comportamientos de aceptación, rechazo con agresión o separación dentro de los grupos. La escasez de alimento ocasiona subdivisión del grupo.

Aspectos para considerar sobre el comportamiento de los bovinos:

• Toman alimento en 4 – 5 periodo al día, principalmente en horas más frescas, equivalente a 6 horas diarias para alimentarse.

• Descansan 14 horas, de las cuales 10 son para rumiar y las otras para dormir o mantenerse echadas.

• Utilizan 2 horas para socializar y otras 2 en traslados u ordeño.

• Necesitan consumir alrededor del 10% de su peso vivo en forraje verde.

• Regurgitan entre 300 y 400 bolos por día y cada uno requiere de 50 a 70 masticaciones.

• El consumo de agua depende del tipo de forraje que consumen, temperatura ambiental, producción de leche, topografía del lugar, etapa fisiológica del animal.

• Por lo general, defecan entre 12 – 18 veces al día y emiten orina entre 8 – 10 veces al día, dependiendo de la alimentación y otros factores.

22 manejo Inicio
Vacas interactuando.

Aspectos para evitar el miedo y estrés

• Los bovinos tienden a asustarse o darse a la fuga por la presencia de personas o animales desconocidos, objetos extraños, desniveles bruscos en las superficies de tránsito, ruidos de diversa índole ocasionados dentro o fuera de su ámbito.

• El hacinamiento les produce un malestar e incomodidad, deben contar con suficiente espacio propio para su categoría, tamaño y desarrollo corporal.

• Poseen una audición muy aguda y sensible a sonidos de alta frecuencia, por lo que debe evitarse la exposición a estímulos acústicos disonantes o ajenos a su entorno.

• Poseen una visión panorámica de aproximadamente 330º, con una zona binocular frontal y zonas monoculares a los lados; y un punto ciego justo detrás de ella.

Comportamiento reproductivo:

• Las vacas tienen un celo de aproximadamente 12 horas con una fase activa (intentos de montar, olfateos, topeteos) y una fase pasiva (dejarse montar, dejarse oler o lamer).

• Su olfato refinado les permite la distinción de estados fisiológicos entre individuos (sexualidad).

• El flehmen es una conducta habitual que consiste en el movimiento de retracción de los labios, lo cual facilita la transferencia de feromonas al órgano vomeronasal.

• Vacas antes del parto se apartan de la manada, posterior a éste, lame la cría para su secado y como masaje.

• La cría se pone de pie entre 2-3 horas después del parto y toma leche entre las 2 - 5 horas posterior al parto.

• La vaca reconoce su cría por el olor.

manejo
23 Inicio
Vaca celo.

1 2 3 4 5

Genética, bienestar animal y sostenibilidad

El mejoramiento genético busca el bienestar animal y la sostenibilidad lechera, a través de un mejoramiento paulatino, pero constante, de las principales características como: fertilidad, longevidad, resistencia a enfermedades y adaptabilidad.

Estrategias de manejo genético al alcance del productor:

Uso de razas (o cruces) adecuados

En función de la zona y el nivel de manejo (sistema de explotación) de la finca.

Control de la consanguinidad

Requiere implementación de registros genealógicos precisos y confiables, y uso de software para cálculo de índices de consanguinidad y para planeamiento (optimización) de apareamientos, sobre todo en hatos grandes, procurando mantener niveles menores al 3%.

Entre los rasgos funcionales que harán posible mayor longevidad a través de la salud de los animales son:

- Salud: vida productiva, salud de ubre (células somáticas).

- Fertilidad: Tasa de concepción, habilidad de parto.

Incorporar rasgos FUNCIONALES en la selección de toros Establecer registros completos y confiables

- Conformación: especialmente índices de patas y ubres para mejor movilidad y reducción de problemas de cojeras y mastitis. Si el sistema es de pastoreo, el tamaño de los animales debe limitarse.

Para la asignación de toros y para la selección de hembras de manera interna en la finca. Si cuenta con Vampp, la UNA en su programa de Evaluación Genética de Ganado Lechero de Costa Rica (http://www.medvet.una.ac.cr/posgrado/gen/), realiza dos veces al año un cálculo de los índices de selección que son de gran valor para el mejoramiento genético de la finca.

Mejorar el desempeño reproductivo y la crianza

Le permitirá reducir el intervalo generacional, es decir, el tiempo que tardan los nuevos animales de mayor valor genético, en reemplazar a los actuales. Aumenta también la intensidad de selección de hembras. Si el desempeño en estos aspectos es pobre es imposible descartar los animales con rendimientos menores.

24 manejo Inicio

estrés térmico

Prácticamente en el 100% de los establecimientos lecheros del mundo los animales estarán fuera de su zona de confort térmico en algún momento durante el año. Por razones de bienestar animal y rendimiento productivo y económico, es recomendable implementar medidas en la finca para reducir estos lapsos de tiempo.

El estrés por calor se produce cuando las condiciones ambientales no permiten la liberación de calor producido por el animal de una manera eficiente.

Factores tanto ambientales asociados al estrés calórico

• Temperatura

• Humedad

• Radiación solar

• Velocidad del viento

• Precipitación

Factores de animal asociados al estrés calórico

• Nivel de producción

• Número de lactancias

• Composición genética

• Tipo de alimentación

Para manejar el estrés térmico, el enfoque más efectivo es aquel que involucre todos los aspectos del ambiente, los animales y el manejo propio de la explotación.

Los principales signos para reconocer el estrés calórico en el ganado son:

• Frecuencia respiratoria y el jadeo

Cuando se excede las 60 respiraciones por minuto en el ganado adulto se está en presencia de estrés calórico moderado, si la frecuencia sigue aumentando y aparece el jadeo, el nivel de estrés es severo.

• Temperatura rectal

Si se cuenta con un termómetro se puede diagnosticar el estrés calórico cuando más del 80% de los animales está por sobre 39.2°C en su temperatura rectal.

• Índice de temperatura y humedad (ITH)

A nivel práctico, una forma de evaluar el estrés térmico es el uso del índice de temperatura y humedad (ITH). La combinación de estas dos variables (Humedad-Temperatura) varía mucho la capacidad de intercambio térmico de los animales con el ambiente.

A nivel de la Cooperativa, esta medición está disponible para todos los productores con un nivel bastante aceptable de precisión en la app Asociados en el apartado de clima, donde el productor puede acceder a la información actual, diaria y proyectada a 3 días, con la indicación de grado de estrés térmico de acuerdo a los niveles aceptados en la literatura.

Instalaciones con ventilador.
25 manejo Inicio

Estrategia Objetivo Considerar

Sombra

Genética

Proteger de radiación solar directa. Adaptabilidad.

Ajustar horarios de ordeño

Ventilación

Aspersión

Alimentación

Evitar aglomeración enhoras calientes.

Sensación térmica, calidad del aire.

Reducir temperatura corporal en combinación con ventilación.

Reducir calor endógeno.

Natural: en cercas vivas incrementar manejar densidad y altura del dosel, en sesteos manejar área por vaca y drenaje.

Artificial: manejar altura de techos dependiendo de temperatura promedio.

Utilizar razas o cruces con mayor adaptación posible a condiciones de la finca. Conocer media de temperatura y humedad de la finca.

Espacio por vaca, agua disponible.

Corrientes naturales de aire, cantidad y potencia de ventiladores.

Ajustar volumen de agua por animal, requiere ventilación forzada.

Realizar ajuste de dieta.

Barreras

rompevientos

Resguardo de animales

Alimentación

Mitigar impacto directo de corrientes de viento y lluvia.

Mitigar impacto directo de corrientes de viento y lluvia.

Asegurar consumos adecuados.

Cuidar densidad, tamaño y especies de árboles.

Al menos animales más susceptibles (baja condición corporal, enfermos, jóvenes).

Realizar ajuste de dieta y suplementación.

Estrés por calor Estrés por frío 26 manejo Inicio

diagrama de vaca sana y vaca enferma

VACA SANA

1. Ojos brillantes sin descarga ocular.

2. Actitud activa y alerta.

3. Dorso derecho.

4. Condición corporal 2.5-3.

5. Rumia de 6-10 horas al día.

6. Buen llenado ruminal.

7. Pelo brillante y sin lesiones.

8. Temperatura corporal 38-39°.

9. Cola limpia sin presencia de rastros de fluidos anormales.

10. Pezones sanos, sin callosidades.

11. Ubre sin edema.

12. Heces con anillos concéntricos.

13. Pezuñas sanas, peso bien distribuido en las 4 extremidades.

14. Articulaciones sin signos de inflamación ni falta de pelo.

15. Respiración normal de 10-30 veces por minuto, sin tos.

16. Sin salivación excesiva ni jadeo.

VACA ENFERMA

1. Deshidratación, ojos secos, hundidos o con descarga ocular.

2. Actitud decaída y depresiva.

3. Dorso arqueado o postura anormal.

4. Condición corporal menor de 2.5.

5. Mal llenado ruminal o abdomen anormal.

6. Pelo seco o hirsuto.

7. Oreja caídas y frías.

8. Pérdida de apetito.

9. Descarga uterina anormal.

10. Diarrea.

11. Temperatura corporal mayor o menor de 38-39°.

12. Pezones con callosidades, agrietados o con lesiones.

13. Dificultad respiratoria o respiración anormal.

14. Disminución abrupta en la producción de leche.

15. Ubre anormal, con edema y dolor.

27 manejo Inicio

el parto bovino

Es indispensable tener preparados y limpios los materiales para atender el parto y al neonato. Se debe ser paciente y saber esperar, pero también tener la capacidad de decisión para intervenir en caso de que no se cumplan los plazos normales del parto. Es importante contar con todos los datos del animal: edad, número de parto, días de gestación, raza de la vaca y del toro, enfermedades previas, etc.

Instalaciones: las vacas pueden parir en un box individual (sin perder de vista a las demás vacas para que no constituya una fuente de estrés) o en un corral de maternidad bien encamado, con el resto del grupo.

Puntos básicos:

• Superficie bajo la cama debe drenar bien. Una posibilidad es colocar de 30 a 45 cm de arena y una cama profunda de paja limpia, seca y bien mantenida sobre este lecho.

• Proporcionar una superficie de descanso de 9 a 25 m2 por vaca. Todos los días debe añadirse material de cama, a razón de 10-12 kg por vaca por día. La cama debe renovarse completamente cada 3 ó 4 semanas.

• Disponer de un cepo de inmovilización para poder efectuar tratamientos

• Para el ordeño del calostro se puede utilizar una ordeñadora portátil para evitar llevar a la vaca a sala de ordeño.

Signos del Parto

• Edema vulvar, perineal o mamario.

• Relajación de la musculatura pélvica y de la sínfisis púbica, para que el canal de parto sea más blando y transitable para el feto.

• Descenso del feto, da lugar a una imagen del abdomen en forma de “pera”.

• Dilatación de la cisterna del pezón. Se aprecia mejor en hembras multíparas. Indica la proximidad del parto en menos de 12 horas.

¿Cómo detectar una distocia?

• Si el saco de amniótico ha estado visible por dos horas y no se observa ningún progreso.

• Si la vaca lo ha estado intentando por más de 30 minutos sin ningún éxito.

• Si la vaca ha desistido de intentarlo después de un periodo 15 a 20 minutos (los periodos de descanso normalmente no deben ser mayores a 5 a 10 minutos).

• Si la vaca o cría están mostrando signos de estrés o fatiga; la lengua de la cría hinchada, secreciones amarillentas del feto (meconio) o sangrado severo de la vaca por el recto o si se sospecha que la cría está en una estática anormal.

28 manejo Inicio

¿Cómo corregir una distocia?

• Manipulación fetal: se realiza una palpación vaginal para detectar la posición anormal y proceder a corregirla de la siguiente manera. Dependiendo de la posición del feto y de la experiencia del personal lo más recomendable es llamar al/la médico veterinario(a).

• Las cadenas o sogas obstétricas deben colocarse debajo de la articulación del menudiIlo.

• La tracción, de preferencia, la deben efectuar 2 ó 3 personas. Una vez corregida la posición anormal del feto se puede utilizar una barra repulsora para partos.

• Proteger con las palmas de las manos los labios de vulva para evitar que se desgarre.

• La dirección de la tracción debe ser paralela a la columna vertebral de la madre hasta que haya salido la cabeza del producto, en ese momento la dirección se modifica en un ángulo de 45 grados hacia los miembros posteriores de la parturienta.

• Si el conducto obstétrico está seco, debe lubricarse.

• Durante la tracción de los miembros, siempre se debe adelantar ligeramente uno más que el otro para facilitar la salida del feto. Y realizarse simultánea a las contracciones uterinas.

• Fetotomía o Cesárea: Debe ser realizada por un/una médico veterinario(a).

29 manejo Inicio
Vaca en parto.

Secado y Parto

Protocolo de Secado

¿Qué se debe hacer antes del Secado?

• Disminuir la cantidad de concentrado, dos semanas antes del secado.

• Reducir la producción de leche al menos a 15 kg.

• Enviar muestra al laboratorio 1 semana antes del secado para el análisis de células somáticas.

• Realizar tratamiento de antibiótico sistémico y/o intramamario para disminuir el conteo de Células Somáticas en vacas con conteo mayores a 500 000cs/ml.

• Secado reforzado, aplicar a vacas con conteos entre 200 0000 y 500 000 cs/ml.

• Realizar la interrupción radical de ordeño, es decir, se realiza un último ordeño y se seca.

Manejo durante el secado

• Realizar prácticas higiénicas para prevenir la infección de la glándula mamaria al momento de realizar la rutina de secado. (Lavarse las manos y utilizar guantes de látex).

• Secar vacas sanas (Células Somáticas ≤ 200.000 CS/ml).

• Utilizar un producto que limpie y desinfecte los pezones (presellado), se dejar actuar de 25 a 30 segundos y luego se seca.

• Se desinfecta la punta de pezón con alcohol al 70% o toallas de alcohol para aplicación de intramamarios.

• Se aplica el antibiótico intramamario en todos los cuartos.

• Idealmente se debe elegir un antibiótico en función del perfil bacteriológico de la finca.

• Uso de sellador de barrera interno de pezón. (Ayuda a reducir las infecciones intramamarias, sobre todo en animales que no forman tapón de queratina).

• Aplicación de selladores de barrera externos. Se debe considerar el tiempo de adherencia del producto para evaluar el tiempo en que se debe realizar una nueva aplicación.

• Iniciar el protocolo de vacunación contra mastitis.

• Identificación (marca) de los animales.

• Anotar en el registro de los animales secos.

Manejos adicionales al momento del secado:

• Recorte funcional de pezuñas.

• Desparasitación.

30 manejo Inicio

Cuidados durante el periodo seco.

• Observar durante las dos primeras semanas una correcta involución de la ubre.

• Proporcionar ambiente limpio y seco.

• Suministrar correcta alimentación.

• Minimizar todo tipo de estrés.

• Maximizar confort de las vacas.

Parto

• Ordeñar las vacas dentro de las primeras 6 horas de paridas.

• Cumplir con los procesos de preparación y desinfección de pezones, antes del primer ordeño.

• Descarte de la leche durante 5 días después del parto (para suministrar a la ternera).

• Enviar al Laboratorio de Recibo y Recolección de Leche, muestras para el análisis de Células Somáticas y presencia de Inhibidores Bacterianos en leche antes de ordeñar la vaca al tanque.

• Hacer california para controlar el estado de la glándula mamaria.

• No enviar muestras de calostro al laboratorio.

Rutina de ordeño

La rutina de Ordeño inicia desde el momento en el que vamos a traer las vacas al potrero, de esto depende el éxito de mi rutina.

Debemos evitar factores estresantes como:

• Caminos en mal estado (barro, piedras, etc).

• Que la vaca no pueda caminar a su ritmo.

• Golpes y gritos.

• Perros.

Liberación de hormonas como el cortisol que reduce la inmunidad y aumenta la predisposición a padecer mastitis; y de la adrenalina bloquea la acción de la hormona oxitocina que nos interesa durante el proceso de la “bajada de la leche” y ordeño.

Estímulo

31 manejo Inicio

Bajada de leche

Vacas molestadas (estrés)

Rutina de Ordeño

Consiste en una serie de procedimientos que se realizan de manera repetitiva, constante y uniforme para extraer la leche de la vaca cuidando aspectos sanitarios y de calidad de leche, así como de bienestar animal.

Pasos para Incluir en una rutina de ordeño

Presellado: Sumergir el pezón en un producto desinfectante, control de mastitis ambientales, cubrir el 75% del pezón, 30 seg dejar actuar.

Despunte: Utilizar un tazón de fondo oscuro, de 4-6 chorros de cada pezón, herramienta para identificar Mastitis Clínica, mejora el flujo de leche y un menor conteo de CS.

Secado de pezones: limpie y sece con una toalla individual de papel, punta del pezón debe quedar limpia y seca, se debe remover el presellado con la suciedad y los gérmenes.

Colocación y ajuste de la unidad de ordeño: se deben colocar las unidades en un lapso de 60-90 seg desde que inicio la estimulación. Se debe revisar que este bien colocada la máquina y que pase flujo de leche por el colector.

Retiro de la unidad de ordeño: se debe cortar el vacío y luego se retira la máquina

Sellado: coloque de inmediato después de retirar el colector, cubrir ¾ del pezón

Desinfección de pezoneras: Evita el contagio de microrganismos contagiosos durante el ordeño, que se encuentran en la piel del pezón y la pezonera. Control de un 50-90% mastitis contagiosa.

32 manejo Inicio

GUÍA DE INSEMINACIÓN

Momento de la inseminación

La hembra bovina debe ser inseminada después del periodo de espera voluntario (45 días) y alrededor de las 10 horas del inicio del celo. Para esto es importante conocer las fases y síntomas del celo bovino.

Preparación del Semen

1. Preparar y verificar que el agua del termo para descongelar este a 35 – 37 ªC.

2. Levantar el canastillo del termo de nitrógeno, sin sobrepasar el cuello del termo.

3. Extraer rápidamente con la pinza la pajilla que contiene el semen del toro elegido depositándola de inmediato en el interior del termo de descongelado.

4. Tapar el termo de descongelación y controlar que transcurra 1 minuto.

5. Mientras tanto frotar la pistola de inseminación para que se caliente.

6. Transcurrido el tiempo de descongelación (1 minuto) extraer la pajilla del termo, secarla con papel, verificar la identidad del toro y la posición de la pajilla.

7. Llevar hacia atrás el disparador de la pistola de inseminación, aproximadamente unos 12 cm e introducir la pajilla.

8. Aplicar la funda y asegurarla firmemente con la arandela plástica.

9. Colocarse el guante protector.

10. Presionar suavemente el disparador hasta que aparezca una pequeña gota de semen, para garantizar que esta correctamente armado.

11. Lubricar el guante y proceder a la inseminación.

Inseminación

La Inseminación Artificial es una técnica sencilla, realizable por cualqui er personal idóneo previamente preparado.

1. Hacer notar la presencia del inseminador palmeando la grupa de la vaca. Luego se debe introducir la mano (enguantada) con los dedos juntos en forma de punta, en el recto.

2. Localizar el cuello del útero que al tacto se percibe como la consistencia de la cola.

3. Limpie el exterior de la vulva con papel absorbente e introduzca el aplicador apuntando hacia arriba, de modo que forme ángulo de 30º con la horizontal para evitar entrar en la uretra que se halla en la parte inferior de la vagina. Al mismo tiempo, empuje hacia delante el cuello, con el objeto de estirar algún pliegue vaginal.

4. Cuando la punta de la pistola llegue al cuello, con la mano forme una especie de embudo que utilizará para guiar el aplicador hacia el canal cervical.

5. Haga movimientos circulares suabes del cérvix sobre la pistola, para que este ingrese hasta el cuerpo del útero.

6. Como la pared del útero es bastante delgada, usted podrá notar el tacto la punta del aplicador, lentamente deposite el semen en el cuello del útero.

7. Una vez finalizada la descarga del semen, retire la pistola y saque la mano del recto.

33 manejo Inicio

Hay dos razones básicas por las cuales se debe marcar el ganado:

1- Para que el dueño identifique cuál le pertenece y controlar el robo.

2- Para controlar la producción y productividad de las reses, bien sea en ganancias de peso o producción lechera.

Las zonas ideales para marcar el ganado son:

1- En la pierna derecha: en la parte baja, por encima del corvejón o articulación situada en la parte inferior de la pierna.

2- En el cachete: con la letra S para determinar positivos a brucelosis y tuberculosis.

Ley 2247 de Marcas de Costa Rica

De acuerdo con la Ley 2247, una “Marca de Ganado” es cualquier figura, letras, números o combinaciones de estas que permitan distinguir el fierro propiedad de una persona física o jurídica frente a los de otros de su misma clase. Mientras que el “Fierro” es el instrumento que contiene la marca de ganado y que se graba en la piel de los animales en forma visible y permanente. Todo ganadero debe contar con su propio fierro con base a una marca de ganado debidamente inscrita a su nombre en el Registro Nacional, para identificar las cabezas de ganado que le pertenecen, en caso de extravío o robo, si bien es cierto, esta señal no va a servir como radar, mas es funcional a partir del momento en que se da con el animal para poder corroborar que pertenece a alguien en específico. Además de ser un requisito fundamental para transportar el ganado con fines de comercio u otros.

Actualmente se recomienda la utilización de la identificación electrónica debidamente registrada en el sistema SIRIGABB del SENASA.

Este procedimiento es el mismo tanto para marcar con fuego o con pasta de marcar.

PASO

1 2 3 4 5

Es bueno tener varios juegos de hierros del propietario para poder avanzar de una manera más ágil a la hora de marcar varios animales al mismo tiempo.

Al mandar hacer los hierros, tenga en cuenta que los números 4, 6, 8 y 9 deben ser con rasgos abiertos, es decir las líneas circulares amplias.

Al colocar los hierros al fuego, conserve un orden consecutivo.

Cuando el hierro está al rojo vivo, aplíquelo sobre la piel con pulso firme. Levántelo tan pronto comience a salir humo. Esta labor debe demorar máximo un segundo.

Aplicar spray cicatrizante sobre las marcas.

manejo
34 Inicio
guía de marcaje

guía de embarque y transporte de los animales

Tome decisiones de manera oportuna y eficiente. Priorice siempre el bienestar del animal.

¿QUÉ HACER?

Trate, sacrifique o practique eutanasia a los animales con rapidez. Separe del resto del rebaño a los animales enfermos, heridos o que no puedan caminar.

NO TRANSPORTE ANIMALES

Que no puedan caminar.

Hasta haber cumplido con todos los períodos correspondientes de retiro para leche y carne. Consulte los períodos de retiro en el Manual de prevención de residuos de medicamentos en la leche y la carne de FARM.

Con fracturas óseas en las miembros o lesiones en la columna. A los animales con fracturas recientes no relacionadas con la movilidad se los debe sacrificar y transportar a una planta de empaquetado o procesamiento.

Con el cuerpo en malas condiciones, por lo general con una puntuación de condición corporal inferior a 2:

Contrate una empresa con certificación de BQA para transporte de animales que conozca las expectativas de cuidado de los animales y les brinde transporte seguro y cómodo. Para certificarse, visite: www.bqa.org.

PUNTUACIÓN 1 PUNTUACIÓN 2

Con afecciones que pongan en riesgo su bienestar y hagan improbable el que superen la inspección previa a la matanza, incluidas, entre otras:

• Peso excesivamente bajo

• Cáncer de ojo

• Ceguera en ambos ojos

Retrase el transporte de los animales que se vean exhaustos o deshidratados. Las vacas que sufren estrés o agotamiento por calor puede que jadeen con la boca abierta y sean reacias a moverse. Transporte al animal cuando esté descansado, alimentado y rehidratado.

• Fiebre superior a los 103 °F

• Residuos de fármacos

• Peritonitis

• Heridas abiertas visibles

• Síntomas sospechosos en el sistema nervioso central

• Fracturas o cojera (puntuación superior a 2 según el sistema de puntuación de locomoción de FARM)

• Prolapsos no reducidos

• Vacas que estén pariendo o sea muy probable que paran durante el transporte

• Ubre distendida que cause dolor y problemas de desplazamiento

A las vacas que estén lactando, ordéñelas justo antes de transportarlas.

Si no está seguro de que un animal cumpla con las condiciones para transportarlo, consulte siempre a su veterinario. Y recuerde que nunca se tolera el maltrato, ni antes ni durante el transporte.

manejo
nationaldairyfarm.com | bqa.org
35 Inicio

guía de matadero

Introducción

Las malas prácticas en el uso de medicamentos veterinarios influyen en la calidad de la carne y en el precio final que el productor recibe por la res que comercializa.

Los cortes de mayor valor en el bovino son los cuartos traseros, la aplicación de inyectables a este nivel provoca fibrosis y abscesos, afectando el precio final por la canal. Alrededor de un 16% de los animales faenadas por la Cooperativa entre julio 2021 y marzo 2022 presentaron lesiones a este nivel.

Decomisos

Los mataderos se encuentran regidos por el SENASA y debe cumplir con las disposiciones del Código DIPOA-PG-003 (P), el cual tiene como objetivo final proteger la salud animal y la salud pública” En este Código se encuentran las implicaciones ante el hallazgo de anomalías en las inspecciones post mortem de las canales. Ante el hallazgo de abscesos o fibrosis se impone sobre la canal un decomiso parcial, que es considerado cuando solo se decomisan ciertas partes del animal sacrificado mientras que otras son objeto de aprobación o retención para una decisión posterior.

Calificación para pago

Los factores que se utilizan para calificar la canal son:

1. Conformación muscular.

2. Peso en canal.

3. Hallazgos de matadero.

Los decomisos parciales bajan en un grado la calificación de la canal y afecta por ende el pago al productor.

Canales en retención por decomiso parcial (abscesos en cuarto trasero).

Buenas prácticas veterinaria en el uso de inyecciones

Antes de inyectar, tome las siguientes precauciones:

• Consulte a un médico veterinario sobre el uso correcto de los medicamentos.

• Siempre que la etiqueta lo permita, administre los medicamentos por vía subcutánea.

• Inmovilice bien al animal.

• Evite introducir la aguja en la grupa o en el muslo.

• No inyecte en la piel sucia (desinfecte con alcohol).

• Elija una aguja del calibre apropiado según la viscosidad del producto.

• Inyecte un volumen pequeño en cada sitio: no superior a 10-15 ml (consulte la etiqueta).

• Utilice una aguja nueva para cada tratamiento.

• No utilice nunca una aguja doblada, sin punta o contaminada.

• Deseche siempre las agujas y jeringas usadas en un contenedor designado a tal efecto.

• Identifique claramente los animales ya tratados para evitar el descarte de la leche.

Anote en un registro permanente la fecha del tratamiento y el tiempo de retiro para leche y carne.

Fibrosis Absceso
36 manejo Inicio

Inyección intramuscular

• Todas las inyecciones intramusculares deben ser administradas en los músculos del cuello. Introduzca la aguja en el centro del triángulo delimitado por la columna vertebral (A), el ligamento del cuello (B) y el hueso de la escápula (C).

• Utilice una aguja de 2,5 a 4 cm (1 a 1,5 pulgadas) de longitud y calibre 16 a 20.

Inyección subcutánea

• Con el fin de minimizar un posible daño a la canal, inserte la aguja en un pliegue de piel del cuello por delante de la escápula.

• Utilice una aguja de 2,5 cm (1 pulgada) de longitud y calibre 16 a 20.

37 manejo Inicio

guía de sacrificio y disposición de cadáveres

En caso de que un animal amerite sacrificio el mismo se deberá hacerse evitando cualquier grado de sufrimiento.

Los animales caídos no ambulatorios (postrados y/o incapacidados de levantarse deben ser sacrificados de manera humanitaria, logrando un adecuado aturdimiento (mecánico) en finca, lo más práctico es el uso de arma de fuego y posterior degollado (se debe asegurar que esté debidamente aturdido, en caso de animales postrados se debe realizar corte de vena yugular y arterias carótidas) que permita una inducción rápida la muerte del animal. De igual manera previo al sacrificio de los animales se debe tener claro el lugar del sacrificio.

La posición óptima del instrumento cuando se utiliza para bovinos es el punto de intersección de dos líneas imaginarias trazadas desde detrás de los ojos hasta las yemas de los cuernos opuestos.

En caso de que los animales requieran una necropsia, ésta será realizada por el médico veterinario competente.

Es de suma importancia reportar al SENASA toda muerte cuya causa este relacionada o presente sintomatología nerviosa para descartar que la causa sea por rabia o encefalopatía espongiforme Bovina. También en caso de tener sospecha de enfermedades vesiculares (estomatitis Vesicular), para descartar Fiebre Aftosa.

Disposición de cadáveres

Las personas encargadas de manipular los cadáveres deberán guardar medidas de bioseguridad, tales como utilizar botas de hule, guantes, mascarillas, desinfectantes para la limpieza de los utensilios utilizados, para su protección y seguridad.

No dejar expuestos por tiempo prolongado, (máximo 12) horas animales muertos dentro o fuera de la finca y aplicar procedimientos según principios científicos de destrucción del agente patógeno que sean aceptables, evitando que animales carroñeros e insectos vectores tengan acceso a los cadáveres y puedan propagar enfermedades. Se debe llevar un registro completo de los diagnósticos y mortalidad de animales. (Ver Anexo bitácora: sacrificio y disposición de cadáveres).

Los métodos para eliminación de animales muertos se escogerán en función de las condiciones de la finca.

Algunos de los métodos son los siguientes:

1. Por medio de fosa de enterramiento la cual debe contar con medidas según el tamaño del animal. Se debe realizar una incisión a lo largo del abdomen para evitar la emanación de gases y lixiviados que contaminen el aire, la tierra y las aguas superficiales y subterráneas. Posteriormente colocar una capa de cal sobre los cadáveres y luego una capa de tierra de al menos 50 centímetros de espesor.

2. Incineración al aire libre por hoguera, seleccionando un sitio que prevenga las quemas accidentales.

3. No utilizar animales muertos para consumo de otros animales ni humanos.

4. Se utilizará para la disposición de los cadáveres una zona donde no haya caños, pozos o flujos de agua ya sean subterráneas o superficiales.

Fosa de cal.
38 manejo Inicio

ÁRBOL DE DECISIÓN DE EUTANASIA EN GANADO LECHERO

ÁRBOL DE DECISIÓN DE EUTANASIA EN GANADO LECHERO

Dolor: Sensación física desagradable que se produce con diversos grados de intensidad debido a una lesión, a una enfermedad o como consecuencia de un procedimiento médico o de manejo.

¿El animal está sintiendo dolor, sufriendo o tiene una lesión o enfermedad que lo debilite?

NO

Y

¿Sufre de alguna de las afecciones detalladas más abajo?

Trate al animal según el plan de salud del hato y según los consejos de su veterinario; lleve un registro de los tratamientos Reevalúe al animal con regularidad hasta que se haya recuperado

NO

Considere la posibilidad de que una persona con la capacitación adecuada lleve a cabo la eutanasia Y/O consulte lo antes posible a un veterinario

Considere la posibilidad de que una persona con la capacitación adecuada lleve a cabo la eutanasia

Y/O consulte lo antes posible a un veterinario

¿No puede caminar desde hace 24 horas o más?

Considere la posibilidad de que una persona con la capacitación adecuada lleve a cabo la eutanasia

Y/O consulte lo antes posible a un veterinario

¿Puede echarse en posición erguida por sí sola?

NO

un método principal, debe aplicar un método secundario para completar la eutanasia. 1 2 3

Disparo usando una arma de fuego apropiada, munición y en una parte anatómica que produzca una interrupción física de la actividad cerebral debido a la destrucción directa del tejido cerebral.

Perno percutor (PP) para inducir pérdida de conciencia en combinación con una medida complementaria, tal como desangrado, administración intravenosa de una solución saturada de cloruro de potasio o de sulfato de magnesio, o apuntillado/punción (incrementar la destrucción del tejido cerebral y de la médula espinal) para garantizar la muerte.

¿Comerá/beberá?

NO

Considere la posibilidad de que una persona con la capacitación adecuada lleve a cabo la eutanasia

Considere la posibilidad de que una persona con la capacitación adecuada lleve a cabo la eutanasia

39 manejo Inicio

SÍ SÍ NO SÍ NO
Y/O consulte lo antes posible a un veterinario SÍ
Y/O consulte lo antes posible a un veterinario
o controlar la dolencia?
¿Puede cubrir los costos de seguimiento o de manejo?
Trate al animal según el plan de salud del hato y según los consejos de su veterinario; lleve un registro de los tratamientos Reevalúe al animal con regularidad hasta que se haya recuperado
Si tiene planeado transportar al animal, consulte el póster “Consideraciones al Transportar Vacas Lecheras”.
Sustancia química barbitúrica intravenosa (IV) que administre un veterinario o agentes anestésicos intravenosos que dejen al animal inconsciente para poder llevar a cabo un segundo paso. Tenga en cuenta que estos animales no deben ser sacrificados.
Principales Métodos de Eutanasia Recomendados

Las condiciones o situaciones pueden llevar a que un animal se vea comprometido hasta tal punto que la eutanasia debe realizarse de inmediato:

Período prolongado de abstinencia de fármacos para que no queden residuos en el t ejido.

I NC A PA C I D A D DE :

• Mantenerse sentado en posición erguida con la cabeza en alto.

Mover o levantar las patas delanteras una vez que haya sido levantado con ayuda.

• o enfermedad en los miembros, las caderas o la columna. S

RIMI E N T O PR OV OCA D O PO R :

Uso del chuzo eléctrico

El chuzo eléctrico se ha convertido en una herramienta muy utilizada no solo en fincas, también en plantas de proceso para el manejo de los animales.

Un manejo agresivo de los animales puede generar una disminución en la producción láctea y menores ganancias de peso, además de mayores problemas de salud, puede estar relacionado al dolor y ansiedad que esto genera, lo cuál se traduce en estrés.

En caso de tener que utilizarlo se debe tomar en cuenta que su voltaje no debe superar los 50 voltios, según las regulaciones del USDA (Departamento de Agricultura de Estados Unidos); y además tampoco debe voltear o paralizar al animal. Este no se debe utilizar áreas muy sensibles como ojo, oído, nariz o ano.

Afecciones neoplásicas oculares avanzadas (por ejemplo, cáncer en el ojo).

• Edad o lesión que hagan que el transporte o la comercialización del animal sean demasiado peligrosos para este.

• Hinchazón crónica repetida

• ej., paratuberculosis o linfoma)

• Enfermedades con tratamiento de costo prohibitivo.

• Enfermedades con una amenaza importante. para la salud humana (p. ej., rabia).

• Adelgazamiento extremo y/o debilidad producto de una enfermedad.

• Dolor y sufrimiento que no pueda controlarse.

• Diagnóstico negativo o recuperación prevista prolongada.

• Hemorragia incontrolable de un vaso sanguíneo importante.

Contenido adaptado de: Asociación Estadounidense de Profesionales en Bovinos (AABP). 2019. Pautas para la eutanasia compasiva de ganado.

Áreas donde NO se debe usar el chuzo eléctrico

UF
OJOS NARIZ OÍDOS ANO 40 manejo Inicio

En las plantas de proceso se tienen varios parámetros que se podrían implementar en las fincas como indicadores del bienestar animal. En este miden el nivel de rendimiento del animal el cual se clasifica de la siguiente forma:

Nivel Corral de encierro y manga

Excelente

Aceptable Problema serio

Entrada al cajón de Insensibilización o al inmovilizador

Porcentaje de bovinos picaneados

Ninguno 5% o menos ---

5 % o menos 20% o menos ---

5 % o menos 25% o menos 50% o menos

Cuadro de nivel de rendimiento en el uso del chuzo en el ganado bovino. Fuente: Grandin, 1998.

Medidas a implementar para disminuir el uso del chuzo eléctrico en el ganado bovino

• Remover elementos de distracción.

• Sombras.

• Metales brillantes.

• Movimiento de personas.

• Iluminación adecuada.

• Reducir ruido.

• Mover grupos pequeños.

• No llenar corral más de 3/4 de su capacidad.

• Usar varillas con banderín, sin golpear al animal.

• Criar animales de fácil manejo, problema con animales muy temperamentales.

Instalaciones

• Áreas definidas para salvaguardar los animales según edad, sexo, etapa productiva.

• Evitar situaciones de hacinamiento.

• Diseño adecuado de las instalaciones donde se eviten lesiones y se facilite el manejo de estos.

• Contar con áreas adecuada para almacenamiento de alimento y agua.

• Anticipar potenciales situaciones de emergencia según la zona donde se encuentre ubicada la unidad productiva.

• Planta eléctrica.

adounidense de Profesionales en anasia compasiva de ganado

Colaboradores

• Se debe contar con un plan estratégico conocido por todos los colaboradores para casos de emergencia.

• Los colaboradores deben tener la capacidad de interpretar las señales de incomodidad, dolor o temor presentados por los animales.

• Evitar ruidos fuertes y el contacto con otros animales como perros o gatos.

• Se debe contar con equipo de trabajo y protección para los colaboradores que faciliten el trabajo con los animales.

41 manejo Inicio
plan de emergencia

veterinaria

Manejo del botiquín

vaca lactante vaca no lactante

Ubicación:

• Lugar fresco, limpio y seco.

• Tapado de la luz solar.

Antibióticos

Antiinflamatorios

Desparasitantes

Orden:

• Separar productos según su tipo, antibióticos, desinflamatorios, orales, otros tratamientos.

• Rotular la división de los productos.

• Mantener los antibióticos, inyectables e intramamarios bajo llave.

• En lo más alto, productos orales.

Sueros

• En la parte más baja productos de baño y venenos.

• Tener un recipiente designado a las agujas y otro a los envases vacíos.

• Revisar fechas de vencimiento y mantener rotación adecuada de productos.

IMM Vaca lactante IMM secado
Vit. y minerales
43 veterinaria Inicio
Antisépticos EJEMPLO DE BOTIQUÍN

•Vacunación enfermedades virales y respiratorias: IBR, DVB, BRSV, PI3, Leptospira

•Revacunación a los 21 días animales jóvenes (primovacunacion).

Agenda Sanitaria del Hato

Desparasitación en terneros.

• Vacunación contra enfermedades Clostridiales y ántrax.

• Revacunación a los 21 días animales jóvenes (primovacunacion).

Importante

• Nunca debemos vacunar animales que se encuentren enfermos, en períodos de estrés fuerte, animales rencos, con tratamientos con antiinflamatorios, animales con menos de 1 semana de haber ingresado a la finca.

Desparasitación en terneros.

Desparasitación interna de animales en pastoreo.

Desparasitación en terneros.

SETIEMBRE OCTUBRE NOVIEMBRE DICIEMBRE

•Desparasitaciones en terneros.

•Vacunación contra enfermedades.

•Clostridiales y ántrax.

•Revacunación a los 21 días animales jóvenes (primovacunación).

Desparasitación interna de animales en pastoreo.

• Previo a cualquier desparasitación se recomienda siempre realizar un examen coproparasitológico para poder utilizar los productos adecuados, con la finalidad de tener una mayor eficacia, pero además para evitar problemas de resistencia. En casos que no sea, posible se recomienda tener una adecuada rotación de productos e ingredientes activos.

• Se debe respetar siempre los periodos de retiros indicados en los desparasitantes elegidos.

• Mantener siempre la cadena de frio los productos que así lo necesitan.

• Las dosis de vacuna que sobran deben ser descartadas, no se deben guardar.

FEBRERO MARZO
JUNIO JULIO AGOSTO
ENERO
ABRIL MAYO
44 veterinaria Inicio

Retención Placentaria

Se denomina retención placentaria a la falla de la expulsión de las membranas fetales en la tercera fase del parto dentro de las 12 a 24 horas de expulsado el feto. Se considera que su causa es multifactorial y se divide en primaria y secundaria.

Primaria

Incapacidad de las vellosidades del cotiledón fetal para desprenderse de las criptas de la carúncula materna.

Secundaria

Dificultad mecánica para expulsar por completo la placenta.

Factores predisponentes

• Partos prematuros.

• Abortos.

• Partos gemelares.

• Distocias.

• Deficiencias de vitamina E y/o selenio, Cobre.

• Agentes infecciosos (ej: Diarrea Viral Bovina, Brucelosis, Leptospira, IBR).

• Inmunosupresión.

• Hipocalcemia.

• Cetosis.

• Desbalances en la relación energía/proteína de la dieta durante el período de vaca seca.

Diagnóstico

Observación de restos placentarios colgando de la vulva del animal o descargas vulvares malolientes.

Tratamiento

Objetivo: Producir su rápida separación para reducir la aparición de metritis, reducción en la producción de leche, reducir la ineficiencia reproductiva, y reducción de los costos veterinarios (Frias et al., 2010).

LA EXTRACCIÓN MANUAL DE LA PLACENTA

ES CONTRAINDICADA:

Uso de producto estimulante del miometrio en las primeras 48 horas:

• Decomoton (dosis única) • Oxitocina (cada 4 horas).

Aplicación de antibiótico parenteral dentro de las siguientes 24 horas port parto por 5 días. Ceftiofur (Citius, Cefajet, Excenel, Excede).

En presencia de fiebre, dolor e inapetencia aplicar antinflamatorios: Flunixin Meglumine (Flumexine, Vetafluxin, Megludyne) Meloxican (Vetocam).

Si entre las 48 y 72horas post parto, se mantiene la retención aplicar Prostaglandina, 2 ml IM.

Prevención de Retención placentaria

Manejo adecuado periodo seco:

• Revisión condición corporal al secado (mes a mes).

• Aplicar selenio 1 mes antes del parto y 10 días antes.

• Asegurar buena disponibilidad de agua y forraje (con baja concentración de potasio).

• No suspender el consumo de grano durante el periodo seco 1 kg / animal / día.

• Medición del pH urinario 7 días antes del parto 6.2 y 6.8.

• Revisión del aspecto animal (confort, tranquilidad).

• Suspender consumo de sal.

• 15 a 22 días antes del parto utilizar 3-4 kg de concentrado para etapa preparto.

• Inicio de lactancia con la misma cantidad de concentrado en el preparto.

veterinaria 45 Inicio

MASTITIS BOVINA

La mastitis se puede definir como la inflamación de la glándula mamaria, causada principalmente por infecciones de microorganismos entre los cuales las bacterias son los más frecuentes, sin embargo, también puede ser ocasionada por hongos, levaduras y algas. La inflamación es un proceso de respuesta del sistema inmune de la vaca con la finalidad de eliminar los microorganismos que causan la infección, neutralizar toxinas y auxiliar en el proceso de regeneración de los tejidos mamarios afectados.

La capacidad de resolución de la inflamación depende del balance entre tres principales factores: Capacidad respuesta inmune, severidad del microorganismo, y factores ambientales estresantes.

La mastitis puede ser clasificada de la siguiente manera:

Forma de manifestación

• Clínica

• Subclínica

Los factores de riesgo para la aparición de mastitis son situaciones o características individuales o del hato que tienen el potencial de aumentar la probabilidad de que una vaca desarrolle mastitis. Los factores de riesgo pueden ser a nivel del hato, de la vaca o del cuarto mamario.

Agente causal

Duración infección

• Ambiental

• Contagiosa

• Hiperaguda

• Aguda

• Crónica

VACA UBRE
Confort
Nutrición Higiene
Inmunidad
producción veterinaria 46 Inicio
AMBIENTE
FACTORES DE RIESGO Clima
Instalaciones
Agente causal Edad y # lactancias
Genética Hiperqueratosis Equipo de ordeño Nivel

Diagnóstico de la Mastitis

Mastitis Subclínica

California Mastitis Test (CMT)

Conteo Células Somáticas (CCS)

*La prueba CMT debe realizarse de manera semanal y la prueba CCS individual de manera mensual.

Mastitis Clínica

Clasificación

leve moderada severa veterinaria 47 Inicio

Prevención Tratamiento

• Higienización y desinfección de la sala de ordeño y áreas de descanso del animal.

• Protocolo de ordeño ordenado y eficiente.

• Asegurar la salud y el bienestar de las vacas durante el proceso de ordeño.

• Ordeñar vacas con los pezones limpios y secos (especial énfasis en la punta del pezón).

• Evitar la contaminación cruzada de patógenos entre vacas durante el ordeño.

• Evitar lesiones en los pezones por malas prácticas como el sobre ordeño o equipo mal calibrado.

• Detección temprana de nuevas infecciones (Mastitis Clínicas mediante el Despunte; Mastitis Subclínica mediante CMT y CCS).

• Personal Capacitado y entrenado.

• Aplicación de buenas prácticas pecuarias para la producción de leche.

• Protocolos de Tratamiento basados en datos generados de la propia finca.

• El mejor tratamiento para la mastitis es la prevención. Las pérdidas económicas asociadas a la mastitis afectan considerablemente la rentabilidad de la empresa lechera.

• Realizar un cultivo bacteriológico a la leche proveniente de una vaca con mastitis es importante para identificar el agente causal de la enfermedad, y poder dirigir de una mejor manera los tratamientos.

• El antibiograma permite conocer el perfil de sensibilidad y resistencia de la bacteria a los antibióticos, y con esto un uso racional y de los antibióticos en las granjas lecheras.

• Con base en la información generada en el tiempo de las bacterias identificadas en cultivos de mastitis, en conjunto con su asesor veterinario, se establece un protocolo de tratamientos para esta enfermedad y un plan de manejo para cada caso.

Constable, P.

Dos

D., Hinchcliff, K. W., Done, S. H & Grünberg, W. Veterinary Medicine: A textbook of the diseases of cattle, horses, sheep, pigs and goats. Veterinary Medicine. (Elsevier, 2017). Doi: 10.1016/B978-0-7020-5246-0.00008-5. Santos, M. V., Laranja, D.L..F. Controle da mastite e qualidade do leite – desafio e solucoes. Edición de los autores. Pirassununga-SP. Brasil 2019.
veterinaria 48 Inicio

vacunación de la Mastitis

Indicaciones: Como complemento al programa de salud de la glandula mamaria.

Inmunización de establos de vacas y novillas sanas, en explotaciones lecheras con problemas de mastitis recurrentes, para reducir la incidencia de mastitis subclínica y la incidencia y gravedad de los signos clínicos de la mastitis clínica causada por Staphylococcus aureus, coliformes y estafilococos coagulasa negativos.

Protocolo de secado: 3 dosis por vaca durante el periodo seco.

Ventajas Limitaciones ¿Cuándo usar?

Mayor protección

post-parto

Cubre el final del periodo seco

Cubre el principio de la lactación

Requiere manejo de diferentes grupos

Conteos somáticos controlados

Problemas en los primeros 130 de producción (Ej. E.coli)

Protocolo Masivo: Se aplica a grupo de vacas en lactancia, seca y novillas con 7 meses de gestación

Ventajas Limitaciones ¿Cuándo usar?

Protección continua

Todos los animales cubiertos

Fácil manejo

1-2 Dosis extra por animal por lactancia Conteos somáticos elevados (tanque) Problemas que afectan a todo el rebaño (Ej. S. aureus).

1ª Dosis 2ª Dosis 3ª Dosis Parto 60 días post parto 20 días antes del parto El día del secado 1ª Dosis 2ª Dosis 3ª Dosis + 3 + 3 semanas A los grupos 3 grupos
veterinaria
49 Inicio

parásitos internos

Todo rumiante que este en pastoreo, inevitablemente tendrá contacto con parásitos internos en algún momento de su vida; siendo característico, que una serie de factores ambientales y de manejo determinarán cual será la consecuencia que tendrá el animal luego de ese contacto, o si la enfermedad será clínica o subclínica.

Consecuencias de la parasitosis

• Reducción de la ganancia de peso.

• Disminución en la producción de leche o carne.

• Inmunosupresión (Predispone a enfermedades metabólicas).

• Muerte en infestaciones severas en animales jóvenes (terneras).

Grado de infestación Perdidas de kg de peso en terneros en su 1er año

Leve Moderado Grave

5 a 20 Kg

25 a 40 Kg

50 a 70 Kg

Los animales jóvenes son más susceptibles al efecto de los parásitos internos por varias razones:

1. Sistema inmunológico inmaduro.

2. No poseen experiencia previa de contacto con estos organismos, ya que la mayoría de ellos se adquiere una vez el animal empieza a consumir pasto.

3. Los parásitos pueden pasar la barrera placentaria e infectar a la cría, alterando la salud desde los primeros días de nacida. Helmintos (nematodos o gusano redondo / trematodos o gusano plano / cestodos).

Los parásitos de mayor importancia económica en la ganadería

Protozoarios (género Eimeria).

50 veterinaria
Inicio

Ingestión de huevos.

Transmisión transplacentaria de larvas.

Intestino (adulto)

Los reemplazos son muy susceptibles a la parasitosis, por ejemplo, los protozoarios del genero Eimeria son los agentes causantes de la coccidiosis bovina que afecta a terneros entre el mes de edad y hasta los 6 meses, principalmente, que aún no han adquirido inmunidad. El grado de patogenicidad está regulado por la intensidad del desafío parasitario, por la contaminación transplacentaria y, por brotes de enfermedad que tienden a estar asociados con terneros mantenidos en condiciones de hacinamiento con alta contaminación fecal del medio y ambientes húmedos y sucios.

Los ooquistes permanecen en el ambiente.

Día 1

Huevo. Huevo con cubierta muy resistente.

Día 21 en adelante

Día 1821 días

Animales con bajo perfil nutricional son más propensos a sufrir mayores pérdidas ante un grado de infestación parasitaria, lo cual no seria así para animales bien nutridos.

Los ooquistes se excretan en las heces.

Ingestión de ooquistes.

Día 115 días

Día 16

Las coccidias maduran en el intestino delgado.

Las coccidias estran en el intestino grueso.

Transmisión de larvas a través del calostro. Huevos en heces.
51 veterinaria Inicio
Protozoario/ Genero Eimeria parásitos del intestino (Coccidias).

Consideraciones adicionales

El calendario de desparasitación no debe ser estático sino dinámico, esto quiere decir que no se debe adoptar un calendario en forma definitiva, sino, se debe de estar evaluando con frecuencia de acuerdo a: exámenes coproparasitoscópicos.

Al realizar el diagnóstico específico del parásito, directamente encontramos la solución al enfocar la molécula más indicada para la desparasitación.

• El programa de desparasitación debe estar adecuado para cada tipo de explotación, raza y edad de los animales, grado y tipo de parasitosis, condiciones ambientales, familia de desparasitante utilizado, etc.

• Para ganado lechero se recomienda:

Vacas adultas

• Al momento del secado.

• Al momento del parto.

• En las épocas de mayor desafío parasitario (épocas de transición).

Reemplazos y novillas

• Al mes de nacidas.

• Posteriormente desparasitar en fases críticas del animal:

- Destete.

- Cambio de aparto.

- Exposición primera a las pasturas.

• Sin embargo, la recomendación principal es realizar desparasitaciones enfocadas, fundamentadas en cuanto a la dosis para cada animal, evitar hacerlo mensual para prevenir la resistencia de los parásitos a las moléculas de los desparasitantes y hacer un manejo adecuado de la rotación de potreros para evitar el aumento en la carga parasitaria.

• Evaluar constantemente el calendario de desparasitación implementado, así como el producto que se está utilizando. Esto mediante exámenes coproparasitoscópicos garantiza el éxito en el procedimiento y en el mantenimiento de animales libres de parásitos internos.

Moléculas más utilizadas

• Toltrazuril:

Inhibe la división nuclear y la actividad mitocondrial de las coccidias y permiten el desarrollo de inmunidad hacia Eimeria, logrando una mejor prevención y control.

• Imidazotiazoles (levamisol y tetramisol):

Tienen efecto contra nemátodos gastrointestinales y pulmonares, y aunque solo actúan sobre vermes adultos, obliga a volver a desparasitar a los 21 a 28 días de la primera desparasitación.

• Benzimidazoles (fenbendazol, albendazol, ricobendazol, triclabendazol, tiabendazol, oxibendazol):

Son moléculas de amplio espectro que afectan a nemátodos gastrointestinales y pulmonares; tienen acción sobre parásitos adultos, estadios larvarios y además tienen efecto ovicida, por lo que tienen especial importancia cuando se va a cambiar al ganado de potrero.

• Lactonas macrocíclicas (avermectinas: ivermectina, abamectina y doramectina):

Actúan contra nemátodos y artrópodos. Su mecanismo de acción consiste en abrir los canales de cloro e incrementar la liberación del ácido gamma-aminobutírico (GABA), lo cual provoca una hiperpolarización en la membrana de los invertebrados produciendo una parálisis flácida de los parásitos.

52 veterinaria Inicio

MANEJO DE parásitos externos

Algunas de las moscas de mayor importancia médica en los bovinos son: mosca de tórsalo, mosca paletera, mosca de los establos o de la piña y mosca doméstica.

Las tres primeras son parásitos que son de gran importancia ya que producen gran malestar al animal al picarlo o al formar los nódulos bajo la piel como es el caso del tósalo. También al extraer sangre del animal como en el caso de la mosca de la piña (stomoxys) pueden producir anemia. Pueden ser transmisoras de enfermedades. Mosca del Tórsalo: Dermatobia hominis.

La hembra de esta especie de mosca no pone los huevos ella misma en el animal, sino que atrapa al vuelo hasta 40 especies de moscas, como por ejemplo la mosca doméstica o diversos tipos de mosquitos y adhiere 15 a 30 huevos en el abdomen de la mosca o mosquito (vector). Cuando el vector se posa sobre un animal que puede ser el ganado, los huevos eclosionan con su calor. Entonces las larvas intentan introducirse bajo la piel ya sea en un folículo piloso, herida o el mismo agujero de la picadura. Debajo de la piel forman un nódulo donde pasan hasta 8 semanas alimentándose del animal hasta que se tiran al suelo donde están a diferentes profundidades terminando su desarrollo hasta convertirse en moscas adultas.

Mosca paletera: Haematobia irritans.

En este tipo de mosca la cópula se lleva a cabo principalmente en el animal hospedador (ganado), hacia su segundo día de vida. La hembra es fecundada en una única oportunidad y comienza la oviposición aproximadamente 24 h después. El macho copula una sola vez y luego muere. La puesta de huevos se realiza en la boñiga recién excretada, ponen 12 huevos por día.

veterinaria
53 Inicio

Mosca doméstica: Musca domestica. La mosca doméstica se reproduce en materia vegetal podrida o heces de animales, donde adquieren y transmiten patógenos a los alimentos de personas y animales, causando el deterioro de los mismos y la transmisión de enfermedades. Entre ellas: salmonelosis, queratoconjuntivitis infecciosa bovina, mastitis, etc

Ciclo de vida de Stomoxys Cacitrans

Mosca de los establos o mosca la piña: Stomoxys calcitrans. Esta es una mosca picadora y chupadora de sangre, de gran relevancia en zonas donde se presenta inadecuado manejo de desechos y rastrojos de cultivos, principalmente piña, ya que en ellos se reproducen con mucha facilidad estas moscas y otras especies de dípteros entre los que figuran la mosca doméstica. Esta mosca produce grandes daños pues afecta los animales a nivel de bienestar, por las constantes y dolorosas picaduras, pérdida de sangre y la posibilidad de transmisión de enfermedades como anaplasma, tripanosomiasis, etc.

Huevos 40-50 (24 horas) 3-6 (días)

Larva

Duración del ciclo: 14-21 días. Ciclo biológico rápido: depende de la temperatura, ambiente, humedad y la calidad del estiércol.

Pupa
Mosca adulta
(6 días)
veterinaria 54 Inicio

Control

Cualquiera que sea el caso es de suma importancia la implementación de estrategias de control para realizar un manejo integrado, donde se lleven a cabo acciones para dar un buen manejo o tratamiento a los residuos de cultivos y explotaciones pecuarias; ya que una vez que la mosca se traslada a los lugares en donde se alimenta, se puede seguir reproduciendo en ese medio.

No se debe combatir las moscas únicamente en las instalaciones y el ganado, es importante hacer control en los criaderos para disminuir las poblaciones al máximo.

• Se pueden usar productos que inhiban el desarrollo de larvas en la materia orgánica.

• Uso de trampas pega, utilizando bolsas plásticas blancas impregnadas con pegamento, tanto en explotaciones agrícolas como pecuarias.

• Se pueden utilizar productos granulados que tienen atrayente para moscas y son también insecticidas.

• Mantener las instalaciones pecuarias limpias de materia orgánica, dentro de lo posible.

Control de la mosca en el animal

Se usan insecticidas de uso veterinario. La mayoría no se deben usar en vacas en producción de leche para consumo humano pues poseen retiro en leche prolongados.

Entre ellos tenemos:

A-Productos a base de fipronil

Se utilizan sobre el lomo del animal, 1 ml por cada 10 kilos de peso. No se debe usar en vacas productoras de leche para consumo humano.

B- Cipermetrinas + organofosforados

Se usan sobre el lomo del animal, No usar en productoras de leche para consumo humano. No usar en el último tercio de la gestación, ni en animales debilitados o menores de 100 kilos.

C- Eprinomectina

Se usa sobre el lomo del animal, es un endectocida (parásitos internos y externos).

No poseen retiro en leche ni carne.

D- Productos de baño

Cipermetrina y diclorvos para diluir en agua y hacer baños por Inmersión o aspersión.

E- Ivermectinas y doramectinas inyectables.

Sirven para eliminar tórsalos en el animal, no funcionan contra otras especies de mosca.

Prohibido su uso en vacas productoras de leche para consumo humano.

55 Inicio

GARRAPATAS

Los dos géneros de garrapatas más importantes en nuestro país son Riphicephalus (Boophilus) microplus, la cual es la más común y pasa todo su ciclo de vida sobre un solo animal (hospedador) y Amblyomma cajennense garrapata de tres hospedadores, de manera que cada fase ocurre en un animal distinto.

Ciclo de vida de la riphicephalus microplus

Estos parásitos son responsables de los siguientes daños:

1- Lesiones en la piel por la inyección de toxinas.

2- Pérdidas de sangre, porque la garrapata se alimenta exclusivamente de ella.

3-Transmisión de enfermedades como anaplasma y piroplasma, produciendo anemia y hasta la muerte.

4- Disminución en la producción de leche y disminución en el desarrollo.

Control

Para el control de estos ectoparásitos es necesario un manejo integrado. Tradicionalmente se ha apostado el control de garrapatas únicamente con el uso de sustancias químicas. El uso incorrecto de estas durante años ha traído como consecuencia la aparición de garrapatas resistentes a ellos.

Manejo integrado de garrapatas

A- Manejo cultural:

1- Rotación y buen manejo de pasturas.

2- Cruces de ganado resistentes a la garrapata (cruces con razas cebuinas).

3- Extracción manual: esta se lleva a cabo diariamente cuando las vacas llegan al ordeño. Manualmente se quitan las garrapatas y se destruyen. Este método es más factible en fincas pequeñas. Su aplicación constante lleva a disminuir grandemente la infestación por garrapatas.

La hembra adulta repleta de sangre se tira al suelo, eclosiona produciendo cientos de huevecillos que luego dan lugar a las larvas que suben por las hojas de pasto para buscar un animal al cual subir.

B- Control biológico:

Se utilizan hongos biocontroladores de plagas.

• Combinación de los hongos Metarhizium anisopliae cepa Mt-34 y Beauveria bassiana cepa Bv-18. Se utiliza para el control de garrapata en pastura y sobre el animal, el hongo parasita las garrapatas por lo que va bajando la incidencia de la garrapata en los repastos. Tiene gran potencial como agentes controladores de garrapatas en el medio ambiente. Es inocua para el medio ambiente.

veterinaria 56 Inicio

C- Control químico:

• Es el más difundido. Tiene la desventaja que con el mal uso de los productos y con el pasar del tiempo, las garrapatas van desarrollando resistencia. Tienen retiro en leche y carne. Pueden perjudicar el medio ambiente y, además, producir intoxicación de animales y de las personas que los aplican.

• Para bañar los animales con bomba de espalda se debe tomar en cuenta que aproximadamente se debe usar un litro del producto ya preparado por cada 100 kilos del animal. Los animales se deben bañar contra pelo de atrás hacia adelante, todo el cuerpo.

• Se debe hacer en horas frescas y cuando los animales no estén sudados porque los poros de la piel están más abiertos y se pueden producir intoxicaciones más fácilmente.

Principios Activos a utilizar:

1- Amidinas (Amitráz): Se utilizan para baños. Tiempo de retiro en leche 24 horas.

2- Organofosforados: Actualmente no hay organofosforados disponibles para baños en vacas productoras de leche.

3- Productos para aplicación al lomo (pour on). Generalmente se aplican solo en reemplazos, pues tienen tiempos de retiro en leche prolongados. No se deben tratar vacas preñadas en el último tercio de la gestación.

Consejos útiles:

A- No bañe vacas muy prontas, trate de controlar la infestación antes.

B- Si llueve, no bañe, a menos que pueda mantener los animales bajo techo por mínimo una hora.

C- Use equipo de protección para evitar las intoxicaciones en el personal.

D- Al hacer la dilución, llene la bomba de espalda a la mitad, agregue el producto y revuelva, luego termine de llenar y aplique el baño.

E-No bañe el ganado suelto en los corrales, lo mejor es en los cepos animal por animal para lograr un mejor mojado.

F- Bañe las vacas por la tarde, luego del ordeño para que pasen el mayor número de horas posibles entre el baño y el nuevo ordeño.

G- No bañe las vacas sino es necesario, lo aconsejable es revisar los animales antes de hacer los baños, ya que no se aconseja mantener los animales totalmente limpios de garrapatas pues pierden las defensas a anaplasma o piroplasma. Si en uno de los costados del animal se logran contar más de 20 garrapatas gordas, es el momento de proceder al baño.

veterinaria 57 Inicio

vaca renca

Puntaje de locomoción de ganado lechero Parada Caminando

Introducción

La mayoría de las cojeras en vacas adultas con causa de disturbios digestivos asociados a factores ambientales el exceso de humedad, barro y los malos caminos.

Calificación

1-Normal

2-Cojera leve

3-Cojera moderada

4-Cojera

5-Cojera severa

Se para y camina normalmente.

Se para con la espalda plana, pero se arquea al caminar.

Se para y camina con la espalda arqueada, miembro afectado no es evidente.

Se para y camina con la espalda arqueada, es evidente el miembro afectado

Arco pronunciado en espalda y dorso, se niega a moverse.

Recorte funcional

1. Se debe medir aproximadamente 7 centímetros, tomando como referencia la pezuña medial en miembros posteriores y la lateral en anteriores y se recorta la punta con una tenaza.

2. Se recorta o desbasta la suela en la región axial (medial) en el tercio proximal, esto con el fin de darle salida a tierra y piedras que se pueden acumular en esa área.

3. Luego se procede a desbastar la suela en caso de ser necesario, esto con el fin de darle una misma altura a ambas pezuñas y por lo tanto una mejor estabilidad.

4. Por último, se realizan las pruebas de dolor aún en casos donde se observaban lesiones obvias, ya que en ocasiones existen lesiones que no se ven a simple vista, y que si no se hacen las pruebas de dolor, nos podríamos confundir pensando que encontramos la lesión que está produciendo la renquera.

58 veterinaria Inicio

Recorte terapéutico

El tratamiento se fundamenta en 7 principios básicos para lograr una evolución exitosa. Se aplican dependiendo el tipo de lesión y la gravedad de esta, en algunos casos el abordaje es simple, en otros casos se requiere la aplicación de todos.

1. Balancear pezuña con recorte funcional, el objetivo es dar un mejor soporte y una mejor distribución del peso, lo que ayuda a descargar áreas afectadas, además evita el acumulo de tierra y piedras.

2. Drenar abscesos, no aplica en todos los casos, ya que no siempre se logran ubicar o no siempre existen.

3. Quitar tejido necrótico, esta práctica es de suma importancia, ya que permite limpiar el área y así evitar que se acumule material indeseable como piedras, arena y humedad.

4. Descanso a la pezuña lesionada, uno de los principios más importantes, y esto se puede manejar de muchas formas, una de las practicas más comunes es evitar que estos animales recorran grandes distancias, ya sea dejando las vacas afectadas en potreros cercanos o en cuadras y siendo de gran valor complementar con la utilización de tacones para descargar la pezuña afectada.

5. Violeta Genciana, como antiséptico de forma local en las lesiones.

6. Antibiótico terapia.

7.Antinflamatorios.

Prevención

1. Es importante crear registros que permitan identificar las diferentes lesiones, y la zona afectada, con el fin de crear un perfil de la problemática existente y en base a esto el manejo preventivo.

2. Mantener caminos y aceras en buen estado.

3. Implementar el uso de pediluvios.

4. Realizar recorte funcional de forma preventiva 2 veces por año.

5. Mantener un ambiente limpio y seco en los corrales.

6. El ganado no debe de pasar por más de 3 horas en pisos duros en salas de espera.

7. Los pisos deben proveer buena tracción, pero un desgaste mínimo.

8. Suministrar raciones balanceadas, con cantidades razonables de carbohidratos fermentables, buena cantidad de fibra efectiva, minerales de buena calidad, raciones homogéneas y consistentes tiempos de alimentación.

9. Dar manejo adecuado en el periodo de transición, para evitar desordenes metabólicos post-parto.

10. Disminuir el impacto del estrés por calor, para evitar periodos de acidosis ruminal.

Recomendaciones de productos:

• Antibióticos: Citius, Excenel, Excede, Curacef .

• Antinflamatorios: Flumexine, Megludyne, Vetafluxin.

• Para pediluvios:

a. Oxi Sept: 333 (6ml/litro de agua)

b. Formalina: 3% o 5% (30-50ml/1 litros de agua)

c. Sulfato de cobre: 3 a 5 gramos por litro agua.

• Para acidosis ruminal: Acid Buf, Bicarbonato de sodio

veterinaria
59 Inicio
Pediluvio.

enfermedades metabólicas

Hipocalcemia

Es una enfermedad metabólica asociada niveles de calcio en sangre bajos, que aparece entre 24 horas antes del parto hasta 4 días postparto.

Puede presentarse de forma subclínica, afectando entre el 33-50% del hato, y la forma clínica que podrías presentarse entre un 3-7% del hato. La hipocalcemia clínica se caracteriza por:

SINTOMAS

Arrastre miembros posteriores

Postración

Depresión

Hipotermia

Midriasis

Disminución frecuencia cardiaca

Atonia ruminal

Coma / Muerte

La hipocalcemia subclínica es difícil de detectar al menos que haga un examen de sangre para ello. Pero podría traer las siguientes consecuencias:

• Retención de placenta.

• Dislocación de abomaso.

• Baja producción de leche.

Causas

Es importante recalcar que los niveles de calcio disminuyen en todas las vacas adultas al momento del parto debido al inicio de la lactación, pero son susceptibles a hipocalcemia aquellas vacas que no pueden equilibrar el calcio en la sangre con lo requerido para la producción de leche.

Tratamiento

• Se debe administrar solución de Gluconato de calcio por vía intravenosa, repetir cada 6 horas hasta recuperar, (Mundijet).

• Ayudar a la vaca a reincorporarse.

• Para hipocalcemia subclínica está indicado el uso de Ca por vía oral, que mantiene niveles más elevados de Ca en sangre 20, 24 y 36 horas después del tratamiento.

• Para prevenir nuevos episodios se puede utilizar solución de sales de calcio subcutáneas (calciomic, calfón fuerte, 100 ml varios puntos subcutáneo).

Prevención

• Alimentación basada en sales aniónicas 21 días pre parto (Fase uno, Parto Plus, Pre-Parto).

• Fuentes orales de Calcio (Calfon Energy).

veterinaria
60 Inicio

Hipomagnesemia

La hipomagnesemia es un desbalance metabólico que se caracteriza por una reducción en los niveles de magnesio en la sangre.

Esta condición compromete la función neuromuscular y la sintomatología que presentan los animales afectados depende del grado de disminución del nivel de magnesio. Cuando la hipomagnesemia es moderada el animal reduce el consumo de alimentos, se muestra nervioso, reduce la síntesis de grasa láctea y la producción total de leche. Esta condición puede predisponer al animal a una fiebre de leche. Cuando la hipomagnesemia se vuelve más severa se contraen los músculos de la cara, hombros, flancos y la motilidad del rumen se reduce sustancialmente. Las vacas se ponen, nerviosas, irritables, braman y orinan frecuentemente.

Al progresar este desorden metabólico el animal muestra espasmos tetánicos de los músculos, los cuales pueden hacer que Se tambalee y caiga. Posteriormente el animal arquea La cabeza hacia atrás y chapotea. Estos episodios son recurrentes y si la vaca no se trata oportunamente muere. Uno de los síntomas más característicos de la hipomagnesemia es que los párpados se mueven y los globos de los ojos oscilan involuntariamente.

Sintomatología

• Irritabilidad

• Cabeza y orejas erguidas

• Dificultad para desplazarse

• Hiperventilación

• Bruxismo (Rechinar de dientes)

• Tetania muscular

• Muerte

Prevención

• Suministro de Magnesio vía oral, para ello, podemos utilizar Pecutrin o Multiplex verde, y en los periodos de mayor riesgo Multiplex Pre-Parto y Multiplex Oro.

• Otra forma es utilizar bloques minerales para que chupen.

Tratamiento

• En primera instancia administrar Magnesio inyectable, intravenoso preferiblemente, inmediatamente después se debe suministrar vía oral ya que los niveles de magnesio en sangre solamente se mantendrán por un periodo de 24 a 48 horas.

• Utilizar un suero glucosado (Dextrosa - Glucovet - BeplenovaxDextrovitam) para favorecer la absorción del Magnesio.

Cetosis

Catabolismo (degradación) acelerado de la grasa corporal al inicio de la lactancia, lo que produce un incremento en el nivel de cuerpos cetónicos (Tóxicos en alta concentración).

Factores predisponentes

• Raciones altas en energía en el preparto.

• Exceso de condición corporal al parto (3,5 a 5 CC).

• Baja ingestión de materia seca posparto:

- Baja fertilidad, vacas abiertas tienden a engordar al final de la lactancia y esto las predispone a cetosis.

veterinaria 61 Inicio

Cetosis Clínica

• Baja producción de leche.

• Falta de apetito.

• Marcada pérdida de peso.

• Olor a cetona.

Síntomas nerviosos:

• Ceguera.

• Caminar en círculos.

• Movimientos de masticación con salivación.

• Apoyar la cabeza empujando objetos y lamerse.

Cetosis Subclínica

• Olor a cetonas

• Baja fertilidad.

• Baja producción de leche.

• Necesario la medición de cuerpos cetónicos para el diagnóstico.

Tratamiento

• 500 ml intravenosos de glucosa al 50%.

• 20 ml intramuscular de vitamina B12.

• 10 ml intramuscular de dexametazona.

• 250 ml Oral de propilenglicol (precursor de glucosa) durante 4 días. El tratamiento debe repetirse uno o tres días después del tratamiento inicial.

Prevención

• Maximizar el consumo de energía posparto.

• Uso de precursores de glucosa en el periparto.

• Medición de CC al 5to mes de gestación y ajuste de la dieta para no sobrealimentar.

Por cada vaca con cetosis clínica se calculan 9 vacas con cetosis subclínica durante los primeros 50 días posparto.

62 veterinaria Inicio

ENFERMEDADES REPRODUCTiVAS

Vías de transmisión

Enfermedad vírica, pestivirus con manifestaciones respiratorias, gastrointestinales y reproductivas.

Una característica fundamental VDVB, es la capacidad de generar animales persistentemente infectados. Esto sucede cuando las hembras gestantes se infectan entre 30 a 150 días de preñez. Nacen inmuno-tolerantes sin signos aparentes, pero excretando el virus de forma permanente a través de todos los fluidos corporales. (1-10 millones de partículas virales infectadas por mI.); siendo la dosis infectante (10 partículas).

Particularidades

• Es un virus Inmunosupresor dando paso a infecciones secundarias.

• Tiene participación en el complejo respiratorio y reproductivo bovino.

• La gravedad de las consecuencias está determinada por la edad gestacional del feto en el momento de la infección dando muerte embrionaria en etapas tempranas.

• Se manifiesta como repetición de celos y abortos a lo largo de toda la gestación.

• La infección durante la gestación puede desencadenar malformaciones congénitas, ejemplo neoplasia o degeneración cerebelar, deformidades esqueléticas.

Mediante infección permanente de animales susceptibles vía respiratoria. Una vez infectados producen viremia transitoria entre 10 a 14 días.

Se genera cuando se presentan animales seronegativos en una preñez temprana y la madre se ve expuesta a una infección aguda infectando al feto.

La trasmisión vertical directa entre los mismos PI. Entre el día 30-150 nacen PI.

Control y Diagnóstico

Vacunación contra VDVB con dos objetivos definidos:

• Dar cobertura poblacional que limite la diseminación del virus en la finca y reduzca la severidad de los signos clínicos.

• Impedir la transmisión vertical, evitando la generación de animales PI.

En conjunto con la vacunación debe realizarse un saneamiento racional de los animales Pl en las fincas para poder mantener las poblaciones controladas.

Diarrea Viral Bovina
Horizontal Vertical
63 veterinaria Inicio
Momia neospora.

Neosporosis Bovina

• Enfermedad de distribución mundial, Agente Neospora Caninum, parasito intracelular obligatorio.

• Caracterizada por provocar abortos, nacimiento de terneros clínicamente sanos, pero crónicamente infectados.

• Hospederos definitivos el perro, coyote, lobo gris, donde se desarrolla la reproducción sexual del parásito en forma de coccidiosis intestinal con la excreción de ooquistes en las heces.

• Hospederos intermediarios, (rumiantes) se da la fase asexual de reproducción que son los quistes con Bradizoitos, principalmente en Cerebro y medula Espinal.

Vías de transmisión

Transplacentaria Exógena:

Consumo de agua o alimento contaminado con ooquistes de Neospora caninum excretados en las heces de perros infectados, estos esporulan y se convierten en infectantes. A nivel intestinal se convierten en taquizoitos, pasan a sangre y se alojan en diferentes tejidos quedando en latencia.

Horizontal Vertical

Transplacentaria endógena:

Una vaca previamente infectada queda gestante; en esta condición se reactiva el parasito (taquizoitos, Bradizoitos) estos pasan a sangre nuevamente, llegan al feto y los infectan.

Sintomatología

En la vaca pueden ocurrir 3 eventos al infectar al feto a través de la placenta.

1- El aborto siendo el único signo clínico perceptible (más común en el segundo tercio de gestación).

2- 95% de terneros parasitados que logren nacer serán sanos clínicamente; pero persistentemente infectados.

El problema de los PI es que cuando logren quedar gestantes se reactivan los parásitos y tienen alta posibilidad de trasmisión vertical, diseminando la enfermedad.

3- 5% de terneros que logran nacer, presentan signos clínicos neurológicos como hiperextensión o flexionados dificultando su marcha.

Diagnóstico

Eliza es la prueba serológica más utilizada.

Control y Prevención

1- Evitar ingreso de canidos a las instalaciones para evitar que consuman placenta y restos de feto infectados.

2- Evitar el ingreso de reemplazo infectado al hato.

3- Eliminar progresivamente vacas infectadas (seropositivas).

4- Eliminar rápidamente fetos abortados, placenta.

veterinaria 64 Inicio

IBR (Rinotraqueitis infecciosa bovina)

Causa

• Herpes virus bovino tipo 1 (BHV-1).

•Es una enfermedad relacionada principalmente a problemas reproductivos y del tracto respiratorio, queda latente en el animal, se transmite por aerosoles y venérea.

Síntomas

Son muy variados.

• Problemas respiratorios.

• Neumonias.

• Tos.

• Conjuntivitis.

• Problemas reproductivos (vulvo-vaginitis, balanopostiis, abortos, infertilidad).

• Cuadros digestivos.

Prevención

Por medio de vacunación.

La dosis depende de la vacuna a utilizar, si es primo vacunación se debe aplicar un refuerzo a los 21 días y luego se realizan refuerzos anuales.

Leptospira

Causas

Leptospira spp

Es una bacteria que normalmente es trasmitida por roedores, existen aproximadamente 200 serovares diferentes, los lugares húmedos favorecen la supervivencia, generalmente el ingreso es por vía oral y afecta principalmente el hígado y el riñón. Los abortos se presentan generalmente en el último tercio de gestación.

Síntomas

• Anemia.

• Orina color café oscuro.

• Fiebre.

• Pérdida de apetito.

• Debilidad en terneros.

• Vacas preñadas tienden a abortar en el último tercio de la gestación.

Prevención

La vacuna es una práctica muy extendida en otros países, siendo la mejor herramienta de control.

La dosis depende de la vacuna a utilizar, si es primo vacunación se debe aplicar un refuerzo a los 21 días y luego se realizan refuerzos anuales.

Tratamiento

Dihidroestreptomicina a dosis de 25 mg/kg.

veterinaria Aborto. 65 Inicio

Hemoparasitosis

Anaplasmosis y Babesiosis (Piroplasmosis)

En los bovinos son enfermedades caracterizadas por una anemia progresiva causada por la infección intraeritrocitaria, es decir dentro de los glóbulos rojos, por Anaplasma marginale y Babesia spp. Las cuales son transmitidas por garrapatas principalmente del género Rhipicephalus spp. (OIE,2015).

Sintomatología de la anaplasmosis

Es una enfermedad con signos clínicos muy variables, desde una enfermedad aguda grave a una infección subclínica. La edad en el momento de la primera infección es determinante ya que la enfermedad en los terneros de 6 a 9 meses es comúnmente leve y aumenta de gravedad en el ganado de más edad. El período de incubación de la enfermedad va de 15 a 30 días.

Signos clínicos en terneros

Anorexia y letargo en las primeras 24 horas. Linfonodos (principalmente pre-escapulares y pre-crurales) aumentados de tamaño.

Membranas mucosas pálidas. Pelo hirsuto.

Tratamiento

Tetraciclinas son el antibiótico de elección, se debe de dar terapia complementaria para controlar la fiebre especialmente con antiinflamatorios no esteroideos y antianémicos, según la siguiente dosificación:

Fármaco Nombre comercial Dosificación Frecuencia Retiro

Tetraciclina convencional

Tetraciclina LA. 200mg

Tetraciclina L.A, 300mg

Emicina

Engemycin LA*, Emicina L.A, Veterralent L.A Oxitetraciclina L.A

Noromycin

1ml / 10 kg

1ml / 10 kg

1 vez al día por 5 días consecutivos

1 vez al día cada 48 horas, 2 o 3 aplicaciones

Leche: 3 días

Carne: 28 días

Leche: 3 días

Carne: 28 días

Flunixin meglumine

Antianémicos

1ml / 10 kg

Dosis única

Tratamiento complementario

Flumexine, Vetafluxin, Megludyne

Hemoplex, Hematofos

2m l/ 50kg

10 a 15 ml animales adultos, 6 a 10 ml novillas y terneras

1 vez al día por 3 días consecutivos

Diario por 5 días consecutivos

Leche: No usar en vacas lactantes

Carne: 35 días

Leche: 12 horas

Carne: 1 día

Leche: 5 días

Además, en casos de anemia severa, en donde el hematocrito sea menor a 15% se recomienda la transfusión sanguínea.

veterinaria
66 Inicio

Sintomatología de la piroplasmosis bovina

El periodo de incubación de esta enfermedad va desde los 5 días hasta más de las 3 semanas después de la inoculación de sangre infectada. Se conoce mayor resistencia del ganado cebú y además se sabe que los terneros poseen inmunidad natural, que se refuerzan del calostro de madres infectadas, por lo tanto los terneros infectados hasta los 9 meses de edad experimentan una reacción mínima a la enfermedad y se convierten en portadores asintomáticos y son resistentes a la enfermedad clínica al menos durante 4 años pero este estado puede verse superado por factores estresantes como el parto, la mala nutrición y las enfermedades concomitantes.

Signos clínicos

CLOSTRIDIALES

CARBUNCO SINTOMÁTICO, HEPATITIS NECRÓTICA, ENTEROTOXEMIA, EDEMA MALIGNO, TÉTANOS, BOTULISMO

Signos clínicos característicos

Fiebre de (40 a 42°C)

Depresión

Ictericia (membranas mucosas amarillentas)

Anorexia (dejan de comer)

Taquicardia.

Taquipnea (aumento de la frecuencia respiratoria

Hemoglobinuria (salida de hemoglobina en la orina, orina enrojecida).

Disminución de la producción de leche.

También puede observarse una babesiosis cerebral, tales como: hiperexcitabilidad, convulsiones, opistótonos y coma.

Tratamiento

Fármaco Nombre comercial Dosificación Frecuencia Retiro

Aceturato de diminacina + Oxitetraciclina + Metamizol sódico

Dipropionato de Imidocarb

Flunixin meglumine

Antianémicos

Ganazoo Plus Imizol* Flumexine, Vetafluxin, Megludyne Hemoplex, Hematofos

1ml /20 kg

2,5m l/100 kg

Dosis única

Leche: 3 días

Carne: 20 días

Son enfermedades mortales que afectan al ganado bovino y ovino de forma repentina, provocando la muerte subita. Las bacterias producen esporas muy resistentes que se encuentran diseminadas por todo el entorno, pueden infectar el organismo por medio de una herida externa, lesiones internas al pastoreo o partos. No todas las especies de clostridios provocan enfermedades, pero las que son patógenas suelen ser mortales. Especies de Clostridium:

Clostridios Enfermedad

Cl. Septicum

Cl. Chauvoei

Cl. Hemolyticum

Cl. Novi

Cl. Perfingens

Cl. Tetani

Cl. Botulinum

Dosis única

Tratamiento complementario

2ml /50kg

10 a 15 ml animales adultos, 6 a 10 ml novillas y terneras

1 vez al día por 3 días consecutivos

Diario por 5 consecutivosdías

Leche: 6 días

Carne: 213 días

Leche: 12 horas

Carne: 1 día

Leche: 5 días

Además, en casos de anemia severa, en donde el hematocrito sea menor a 15% se recomienda la transfusión sanguínea.

Edema maligno

Carbon sintomático, pierna negra

Hemoglobinuria bacilar

Hepatitis necrótica

Enterotoxemias

Tetanos

Botulismo

Los factores que contribuyen de forma importante a la aparición de la enfermedad son; los animales que pasan por periodos de estrés, como:

causas de enfermedades

Acirugias

Acidosis

Partos

Cambios de clima (lluvias-secas)

Cambios bruscos de alimentación

veterinaria
Pierna negra.
67
Inicio

Ciclo general de desarrollo del Clostridium

Los signos clínicos pueden variar según el tipo de bacteria implicado:

• Muerte súbita en animales aparentemente sanos.

• Animales con sintomatología de enfermedad (animal triste), con muerte entre 6-24 horas.

• Temperatura elevada ( 39 grados o más).

• Inapetencia.

• Hinchazón de masas musculares grandes: paleta, lomos, caderas con sonidos crepitantes cascara de huevo) al tacto.

• Cojeras.

• Rígidez localizada.

• Espasmos musculares.

• Orina de color rojo oscuro.

Diagnóstico en campo

Por medio de signos visibles en campo, casos recurrentes en la región, necropsia por parte de un médico veterinario con sus respectivas tomas de muestra y análisis en laboratorio.

Prevención

Por medio de la vacunación estratégica del hato, como por ejemplo:

• Primo vacunación: aplicar 1 dosis y repetir a los 21-30 días a todos los animales a partir de los 2 meses de edad.

• Revacunar anualmente.

• Los animales (terneros) que no se vacunaron en la fecha establecida por no alcanzar la edad se establece una fecha a los 3 o 6 meses para vacunarlos por primera vez.

Intestino hemorrágico.

• En fincas, regiones geográficas o épocas del año donde hay mayor incidencia de la enfermedad será necesario ajustar el protocolo de vacunación según recomendación del médico veterinario.

veterinaria 68 Inicio

LEUCOSIS BOVINA

La leucosis enzoótica bovina es una enfermedad incurable causada por el virus del mismo nombre, el cual infecta a los linfocitos B. Todos los animales afectados van a desarrollar anticuerpos, pero la mayoría permanecerán asintomáticos la mayor parte de su vida actuando como portadores; un 20-30 % de los animales van a desarrollar una linfocitosis asintomática persistente, y un 5-10 % van a desarrollar linfoma maligno.

SIGNOS CLÍNICOS

• Pérdida de peso.

• Inflamación de los ganglios linfáticos.

• Trastornos digestivos.

• Dificultad para respirar debido a los tumores internos.

• Masas tumorales blancas.

• Baja producción láctea.

• Inapetencia.

• Anemia.

• Postración.

• Linfocitosis y muerte.

Vias de transmisión

La transmisión del virus entre animales ocurre sobre todo en forma iatrogénica, esto es, cuando los animales son tratados sin los cuidados de higiene adecuados, especialmente cuando son inyectados, descornados, tatuados, areteados, castrados, o durante la examinación transrectal.

Diagnóstico

Detección de anticuerpos

1. Prueba de inmunodifusión en agar gel (IDA): Es sencilla y la de uso más difundido para la detección de anticuerpos.

2. Enzimo-inmunoensayo (test de ELISA): Tiene la ventaja de detectar la presencia de anticuerpos antes que IDA. Además, se puede realizar en forma automatizada y el resultado se obtiene dentro de las 24 horas.

Control y prevención

La enfermedad está ampliamente distribuida en Costa Rica, según un estudio de la una de la Universidad Nacional de Costa Rica se encontró en un 97% (74/76) de los hatos analizados, y un 53% presentaron prevalencias superiores al 40%.

Medida para el control y la prevención

• Control de vectores hematófagos.

• Sacrificio de animales infectados.

• Uso de agujas estéril.

• Uso de guante de palpación individual para cada vaca.

• Los terneros recién nacidos se separan de las vacas positivas inmediatamente después del parto y se alimentan de calostro de vacas negativas.

• Si la tasa de infección es baja (menor del 10%), es conveniente eliminar los animales positivos, implementar medidas de manejo higiénico - sanitarias estrictas y realizar el control serológico cada tres meses para ir descartando los positivos.

• Cuando no haya animales con serología positiva, se realizará un control anual, manteniendo siempre las medidas de higiene en las prácticas semiológicas y quirúrgicas habituales.

Tratamiento: No existe tratamiento como tal.

veterinaria 69 Inicio

BRUCELOSIS

La Brucelosis es una enfermedad causada por bacterias en animales y humanos por varias especies del género Brucella, principalmente Brucella abortus, B. melitensis y B. suis.

En Costa Rica, la infección en el ganado bovino es causada por B. abortus. La brucelosis en ganado es una infección de hato; la mejor manera de proteger a los animales es la vacunación, medidas de bioseguridad y la prevención de la introducción de animales infectados al hato.

El Decreto Ejecutivo No. 35858-MAG “Reglamento para la intervención de la Brucelosis bovina” determina el sacrificio de aquellos animales diagnosticados como positivos y obliga al hato a ingresar a un programa de saneamiento.

Síntomas de Brucelosis Bovina

• El aborto.

• Retención de la placenta.

• Nacimiento de terneros débiles o muertos.

• Descargas vaginales.

• Esterilidad o dificultades reproductivas.

La transmisión al ser humano:

Por la vía oral:

• Menor producción de leche.

• Lesiones articulares.

• Orquitis en el caso de los machos afectados.

• Por el consumo de leche, queso, natilla sin pasteurizar, proveniente de animales con brucelosis.

Vía cutánea:

• Al entrar en contacto con líquidos placentarios, al atender partos, extracción de placentas, palpación rectal sin usar guantes.

Prevención (Vacunación):

• Se declara obligatoria la vacunación de las hembras bovinas contra Brucelosis.

• Se realiza a todas las hembras entre los 4 y 8 meses de edad. Usando la vacuna RB 51 con dosis de 2 cc por animal por la vía subcutánea.

• En fincas de alta prevalencia o de riesgo potencial, se recomienda una revacunación entre los 12-15 meses de edad.

Causas de Infección en un establecimiento:

Introducción de animales infectados:

• Por la compra de animales sin exámenes previos.

• Animales examinados, pero incubando la enfermedad.

• Reingreso de animales al establecimiento.

• Exposiciones.

• Por pastoreos con animales de estatus sanitario desconocido.

• En caso de recuperación de animales extraviados.

• Por vectores, perros, zorros u otros animales carnívoros que llevan restos de fetos abortados, placentas etc.

• Por contaminación de fuentes de agua.

• Entrada de vehículos no desinfectados.

veterinaria Aborto.
70 Inicio

Recomendaciones y medidas de bioseguridad

• Mantenga su hato libre de brucelosis.

• Lleve un registro de todos los animales de su finca, utilice el sistema de Identificación Electrónica.

• Mantenga al día el programa de vacunación de Brucelosis de sus terneras vacunándolas entre los 4 a 8 meses de edad.

• Desarrolle sus propios reemplazos para evitar el tener que introducir animales a su finca.

• Si compra animales, adquiéralos de fincas lecheras que tengan certificados vigentes de hato libre de brucelosis y tuberculosis.

• Evite el pastoreo de sus animales con el de otros propietarios que no tienen su hato libre a estas enfermedades y evite el intercambio de animales.

• Mantenga las cercas de su propiedad en buen estado, para evitar el ingreso de animales de condición sanitaria desconocida.

• En caso de que se presente un aborto entre los 6 y 9 meses de preñez, aislar el animal, enterrar feto y placenta, encalar el área y reportar el caso al médico veterinario de su zona.

• Uso de desinfectantes:

- Hipoclorito de sodio 5%

- Alcohol

- Hipoclorito de calcio 5%

- Fenol 5%

- Formol 3%

Beneficios de mantener el hato libre de brucelosis bovina:

• Elevar el bienestar animal, social y sanitario del país.

• Transacciones bancarias y aseguramiento.

• Obtención y mantenimiento del CVO de fincas bovinas, para comercialización de productos, subproductos o ganado en pie.

Mayores ingresos económicos:

- Se contribuye a mejorar el índice productivo y reproductivo.

- Reducción de las pérdidas por el descarte involuntario de animales genéticamente valiosos.

- Prevención del aborto por causa de Brucelosis.

- Disminución en enfermedades de tipo reproductivo como endometritis y retenciones de placenta.

veterinaria
71 Inicio

TUBERCULOSIS

La Tuberculosis Bovina es una enfermedad bacteriana crónica de los animales, causada por Mycobacterium bovis. La transmisión al ser humano constituye un problema de salud pública. La exposición a M. bovis por aerosol se considera la vía más frecuente de infección del ganado bovino. Las lesiones tuberculosas características tienen lugar con mayor frecuencia en los pulmones y en los ganglios linfáticos retrofaríngeos, bronquiales y mediastínicos. La infección suele ser subclínica; cuando aparece, los signos clínicos pueden consistir en debilidad, anorexia, emaciación, disnea, aumento de tamaño de los ganglios linfáticos y tos, en concreto en los casos de tuberculosis avanzada.

En Costa Rica, la enfermedad es endémica en el ganado bovino, es de notificación obligatoria y de combate particular obligatorio, y es reglamentado por Decreto Ejecutivo No. 35858-MAG “Reglamento para la prevención, el control y erradicación de la tuberculosis en los bovinos”.

Síntomas de Tuberculosis Bovina

• Normalmente asintomático (evolución muy lenta).

• Tuberculosis avanzada = anergia.

• Hipertrofia ganglionar.

• Enflaquecimiento progresivo hasta la caquexia.

• Disnea.

• Tos.

• Diarrea, timpanismo.

La transmisión al ser humano:

Por la vía oral:

• Por el consumo de leche, queso, natilla sin pasteurizar, proveniente de animales con Tuberculosis.

Vía aerógena:

• Inhalación de bacilos tuberculosos.

• Aerosoles.

Causas de Infección en un Establecimiento:

- Introducción de animales infectados:

- Por la compra de animales sin exámenes previos.

- Animales examinados, pero incubando la enfermedad, anergia.

- Reingreso de animales al establecimiento.

- Exposiciones.

- Por pastoreos con animales de estatus sanitario desconocido.

- En caso de recuperación de animales extraviados.

- Por vectores, aves, zorros u otros animales mamíferos de vida silvestre etc.

- Por contaminación de fuentes de agua.

- Entrada de vehículos no desinfectados.

72 veterinaria Inicio

Importancia económica

• Pérdida de peso (caquexia).

• Disminución de la producción de leche.

• Eliminación precoz de animales.

• Eliminación de animales de alto valor genético.

• Pérdidas por decomisos en planta de sacrificio.

• Muerte de animales (jóvenes).

Recomendaciones y medidas de bioseguridad

Mantenga su hato libre de tuberculosis

• Lleve un registro de todos los animales de su finca, utilice el sistema de Identificación Electrónica.

• Desarrolle sus propios reemplazos para evitar el tener que introducir animales a su finca.

• Si compra animales, adquiéralos de fincas lecheras que tengan certificados vigentes de hato libre de brucelosis y tuberculosis.

• Evite el pastoreo de sus animales con el de otros propietarios que no tienen su hato libre a estas enfermedades y evite el intercambio de animales.

• Mantenga las cercas de su propiedad en buen estado, para evitar el ingreso de animales de condición sanitaria desconocida.

Uso de desinfectantes:

- Hipoclorito de sodio 5%.

- Alcohol.

- Hipoclorito de calcio 5%.

- Fenol 5%.

- Formol 3%.

Beneficios de mantener el hato libre de tuberculosis bovina:

• Elevar el bienestar animal, social y sanitario del país.

• Transacciones bancarias y aseguramiento.

• Obtención y mantenimiento del CVO de fincas bovinas, para comercialización de productos, subproductos o ganado en pie.

• Mayores ingresos económicos:

- Se contribuye a mejorar el índice productivo y sanitario.

- Reducción de las pérdidas por el descarte involuntario de animales genéticamente valiosos.

veterinaria 73 veterinaria Inicio

paratuberculoSIS BOVINA

¿Qué es?

Es una enfermedad bacteriana que causa diarrea, pérdida progresiva de la condición corporal y en última instancia culmina con la muerte.

¿Cuál es el agente causal?

El agente que lo provoca se denomina Mycobacterium avium subespecie paratuberculosis. Este agente provoca una enteritis y linfadenitis granulomatosa.

Patología

Como hallazgos de necropsia, se aprecia un engrosamiento y formación de rugosidad en el intestino (principalmente intestino delgado a nivel de íleon).

Los ganglios linfáticos mesentéricos están dramáticamente agrandados y edematosos.

Tratamiento - control

No existe un tratamiento para la paratuberculosis.

¿Cómo se diagnostica?

• Coprocultivo (fiable, pero más difícil).

• Reacción en cadena de la polimerasa (PCR) por muestras fecales.

• Prueba serológica a través de anticuerpos.

Intestino delgado (lesiones).

¿Cómo se trasmite?

Las vacas infectadas excretan grandes cantidades de bacterias en las heces, estas contaminan alimentos y agua que serán ingeridos por otros animales. Además, la leche y el calostro de vacas positivas son fuente de contagio para sus crías. La vía transplacentaria es otra forma de trasmisión.

Periodo de incubación-signos clínico

El período de incubación varía de meses a años (normalmente 2-5 años). Se manifiesta con:

• Diarrea.

• Pérdida de peso.

• Pérdida de condición corporal (crónica-intermitente).

• Reducción en la producción de leche.

Medidas importantes a tomar

• Realizar pruebas anuales para la paratuberculosis.

• Sacrificar animales positivos tan pronto como sea posible.

• Retirar las crías de sus madres antes del amamantamiento; alimentarlos con calostro de vacas no infectadas.

• Minimizar exposición de heces contaminadas con los alimentos y aguas.

• Animales libres en caso de compras.

¿Es contagiosa al humano?

Cada vez hay mayor preocupación porque se implica al agente etiológico de la paratuberculosis con la llamada enfermedad de Crohn.

En los humanos esta enfermedad cursa también por una enteritis granulomatosa crónica, aunque su relación no ha sido definitivamente comprobada.

74 veterinaria Inicio
Imagen del Mycobacterium avium subespecie paratuberculosis.

Disentería (coronavirus)

Las infecciones con Coronavirus bovino en Costa Rica se asocian a la disentería de invierno en vacas lactantes, a pesar de que la mortalidad es baja, la morbilidad es muy alta, lo que conlleva a un gran número de animales afectados, con la consecuente disminución de la producción láctea que en ocasiones llega hasta el 95%, además la recuperación de los individuos influye directamente en la condición corporal.

Patogenia

La infección se establece por ingestión o inhalación del virus, el cual se replica rápidamente en células intestinales. Esta lesión resulta en la disminución de la absorción y la función digestiva e incrementa la función secretora, provocando severas diarreas.

El virus se disemina rápidamente por contacto directo o por material, alimento y equipos contaminados. Existen animales portadores inaparentes en intestino (vacas adultas que lo eliminan en época periparto).

El periodo de incubación puede variar de 2 a 8 días en los animales afectados de forma más grave. La incidencia de diarrea de forma explosiva con surgimiento de los síntomas se aprecia entre el 10 a 15 % de los animales.

Cuadro clínico

La presentación clínica habitual es la diarrea profusa animales de todas las edades, algunos síntomas respiratorios leves pueden ocurrir consistiendo en secreciones naso lagrimales serosas y tos suave que también puede ser observada precediendo la diarrea

Diagnóstico diferencial

El diagnostico diferencial se puede establecer con las siguientes enfermedades: Coccidiosis, Salmonelosis, Molestia de John y Gastroenteritis nutricional, Rinotraqueitis Infecciosa Bovina y Diarrea Viral Bovina entre otras.

Tratamiento

En la mayoría, los animales afectados por disentería de Invierno se recuperan espontáneamente, en algunos días y sin tratamientos específicos. Los casos más graves se efectuarán tratamientos de soporte para evitar infecciones secundarias. La unidad debe ser sometida a una cuarentena, periodo en el cual se recomienda una desinfección focal de equipos, locales, instrumental etc.

Tx de soporte

• Hidratación con electrolitos vía oral hasta o parenteral.

• Uso de levaduras orales por 5 días.

• El uso de antibióticos esta indicados en los cuadros agravados, para ayudar con las infecciones secundarias.

Prevención

El control de ingreso de nuevos individuos en el rebaño, posibles portadores asintomático resulta crítico para prevenir los brotes. Evitar cual situación de estrés, de manejo, térmico, nutricional, y sanitario son claves para evitar la reactivación del virus en animales portadores.

Intestino coronavirus (lesiones). Vaca con diarrea
75 veterinaria Inicio

Estomatitis vesicular

Etiología

El virus de la estomatitis vesicular (VEV) pertenece al género Vesiculovirus. Los principales serotipos son New Jersey e Indiana.

Epidemiología

El cuadro clínico se observa en ganado porcino, bovino y equino. Se transmite por contacto directo entre animales sanos e infectados (saliva y vesículas abiertas), y a través de picaduras de insectos. Es una enfermedad estacional.

Signos clínicos

La enfermedad tiene un corto periodo febril y va acompañada de formación de vesículas y lesiones en la boca, hocico, extremidades (coronitis) y ubres, dando lugar a cojeras y salivación excesiva, e incluso anorexia. A menos que se desarrollen infecciones secundarias, los animales se recuperan al cabo de 2-3 semanas.

Diagnóstico

Dados los signos clínicos que presenta esta enfermedad, no se puede distinguir de otras enfermedades vesiculares, por lo que se debe realizar diagnostico en el laboratorio para su confirmación. Sin embargo, la presencia de síntomas en caballos sugiere estomatitis vesicular.

Tratamiento

El tratamiento es sintomático. Se deben limpiar las lesiones con una solución antiséptica para ayudar a la curación, aplicar antibióticos a nivel local para prevenir infecciones secundarias, y acompañar con dieta blanda en los animales con lesiones en la boca.

Prevención y control

No existen vacunas comerciales disponibles. En caso de brote, hay que prevenir el contacto directo entre animales sanos y enfermos. Establecer cuarentena y controles en los movimientos de animales para prevenir su expansión, también se recomienda la desinfección de vehículos y fómites y por último el control de las poblaciones de los vectores.

Consideraciones Salud Pública

En las personas es una enfermedad aguda similar a la influenza. Dentro de los síntomas se incluye fiebre, dolores musculares y malestar general. Las vesículas no suelen aparecer. La recuperación suele darse entre 4 y 7 días. La infección se puede producir al manipular animales afectados, fómites, tejidos y cultivos de sangre o del virus.

76 veterinaria Inicio

reemplazos

CUIDADOS DEl RECIéN NACIDo

Lugar y asistencia

• Contar con un lugar adecuado para su nacimiento, potrero de maternidad o cuadra con material limpio y seco, libre de piedras y materiales bruscos.

• Tener personal que vigile a la vaca por si tiene alguna dificultad al parir.

• A la hora del nacimiento, si la vaca no lo limpió se debe intervenir para quitar cualquier vestigio de líquido y placenta de sus fosas nasales, y secarlo estimulándolo enérgicamente.

Calostro

• Para asegurara el consumo de calostro, se ordeña la madre y da en chupón, la cantidad a suministrar es el 10% del peso corporal (razas pequeñas 2 Kg y grandes 3 Kg), lo más pronto posible, preferiblemente en las primeras 4-6 horas y se repite 6-8 horas después.

• Los primeros tres días de edad deberá tomar leche de su madre que ira diluyendo sus componentes hasta llegar a leche normal al tercer o cuarto día, de ahí en adelante seguirá consumiendo leche normal o sustituto.

• Es importante conocer la calidad del calostro, para asegurarnos que tomen una adecuada cantidad las inmunoglobulinas (transferencia pasiva de inmunidad). Para saber la calidad se puede utilizar un densímetro o calostrómetro, que al igual que un semáforo nos indicará un calostro de buena calidad (verde), intermedio (amarillo) y malo (rojo).

• Si por alguna razón (debilidad u otro factor), el ternero no mama, se podrá alimentar con una sonda esofágica, la cual debe estar limpia y desinfectada.

Banco de calostro

50 - 140 mg de Ig/ml. Alta calidad

20 - 50 mg de Ig/ml. Media calidad

<20 mg de Ig/ml. Baja calidad

• La mayoría de las vacas produce una cantidad de calostro mayor de la que necesita un ternero recién nacido. Por lo tanto, es posible almacenar el calostro sobrante de buena calidad para administrarlo a los terneros cullas madres no produzcan buen calostro.

• El calostro debe ser colectado dentro de las 2 horas luego del parto, en recipientes limpios y desinfectados, y se debe refrigerar o congelar dentro de 1 hora de obtenido.

• A simple vista, un calostro de buena calidad generalmente tiene un aspecto homogéneo, de color amarillo intenso, y sin presencia de grumos, sangre u otros elementos contaminantes. Se puede evaluar la calidad usando un densímetro o calostrómetro, teniendo la precaución que el calostro esté a 20ºC. Se considera que el calostro es de buena calidad si tiene una densidad relativa mayor a 1,050, o si flota dentro del área de lectura de color verde en aquellos densímetros que tengan esta escala.

• Es conveniente rotular el envase con marcador indeleble, indicando la fecha de obtención y la calidad si se hubiera evaluado, y el número de la vaca.

• El calostro congelado puede conservarse hasta por 1 año, siempre que no hayan ocurrido procesos de descongelado en el medio. Para usar, se entibia o descongela a baño María a no más de 60ºC para evitar la desnaturalización de las inmunoglobulinas.

78 Reemplazos Inicio

Desinfección del ombligo

• Sumergir el cordón umbilical, preferiblemente en una solución de yodo al 7% por tres días, para evitar que se introduzcan microorganismos que generen algún tipo de infección.

Identificación de los animales

• Preferiblemente con un tatuaje en la oreja izquierda ya que en la derecha irá el tatuaje de la vacuna contra brucelosis. Además del tatuaje en la oreja se puede poner un arete con el número del animal.

• Registrar el nacimiento del animal, tatuaje o arete, sexo, pesa, y estado salud. El peso se puede medir con romana o mediante una cinta de pesos.

Prevención enfermedades

• Según la incidencia de coccidios en el establecimiento, se podrá dar en la primera semana una dosis de Toltrazuril (15 mg/kg de peso equivalente a 3 ml por cada 10 kg oral) para combatir diarreas por coccideos.

- Sí en el establecimiento la incidencia de neumonías es alta, se puede vacunar contra virus respiratorio sincitial bovino.

• Opciones de protocolo partir de los 9 días de edad, la vacuna se pulveriza en cada una de las fosas nasales del animal con un aplicador intranasal, la revacunación se administra mediante inyección intramuscular 2 meses después de la vacunación inicial.

• Nota: Como parte de un manejo integral se recomienda realizar inmunización en la madre, con protocolos de vacunación que garanticen una adecuada inmunidad pasiva.

Calostro Cunas de terneras.
79 Reemplazos Inicio

CRIANZA DE REEMPLAZOS

Existen diferentes sistemas de crianza de reemplazos; ternero al pie de la vaca, crianza con vacas nodrizas, crianza artificial, entre otros. Sin embargo, el objetivo de estos sistemas debería ser el mismo, alcanzar un tamaño, peso, salud y edades adecuadas para el primer parto, esto permitirá optimizar la producción de leche.

El desarrollo de una ternera desde su nacimiento hasta que pare por primera vez sufre una gran cantidad de variantes en su desarrollo digestivo y en su capacidad para utilizar alimento, esto crea la necesidad de dividir su alimentación en etapas.

Etapa de vida Periodo de vida

1.Calostro

2.Ternera en lactancia

3. Ternera destetada

4.Novilla vacía

5. Novilla Preñada

6.Novila Pronta

De 0 días de nacidas hasta

3 – 5 días del nacimiento

De los 3 días de nacida al destete.

Destete a 8-10 meses de edad.

De los 8-10 meses de edad al primer servicio Del primer servicio a 22 días entes del parto. De 22 días antes del parto al parto.

Suministro de calostro: El calostro es el primer ordeño, después del parto. Además de su valor nutritivo, provee anticuerpos para proteger a las terneras recién nacidas de muchas infecciones. Alrededor de las 24 horas después del nacimiento las terneras pierden la habilidad para absorber anticuerpos. En las primeras ocho horas se da la mayor cantidad de absorción de anticuerpos.

Cantidad por suministrar: La recomendación general es brindar al menos 1 litro de calostro por cada 10 kg de peso vivo del animal al nacer. Si el ternero presenta dificultad al mamar, se podría dar por medio de sonda esofágica o con chupón.

2 litros después de nacida.

2 litros 12 horas después.

2 litros 24 horas después.

Continuar los siguientes 2 días dándole el calostro de la madre, 3 a 4 litros diarios divididos en dos tomas.

2- Ternera en lactancia

• Suministro dieta líquida (leche - reemplazador). Dependiendo del sistema de crianza se ofrecen en cantidades de 3 a 6 litros por animal/día. Cantidades menores causan un pobre desarrollo corporal, aunque se estimula el desarrollo ruminal. Las cantidades mayores a 4 litros causan un mayor desarrollo corporal, pero un menor desarrollo ruminal.

• Si se utilizan sustitutos de leche se recomienda en general realizar una dilución de 250 gramos del sustituto en 2 litro de agua tibia, sin embargo, se recomienda revisar la etiqueta del producto para su dilución y analizar las metas de la finca referente a la ganancia de peso diaria esperada y planificada. La temperatura ideal de ofrecer el sustituto a los animales es de 38° C.

• No se recomienda la utilización de leche de descarte con altos contenidos de patógenos ni con presencia de antibióticos en la alimentación de los reemplazos.

1- Calostro.
80 Reemplazos Inicio

Iniciador de Terneras:

Se busca en los sistemas de crianza de reemplazos un desarrollo rápido del rumen para obtener mayores ganancias de peso y un destete a menor edad. Para lograr esto, los alimentos concentrados de inicio juegan un papel determinante para logar estos objetivos.

Suministrar el iniciador de terneras a libre voluntad, varias veces al día. Este producto debe ser muy palatable y de excelente calidad.

Concentrados Dos Pinos para esta etapa: Crapid Gold, o Reemplazo Inicio.

Destete:

Algunos investigadores recomiendan que el destete se realice cuando el animal duplica su peso al nacer, mientras que otros los recomiendan cuando el consumo del alimento iniciador sea de 1 kg por día y se mantenga así por lo menos los siguientes cinco días. Cualquiera de estas premisas se puede utilizar siempre y cuando se ajusten a los objetivos y metas que se buscan en la empresa

El destete del animal debe ser paulatino evitando stress doble por cambio de lugar, destete, cambio de concentrados, cambio de lotes, etc. Se recomienda realizar en esta etapa solo un ajuste a la vez

Se busca en los sistemas de crianza de reemplazos un desarrollo rápido del rumen.

Acceso a forraje hasta el mes de edad. Según el sistema de crianza de reemplazo que se está llevando a cabo en la finca, si es posible, la inclusión de forrajes de buena calidad se debería realizar al mes de edad de los animales.

3- Ternera destetada

En esta etapa se da un crecimiento isométrico en la glándula mamaria y esta crece a una similar velocidad que el resto del cuerpo. Esta característica hace que excesivos consumos de energía produzcan infiltraciones de grasa, destruyendo la capacidad productiva de la ubre.

Este sistema de crianza presenta las siguientes características:

• Desarrollo restringido y controlado para evitar engorde y depósitos de grasa en la ubre.

• Forraje de buena calidad.

• Suministro de minerales y vitaminas.

• Suministro del concentrado: Utilice el Reemplazo Inicio del destete a los 4 meses de edad y luego puede cambiarlo a Reemplazo Desarrollo o Desarrollo de Terneras de Dos Pinos hasta los 8 a 10 meses de edad. Suministrar 2 kg/animal, dependiendo de la calidad y disponibilidad de forraje.

• Ganancias de peso recomendadas alrededor de los 700 gr/día.

Agua a libre voluntad: Esta debe ser limpia y fresca.

Reemplazos 81 Inicio

En esta etapa se da un crecimiento alómetrico en la glándula mamaria y esta crece a una mayor velocidad que el resto del cuerpo.

Esta etapa presenta las siguientes características:

• Desarrollo y crecimiento libre.

• Forraje de buena calidad.

• Suministro de alimento balanceado Reemplazo desarrollo o el Desarrollo de Terneras de 2 a 3 kg, dependiendo de calidad y disponibilidad del forraje.

• Suministro de minerales y vitaminas.

• Peso a empadre Holstein de 320-350 kg, Jersey 250-275.

• Agua disponible.

La novilla tiene un crecimiento alométrico de tal manera que el desarrollo de la ubre se asegura al estimular el desarrollo corporal de la novilla preñada.

Se caracteriza por:

• Crecimiento libre.

• Suministro de forraje de buena calidad y disponibilidad.

• Suministro de alimento balanceado Remplazo Novillas de Dos Pinos a razón de 2 a 3 kilos por animal por día.

• Empleo de minerales y vitaminas.

• La novilla ya debería haber alcanzado las metas de edad, peso y altura al primer parto que se puso como objetivo del sistema de crianza de reemplazo.

• En esta etapa, estos animales pasarían o tomarían el manejo que se tiene en la finca de los animales prontos.

Anexo

El siguiente cuadro muestra los objetivos de los posibles pesos que deberían alcanzar los animales.

4. Novilla vacía 5. Novilla Preñada 6. Novilla pronta
Nacim. 45-50% % de peso adulto 55-60% 82% 92% 100% Pubertad Servicio 1er Parto 2do Parto 3er Parto 82 Reemplazos Inicio

guía de descorné

Coloque el descornador en un balde metálico y póngalo a calentar, siempre tenga presente no dejar el descornador en lugares que puedan provocar un incendio, como heno, paja etc.

Debe usarse anestesia local, este procedimiento debe ser realizado por un Médico Veterinaria (o).

Posterior al procedimiento debe realizarse un tratamiento analgésico por 3 días mínimo.

Sujete a la ternera con el bozal, asegúrese que la cabeza y cuerpo de la ternera estén bien sujetados.

Localice los botones de cuernos a cada lado de la cabeza. Se sienten como botones pequeños y redondos. Corte el pelo alrededor del botón si es necesario para hacerlos más visibles.

El descornador debe estar muy caliente. Póngalo sobre la tabla. Si sé quema un anillo negro en la tabla inmediatamente., el descornador está listo para iniciar la labor.

• El descorne de terneras debe realizarse a las 2 a 4 semanas de edad con un descornador eléctrico. Los cuernos se quitan permanentemente del ganado para prevenir heridas a personas y a otros animales.

• Habilidades necesarias: Capacidad de sujetar la ternera, trabajar rápido y con cuidado y usar un descornador eléctrico.

• Equipo necesario: Descornador eléctrico, cable de extensión, bozal sujetador de cabeza, tijeras y un pedazo pequeño de tabla.

• Tiempo estimado: 5 minutos por ternera.

Ponga el descornador al rojo vivo firmemente sobre el botón del cuerno dando vueltas al descornador de izquierda a derecha por unos 10- 20 segundos. Cuando se forma un anillo de color cobre o café alrededor de la base del botón del cuerno se completa el descornado.

Si se cae la tapa del cuerno y está sangrando se pone el descornador de nuevo sobre el botón del cuerno para cauterizar el área y detener el sangrado.

Repetir los pasos 6 y 7 para el segundo botón del cuerno.

Poner en el balde metálico el descornador mientras se vuelve a utilizar de nuevo.

Suelte la ternera y observe su comportamiento, asegúrese de que no hay sangrado por unas 6 a 12 horas.

Se debe utilizar un spray cicatrizante posterior al tiempo de observación. Por unos 3 días.

1 2 3 4 5 6 7 8 9 10
83 Reemplazos Inicio

Protocolo descorne de terneras con Pasta

La pasta se aplica con una espátula en el nacimiento del cuerno, produce una reacción química la cual inhibe el crecimiento de este, esta acción provoca la aparición de una pequeña costra que se desprende en pocos días. Se debe realizar en terneros de 1 semana de edad.

Sujete a la ternera con el bozal, asegúrese que la cabeza y cuerpo de la ternera estén bien sujetados.

Aplicar con espátula 1.5 ml de diámetro en el área del botón. Posterior al procedimiento debe realizarse un tratamiento analgésico por 3 días mínimo.

Advertencia: Después del tratamiento los animales no deben estar expuestos a la lluvia, por lo menos durante un lapso de seis horas. Igualmente, las crías deberán separarse de las madres por 30 minutos, para evitar que se froten y se desprenda la pasta.

2 3 Reemplazos Inicio

1
Localice los botones de cuernos a cada lado de la cabeza. Se sienten como botones pequeños y redondos. Corte el pelo alrededor del botón si es necesario para hacerlos más visibles aplicar y un anillo de vaselina alrededor del aro de aplicación. 84

Instalaciones de Reemplazos

Etapa de 1 a 3 meses:

• Cunas Individuales con medidas de 1.8 m2 raza grande y 1.2 m2 raza pequeña, para que la ternera pueda ponerse en varias posiciones, preferiblemente con paredes lisas y pisos elevados; o suelo con pendiente de 2.5% y cama seca de 10cm de grosor.

• Las cunas en lugares calientes pueden ser totalmente de metal. Los pisos deben de ser antideslizantes, rejilla o alfombra, para facilitar que la ternera se pare.

• Las cunas deben de contar con dispositivos para colocar el agua, el alimento y el chupón preferiblemente móviles que faciliten el manejo y la limpieza.

• El galerón debe de estar bien ventilado para evitar concentración de olores y amoniaco, pero libre de corrientes de aire directo a las cunas.

Con una altura de 2.8 m del piso, cerrado con cedazo de metal o plástico en puertas y ventanas, para evitar entrada de pájaros e insectos (moscas).

• Todas las instalaciones deben de preservarse lo más secas posible, desnivel de suelo de 1.5%, especialmente en lugares fríos (menos de 15 C) y evitar hacerlo en madera puesto que esta absorbe humedad y es más difícil de desinfectar.

Cuarto de lavado:

• Debe de contar con pila de lavado preferiblemente de acero y con zona o estantes de secado y escurrido.

• El piso debe de tener un desnivel del 2% para facilitar el drenaje. También debe de tener una repisa o estante para productos químicos y lo utensilios.

Cuarto de almacenamiento:

• Debe de ser un lugar ventilado seco con cedazo en puertas y ventanas, seco con drenaje de 2%. Una altura de 2.8 m del piso con suficiente espacio para almacenar el alimento balanceado (tarima de plástico), reemplazador de leche, congelador para el banco de calostro, cocinita y estante de utensilios.

Etapa de 3 a 6 meses:

• Corraletas que tenga de 1.8 a 3 m2 por animal.

• El espacio de comedero debe de ser de 30.5 cm por animal.

• El espacio de bebedero de 60 cm por cada 5 animales.

• En estas corraletas se debe de poner heniles móviles que faciliten manejo y limpieza.

• La inclinación de piso debe de ser de 1.5% para que se dé un buen drenaje y facilita la limpieza.

• Debe de contar con área de echadero con cama de 10 cm de grosor si es de burucha o con alfombras de hule.

Etapa de 6 meses en adelante:

• Se debe de contar con apartos de rotación según pasto utilizado y topografía de oscilar entre 45 a 55 m2 por ternera por día.

• Contar con bebedero 60 cm por cada 5 animales y comederos 30.5 a 40 cm de espacio por animal. Ya en etapas avanzadas se pueden utilizar los cepos de alimentación de las vacas.

85 Reemplazos Inicio

GUíA DE ENFERMEDADES EN TERNEROS

Los rumiantes por su tipo de placenta tienen un impedimento de pasaje de anticuerpos maternos al feto, por lo que nacen con una baja inmunidad, la toma de calostro es determinante para su desarrollo y su capacidad de afrontar enfermedades, sin embargo, otros pilares importantes a considerar para una importante prevención de enfermedades se basan en:

• Nutrición balanceada.

• Adecuado medio ambiente y manejo.

• Uso correcto de vacunas.

• Control de parásitos.

Terneros con manejos deficientes pueden sufrir afecciones de tipo digestivo, respiratorio, articulares, entre otros.

Desarrollo

Parásitos gastrointestinales: varias especies de parásito pueden provocar alteraciones en el tracto digestivo o pulmonar, debiéndose desparasitar los animales con productos de amplio espectro y poder residual, a continuación, se demuestra protocolo general de desparasitación que toda lechería debería de llevar, para evitar infecciones causadas por parásitos:

Monitoreo Monitoreo Monitoreo
86 Reemplazos Inicio
Cortesía: Dra. Mariana Vargas Muñoz, técnico promotor de ventas MSD.

Infecciones por Coccidia: son protozoarios, colonizan el intestino, los animales son susceptibles, cuando son sometidos a stress, cambios de dieta, hacinamiento. El cuadro clínico se caracteriza por diarrea, deshidratación, anemia y muerte. La fuente de contaminación es materia fecal de animales enfermos o portadores, que contaminan el agua de bebida y alimento.

La prevención es mediante la adición a la ración de ionósforos cuya dosis es variable para cada droga.

Infecciones por Clostridium: Los Clostridium se encuentran normalmente en el tracto gastrointestinal del ganado, generalmente, la enfermedad se presenta cuando un cambio permite que el crecimiento de estas bacterias incremente repentinamente; pobre digestibilidad, cambios meteorológicos, son alguno de los factores asociados a estos incrementos, los Clostridium spp generalmente causan toxinas que afectan a los tejidos circulantes.

Síntomas:

• Inapetencia.

• Depresión.

• Diarrea sanguinolenta.

• Muerte (es muy común ya que Clostridium tiene un curso agudo).

• Protocolo de vacunación de la imagen aplica únicamente para Covexin® 10, vacuna única de aplicación anual.

• Los Almacenes AV de Dos Pinos poseen diversos tipos de vacuna contra agente Clostridium, consulte en su AV más cercano por los diferentes protocolos.

Prevención mediante la vacunación como el que se demuestra en la siguiente imagen:

6-12 meses

No vacunadas
2 Semanas
Revacunación
vacunadas
Primovacunación 1° dosis 2° dosis 1° dosis
8-12 Semanas Posteriormente vacunación anual. 12-16 Semanas
6 Semanas
4-6 Semanas
87 Reemplazos Inicio

Diarreas en terneros

Agente Edad más crítica Signos Tratamiento

E. coli

Primeros 3 días.

Heces acuosas, color amarillo a café.

Vacunación de vacas secas Ingesta de calostro. Trimetropim sulfa.

Enfermedades asociadas a respiratorio

Salmonella

Entre 5 y 14 días.

Heces líquidas y con abundante moco, a veces con sangre.

Amoxicilina, Ceftoifur, Trimetropim sulfa, Tetraciclina, Gentamicina, Estreptomicina, Azitromicina, Cloranfenicol Evaluar resistencia .

Rinotraqueitis Infecciosa Bovina (IBR): Puede presentar diversos cuadros clínicos: respiratorios, digestivos, nerviosos, oculares, etc.

Clostridium

C occidio

Cryptosporidium Nemátodos, cestodos2 y tremátodos

Menos de 10 a 14 días.

Desde los 7 días hasta los 4-6 meses.

Desde los 21 días de vida.

Desde 1 mes de vida en adelante.

Muerte súbita, heces con sangre.

Heces líquidas con sangre.

Heces de pastosas a líquidas de color amarilla.

Heces de pastosas a líquidas.

Vacunación: Covexin® 10.

Diclazuril y Toltrazurilo Sulfas: Gorban®.

Suele ser autolimitante y se recuperan entre 5 a 10 días.

Evitar deshidratación.

Benzimidazoles: Panacur® Lactonas macrociclicas: Solution®.

1: siempre acompañado de hidratación

2: solo Panacur® dosis de 10mg/kg0

Diarrea Viral Bovina (BVD): También de origen vírico con una amplia gama de manifestaciones traducidas en los terneros con trastornos digestivos, respiratorios, inmunodepresión, como también la presencia de animales con infecciones persistentes que eliminan el virus de por vida y son el reservorio de sostén de la enfermedad en la población.

Diarrea Viral Bovina (DVB): Es una infección del ganado bovino causada por un pestivirus que presenta varias formas clínicas, desde casos subclínicos a casos agudos que pueden provocar abortos, infertilidad, inmunosupresión y, de forma más espectacular, la enfermedad de las mucosas que es mortal

88 Reemplazos Inicio
Ternero con diarrea.

Enfermedad del Complejo Respiratorio

En este complejo respiratorio pueden estar involucrados los virus anteriormente mencionados (IBR y BVD), como otros, entre los más difundidos se conoce el virus denominado Parainfluenza 3 (PI3), que bajo circunstancias de estrés abren la vía para asociarse a otros microorganismos, entre los cuales el de mayor incidencia lo constituyen las Pasteurellas sp.

1° Dosis Vaca seca Primovacunación

1° Dosis Vaca Pronta Revacunación

2° Dosis Vaca Pronta Primovacunación

1° Dosis 2 meses Hijo de madre vacunada

2° Dosis 3 meses Hijo de madre vacunada

Refuerzo Novilla Antes de Monta

1° Dosis 15 días Hijo de madre NO vacunada

2° Dosis 45 Días Hijo de madre NO vacunada

Agente Edad más crítica Signos

Recién nacidos.

Tratamiento

Entre 6 meses y 2 años.

Raro en animales de menos de 6 meses, sin embargo puede afectar desde recién nacidos.

Al destete y/o transporte.

Tos seca y persistente, exudado nasal claro por ambos ollares. Puede estar acompañado de pérdida de apetito y diarrea.

Complejo respiratorio, predispone a otras infecciones virales y bacterianas.

Tratar síntomas. florfenicol Analgésicos expectorante.

Respiración rápida y superficial, tos leve. Secreción nasal y ocular que puede ser acuosa o purulenta, incluso con restos de sangre.

Mejor es prevenir con vacunación de Nasym.

89 Reemplazos Inicio

La prevención de estas enfermedades vírales es mediante el uso de vacunas polivalentes, las que están compuestas por dichos virus más la asociación de bacteria, las mismas ahorran tiempo con buenos resultados y de bajos costos, los protocolos son los siguientes según algunas casas farmacéuticas: IBR DVB
Complejo respiratorio
Cortesía: Carlos Gamboa, Técnico promotor de Virbac.

anexos

Bitácora de mantenimiento de instalaciones

Revisar a detalle cada cambio de estación, es decir a la entrada de la estación lluviosa y principios de la época seca.

Aspecto Inconformidades Conformidad

Limpieza de bajantes y canoas.

Presencia de hojarasca, musgo u otros objetos que detenga el paso del agua.

Reparación, limpieza y repintura de techo. Presencia de goteras, material corroído en la estructura metálica, musgo u hojarasca.

Reparación, reemplazo y repintura de estructuras de metal.

Presencia de material corroído en la estructura metálica o extremos punzocortantes.

Luminosidad. Presencia de un 10% de bombillos quemados, láminas plásticas de techo limpias.

Reparación de instalaciones eléctricas.

Reparación y limpieza de comederos.

Reparación y limpieza de bebederos.

Presencia de cables rotos o sin aislante de protección, cuchillas o breakers en mal estado o sucios, conexiones de cables y de tierras en buen estado.

Presencia de suciedad por material descompuesto por el tiempo, cerámica mal fraguada o con presencia de extremos punzocortantes, presencia de concreto destruido o piedras.

Presencia de suciedad por materiales descompuestos, algas o musgo, boyas o tubos en mal estado, erosión de concreto o grietas, cerámica mal fraguada, plástico agrietado.

Reparación y limpieza de pisos. Presencia de suciedad como musgo, algas o cualquier otro material que favorezca al deslizamiento del animal, pisos erosionados con concretos agrietados o huecos, encharcamientos de agua por mal desnivel.

Recambio de camas. Camas de aserrín, arena o granza con presencia de más de un 15% de excretas. Camas de hule sin deformidades o agrietamientos, con capacidad antideslizante (sin desgaste aparente). Camas de invernaderos con más del 50% del material en excretas.

Reparación y limpieza de cañerías de excretas.

Reparación y limpieza de cañerías de agua para consumo animal.

Reparación y limpieza de sistemas de ventilación

Presencia de mal desagüe por atascamiento de cañerías o filtros de sólidos, presencia de material que se sale del cauce por material aterrado o grietas en tubos o cemento.

Presencia de fugas de agua, llaves de paso en mal estado, presencia de algas o musgos en tubos.

Presencia de ventiladores en mal estado de funcionamiento o algunos de sus componentes que afecten el buen desempeño de este. Presencia de corrosión. Presencia de suciedad por polvo, material de insectos, entre otros.

Sin presencia de ningún tipo de material.

Sin presencia de ningún tipo de corrosión, suciedad o gotera.

Sin presencia de corrosión o extremos punzocortantes que atenten con el bienestar animal.

Sin presencia de bombillos quemados, láminas de plástico limpias.

Cables en buen estado, conexiones de cables y tierras en buen estado, cuchillas o breakers limpios y en buen estado.

Comederos limpios, sin ningún tipo de inconsistencia en fragua, erosión del material o extremos punzocortantes.

Bebederos limpios y en buen estado sin ningún tipo de daño estructural como grietas, erosión de cemento o cerámica mal fraguada o plástico agrietado.

Sin presencia de grietas o huecos en concretos, pisos limpios, sin encharcamientos.

Camas limpias, hules sin deformidades o grietas. Capacidad antideslizante correcta, sin desgaste en hule.

Sin presencia de atascamientos y con facilidad de cauce.

Sin presencia de fugas en el sistema de cañería, sin presencia de algas o musgos en tubería.

Sin presencia de suciedad, corrosión y en perfecto funcionamiento.

91 anexos Inicio

Bitácora de mantenimiento de instalaciones

Fecha: __________________

INCONFORME ASPECTO CONFORME

Limpieza de bajantes y canoas.

Reparación, limpieza y repintura de techo.

Reparación, reemplazo y repintura de estructuras de metal.

Luminosidad.

Reparación de instalaciones eléctricas.

Reparación y limpieza de comederos.

Reparación y limpieza de bebederos.

Reparación y limpieza de pisos.

Recambio de camas.

Reparación y limpieza de cañerías de excretas.

Reparación y limpieza de cañerías de agua para consumo animal.

Reparación y limpieza de sistemas de ventilación.

anexos 92 anexos
Inicio

Bitácora de manejo de alimentos

ALIMENTO EN SACO O BOLSAS

Alimento Unidades Cantidad Fecha ingreso Fecha inicio Fecha finalización

ALIMENTO A GRANEL

Alimento Unidades Cantidad Fecha ingreso Fecha inicio Fecha finalización

93 anexos
Inicio

Cliente:

# Animal: Síntomas

Ficha médica veterinaria

FICHA MÉDICA VETERINARIA BITACORA DE TRATAMIENTOS

Finca:

Fecha:

Diagnóstico presuntivo

Diagnóstico definitivo Tratamiento

Días de retiro en leche:

Observaciones:

FECHA # ANIMAL PADECIMIENTO NOMBRE PRODUCTO DOSIS DÍA 1 DÍA 2 DÍA 3 DÍA 4 DÍA 5 DÍAS DE RETIRO TIPO DE TRATAMIENTO 94 anexos
Inicio

Cuaderno de registros

PARTOS Y ABORTOS SERVICIOS

95
#Vaca Fecha Sexo cría # cria Padre Otro Número de vaca Fecha de servicio Toro Lote otro
anexos
Inicio

Cuaderno de registros

DESCARTE, MORTALIDAD Y VENTA SECADOS

96
Vaca Fecha Producto Comentario Sexo Tipo de salida # Animal Fecha salida Razón de salida Destino Otro
anexos
Inicio

ENFERMEDAD

Vaca Fecha Enfermedad Tratamiento y otros

BITÁCORA: SACRIFICIO Y DISPOSICIÓN DE CADÁVERES

Nombre de la Finca:

Número de entrega: Código Sirea:

Fecha

Animal

Responsable

Método para desecho de cadáver anexos 97 Inicio

Diagnóstico Presuntivo de Mortalidad

Turn static files into dynamic content formats.

Create a flipbook
Issuu converts static files into: digital portfolios, online yearbooks, online catalogs, digital photo albums and more. Sign up and create your flipbook.
Bienestar animal by Almacenes AV - Issuu