

SAMPLE EXAM PAPERS
BASED ON THE NEW SUBJECT SPECIFICATION FOR LEAVING CERTIFICATE



• 4 SEC Sample Papers (2 Higher and 2 Ordinary)
• 12 4schools Sample Papers (8 Higher and 4 Ordinary)
• Student Guide to the Exam
• Full-colour papers to reflect the SEC exams
Published by 4schools
89F Lagan Road, Dublin Industrial Estate, Glasnevin, Dublin 11, D11 F98N, Republic of Ireland.
T: ++ 353 1 8081494 - E: info@4schools.ie
SAMPLE
ISBN 978-1-918341-04-1
All rights reserved. No part of this publication may be reproduced or transmitted in any form or by any means, including photocopying and recording, without the publisher’s written permission. Such written permission must also be obtained before any part of this publication is stored in a retrieval system of any nature. Permission requests should be directed to 4schools.
As of the time of publication, all web addresses listed were active and contained information relevant to the topics discussed in this book. 4schools does not accept responsibility for the content or opinions expressed on these websites and videos. Please note that the content, views, and web addresses may change, which is beyond the control of the publisher or the author. Students should always be supervised when reviewing websites and videos.
4schools has attempted to contact all proprietors of images, texts and graphics included in this book. Proprietors we were unable to reach are requested to contact us. We would be happy to make the necessary arrangements at the first opportunity.
Introduction
PHYSICS


SAMPLE


These sample papers are designed to replicate the style, structure and assessment approach signalled by the official State Examinations Commission sample papers. The sample papers aim to assess all the learning outcomes from the new specifications.
The structured questions and well-designed marking schemes will assist the student’s critical thinking and problem-solving skills and assess the student’s understanding of scientific principles underlying the solutions to inquiry questions and problems posed in investigations.
Learning Outcomes Chart Higher Level Papers
Strand 1: Forces and Motion
Particle motion in a straight
Stretching and compressing objects
A
Uniform circular motionQ1(c) (ii)
Strand 2: Wave Motion and Energy Transfer
and temperature change
Travelling waves as models of disturbances transferring energy without transferring matter
Wave behaviour caused by the interaction of waves with their environment
Electromagnetic energy
Sound Energy
Q1(a) Q5 (a)Q1(c)
Q1(e) (ii) Q7(b)
Q1 (c)
(c) Q7 (a), (b) Q1 (f) (i) Q3(a) (i), (ii),(iii)
Q4 (b)Q1 (a), (e) Q3
Q1 (b)Q4 (a) (iii), (iv), (v)
Q1 (b) (i)
Q1 (b)
(b)
Q7 (b) Q1 (e) (i) Q1 (c) (i)
Q1(b) (ii)
Principle of superposition of waves Q1 (a) (i), (ii) Q7(a)Q4 (b) (iii) Q1 (b) Q7 (c), (d), Q7 (a)Q1 (d), Q3 (b)
SAMPLE
Wave effects
Q2 (b)
Q1 (e) (ii)
Q7 (e)Q6 (b) Q3 (a)
Q3 (a)
Coimisiún na Scrúduithe Stáit
State Examinations Commission
Leaving Certificate Examination
Sample 1 Physics
Higher Level
2 hours 30 minutes
300 marks 2027L021A1ES1
Instructions
There are seven questions on this examination paper. Each question carries 50 marks. Answer Question 1 and any five other questions.
Write your Examination Number and your Day, Month and Year of Birth in the boxes on the front cover.
Write your answers in blue or black pen. You may use pencil for sketches, graphs and diagrams only. This examination booklet will be scanned and your work will be presented to an examiner on screen. All of your work should be presented in the answer areas, or on the given graphs, or diagrams. Anything that you write outside of the answer areas may not be seen by the examiner.
You are not required to use all the space provided. There is space for extra work at the back of the booklet. If you need to use it, label any extra work clearly with the question number and part.
The superintendent will give you a copy of the Formulae and Tables booklet. You must return it at the end of the examination. You are not allowed to bring your own copy into the examination.
Data from the Formulae and Tables booklet, including but not limited to fundamental physical constants, particle physics data and electrical circuit symbols should be used wherever necessary.
You may lose marks if your solutions do not include relevant supporting work. You may lose marks if the appropriate units of measurement are not included, where relevant.
Write the make and model of your calculator(s) here:
Question 1
(a) The model of light as a wave helped to improve our understanding of mirrors and lenses.
(i) Students labelled A, X, B, C, D and E stand in front of a mirror as shown.
(a) Identify which of these students can be seen reflected in the mirror by student X. Draw a circle around each letter that applies.
(b) Justify your answer by drawing the appropriate rays on the diagram.







mirror approximate image distance: ________
(iii) Identify three changes to the image if the object was placed 5 cm in front of the lens.
SAMPLE
(ii) An object is placed 30 cm in front of a convex lens of focal length 10 cm. By choosing a suitable scale, draw a ray di agram below to determine an approximate image distance.
(b) Components in electrical circuits can be arranged in series or in parallel.
(i) Calculate the effective resistance of the arrangement of the resistors shown below.
Leaving Cer cate Examina on – Sample Paper 1 4
The following three diagrams show three different circuits. All the bulbs and batteries are identical.
(ii) Circle the bulb(s) that the least amount of current flows through. Justify your answer.
Justification
(c) Vectors are one way to model the forces acting on an object.
(i) Compare vector and scalar quantities by stating one similarity and one difference between them.
SAMPLE
Leaving Cer cate Examina on – Sample Paper 1 5 Physics – Higher Level
The image shows a basic sketch used to model a roller coaster’s path as it travels around a vertical loop with a constant speed v.


(ii) Ignoring the effects of friction, draw labelled vectors on the diagram to represent the forces acting on the car when it is at (a) the bottom of the loop, (b) the top of the loop.
(iii) A person stands in a lift. The total mass of the person and the lift is 800 kg. The lift accelerates upwards at 1.5 m s–2.
Calculate the tension in the cable.
acceleration due to gravity, g = 9.8 m s–2
Leaving Cer cate Examina on – Sample Paper 1 6 Physics – Higher Level
acceleration = 1.5 m s–2
(d) The gravitational field strength g at the surface of the Earth is gsurface = 9.81 N kg–1. This is partly due to the radius of the Earth, which is approximately 6378 km.
(i) Calculate the value of the gravitational field strength at a height of 900 km above the surface of the Earth.
(ii) Calculate the escape velocity at this height.
SAMPLE
Leaving Cer cate Examina on – Sample Paper 1 7 Physics – Higher Level
(iii) The mass of a rocket can be over 7 × 105 kg.
(a) Predict how the mass of a rocket affects its escape velocity.
(b) Justify your answer.
Prediction

Justification


(iv) Rockets are launched at the Kennedy Space Center in Florida, which is roughly at sea level. Suggest a reason why Kennedy Space Centre was not built at a height of 900 km above the surface of the earth.
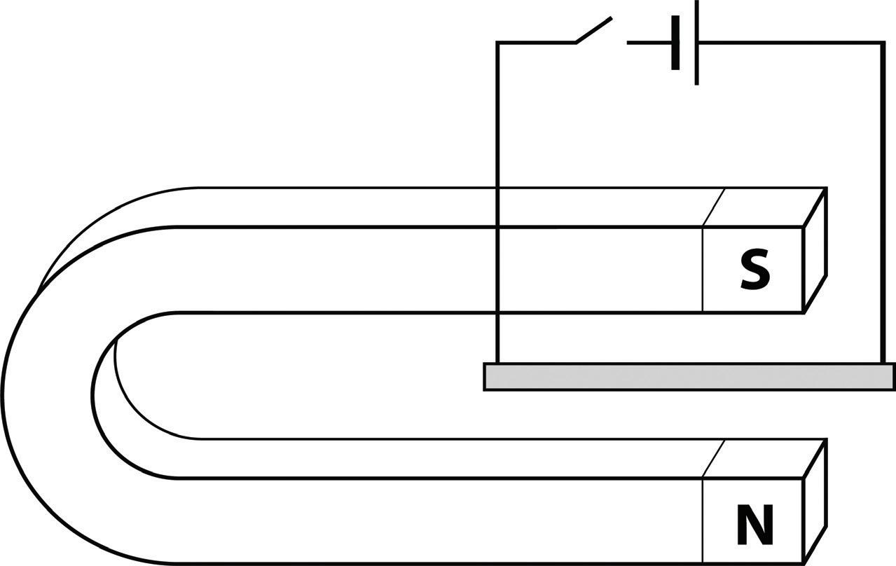
(e) The image shows a solenoid which has a direct current entering it in the direction indicated by the arrow.
(i) Sketch, on the diagram below, the magnetic field that will be generated by the current I as it flows in the solenoid.

(ii) Draw a in one box only to complete the statement. As the current exits the solenoid its magnitude is lower the same varying higher
(iii) Identify two ways of increasing the magnetic field around the solenoid.
Cer cate Examina on – Sample Paper 1 8
(f) Given the mass of a Cu–63 nucleus is 1.04471 × 10–25 kg, calculate the binding energy of Cu–63.
Leaving Cer cate Examina on – Sample Paper 1 9 Physics – Higher Level
Question 2
(a) A student carried out an experiment to inve stigate the relationship between the current I flowing through and the voltage V across a filament bulb.
(i) Draw a circuit diagram to show how the student could have recorded the different measurements of current and voltage.
Using graphing software, the student plotted their data points and included error bars to represent the error in the I values. They used the software to develop the following mathematical model of the data and adde d the curve to the plotted data points.








(ii) (a) Use the student’s mathematical model to determine, as accurately as possible, the difference between the value their model predicts for the current at a potential difference of 2.5 V and the actual value the student obtained.
(b) Use the data point and error bar plotted by the student to estimate the range of current values the student would accept when the voltage V is 2.5 V.
SAMPLE
In the conclusion of their report the student made the following comment. “The mathematical model accurately predicts the current through the filament bulb for voltages from 0 V to 3.5 V.”
(c) Evaluate this claim by investigating separate data points and comparing them to the values predicted by the student’s mathematical model.
Leaving Cer cate Examina on – Sample Paper 1 11
(iii) Explain, with reference to the free electrons in the filament, why the current flowing through the wire filament is not directly proportional to the potential difference. Use diagrams and/or words in your answer.
(b) Light emitting diodes (LEDs) are a more efficient source of light than filament bulbs. They can range from 80% to 90% efficient.
(i) Identify the LED that is in forward bias. Draw a in one box only.


An LED is in forward bias, and energy is emitted as photons of light. This happens as electrons lose energy and fill holes.
A particular LED emits photons of wavelength 650 nm. There is a potential difference of 2.1 V across it and a current of 20 mA flowing through it. The LED has an efficiency of 81%.
(ii) (a) Calculate the energy lost by an electron as it fills a hole.
SAMPLE
(b) Calculate the number of photons that the LED emits each second.
(c) The student decides to use LEDs to make a light for their bicycle. They want to use energy from the rotating wheels to generate the requi red voltage. The following simplified diagram models the generator they plan to develop.


The central magnet is rotated by the bicycle wheel.
(i) Identify when the magnetic flux through the coils is at its greatest. Draw a in one box only. Justify your answer.


SAMPLE
Justification




(ii) The magnetic flux density affecting a coil changes by 0.278 T in 0.017 s. The area of the coil is 225 mm2. The coil consists of 800 turns of wire. Calculate the EMF induced in the coil.
Leaving Cer cate Examina on – Sample Paper 1 14 Physics – Higher Level
Question 3
Sustainability is finding the balance between human needs and nature's resources to ensure a healthy future for all.
On average in Ireland, heating accounts for a large part of a home’s utility bills.
(i) State three types of heat transfer.
(ii) Describe how heat could be lost from a building through each method of heat transfer. A diagram may help your answer.
Insulation techniques are used to improve the U-value of a structure.
(iii) Explain what is meant by U-value.
SAMPLE
A homeowner follows advice to upgrade both of their external doors. Each door has dimensions 1981 mm × 838 mm. The upgrade changes the average U-value of the doors from a poor U-value rating of 3.03 W m–2 K–1 to a very good U-value rating of 1.40 W m –2 K–1.
The homeowner keeps the internal temperature of the house at a constant 18 °C.
(iv) Calculate the maximum energy that could be saved per hour when the external temperature is –1 °C.
SAMPLE
To further reduce energy costs the homeowner insta lls a system of 10 solar panels with a total area of 3.5 m2. Each solar panel has a power rating of 300 W. Electricity supply companies measure energy in kilowatt-hours (kWh). The system generates a total of 4.3 kilowatt–hours of electrical energy over an 8 hour period when the average solar irradiance falling on them is 812 W m–2 (v) Convert 4.3 kilowatt–hours to joules.
(vi) Calculate the average power per unit area generated by the solar panels over the 8 hour period.
(vii) Calculate the percentage efficiency of the system’s ability to convert energy from the sun into electrical energy over the 8 hour period.
(viii) Calculate the maximum mass of water that can be heated from 10 C to 65 C using the energy generated by the solar panels over the 8 hour period. specific heat capacity of water = 4180 J kg–1 K–1
(ix) Suggest two reasons that would explain why the actual mass of water heated could be less than the maximum.
(x) Over the 8 hour period the average solar irradiance value is 812 W m–2 Draw a in one box only to complete the statement below. Over the 8 hour period the actual solar irradiance value is lower the same varying higher
Leaving Cer cate Examina on – Sample Paper 1 17 Physics – Higher Level
Question 4
(a) A student conducted an experiment to verify H ooke’s law and to investigate the relationship between the force F applied to and the extension s of a spring. They plotted their data as shown.
(i) State a limit to the model, developed by Hooke, relating the extension of a spring to the force applied.
(ii) Draw the line of best fit on the graph to show that Hooke’s law is verified by the data.
(iii) Using your line of best fit, calculate the spring constant k for the spring.
In general, the work done in stretching a spring can be modelled by the area under the best fit line of the graph as shown below.

(iv) Deduce a mathematical model relating the work done, in stretching a spring, to the force F and the extension ���� .
(v) Hence, using Hooke’s law, verify that the elastic potential energy of the spring can be modelled, in terms of the spring constant k and the extension ���� , by the formula Ep = ½ ks2
SAMPLE
Leaving Cer cate Examina on – Sample Paper 1 19 Physics – Higher Level
The experiment was extended to investigate the compression and extension of a metal spring. A student set up the apparatus as shown below. The equilibrium length of the mass and spring system was recorded. The mass was raised a littl e and then released. They used data logger software to graph the displacement of the mass against time after it was released as shown.
motion sensor connected to data logger spring mass
(vi) Suggest a reason that the amplitude decreases over time.
SAMPLE
Leaving Cer cate Examina on – Sample Paper 1 20
(b) An ideal spring is a theoretical model of a spring that obeys Hooke’s law perfectly. The diagram below shows different positions of a mass which is oscillating vertically at the end of an ideal spring. B represents the mass at its equilibrium position. A and C represent the mass at the maximum displacements from the equilibrium position.

(i) Study the positions A, B and C and the statements in the table below. Draw a to identify the position(s) for which each statement is always true for an ideal spring.
Statement
The mass has maximum velocity. The mass has maximum acceleration.
The mass has maximum gravitational potential energy. The spring has maximum elastic potential energy.
SAMPLE
Leaving Cer cate Examina on – Sample Paper 1 21 Physics – Higher Level
A B C
A B C
The line on the graph below shows how the total potential energy varies with displacement from its equilibrium position for an ideal mass and spring system.
(ii) On the same axes, draw labelled lines to show how (a) the kinetic energy varies with displacement, (b) the total energy varies with displacement.
(iii) Using the graph, calculate the spring constant of the spring.
SAMPLE
(iv) The magnitude of the mass is doubled and it oscillates with the same amplitude. Draw a in one box only to complete the statement below.
The maximum elastic potential energy stored in the spring will be lower the same varying higher
SAMPLE
Leaving Cer cate Examina on – Sample Paper 1 23 Physics – Higher Level
Question 5
(a) Physicists studying the photoelectric effect, at the turn of the 20 th century, contributed to the understanding of the struct ure and behaviour of atoms.
The diagram below shows two parallel plates, X and Y, in an evacuated glass tube connected in a circuit.
Blue light is incident on plate X. The separation between the plates is 70 mm.




(i) (a) Explain what is meant by the photoelectric effect. (b) State a practical application of the photoelectric effect.
(ii) Sketch the electric field created between plates X and Y on the diagram below.


(iii) The variable resistor is adjusted such that the potential difference across the plates is 0.5 V. Calculate the increase in kinetic energy of the electrons as they move from plate X to plate Y
The graph below plots the variation in the kinetic energy Ek of the electrons against the displacement s from plate X.
(iv) (a) By drawing on the graph, show how the graph can be used to estimate the increase in kinetic energy of the electrons as they move from plate X to plate Y.
(b) Explain the significance of the intercept value on the graph.
The blue light incident on plate X has a frequency of 630 THz. Plate X has a work function of 2.14 eV, where 1 eV = 1.602 × 10–19 J.
(v) Calculate the maximum kinetic energy of the electrons in the glass tube.
The terminals of the battery are reversed, and the variable resistor is adjusted until the ammeter has a reading of 0 A. The blue light is still incident on plate X.
(vi) Predict the effect, if any, on the path of the electrons in the glass tube.
Leaving Cer cate Examina on – Sample Paper 1 25
(b) A metal plate with threshold frequency ����� has electromagnetic radiation of frequency ���� incident on it. The frequency ���� and the intensity Iof the radiation landing on the plate can be varied.
(i) Draw velocity vectors on the diagrams below, if appropriate, to represent the approximate relative magnitude of the electrons’ velocities. The electrons are represented by .


= ����� Intensity = I


= 2�����


= I
= 5����� Intensity = I


= 5����� Intensity = 2I
(c) Models of the atom were modified as research progressed. Thompson, Rutherford and Bohr each proposed a new model of the atom based on experimental results.
(i) Compare, with the aid of labelled diagrams, two differences between Thompson’s model and Rutherford’s model.
SAMPLE
Bohr’s model built on Rutherford’s to explain emission line spectra.
The energy values of the first four energy levels in a hydrogen atom are given below, and four electron transitions are shown labelled A, B, C and D
n = 4, E4 = –1.28 × 10–19 J

n = 3, E3 = –2.27 × 10–19 J

n = 2, E2 = –5.11 × 10–19 J





n = 1, E1 = –2.04 × 10–18 J
(ii) Rank each transition from the shortest to the longest wavelength λof photons emitted, by writing the appropriate letter A, B, C or D in each box. Diagram is not drawn to scale.
SAMPLE
Leaving Cer cate Examina on – Sample Paper 1 27 Physics – Higher Level
Question 6
(a) The diagram below shows a microwave transmitter and receiver apparatus used to study many aspects of wave behaviour. This particular arrangement is a modern reproduction of the famous Young’s slits experiment carried out at the start of the 19 th century.




(i) Explain what is meant by diffraction.
(ii) Explain how the microwaves produce the output recorded by the receiver as it is moved along the dashed path. Use diagrams and/or words in your answer.
The wavelength of the microwaves is 29.98 mm and the distance between the centres of the two gaps between the metal plates is 9 cm.
(iii) Calculate the distance between the two second order ( n = 2) peaks shown in the diagram.
(iv) Calculate the maximum number of peaks that microwaves of this wavelength could generate.
The metal plates are removed and the wire grids shown are put in between the transmitter and receiver. When both wire grids are aligned vertically, the meter registers a reading.
However, if one of the wire grids is rotated until the bars are horizontal, then the meter does not register a reading.
(v) Suggest one possible reason for this.

(b) The following circuit is used to demonstrat e the action of a transistor as a switch.
(i) Describe how the circuit can be used to demons trate how the transistor can act as a switch to turn on and off the LED.
(ii) A student wants to use a transistor, fixed resistor s and an LDR to create a circuit so that an LED switches on when the LDR is in the dark. Complete the circuit below by drawing appropriate circuit symbols in the spaces provided.
SAMPLE

In the circuit below the LED does not switch on until the voltage drop across the cold thermistor is 2 V.
Graph showing resistance against temperature for the thermistor

(iii) Use the circuit diagram and the graph provided to estimate the minimum temperature at which the LED switches on.
Leaving Cer cate Examina on – Sample Paper 1 31
Question 7
(a) The following diagram models the electric field surrounding the two point charges, Q1 and Q2


(i) Explain what is meant by an electric field.
(ii) Identify the type of charges on each by drawing a in the appropriate boxes.
(iii) Which charge Q1 or Q2 has the largest magnitude? Justify your answer.
Answer

Justification

The following diagram is a magnified section of the field near Q2.
(iv) Insert the letters of the points into the boxes below to rank, from weakest to strongest, the electric field at the points labelled m, n, o and p.




(v) The force on the charge Q1 has a magnitude F
The magnitude of the charge, Q2, is doubled and the distance between the charges is tripled.
Identify which of the following expressions gives the magnitude of the new force on Q1
Draw a in one box only.
(vi) Describe, with the aid of a labelled diagram, how an insulated metal sphere can be given a positive charge by induction.
(vii) Two identical metal spheres with a diameter of 7 cm are oppositely charged with a magnitude of 6 nC each. They are held so that the electric field strength mid-way between the two spheres is 5 kN C–1
Calculate the minimum distance between the surfaces of the two spheres.
(b) During a beta decay, a neutron decays into a proton and an electron. The electron is emitted at high speed from the nucleus, and the proton stays in the nucleus. An example of this is when a carbon–14 (C–14) nucleus decays into a nitrogen–14 (N–14) nucleus.
(i) Write a nuclear equation to represent this beta decay of C–14.
SAMPLE
Assume that the carbon nucleus is at rest th e instant that the beta decay process begins.
(ii) State why the electron travels at a higher speed than the nitrogen nucleus.
Radio-carbon dating can be used to approximate the age of historical finds. A skeleton is found to have 3.125% of its original amount of carbon–14 remaining.
The half-life of C–14 is 5730 years.
(iii) Calculate the approximate age of the skeleton that was found.
The activity of the C–14 in the skeleton is 115 Bq.
(iv) Calculate the number of C–14 nuclei undecayed in the skeleton.
Page for extra work.
Label any extra work clearly with the question number and part.
SAMPLE
Page for extra work.
Label any extra work clearly with the question number and part.
SAMPLE
Page for extra work.
Label any extra work clearly with the question number and part.
SAMPLE
Page for extra work.
Label any extra work clearly with the question number and part.
SAMPLE
Page for extra work.
Label any extra work clearly with the question number and part.
SAMPLE
Page for extra work.
Label any extra work clearly with the question number and part.
SAMPLE
Page for extra work.
Label any extra work clearly with the question number and part.
SAMPLE
Acknowledgements
Images
Images on page 8: wheninyourstate.com; State Examina ons Commisssion
Image on page 21: phet.colorado.edu/sims
Images on page 29: arborsci.com
SAMPLE
Do not write on this page
Copyright notice
This examination paper may contain text or images for which the State Examinations Commission is not the copyright owner, and which may have been adapted, for the purpose of assessment, without the authors’ prior consent. This examination paper has been prepared in accordance with section 53(5) of the Copyright and Related Rights Act, 2000. Any subsequent use for a purpose other than the intended purpose is not authorised. The Commission does not accept liability for any infringement of third-party rights arising from unauthorised distribution or use of this examination paper.
Leaving Certificate Examination – Higher Level
SAMPLE
Physics
Sample 1
2 hours 30 minutes
Leaving Certificate Examination
Sample A Physics
Higher Level
2 hours 30 minutes 300 marks
Examination Number
Date of Birth For example, 3rd February 2005 is entered as 03 02 05
Centre Stamp
You can download this paper’s marking scheme by scanning the QR code:

Instructions
There are seven questions on this examination paper. Each question carries 50 marks.
Answer Question 1 and any five other questions.
Write your answers in blue or black pen. You may use pencil for sketches, graphs and diagrams only.
This examination booklet will be scanned and your work will be presented to an examiner on screen. All of your work should be presented in the answer areas, or on the given graphs, or diagrams. Anything that you write outside of the answer areas may not be seen by the examiner.
You are not required to use all the space provided. There is space for extra work at the back of the booklet. If you need to use it, label any extra work clearly with the question number and part.
The superintendent will give you a copy of the Formulae and Tables booklet. You must return it at the end of the examination. You are not allowed to bring your own copy into the examination.
Data from the Formulae and Tables booklet, including but not limited to fundamental physical constants, particle physics data and electrical circuit symbols should be used wherever necessary.
You may lose marks if your solutions do not include relevant supporting work.
You may lose marks if the appropriate units of measurement are not included, where relevant.
Write the make and model of your calculator(s) here:
SAMPLE
Question 1
(a) A 50 kg metal box is pulled across a rough horizontal surface with a force of 300 N acting at an angle of 20° to the surface. The frictional force acting on the metal box is 180 N.
(i) Draw a free-body diagram showing all the forces acting on the metal box.
(ii) State Newton's second law of motion.
(iii) Calculate the magnitude of the acceleration of the metal box.
(b) The work function for zinc is 690 × 10-19 J
(i) Define work function.
(ii) Calculate the smallest frequency of light that will release electrons from a zinc surface.
SAMPLE
(c) The diagram shows a ray of light P incident on a rectangular glass block.
(i) Which two rays are refracted rays?
A Q and R
B R and S
C S and T
D Q and S
E R and T
Your answer: __________
(ii) The diagram shows the path of a ray of red light in a glass block.
A student makes the following statements:
1 Angle x is equal to the angle y.
SAMPLE
2 Total internal reflection is taking place.
3 Angle x is the critical angle for the glass.
Which of the following statements is/are correct?
A 1 only
B 2 only
C 1 and 2 only
D 2 and 3 only
E 1, 2 and 3 only
Your answer: ___________
(d) The table shows the count rate of a radioactive source taken at regular time intervals.
Time (minutes) 1020304050
Count rate (counts per minute)
(i) What is the half-life in minutes of the isotope?
(ii) Calculate the activity constant, λ.
(e) (i) A student sets up the circuits shown. In which circuit will both LEDs be lit?
Your answer: ___________
(ii) Light enters a glass prism as shown.
The critical angle for the glass is 42o. Complete the diagram above to show the path of the light ray as it passes through the glass and into the air.
(iii) The diagram shows part of a thermometer.
What is the correct reading on the thermometer (A, B, C or D) and the likely error in this reading?
SAMPLE
(f) (i) State Newton’s universal law of gravitation.
SAMPLE
(ii) The earth orbits the sun in a circular orbit. Given that the mass of the sun is 2 x 1030 kg and the radius of the orbit is 1.5 x 1011 m, find the period of the orbit.
Question 2
(a) The diagram below shows a straight conductor connected to a battery and suspended between the poles of a permanent magnet, so that it is perpendicular to the magnet. The conductor is free to move.

(i) Will the conductor move towards the side marked X or Y when the switch is closed? Write only X or Y.
(ii) Briefly explain why the conductor moves.
(iii) Suggest two changes that could be made to the set up where either change would cause the conductor to move in the opposite direction.
(iv) Identify two changes that could be made to increase the force that the conductor experiences.
(v) The conductor is rotated through 90 degrees so that it is suspended between the poles of the magnet, parallel to the magnet, as shown below. Would the conductor still experience a magnetic force when the switch is closed? Explain your answer.

SAMPLE
(b) A transformer is connected to the output of an AC generator.
(i) Explain how the transformer changes the voltage output of the generator, referring to the basic operation of an ideal transformer.
(ii) The generator produces 16 V. The transformer has 200 turns on the primary coil. How many turns must there be on the secondary coil for the transformer to produce 240 V?
(iii) Explain why high voltages are used for the transmission of electrical energy through the national grid. Use an appropriate equation in your explanation.
SAMPLE
(iv) Give one way in which the efficiency of a transformer is improved.
Question
3
(a) The diagram below shows four transitions (A, B, C and D) in a hydrogen atom. The diagram is not to scale.
(i) Explain what the arrows A to D represent.
(ii) Which arrow (A, B, C or D) corresponds to the greatest wavelength of light emitted? Give a reason for your answer.
(iii) Calculate the frequency of light that would be emitted by transition D
SAMPLE
(b) (i) (a) Show, with the aid of a labelled diagram, how X-rays are made.
(b) Comment on the suitability of a metal that may be used to produce the X-rays.
(ii) Name the scientist credited with their discovery.
(iii) Give one other use for X-rays apart from medical imaging.
(iv) Calculate the minimum wavelength of X-rays produced when the accelerating voltage is 80,000 V.
Question 4
(a) A bullet of 0.02 kg travelling at a velocity of 300 m/s east is embedded in a 1.0 kg wooden block resting on a horizontal surface. The block slides 4.0 m horizontally before stopping.
(i) State the principle of the conservation of momentum.
(ii) Calculate the velocity of the block with the bullet embedded immediately after the collision.
(iii) Hence, calculate the magnitude of the frictional force that brought the block to rest.
SAMPLE
(b) An aircraft is flying horizontally at a constant speed.

(i) The aircraft and passengers have a total mass of 50 000 kg. Calculate the total weight. (g = 9.81 m/s2)
(ii) State the magnitude of the upward force acting on the aircraft.
(iii) During the flight, the aircraft’s engines produce a force of 4·4 × 104 N due North. The aircraft encounters a crosswind, blowing from west to east, which exerts a force of 3·2 × 104 N

Calculate the resultant force on the aircraft.
(iv) During flights, pilots are exposed to tiny amounts of gamma radiation. Gamma radiation is an example of radiation which causes ionisation. Explain what is meant by the term ionisation.
Question 5
(a) In 1932, Cockcroft and Walton carried out an experiment in which they bombarded lithium with high-energy protons. The nuclear reaction resulted in the production of two α-particles.
(i) Outline with a labelled diagram the details of their experimental arrangement.
(ii) Write a nuclear equation for the reaction.
(iii) How did they detect the α-particles that were produced?
(iv) Calculate the energy released in the reaction.
(v) Circular particle accelerators are used in CERN. Magnetic fields are used to control the direction of the high-speed protons.
Why does a high-speed charged particle travel in a circular motion when it enters a magnetic field?
(vi) Electrons enter a magnetic field travelling with a speed of 9.2 × 107 m/s. The magnetic flux density of the magnetic field is 3.1 kT. Calculate the radius of the circular orbit that the electron follows. Assume that the electron travels perpendicular to the direction of the magnetic field.
SAMPLE
(vii) Name the fundamental particle that is also known as a force carrying particle.
(viii) State the quark composition of a proton.
(ix) State the quark composition of an anti-proton.
SAMPLE
Question 6
(a) (i) Derive the formula for two resistors in series.
Use the circuit below to:
(ii) Find the total resistance of the circuit.
(iii) Find the current flowing through the 5Ω resistor.
(b) An experiment was carried out to determine the specific heat capacity of water. The energy supplied to the water was measured by a joulemeter.

The following data was recorded:
Initial temperature of the water = 21 °C.
Final temperature of the water = 33 °C.
Initial reading on the joulemeter = 12 kJ.
Final reading on the joulemeter = 120 kJ.
Mass of water = 2·0 kg.
Time = 5 minutes.
(i) Calculate the change in temperature of the water.
(ii) Calculate the energy supplied by the immersion heater.
(iii) Calculate the value for the specific heat capacity of water obtained from this experiment.
(iv) The accepted value for the specific heat capacity of water is 4200 J kg-1 K-1. Explain the difference between the accepted value and the value obtained in the experiment.
(v) How could the experiment be improved to reduce this difference?
Question 7
(a) A student carried out an experiment to use the mathematical model for a stretched string to prove that the mass per unit length of the string was 4.55 x 10-4 kg/m. A sonometer was used and the string was subjected to a constant tension of 80 N throughout the investigation. A set of tuning forks was used to supply the forced frequencies applied to the string. The values of frequency f and the values of length l were noted as follows.
(i) Show, with the help of a diagram, how the data above was obtained.
(ii) Plot a suitable graph in the space below to show the relationship between the natural frequency of the stretched string and its length.
(iii) Using the graph, show the mass per unit length, µ, is 4.5 x 10-1 kg/m.
(b) A person needs spectacles to see distant objects clearly.
(i) What is the name given to this eye defect?
(ii) What type of lens is needed to correct this defect?
(iii) In an astronomical telescope, two convex lenses can be used to cause magnification. The first objective lens (convex) produces a real image. Where must the real image be positioned in relation to the eyepiece (convex lens) to produce a magnified image?
SAMPLE
Page for extra work. Label any extra work clearly with the question number and part.
Do not write on this page
Copyright notice
This examination paper may contain text or images for which the Examcraft Group is not the copyright owner, and which may have been adapted, for the purpose of assessment, without the authors’ prior consent. Any subsequent use for a purpose other than the intended purpose is not authorised. The Examcraft Group does not accept liability for any infringement of third-party rights arising from unauthorised distribution or use of this examination paper.
Leaving Certificate Examination - Higher Level
SAMPLE
Physics
Sample A
2 hours 30 minutes
You can download this paper’s marking scheme by scanning the QR code:


SAMPLE




