portfolio.


SONAL S
SELECTED WORKS | 2020 - 2023

EDUCATION
S O N A L S
DOB
PHONE EMAIL
ADDRESS
Wadiyar Center For Architecture, Mysore Undergraduate B.Arch
Vijaya Vittala College , Mysore Pre University Board
S.t Joseph Central School ,Mysore Primary and secondary Board

EXPERIENCE
2022 | Tiny House Competition , Participation
2023 | House head , WCFA
2023 | Udyatham Sports Meet , GSAP
2023 | KRIRA SPorts Meet , SJBSAP

- 10.04.2002
- 8660385791
- 2020_sonal.s@wcfa.ac.in
- Mysore, Karnataka
SOFTWARE SKILLS
DRAFTING
MODELLING
RENDERING
AutoCAD
Sketchup Revit Enscape Twinmotion

POST PRODUCTION
OTHER SKILLS
Hand Drafting
Model making
Measure Drawing
Video Editing

Adobe Photoshop
Adobe Indesign
Adobe Illustrator
01. 02. 03. 04. 05. 06.
BACARDI INDUSTRY
SEM 07
INSTITUTION OF SCULPTURE
SEM 06
CRAFTSMEN HOUSING
SEM 04
WORKING DRAWINGS
SEM 05-06
INTERIOR DESIGN
SEM 07
MISCELLANEOUS
01 BACARDI INDUSTRY
SEMESTER 07

Project Location
Project type
Site Area
Studio Guide
- Nanjangud , Karnataka
- Industrial Architecture
- 9000 sq.m
- Asijith Khan Nagesh HD Suren Alone
The studio encouraged sustainable materials and practices , ensuring balance between profit and responsibility when it comes to the notion of Industry. Hands-on experience with models gave an insight about their physical properties leading to a design with composite materials.






TSUGI JOINERY
ISUKA TSUGI -This Japanese joinery invoves a technique of using two pieces of wood together through the system of interlocking.



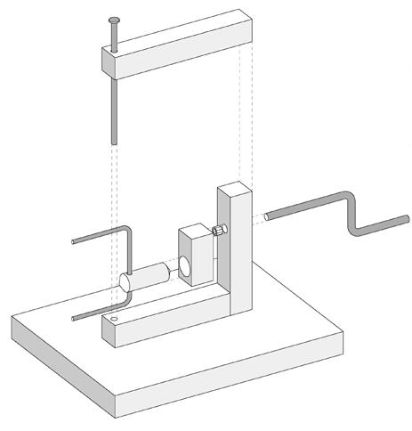
UN-HINGE

CRANK , LINK AND SLIDER
UN- HINGE
THIS MODEL IS A SIMPLIFIED DEMONSTRATION OF A CRANK, LINK AND SLIDER MECHANISM, COMMONLY FOUND IN ENGINES, PUMPS, AND VALVES. IT WORKS TO CONVERT ROTARY MOTION INTO OSCILLATORY MOTION, OR VICE VERSA.
This model is a simplified demonstration of a Crank , Link and Slider mechanism commonly found in engines, pumps and valves . It converts Rotary motion into oscillary motion or vice versa.
WOOD AND STEEL - The combination of wood and steel as an innovative material to increase the structural stability and less material usage. TAG


ITERATION1






ITERATION2
LEARNING - To understand the behaviour of the two materials to mitigate all forces and enhance Performance of Elements.








Warehouse



02 INSTITUTION OF SCULPTURES
SEMESTER 06
Project Location
Project type
Site Area
Studio Guide

- Pune , Maharashtra
- Institutional Architecture
- 4030 sq.m
- Srinivas SG
Anand Krishnamurthy
Suren Alone
R Kiran Kumar
The project plays a role in understanding the spatial qualities that could be integrated in design Scooping out spaces creates varied volumetric experiences which influences how a space is perceived.









MASSING
MASSING 1
MASSING 1
MASSING 2 SECTIONS
MASSING



MASSING
2






MASSING
Diagrams depicting the scooped out volume.
MASSING IDEAS
MASSING
Diagrams depicting the scooped out volume.
WORKSHOP

LECTURE HALL




WORKSHOP


EXHIBITION SPACE
USN : 4CM20AT054






FIRST FLOOR PLAN






SECOND FLOOR PLAN











THIRD FLOOR PLAN






3RDFLOOR
EXPLODED ISOMETRIC VIEW Lecture
2NDFLOOR






03 HOUSING FOR CRAFTSMEN
SEMESTER 04
Project Location
Project type
Site Area
Studio Guide
- Mysore , Karnataka
- Incremental Housing for Wood Inlay Craftsmen
- 3250 sq.m
- Umesh Nuchin
Asijith Khan
Shreyas Baindur
Anand Chalawadi
The intent is to design houses with oppurtunity to expand further based on social and economic developments. The space is designed keeping in mind the expansion either vertically or horizontally. The proposed design engages with existing fabric of community .




SITE ANALYSIS
VEGETATION

PLINTH

INCREMENTAL HOUSING
The core unit is designed to be easily expandable with a clear plan for how additional rooms or spaces can be added incrementally. The intent was to create a space where the residents can manage expansions themselves or with minimum professional help.

MASSING

The plinth is scooped out based on the contour and land use typology with the workspace being on the highest plinth followed by the housing.

GROUND FLOOR PLAN

Horizontal incrementality

Vertical incrementality




INCREMENTALITY WITH MULTIPLE UNITS
Space for future expansion

INTENT MODEL
Massing models are used in the context of connectivity where the goal is to visualize how different structures interact with each other and the surrounding environment.





WORKSPACE
A series of arcades that lead to the selling unit acts as a transition space from the housing community to the workspace.

WORKING DRAWINGS
SEM 05 - 06 | Prof . Suren Alone
1.
2.
4. Any discrepancy is to be verified by the
5. If required, read this drawing together with the relevant Architectural Drawing


PLINTH BEAM LAYOUT



1.
5. If
5
3 4 5 6
1.
2.
3.
4.
5.
2 3 4 5 6
NOTES
1. All dimensions are in mm, unless specified otherwise.
2. Follow written dimensions
3. Do not scale this drawing

4. Any discrepancy is to be verified by the
5. If required, read this drawing together with the relevant Architectural Drawing
NOTES
1. All dimensions are in mm, unless specified otherwise.
2. Follow written dimensions
3. Do not scale this drawing
4. Any discrepancy is to be verified by the Architect
NOTES
5. If required, read this drawing together with the relevant Architectural Drawing
1. All dimensions are in mm, unless specified otherwise.
2. Follow written dimensions
3. Do not scale this drawing
4. Any discrepancy is to be verified by
5. If required, read this drawing together with the relevant Architectural Drawing

05
INTERIOR DESIGN
SEM 07 | Prof . Anna Cherian


The design creates an environment that embodies the brand’s identity and goals which emphasises on using organic and vegan clothing. The usage of materials with textures bring an organic , earthy feel to the space.








The architect’s office design consist of individual workstations with a dedicated space for team discussions maximizing every space available.


DRAWINGS-FINAL DESIGN
DETAILS




BAMBOO PURLIN MEMBER USED FOR PREVENTING
BAMBOO STRIPS WEAVED WITH BINDING WIRE USED AS ROOF
BAMBOO COLUMN2 BAMBOO OF DIA 30MM
WASTE BAMBOO PIECES OF VARYING DIA
COTTON ROPE USED FOR TYING BAMBOO PIECES

CONCRETE FOOTING 450MM DEPTH (1:2:4 MIX)
RENDERS-FINAL DESIGN



TINY HOUSE COMPETITION



A linear space is derived from the size of a truck
TRANSFORMATION OF SPACES

It is divided into 3 modules based on the usability.

The spaces can be oriented according to the use.

The last module is such that , it can be shifted to the mela space for selling.



06
RELATED STUDY PROGRAM
SEM 03 (GROUP WORK)
Project Location - Anegundi , Karnataka
The intent was to measure draw and document the village housing . The drawings reflect the village’s physical dimensions, functionality and relationship with various elements.




Sections through Chikkadeevana Palace


Elevations and sections of Arches


Chikkadeevana Palace Section, Arch details
Chikkadeevana Palace Section, Arch details
Chikkadeevana Palace Section, Arch details

Roof Detail Section
Roof Detail -Isometric


Column Detail
