
Contato: Tomleequan E-mail:
![]()

Contato: Tomleequan E-mail:
Procurando uma solução econômica, mas de alta qualidade, para transmissão de sinal CATV de longa distância? O amplificador de fibra dopada com érbio de 1550 nm Mini EDFA de 4 portas foi projetado para atender aos padrões de nível de comunicação, garantindo desempenho confiável para televisão, TV digital e sinais de voz/dados. Com saída ajustá vel (0 a 5 dBm), suporte a várias portas e lasers de bomba JDSU/Oclaro, este dispositivo é perfeito para redes CATV de 1550 nm de grande e médio porte. Seu design compacto, fonte de alimentação dupla e capacidade de atualização USB o tornam uma escolha vers átil para engenheiros e integradores de sistemas.
• Saída ajustável (0~5dBm) | • Suporte multiporta (1310/1490/1550WDM) | • Lasers de bomba JDSU/Oclaro | • Fonte de alimentação dupla (110V/220VAC) | • Capacidade de atualização USB



Contato: Tomleequan E-mail: sales@fmuser.com whatsapp: +8613922702227






O mini dispositivo amplificador de fibra dopada com érbio SOA-4X23-MINI 1550nm CATV foi projetado com foco no custo sem comprometer a qualidade.
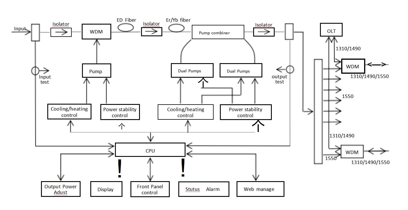
Mini amplificador de fibra dopada com érbio de 1550 nm (EYDFA)

Contato: Tomleequan E-mail: sales@fmuser.com whatsapp: +8613922702227





Descrição da porta EDFA 4
EYDFA-MINI CATV mini dispositivo amplificador de fibra dopada com érbio que foi projetado de acordo com o padrão de nível de comunicação.É usado principalmente para sinais de imagem de televisão, TV digital, sinal de voz telefônica e sinal de dados (ou dados compactados) transmissão de fibra óptica em longa distância. O design da tecnologia presta atenção ao custo do produto, optou por construir uma rede de transmissão de fibra óptica catv de 1550 nm de grande e médio porte, transmissão econômica dispositivo.
Características da porta EDFA 4
* Saída ajustável por botões no painel frontal ou , o intervalo é de 0 a 5 dBm.

Contato: Tomleequan E-mail: sales@fmuser.com whatsapp: +8613922702227

Contato: Tomleequan E-mail: sales@fmuser.com whatsapp: +8613922702227
* Função de manutenção de atenuação descendente única de 6dBm por botões no painel frontal, para facilitar a operação hot-plug de fibra óptica sem desligar o dispositivo.
* Saída multiportas, pode ser construída em 1310/1490/1550WDM.
* A porta USB facilita a atualização do dispositivo.
* O laser é ligado/desligado por meio de teclas de bloqueio no painel frontal.
* Adota laser JDSU ou Oclaro Pump.
* O LED exibe as condições de trabalho da máquina.
* Fonte de alimentação hot-plug dupla para escolha, 110 V, 220 VCA.
Diagrama de 4 portas EDFA


Contato: Tomleequan E-mail: sales@fmuser.com whatsapp: +8613922702227


>Suporte 4/8 portas
>1550nm entrada SC/APC
>Entrada OLT SC/UPC (SC/APC pode ser personalizado) >Combinar saída SC/APC

> Com 4 ventiladores para dissipação de calor dos alimentos
>Fonte de alimentação única (fonte de alimentação dupla pode ser personalizada)
Especificações
Entrada (dBm) -3 ~ +10
Ajuste de alcance ou saída (dBm) 5
Comprimento de onda (nm) 1540 ~ 1565

Contato: Tomleequan E-mail: sales@fmuser.com whatsapp: +8613922702227

Contato: Tomleequan E-mail: sales@fmuser.com whatsapp: +8613922702227
Estabilidade de saída (dB) <±0,3
Perda de retorno óptico (dB) ≥45
Conector de fibra FC/APC, SC/APC, SC/UPC, LC/APC, LC/UPC
Figura de ruído (dB) <6.0 (entrada 0dBm)
Tipo de conector RJ45, USB
Poder consumo (W) ≤80
Voltagem (V) 110 VCA, 220 VCA
Temperatura de trabalho (℃) 0 ~ 55
Tamanho (mm) 260(C)x186(L)x89(A)
NO (Kg) 3.8
A FMUSER é uma empresa especializada em sistemas de transmissão de televisão e transmissão e integração de sistemas de IPTV de hotéis. A empresa foi fundada em 2009 e atendeu mais de 180 países em todo o mundo. Mais de 20.000 estações de televisão, estações de rádio e clientes de hotéis de diferentes.
Contato: Tomleequan E-mail: sales@fmuser.com whatsapp: +8613922702227

Contato: Tomleequan E-mail: sales@fmuser.com whatsapp: +8613922702227