HITACHI EX270 ENGINE PARTS MANUAL

Page 1

HITACHI EX270 EXCAVATOR HINO H06CT ENGINE PARTS CATALOG 1

HITACHI EX270 HINO H06CT TABLE OF CONTENTS

PAGES

3-4 WATER PUMP

5-6 FAN, TEMPERATURE SWITCH, TEMPERATURE SENSOR, 7 RADIATOR HOSES

8 COOLANT HOSES

9-10 OIL PUMP, OIL COOLER, OIL FILTER HOUSING, OIL PRESSURE SWITCH, OIL PRESSURE SENSOR, 11-12 OIL COOLER INTERNAL PARTS

13-14 OIL FILTER ASSEMBLY SPIN ON TYPE, LATE TYPE

15-16 OIL FILTER ASSEMBLY SPIN ON THPE, EARLY TYPE 17-18 OIL FILTER ASSEMBLY CARTRIDGE TYPE 19-20 BYPASS OIL FILTER ASSEMBLY 21-22 TURBOCHARGER MOUNTING PARTS, TURBOCHARGER OIL LINES, 23-24 EXHAUST MANIFOLD MOUNTING, INTAKE MANIFOLD MOUNTING, 25-26 EXHAUST PIPE, MUFFLER, 27 INTAKE AIR PIPES

28-29 CYLINDER HEAD PARTS, GLOW PLUGS, INJECTOR TUBES, PUSH ROD GUIDE PIPES, 30-31 CYLINDER HEAD PARTS, HEAD GASKET, VALVE COVER GASKET, HEAD BOLTS, 32-33 CRANKCASE PARTS, CYLINDER LINERS, CAM BUSHINGS, CAM END SEALS, 34-35 CRANKCASE GASKETS, OIL PAN GASKETS 36-37 FRONT TIMING COVER, FRONT CRANKSHAFT SEAL, FLYWHEEL HOUSING, REAR CRANKSHAFT SEAL, 38-39 FRONT CRANKSHAFT DAMPER, ROD BEARINGS, MAIN BEARINGS, THRUST WASHERS, PISTONS, PISTON RINGS, CONNECTING RODS, 40-41 CAMSHAFT, TIMING GEARS 42-43 VALVE TRAIN PARTS FOR SINGLE VALVE SPRING VALVE TRAIN 44-45 VALVE TRAIN PARTS FOR DOUBLE VALVE SPRING VALVE TRAIN 46 FUEL FILTER ASSEMBLY FOR SPIN ON TYPE FUEL FILTER 47-48 FUEL FILTER ASSEMBLY FOR CARTRIDGE TYPE FUEL FILTER 49 FUEL / WATER SEPARATOR ASSEMBLY 50-51-52 INJECTION SYSTEM, FUEL SYSTEM 53-54 INJECTOR AND INJECTOR INTERNAL PARTS 55-56-57-58-59-60 INJECTION PUMP PARTS 61-62-63-64-65 GOVERNOR PARTS 66-67 INJECTION PUMP DRIVE COUPLER 68-69 FUEL FEED PUMP, HAND PRIMER PUMP, 70-71THROTTLE CONTROL CABLE 72-73 FUEL SHUT OFF SOLENOIDS 76 SIDE CONSOLE ELECTRICAL PARTS 77-78 GAUGE PANEL ELECTRICAL PARTS DX 79-80 GAUGE PANEL ELECTRICAL PARTS SDX 81 MACHINE ELECTRICAL PARTS 82 ELECTRICAL PARTS LIST 83-84 ENGINE MOUNTING PARTS 85-86-87-88-89-90 TOOLS

2
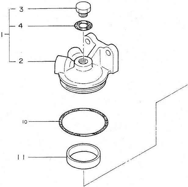
HitachiEX270 WATER PUMP
Water Pump 4251874
13 3
HinoH06CT
'6
r----------- - -------1 I I I I l I ------------------------� I I I I I I I I I I 1 I I I I I I I I I I I l I I l l I I I I I I _______________________________________ __________J '�.�' . - (
4
Water Pump 4251874 1.4251193 Case, Water Pump Housing (1) 2.4251180 Water Pump Shaft (1) 3.4251182 Vane Impellor (1) 4.4251179 Water Pump Seal (1) 5.4251178 Bearing (1) 6.4251177 Collar (1) 7.4251173 Snap ring (1) 8.4251167 Bearing (1) 9.4251164 Washer spacer (1) 10.4251163 Bearing (1) 11.4251162 Plate (1) 12.4251161 Gasket (1) 13.4251160 Bolt (4) 14.4251152 Grease fitting (1) 15.4251150 Key (1) 16.4251190 Lock washer (1) 17.4251191 Washer (1) 18.4251198 Nut, (1) 19.4251874R Rebuild Kit for Water Pump Includes: 4, 5, 7, 8, 10, 12, 15, 18,
< ,�___-----··- ", .....---·#·,... .·····( ' ......( 5
r----------- - -------1 I I I I l I ------------------------� I I I I I I I I I I 1 I I I I I I I I I I I l I I l l I I I I I I I I _______________________________________ __________J '�.�' . - ( 1. 2. 4251223 Bolt (4) 3.
4.
10. 11. 13. 14. 15. 16. 17. 18. 19. 20. 21. 50. 51.
52.
Lower
53.
54.
Upper
54.
Upper
55.
56.
57.
4251874
58.
6
4251222 Pulley, for water pump (1)
4251221 Gasket, for water pump (1)
4364684 Gasket, (1)
4364685
Thermostat Housing
4364687 Thermostat Gasket (1)
4364686
Thermostat housing elbow (1)
4251208
Thermostat housing straight (1)
4285967 Overheat temperature switch (1)
4364693 Hose (1)
4251206 Clamp (2)
Water Pump (1)
4364648 Thermo sensor, Temp gauge sensor (1) 59. 4251205 Bolt (2) 60. 4251204 Bolt (3) 61. 4251203 Bolt (1) 4251220 Pipe, water (1) 62. 4251202 Valve (1) 4251219 Bolt (2) 63. 4251185 Seal (1) 4251210 Gasket (1) 70. 4251201 Suction Fitting (1) 4251218 Valve (1) 71. 4251200 Sealing washer (1) 4251211 Pipe (1) 72. 4251195 Bracket (1) 4251217 Oring (1) 73. 4251194 Spacer (2) 4251215 Bolt (1) 4251209 Bolt (1) 4251198 Nut, (1) 100. 4364690 Cooling Fan Hitachi EX270 4251190 Lock washer (1) 101. 4364689 Spacer (1) 4251191 Washer (1) 102. 4251196 Bolts (4) 4364688 Thermostat (1) 103. 4251874R Rebuild Kit for Water Pump

HITACHI EX270

HINO H06CT 3035485 Upper Radiator Hose 3035487 Lower Radiator Hose 4504199 Clamps, for radiator hoses 4364693 Hose, thermostat bypass hose, thermostat housing to water pump 4251206 Clamps for thermostat bypass hose

7

HITACHI EX270

Hino H06CT Coolant Hoses to heater

01. 4208072 [21 Coolant hose to heater 02. 4507228 [4] CLAMP;HOSE 03. 4055312 [9] CLIP 04. 4190266 [2] CLIP 05. J901018 [2] BOLT 06. A590910 [2] WASHER;SPRING 07. 4209135 [2] VALVE 08. 4200787 [1] PIPE

r-----------------------1 t I t I I I I I I I I I I I I l.. ( -----------------------I I
I
I I
I l I I I
I I I I I I __________________...] ( 8
l I
·" : ,,.·', .;; .. • EX270 Hino
9
H06CT
r----------- - -------1 I I l I ------------------------� I I I I I I I I I I 1 I I I I I I I I I I I l I I l l I I I I I I I I _______________________________________ __________J '�.�' . - ( 1. 4364670 Oil pickup tube & screen (1) 2.
Oring (1) 3.
Bolt
) 4.
Bolt
5.
Bolt (1) 6. 4251338 Oil Pressure Switch (1) 7.
Oil Pressure Sensor (1) 8.
Seal
9.
Connector (1) 20. 21. 22. 23. 49. 50. 50. 50.
10
4251371
4251370
(1
4251369
(2)
4251339
4251335
4251336
(2)
4251334
51.4251332 Gasket, oil cooler case (1) 52. 4251331 Oring (1) 53. 4251330 Bolt (2) 54. 4251329 Bolt (2) 54.1 4251328 Bolt (1) 55. 4251327 Bolt (7) 56. 4251320 Washer (2) 56.1 4251319 Lock washer (2) 57. 4251326 Bolt (2) 57.1 4251325 Bolt (1) 4251872 Oil Pump (1) 58. 4251318 Bolt (2) 4251368 Oring, oil pump (1) 59. 4251321 Pipe, (1) 4251367 Bolt, oil pump (2) 60. 4251323 Oring, (2) 4251366 Bolt , oil pump (1) 61. 4251322 Bolt (4) 4364676 Oil Cooler Case (1) 80. 15607-1433 Oil Filter (1) 80.1 Blank 82. 4251324 Oring, (2) 4364820 Oil Cooler Element EX270 83. 4251317 Oring (4) 84. 4251316 Plug (1) 85. 4251315 Sealing washer (1) 87. 4251310 Bolt (1) 88. 4251305 Bolt (1) 89. 4251306 Bolt (1) 90. 4251307 Bolt (1) 91. 4251309 Washer (2) 92. 4251308 Lock washer (2)

HinoH06CT

EX27
Hitachi
0
• 11
r----------- - -------1 I I I I l I ------------------------� I I I I I I I I I I 1 I I I I I I I I I I I l I I l l I I I I I I I I _______________________________________ __________J '�.�' . - ( 1. 4364676 Oil Cooler Case (1) 2. 4374693 Cover plate, oil cooler (1) 3. 4251311 Plug 3.1 4364674 Gasket (1) 3.2 4251299 Seal 4. 4364820 Oil Cooler Element EX270 5. 4364677 Gasket, oil cooler element (2) 6. 4364678 Plain washer 7. 4364679 Lock washer 8. 4364680 Nut, oil cooler element (4) 9. 4364681 Oil pipe (1) 9.1 4251311 Plug 9.2 4251298 Seal 10.4364788 Seal, oil cooler 11. 4364787 Bolt (7) 12
13
• HITACHI EX270 HINO H06CT OIL FILTER SPIN ON TYPE, LATE TYPE

HITACHI EX270 HINO H06CT OIL FILTER SPIN ON TYPE, LATE TYPE 3 15624-1190 Valve, oil filter safety 4 9851-18102 Seal 5 15661-1170 Spring, oil valve 6 15726-1020 Plug 7 9851-16115 Seal 8 15726-1140 Plug 9 9851-14108 Seal 10 15624-1040 Valve, oil filter safety 11 15604-1020 Valve sub assembly oil safety 12 15661-1160 Spring, oil valve 13 15660-1040 Switch, sensor, oil filter housing 14 15624-1200 Valve, oil filter safety 15 15612-1950 Base, oil filter base mount 16 15605-1100 Valve sub assembly, oil valve 17 9851-18102 Seal 18 9851-24105 Seal 21 23314-1020 Plug 22 9851-12112 Seal 29 15607-1433 Oil filter, spin on, late type, 31 9851-12102 Seal 32 9049-10105 Bolt 33 9260-10180 Washer, plain 34 9280-10250 Lock washer 35 15726-1040 Plug 36 23323-1020 Seal 14

15

1 15620-2010 Cap 2 15612-2170 Base, oil filter base mount 3 9851-20107 Seal 7 15661-1300 Spring, oil valve 8 15716-1070 Plug 10 9851-15101 Seal 12 15662-1290 Plug 13 15624-1230 Valve, oil filter safety 16 15661-1310 Spring, oil valve 17 9629-17106 Plug 18 15607-1602 Filter, spin on type, early type 19 15602-1100 Valve sub assembly oil pressure 20 23314-1020 Plug 21 9851-12112 Seal 22 9851-12102 Seal 23 9049-10105 Bolt 24 9280-10250 Lock washer 25 9260-10180 Washer, plain

HITACHI EX270 HINO H06CT OIL FILTER SPIN ON TYPE EARLY TYPE
16
17

2 15612-1800 Base, oil filter base mount 3 15661-1240 Spring, oil valve relief 5 15624-1200 Valve, oil filter safety 6 9629-17106 Plug 7 16724-1190 Valve, oil filter safety 8 9851-18102 Seal 9 15624-1040 Valve, oil filter safety 10 15661-1160 Spring, oil valve 11 15605-1100 Valve sub assembly, oil valve 12 9851-24105 Seal 13 15604-1020 Valve, sub assembly oil safety 14 15660-1020 Plug Assembly, oil 15 9851-20107 Seal 16 15614-1170 Canister, oil filter 17 15607-1661 Element, oil filter element 18 9851-16114 Seal 19 9851-01147 Seal 20 15629-1020 Washer 21 15651-1350 Bolt, oil filter canister 22 15615-1150 Spring, oil filter element support 23 15643-1020 Plug, oil filter canister drain 24 9851-08101 Seal 25 9851-12102 Seal 26 9049-10105 Bolt 27 9260-10180 Washer, plain 28 9280-10250 Lock washer 29 15602-1100 Valve, sub assembly, oil pressure 30 23314-1020 Plug 31. 9851-12112 Seal

18

HITACHI EX270 HINO H06CT

Bypass Filter (Engine Oil)

01 04 02 16 13 15 -f. - -== 14 09 3 33 34 30 33 31 32-?' 05 07 06 100 31 3 \ 34 32
19
Oil FIiter

10. A590110 11. A590910 12. J950010 13. 4208236 14. 4208237 15. 4208242 16. 4208243 17. 4208240 20. 4205757 21. 4205753 22. 4205755 23. 4205758 24. 4205754 25. 4205756 30. M111020 31. 4190282 32. 4200388 33. A590910 34. J901018 100. 4208243 [1] KIT; ELEMENT, BYPASS OIL FILTER

01. 4205752 [1] BYPASS OIL FILTER ASSEMBLY 02. 4208233 [1] COVER 03. 4208238 [1] PLUG, BLEED 04. 4208239 [1] O-RING 05. 4208234 [1] CASE 06. 4208238 [1] PLUG, DRAIN PLUG 07. 4208239 [1] O-RING, SEAL FOR DRAIN PLUG, BYPASS OIL FILTER 08. 4208235 [2] BRACKET 09. J901025 [2] BOLT [2] WASHER;PLANE [2] WASHER;SPRING [2] NUT [1] CLAMP [1] BOLT [1] WASHER;PLANE [1] ELEMENT, BYPASS OIL FILTER [1] GASKET [1] HOSE, OIL LINE HOSE TO BYPASS OIL FILTER [4] WASHER, SEALING WASHER FOR BYPASS OIL FILTER [2] BOLT; JOINT, BANJO BOLT FOR BYPASS OIL FILTER [1] HOSE, OIL LINE HOSE TO BYPASS OIL FILTER [4] WASHER, SEALING WASHER FOR BYPASS OIL FILTER [2] BOLT;JOINT, BANJO BOLT FOR BYPASS OIL FILTER [4] BOLT [2] CLIP [2] CUSHION [6] WASHER;SPRING [2] BOLT 20
/ 21

H06CT

31. 920008070 Nut 32. 928008200 Lockwasher 33. 241721090 Oil pipe, turbo oil return pipe 34. 941110251 Bolt, oil return pipe to turbo 35. 941110001 Bolt, oil return pipe to turbo 36. 4251133 Turbocharger Oil Return Gasket. 37. 241071320 Pipe, oil return pipe to crankcase 38. 985131103 Seal, oil return pipe to crankcase 39. 940110200 Bolt

r-----------------------HITACHI EX270
--------------------------.
I I I I I I I I I I I I t I l I I I I I I I I I I I I I I I I I I _j ( 22
HINO
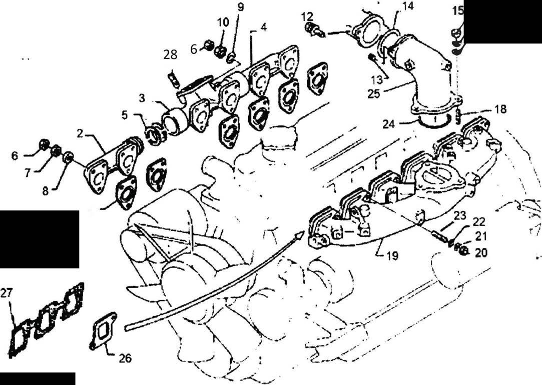
l 1. 4251917 Turbocharger 2. 4251131 Bolt, Turbocharger Mounting 3. 4251132 Turbocharger Mounting Gasket 4. 4251129 Turbocharger Mounting Nut Inner 5. 4251128 Turbocharger Mounting Nut Outer 6. 4251148 Mount, turbocharger to exhaust pipe connector 7. 4251138 Turbocharger Outlet Seal Hard 8. Blank 9. 4251159 Washer 10. 4251174 Bolt 15. 4251176 Connector boot, turbocharger air inlet 16. 4251177 Clamp 17. 4251180 Clamp 18. 170313450 Pipe, air intake 19. 171361512 Bracket, air intake pipe 20. 936910113 Stud 21. 920910112 Nut 22. 926010220 Washer 23. 941110251 Bolt 24. 241711620 Pipe, turbo oil feed pipe 25. 918108300 Bolt, turbo oil feed pipe to turbo 26. 4251135 Seal, turbo oil feed pipe to turbo 27. 965914104 Seal, turbo oil feed pipe 28. 901914184 Bolt I 29. 799041090 Clip L__30. 154922350 Bracket
HITACHI EX270 HINOH06CT 1 37 16 17 23

20. 4251122 Intake Manifold Nut (12) I

21. 4251123 Lock washer (12) I

23. 4251742 Intake Manifold Stud (12) l

4251882 Exhaust Manifold Middle (1) 26. 4251871 Intake manifold gasket (6) piece type I

4251902 Exhaust Manifold Rear (1) 27. 4251793 Intake manifold gasket (2) piece type I

4251880 Exhaust Manifold Seal Ring Hard (4) 28. 4251127 Turbocharger Mounting Stud (3) t

6. 4251101 Exhaust Manifold Nut Outer (18) 29. 4251128 Turbocharger Mounting Nut Outer (3) l

7. 4251103 Exhaust Manifold Nut Inner (18) 30. 4251129 Turbocharger Mounting Nut Inner (3) !

8. 4251104 Exhaust Manifold Spacer (16) 31. 4251130 Spacer, Turbocharger Mounting (1) ,1 9. 4251105 Washer (2) 32. 4251131 Bolt, Turbocharger Mounting (1)

1o. 4251106 Exhaust Manifold Nut Inner (2) 33_ 4251132 Turbocharger Mounting Gasket (1) J I 11· Blank 34. 4251133 Turbocharger Oil Return Gasket (1) I 12. 4251107 Bolt (2) I(1) I I 13_ 4251108 Herisert (2) 35. 4251135 Turbocharger Oil Feed Sea 1 I 14. 4251110 Seal (1) 36. 4251138 Turbocharger Outlet Seal Hard (2) I I 15. 4251109 Nut (3) 37. 4251148 Mount, turbochargerto exhaust pipe connector (1) I I 16. 4251113 Lock washer (3) 38. 4251159 Washer, (2) I I 17. 4251114 Washer (3) 39. 4251174 Bolt(2)

r------------------------ ------------------------7 I
f
I
f
1
l
1
I I I ______________ ...J L--- -------------------------------.. I ( 24
19.4251121 lntakeManifold(1) I
Hitachi EX270 22. 4251124 Washer (12) \
1
Hino H06CT 1. 4251870 Exhaust Manifold Gasket (6) 24. 4251125 Seal (1) I 1 2. 4251901 Exhaust Manifold Front (1) 25. 4251126 Intake elbow (1) I
3.
I 4.
I 5.
11
I
1
l
I I 18. 4251115 Stud (3) 1 I I I I I I

t I I I I I I I I I I I I I I I I I I I I I I I I I I l

---1 t
--I I I
_____ ...l 25
I
I I I I l I I I I t I I I i I I I I I I I I I I I I I I I I
r-----------------------t I t I I
BOLT;SEMS BOLT BOLT
NUT PIPE;EXHAUST
BRACKET MUFFLER
NUT BOLT
-----------------------I I I I I I l I I I
t I
I I I I L--- ----------------------------------------------...J 26
I HITACHI E270 HINO H06CT Exhaust Parts Page 01. 26. 30. 30. 31. 32. 33. 34. 35. 39. 51. 66. 66A. 668. 66C. 68. 4189055 J950010 J011228 J901228 J901245 A590912 J950012 8035581 A590912 7018288 4190984 4190587 4162835 4162837 4162836 4204326 [2] [8] [1] [1] [2] [1] [2] [1] [2] [1] [1] [1] [1] [2] [2] [1] BOLT;U NUT
WASHER;SPRING
WASHER;SPRING
CLAMP GASKET
GASKET
I
I I i I I I I I I I I I I I I

4148963 Air restriction indicator, located in air inlet tube

4148963 Air restriction indicator, located in air inlet tube ...i

r-----------------------------------------------1 t I t I L--- ------------- ---------------
.. ( ( 27
r-----------------------�I I HITACHI EX270 HINOH06CTI I I I I I I I I I j ((i;, 1 1 10 l �. II -----------------�-----7 IZ Uil 20 11 24 Glow plug ( I I I I I { I I I I I t I I I t I I I I I I I I I I I I I I I I 28
r----------- - -------1 I I I I l I ------------------------� I I I I I I I I I I 1 I I I I I I I I I I I l I I l l I I I I I I I I _______________________________________ __________J '�.�' . - ( 1. 2. 3. 4. 5. 6. 7. 8. 4251746 Soft plug (2) 9. 4251747 Soft plug (11) 10. 11. 12. 13. 14. 15.4251742 Intake Stud (6) 16. Blank 17.4251738 Exhaust Stud (16) 18.4251737 Exhaust Stud (2) 4251749 Cylinder Head 19. 4251736 Plug (1) 4251806 Intake Seat (6) 20. 4251735 Sealing washer (1) 4251807 Exhaust Seat (6) 21. 4251793 Intake manifold gasket (2) piece type 4251833 Push Rod Guide Pipe (12) 22. 4251871 Intake manifold gasket (6) piece type 4251804 Injector Tube (6) 22. 4364816 Intake manifold gaskets, for use with intercooler (6) 4251790 Oring (6) 23. 4251817 Exhaust manifold gaskets (6) 4251745 Soft plug (6) 24. 4364819 Glow Plug (6) 4251748 Soft Plug (10) 25. 4251364 Connector (2) 4251744 Soft plug (2) 26. 4251363 Connector (1) 4251743 Soft plug (5) 27. 4251364 Connector (2) 4251740 Ball (1) 4251741 Ball (1) Tool for installing 4251804 injector tube Bar 094721211A includes ball 9800-06100 Tool for installing 4251833 Push Rod Guide Pipe 09482-1320 29 4251869 Cylinder Head Soft Plug Set
· ..·.J.,llfii/' •109
104 �? 106 110 30
roe� � � 1�7
r------ ---1 I I I I l I ------------------------� I I I I I I I I I I 1 I I I I I I I I I I I l I I l l I I I I I I I I _______________________________________ __________J '�.�' . - ( 1. 37. 4251718 Oil Filler Cap (1) 38. 39. 40. 4251716 Lifting Hanger (1) 4251710 Bolt (2) 4251709 Bolt, Valve Cover (14) 42.4251707
4251749 Cylinder Head
30. 31. 32. 4251652 Head Bolt (6) 33. 4251653 Head Bolt (6) 36. 4251840 Valve Cover Gasket (1)
4251841 Head Gasket EX270 4251651 Head Bolt (20)
31 4251814 Head Bolt Set 4251848 Head Gasket Set, Upper Engine Gasket and Seal Set
Bolt (1)
43. 4251706 Lock Washer (1) 46. Blank 51. 4251720 Valve Cover (1) ffle, (1) 55. 4251703 Oil Filler Flange (1) 56. 4251700 Oring (1) 57. 4251701 Bolt (2) 104. 4251702 Hose, vent, (1)
105. Blank Clamp (1) 106. Blank Clamp (2) 107. 4251699 Nut (2) 108. 4251698 Plain Washer (2) 109. 4251697 Lock Washer (2) 110. 4251696 Holder (1) 111. 4251690 Spacer (1)
52. 4251711 Breather, engine breather (1) 53. 4251705 Oring (1) 54. 4251704 Plate, baffle (1)
:10 \ EX270 Hino H06CT 32
r----------- - -------1 I I I l I ------------------------� I I I I I I I I I I 1 I I I I I I I I I I I l I I l l I I I I I I _______________________________________ __________J '�.�' . - ( 18. 4251855 Cylinder Liner X (6) 18. I 4364698 Cylinder Liner Y (6) 20.4251759 Bushing, Shaft, (1) 21.4251650 Plug (2) 22.4251649 Plug (1) 23.4251647 Stud (2) 24.4251648 Pin (6) 25.4251646 Pin (2) 26.4251644 Pin (2) 27.4251888 Plate, Cam end (1) 28.4251889 Seal, Cam end (1) 29.4364669 Relief valve, oil (1) 30.4251885 Oil jet (6) 31.4364660 Bolt check oil jet (6) 32.4251645 Sealing washer (6) 3. 4251637 Cam Bushing (1) 4. 4251638 Cam Bushing (1) 5. 4251639 Cam Bushing (1) 6. 4251640 Cam Bushing (1) 7. 4251641 Cam Bushing (1) 8. 4251642 Cam Bushing (1) 9. 4251643 Cam Bushing (1) 10. 4251890 Soft Plug (2) 11. 4251636 Soft Plug (1) 12. 4251634 Soft Plug (4) 13. 4251635 Soft Plug (4) 14. 4251633 Soft Plug (4) 15. 4251632 Soft Plug (2) 18.4251631 Cylinder Liner W (6) 18. 4264802 Cylinder Liner Z (6) 4251856 Cam Bushing Set (6) 33 4251868 Cylinder Block Soft Plug Set
_,102 100 103 101 41 155 150 ( 44 40A 431 [k� ,s � 46 • /'---.__ 46 ,,, / --..____ 49 r �.48 (, 200 160 159 156 62· I 57
70
34 43
Hitachi EX2
Hino H06CT

66. 4251600 Sealing washer (1) 100. 4251466 Cover, Crankcase (1) 101. 4251467 Gasket (1) 102. 4251470 Bolt (10) 103. 4251468 Bolt (2) 150. 4364671 Oil Pan (1) 152. 4251464 Sealing Washer, oil drain (1) 153. 4251460 Oil drain plug (1) 154. 4251459 Plug, sealing washer, (1) 155. 4251463 Oil pan gasket (1) 156. 4251462 Cover (1) 157. 4251461 Bolts, oil pan (24) 158. 4251458 Bolts, oil pan ( 4 or 6 ) 159. 4251456 Bolts, oil pan cover (2) 160. 4251457 Bolts, oil pan (4) 161. 4251454 Bolts, oil pan (4) 162. 4251455 Bolts, oil pan (2) 200. 4251469 Dipstick (1) 201. 4251453 Tube, dipstick (1) 202. 4251450 Gasket, dipstick tube (1) 206. 4251551 Bolts, (2) 4251441

4251849 Lower Engine Gasket and Seal Set

r----------- - -------1 I I I I l I ------------------------� I I I I I I I I I I 1 I I I I I I I I I I I l I I l l I I I I I I I '�.�' . - (
53.
55.
56.
57.
58.
59.
60.
61.
Bolt
62.4251613
62.1
63.
1.4251630 Block Crankcase Series 1 1.4251724 Block Crankcase Series 2 1. 4364803 Block Crankcase Series 3 40.4251639 Plate (1) 41.4251638 Gasket (1) 43.4251635 Coolant Drain (1) 44.4251636 Sealing Washer (1) 45.4251634 Gasket (1) 46.4251632 Bracket and Tube (1) 47.4251633 Bracket, Injection Pump Mount (1) 48.4251631 Side Cover, Water jacket (1) 49.4251622 Gasket (1) 50.4251620 Gasket (1) 51.4251621 Plate (1) 52.4251623 Oring (1) 35
4251619 Bolt (2)
4251617 Bolt (2)
4251618 Bolt (2)
4251616 Nut (2)
4251614 Lock washer (2)
4251610 Plain washer (2)
4251611 Plain washer (2)
4251612
(20)
Bolt (1)
4251609 Bolt (1)
4251606 Bolt (1) 64. 4251607 Bolt (2) 65. 4251601 Plug, threaded (1)
70� 5o__;G. 71 73 �7472):1"' �1;6 4 109 108 13 110 111 HITACHI EX270 Hino
36
H06CTI
r----------- - -------1 I I I I l I ------------------------� I I I I I I I I I I 1 I I I I I I I I I I I l I I l l I I I I I I I I _______________________________________ __________J '�.�' . - ( 1 4251449 Flywheel housing (1) 4.
Stud (2) 5.4251439 Bolt
6.4251435 Bolt
7.4251436 Bolt
8.4251438 Lock
9.4251437 Plain
13.4251434 Cover
15.4251433 Oring
50.4251429 Front Timing Cover
Helisert
52.4251427 Plug
Front
Cover
Bolt,
Front
67.
Oring
68.
Bolt
70.
Plate
71.4251415 Holder (1) 72.4251417 Bolt (1) 73.4251418 Bolt (1) 74.4251419 Washer plain (1) 75.4251410 Lockwasher (1) 76.4251414 Nut (1) 109.4251886 Gasket, rear oil seal retainer (1) 110.4251887 Rear Crankshaft oil seal (1) 111.4251412 Bolts, (2) 112.4251411 Bolts, (5) 37 108.Retainer, rear oil seal retainer 4364675
4251440
(2)
(2)
(6)
washer (2)
washer (2)
(1)
(1)
(1) 51.4251428
(6)
(1) 53.4251794
Timing
Gasket (1) 54.4251426
front timing cover (2) 55.4251425 Bolt, front timing cover (11) 56.4251423 Bolt, front timing cover (1) 57.4251424 Revolution Sensor RPM (1) 65.4251660
Crankshaft Seal (1) 66.4251422 Flange (1)
4251420
(2)
4251421
(4)
4251416
(1)
j"\ • • 38
39

Hino H06CT

• HITACHI EX270
40

1. 4251396 Camshaft, series 1 (1) 1. 4251843 Camshaft series 2 (1) 23. 4251389 Pin, (2) 24. 4251388 Pin, (2) 25. 4251387 Bolt (3) 26. 4251386 Lockwasher (3) 27. 4251380 Thrust plate, idler gear (1) 29. 4251391 Bolt (1) 4364668 31. 4364649 Crankshaft gear (1) 32. 4251379 Oil pump drive gear (1)

2.

I ___ ___ ___ ___ ___ _ _ ___ ___ __ ___ ___ ___ ___ ___ ___ ___

r----------- - -------1 I I I I l I ------------------------� I I I I I I I I I I 1 I I I I I I I I I I I l I I l l I I I I
I I
___J
-
- (
I
'�
.�' .
1. 4364815 Camshaft series 3 (1) 4251395 Camshaft gear (1) 3. 4251394 Woodruff key (1) 4. 4251393 Nut, camshaft (1) 5. 4251392 Collar, washer (1) 6. 4251755 Camshaft thrust plate (1) 7. 4251391 Bolt (4) 20. 4364672 Idler gear (1) 21. 4251844 Idler gear bushing (1) 22. 4251390 Shaft, Idler gear (1) 28. 4251385 Thrust plate, idler gear (1) 41

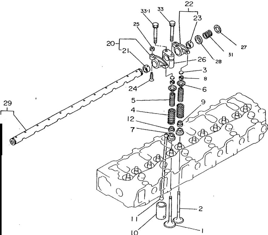
Single Valve SpringValve Train (fordoublespringvalvetrainseenextsection)

22 32 •• 42

1. 4251801 Intake valve, single spring (6)

2. 4251802 Exhaust valve, single spring (6)

3. 4251816 Cap, valve stem (12)

4. 4251809 Valve spring, single spring (12)

6. 4251812 Upper spring retainer (12)

7. 4251828 Lower spring retainer (12)

8. 4251813 Keeper, cotter, (24)

9. 4251808 Valve stem seal exhaust (6)

10. 4251829 Tappet, lifter (12)

11. 4251817 Push rod (12)

12. 4251808 Valve stem seal intake (6)

20. 4251819 Rocker arm intake (6)

21. 4251378 Bushing, intake rocker arm (6)

22. 4251820 Rocker arm exhaust (6)

23. 4251378 Bushing, exhaust rocker arm (6)

24. 4251821 Valve lash adjusting screw (12)

25. 4251822 Valve lash adjusting nut (12)

26. 4251818 Rocker shaft support (6)

27. 4251825 Washer (11)

28. 4251377 Spacer (1) 29. 4251824 Rocker shaft (1) 30. 4251376 Plug (2)

31. 4251826 Spring, rocker shaft, (5) 32. 4251827 Snap ring (2) 33. 4251823 Bolt 33.1 4251374 Bolt

r----------- - -------1 I I I I l I ------------------------� I I I I I I I I I I 1 I I I I I I I I I I I l I I l l I I I I I I _______________________________________ __________J
-
- (
'�
.�' .
43

Double Valve Spring Valve Train

( for single spring valve train see previous section )

..�.· .. '. .. \J
44
r----------- - -------I I l I ------------------------� I I I I I I I I I I 1 I I I I I I I I I I I l I I l l I I I I I I _______________________________________ __________J '�.�' . - ( 1. 4364817 Intake valve for double spring (6) 2. 4364818 Exhaust valve for double spring (6) 3. 4251816 Valve stem cap (12) 4. 4251811 Outer valve spring (12) 5. 4251810 Inner valve spring (12) 6. 4251373 Upper valve spring retainer DS (12) 7. 4251372 Lower valve spring retainer DS (12) 8. 4251813 Keeper, cotter (24) 9. 4251808 Valve stem seal exhaust (6) 10. 4251829 Lifter, Tappet (12) 11. 4251817 Push rod (12) 12. 4251808 Valve stem seal intake (6) 20. 4251819 Rocker arm, intake (6) 21. 4251378 Bushing, intake rocker arm (6) 22. 4251820 Rocker arm, exhaust (6) 23. 4251378 Bushing, exhaust rocker arm (6) 24. 4251821 Valve lash adjusting screw (12) 25. 4251822 Valve lash adjusting nut (12) 26. 4251818 Support, rocker shaft (6) 27. 4251825 Washer (11) 28. 4251377 Spacer (1) 29. 4251824 Rocker shaft (1) 30. 4251376 Plug (2) 31. 4251826 Spring, rocker shaft (5) 32. 4251827 Snap ring (2) 33. 4251823 Bolt 33.1 4251374 Bolt 45
4206090 Fuel Filter Assembly, base with spinontypefuelfilter }-=·'-------'---- ---------,.,,_.., ...-......---·•·-•--- 46 1 4206090 Fuel Filter Assembly, base with spin on type fuel filter 2 23316-1210 Plug, air bleed 3 23364-1040 Seal 4 23401-1373 Fuel filter, spin on
47
HITACHI EX270 HINO H06CT FUEL FILTER CARTRIDGE TYPE 23300-1790 FUEL FILTER ASSEMBLY, CARTRIDGE TYPE

HITACHI EX270 HINO H06CT FUEL FILTER CARTRIDGE TYPE

23300-1790 FUEL FILTER ASSEMBLY, CARTRIDGE TYPE

1 23310-1350 Base assembly, fuel filter mount base, for cartridge type

2 23311-1220 Base, fuel filter mount base, for cartridge type

3 23316-1040 Plug, air bleed plug

5 23321-1210 Canister, lower fuel filter canister

6 23401-1033 Fuel filter element set, element with seals, for cartridge type fuel filter

7 23312-1030 Gasket seal, fuel filter

8 23312-1060 Gasket seal, fuel filter

9 9851-15112 Seal

10 23329-1050 Bolt, center bolt for fuel filter canister

11 23322-1070 Plug, fuel drain plug

12 23333-1100 Spring, fuel element support spring

13 9851-06109 Seal

14 23334-1020 Plate, fuel filter element support

48

4206085 Fuel Water Seperator Assembly, Hino

5 8 49

7

Includes items 1 through 11 7
HitachiEX270 HinoH06CT I� 128127. ��100 75 126 \ -----• ..::.::!.·"·,,'..--..-,-�-----;·.-..;..;,;_,-1· -�-----·-------- ------�--·- . -. "-· \ ·w 125 148 147 140 . 146 ---- 145 :,<:-it;;i,,,,-...� ..0 _.,...,..,_,_.,,..� --.. •• •• - ( 50
r----------- - -------1 I I I I l I ------------------------� I I I I I I I I I I 1 I I I I I I I I I I I l I I l I I I I I _______________________________________ __________J '�.�' . - ( 1.4251758 Injection pump drive shaft (1) 2.4251295 Collar (1) 3.4364668 Injection pump drive gear (1) 5.4251294 Key (1) 6.4251393 Nut (1) 7.4251394 Key (1) 8.4251717 Plate (1) 9.4251391 Bolt (2) 10. 11. 12. 30. 30. 30. 31. 33. 33. 4251829 Governor EX270 34. 34. 4251940 Injection Pump Case EX270 l I 35. 4364694 Fuel Feed Pump Assembly EX270 40. 4251933 Oil Line (1) 41. 4251932 Bolt (1) 42. 4251927 Sealing washer (2) 43. 4251924 Clip 45. 4251921 Oil Pipe (1) 46. 4251915 Bolt (1) 47. 4251913 Sealing washer (2) 4251761 Oil Seal (1) 4251756 Sleeve (1) 70. 4251875 Injector Assembly EX270 4251760 Oring (1) 71. 4251876 Nozzle, for fuel injector EX270 4364667 Injection Pump Assembly EX270 72. 4364696 Sealing washers, Fuel Return Line (12) 4251830 Coupler 73. 4251966 Packing seal (6) 74. 4251967 Bolt, Injector Bolt (12) 75.4251243 Banjo bolt, fuel return (6) 51

120. 4206123 Injection Line #1 ( from fan end of engine ) 121. 4206124 Injection Line #2 122. 4206125 Injection Line #3 123. 4206126 Injection Line #4 124. 4206127 Injection Line #5 125. 4206131 Injection Line #6 126. 4206132 Clip (16) 127. 4206133 Clip (4) 128. 4206140 Lock washer (10) 129. 4206141 Nut (10) 140. 4206134 Fuel Return Pipe (1) 141. 4206135 Fuel Pipe (1) 142. 4206136 Clip 143. 4206142 Fuel Pipe (1) 145. 4206137 Bracket (1) 146. 4206143 Fuel Line Connector (1) 147. 4206138 Lock washer (1) 148. 4206139 Nut (1)

r----------- - -------1 I I I I l I ------------------------� I I I I I I I I I I 1 I I I I I I I I I I I l I I l l I I I I I I I I _______________________________________ __________J '�.�' . - (
80. 4206090 Fuel Filter Assembly 81. 4206086 Bolt (2) 90. 4206085 Fuel Separator Water 91. 4206084 Bracket 92. 4206100 Washer (3) 93. 4206102 Lock washer (3) 94. 4206103 Nut (3) 95. 4206110 Banjo bolt (1) 96. 4206112 Sealing washer (2) 97. 4206113 Sealing washer (2) 100. 4206114 Fuel Hose (1) 101. 4206120 Fuel Hose (1) 102. 4206115 Banjo bolt (1) 102.1 4206116 Sealing washer (4) 103. 4206121 Fuel Pipe (1) 104. 4206117 Fuel Hose (1) 105. 4206122 Clip 106. 4206118 Fuel Pipe 52
Hitachi EX270 HinoH06CT :·-· 11 / t2 � �-10 1. InjectorAssembly Includes: 2,4,5,6,7,8,9,9,10,11,12,13, 2. Nozzle, forinjector 3 Rebuild Kit forinjector Includes: 2,5,9,9,13,14, 53
r----------- - -------1 I I I l I ------------------------� I I I I I I I I I I 1 I I I I I I I I I I I l I I l l I I I _______________________________________ __________J '�.�' . - ( I 1. 4251875 Injector Assembly EX270 Includes: 2,4,5,6,7,8,9,9,10,11,12,13, 2. 2. 2. 4251876 Nozzle, for fuel injector EX270 3. 3. 3. 4. 5. 6. 7. 8. 9. 4252010 Rebuild Kit for injector EX270 Includes: 2,5,9,9,13,14, 4251227 Pin 4251247 Spring 4251241 Adjusting screw 4251242 Nut, Injector 4251243 Banjo bolt, fuel return 4364696 Sealing washers, Fuel Return Line 10.4251244 Injector Nozzle Retaining Nut 11.4251245 Pressure Pin 12.4251246 Injector Inlet Connector 13.4251226 Sealing washer 14.4251225 Sealing washer 54
H�tachiEX270 Hmo H06CT 107 �95 ft 97 .!t-96 131A 133A l/40A 55

Hitachi EX270 Hino Injection Pump 4364667

4364822 Injection Pump Case EX270

1/22. 4251139 Capsule (1)

1/30. 4251140 Stud (3)

1/35. 4251141 Cap (1)

1/40. 4251142 Adapter (1)

1/40A. 4251143 Adapter (1)

1/50A. 4251144 Spacer Ring (1) 4251145 Cover (1)

2/2. 4251147 Gasket (1) 4251150 Screw (2)

5. 4251151 Gasket (2)

16. 4251152 Cap (6) 21. 4251153 Nut (3) 23. 4251157 Oring (1)

30. 4364833 Plunger and Barrel Assembly EX270 (6)

36. 4364834 Delivery Valve Assembly EX270 (6) I I37. 4364835 Spring EX270 (6) I

r----------- - -------1 I I I I l I ------------------------� I I I I I I I I I I 1 I I I I I I I I I I I l I I l l I I _______________________________________ __________J '� -
. - (
.�'
56

40. 4251093 Gasket (6)

41. 4251094 Fitting, Injector Line (6) 42. 4251095 Stopper (6) 45. 4251096 Plate (3) 49. 4251097 Oring (6)

55. 4251070 Tappet (6)

55/2. 4251081 Bearing Pin (6) 55/3. 4251071 Roller (6) 55/4. 4251072 Bushing (6)

55/5. 4251073 Slider (6)

56/1. 4251074 Shim 0.30 56/1. 4251075 Shim 0.40 56/1. 4251076 Shim 0.50 56/1. 4251077 Shim 0.60 56/1. 4251078 Shim 0.70 56/1. 4251080 Shim 0.80 56/1. 4251081 Shim 0.90 56/1. 4251082 Shim 1.00 56/1. 4251083 Shim 1.10 56/1. 4251084 Shim 1.20 56/1. 4251085 Shim 1.30 56/1. 4251086 Shim 1.40

r----------- - -------1 I I I I l I ------------------------� I I I I I I I I I I 1 I I I I I I I I I I I l I I l l I I I I I I I I _______________________________________ __________J '�.�' . - (
57

56/1. 4251087 Shim 0.55 56/1. 4251088 Shim 0.65 56/1. 4251089 Shim 0.75 56/1. 4251090 Shim 0.85 56/1. 4251091 Shim 0.95 56/1. 4251092 Shim 1.05 56/1. 4251093 Shim 1.15 56/1. 4251094 Shim 1.25 56/1. 4251095 Shim 1.50 56/1. 4251096 Shim 1.60 56/1. 4251097 Shim 0.20 56/1. 4251099 Shim 0.25 56/1. 4250200 Shim 0.35 56/1. 4250204 Shim 0.45 56/1. 4250205 Shim 1.35 56/1. 4250206 Shim 1.45 56/1. 4250207 Shim 1.55 61.4250208 Spring (6)

r----------- - -------1 I I I I l I ------------------------� I I I I I I I I I I 1 I I I I I I I I I I I l I I l l I I I I I I I I _______________________________________ __________J '�.�' . - (
63.4250210
67.4250211 Control Rack (1) 68.4250223 Screw (1) 76. 4250227 Pinion (6) 77. 4250212 Control Sleeve (6) 78. 4250213 Screw (6) 58
62.4250209 Slotted Washer (6)
Slotted Washer (6)

93/1. 4250030 Shim 0.70

93A/1. 4250031 Shim 0.10 93A/1. 4250032 Shim 0.12 93A/1. 4250034 Shim 0.14 93A/1. 4250035 Shim 0.16 93A/1. 4250037 Shim 0.18 93A/1. 4250040 Shim 0.50 93A/1. 4250041 Shim 1.00 93A/1. 4250042 Shim 0.30 93A/1. 4250043 Shim 0.70 93A/1. 4250044 Shim 1.40 93A/1. 4250046 Shim 2.40 95. 4250047 Bearing Shell 96. 4250048 Screw (2) 97. 4250049 Washer (2) 100.4250050 Packing Ring (1) 101.4250051 Cover (1) 104. 4250052 Screw (4) 106.4250053 Oring (1) 107.4250054 Coupling Plate (1) 110.4250066 Nut (1) 111. 4250067 Locking Washer (1) 112. 4250068 Woodruff Key (1)

r----------- - -------1 I I I I l I ------------------------� I I I I I I I I I I 1 I I I I I I I I I I I l I I l l I I I I I I I I _______________________________________ __________J '�.�' . - (
59
r----------- - -------1 I I I I l I ------------------------� I I I I I I I I I I 1 I I I I I I I I I I I l I I l l I I I I I I I I _______________________________________ __________J '�.�' . - ( 131. 4250069 Hollow Fuel Bolt (1) 131A. 4250073 Hollow Fuel Bolt (1) 133. 4250076 Sealing Washer (2) 133A. 4250082 Sealing Washer (2) 152.4250085 Hollow Fuel Bolt (1) 154.4250086 Sealing Washer (2) 334.4250087 Hollow Fuel Bolt (1) 336.4250088 Sealing Washer (2) 60
Hitachi EX270 Hino H06CT Governor ? 65 15 I ��I �54 lq 174 175� i 100 61
r----------- - -------1 I I I I l I ------------------------� I I I I I I I I I I 1 I I I I I I I I I I I l I I l l I I I I I I I I _______________________________________ __________J '�.�' . - ( Hitachi EX270 4251829 Governor 1. 4251661 GOVERNOR HOUSING (1) EX270 3.4250090 O-RING (1) 4.4250092 CAPSULE (1) 6.4250093 ADAPTOR (1) 7.4250094 BLEEDER SCREW (1) 9.4250095 PLATE (1) 10.4250098 BLEEDER SCREW (6) 12.4250099 FLAT-HEAD SCREW (1) 13.4250150 HEXAGON NUT (2) 13.4250151 HEXAGON NUT (2) 14.4250152 BRACKET (1) 15.4250153 BLEEDER SCREW (1) 35.4250154 GOVERNOR COVER (1) 35/2. 4250155 BUSHING (1) 38.4250156 FLAT-HEAD SCREW (1) 39.4250157 UNION NUT (1) 47.4250158 CAPSULE (1) 62
r----------- - -------1 I I I I l I ------------------------� I I I I I I I I I I 1 I I I I I I I I I I I l I I l l I I I I I I I I _______________________________________ __________J '�.�' . - (
FLAT-HEAD
63
51. 4250159 BLEEDER SCREW (2) 53. 4250181
SCREW (1) 54. 4250182 UNION NUT (1) 56. 4250183 BLEEDER SCREW (4) 65. 4250160 STOPPING DEVICE (1) 80. 4250161 COVER (1) 82. 4250162 BLEEDER SCREW (1) 83. 4250184 BLEEDER SCREW (1) 84. 4250185 BLEEDER SCREW (6) 86. 4250186 BLEEDER SCREW (1) 100. 4250163 FLYWEIGHT ASSEMBLY (1) 101. 4250164 WOODRUFF KEY (1) 102. 4250187 LOCKING WASHER (1) 103. 4250188 UNION NUT (1) 117. 4250165 SLIDING PIECE (1) 118/1. 4250189 SHIM 0.20 118/1. 4250190 SHIM 0.30 118/1. 4250191 SHIM 0.40 118/1. 4250192 SHIM 1.00 118/1. 4250194 SHIM 0.50 118/1. 4250195 SHIM 1.50 118/1. 4250196 SHIM 2.00 118/1. 4250197 SHIM 3.00 118/1. 4250198 SHIM 4.0 130. 4250166 GOVERNOR SPRING (1)
r----------- - -------1 I I I I l I ------------------------� I I I I I I I I I I 1 I I I I I I I I I I I l I I l l I I I I I I I I _______________________________________ __________J '�.�' . - (
64
132. 4250167 COILED SPRING (1) 135. 4250168 HEADLESS SCREW (1) 136. 4250169 UNION NUT (1) 137. 4250170 GASKET (2) 138. 4250171 CAP NUT (1) 140. 4250172 HEADLESS SCREW (1) 141. 4250173 UNION NUT (1) 150. 4290202 SWIVELLING LEVER (1) 151. 4290203 BUSHING (1) 152. 4290204 O-RING (2) 152. 4290205 O-RING (2) 153. 4250174 LOCKING WASHER (2) 153. 4250176 LOCKING WASHER (2) 154. 4290210 PACKING RING (1) 155. 4290211 SHIM (1) 156. 4290212 SHIM 0.5 157. 4290206 BUSHING (1) 159. 4290209 WOODRUFF KEY (1) 160. 4290208 BUSHING (1) 161. 4290207 PLAIN WASHER 170. 4290225 FORK LEVER (1)

174. 4290213 STRAP (1) 175. 4290214 LOCKING WASHER (1) 181. 4290226 TENSIONING LEVER (1) 182. 4290230 BEARING PIN (1) 190. 4290228 CONTROL LEVER (1) 191. 4290227 CONTROL LEVER (1) 192. 4290224 BLEEDER SCREW (1) 195. 4290223 COILED SPRING (1) 201. 4290220 O-RING (1) 203. 4290222 CAP (1) 207. 4290221 CONTROL LEVER (1) 208. 4290219 COILED SPRING (1) 211/1. 4290240 SHIM 0.20 211/1. 4290241 SHIM 0.25 211/1. 4290242 SHIM 0.30 211/1. 4290243 SHIM 0.35 211/1. 4290244 SHIM 0.40 211/1. 4290245 SHIM 0.50 236. 4290231 GASKET (1) 237. 4290235 GASKET (1) 238. 4290232 O-RING (1) 335. 4290233 GASKET (2) 336. 4290236 CAP NUT (1) 400. 4290234 BRACKET (1) 401. 4290237 LOCKING WASHER (1) 402. 4290246 UNION NUT (1)

r----------- - -------1 I I I I l I ------------------------� I I I I I I I I I I 1 I I I I I I I I I I I l I I l l I I I I
I I I
__________J
-
- (
65
I
_______________________________________
'�
.�' .
Injection Pum HitachiEX270 HinoH06CT p Drive Coupler4251830 2 12 11 17 18 16 20 7 4 66
r----------- - -------1 I I I I l I ------------------------� I I I I I I I I I I 1 I I I I I I I I I I I l I I l l I I I I I I I I _______________________________________ __________J '�.�' . - ( Injection Pump Drive Coupler 4251830 1.4251831 Coupling Flange (1) 2.4251832 Bolt (2) 4.4251838 Coupler Plate (1) 6.4218011 Nut (2) 7.4218012 Bolt (2) 11.4218013 Coupler Flange (1) 12.4218020 Bolt (2) 16.4218014 Coupler Plate (2) 17.4218015 Bolt (2) 18.4218018 Washer (2) 20. 4218022 Bolt (1) 67
HitachiEX270 4364694 HinoH06CT 32 Fuel Feed Pump Assembly 36 6 8 7 FUELINLET SCREENIN BANJOBOLT 4218068TF Threadedtype 4218068SF Nonthreadedtype 68
r----------- - -------1 I I I I l I ------------------------� I I I I I I I I I I 1 I I I I I I I I I I I l I I l l I I I I I I I I _______________________________________ __________J '�.�' . - ( 4364694 Fuel Feed Pump Assembly EX270 1. 4218023 Pump Housing (1) 5.4218024 Pump Plunger (1) 6.4218036 Spring (1) 7.4218041 Cap (1) 8.4218042 Sealing Washer (1) 10.4218006 Tappet EX220-1 10.4218044 Tappet EX220-2 10.4364699 Tappet EX220-3 10/2. 4218046 Roller (1) 10/3. 4218048 Pin (1) 10/4. 4218050 Slider (2) 14.4218051 Valve Stopper (2) 15.4218052 Spring (2) 16.4218057 Cap (1) 18.4218059 Sealing Washer (1) 19.4218060 Sealing Ring (1) 20.4218063 Retaining Ring (1) 25. 4364701 Hand Primer EX270 30. 4218068 Hollow Fuel Bolt (1) 32. 4218069 Hollow Fuel Bolt (1) 35. 4218071 Sealing Washer (2) 36. 4218072 Sealing Washer (2) WITH SCREEN 69

1 t I t I I I I I I I I I I I I I I I I I I I I I I I I I I

r-
L__ ------7 I I
--
_ _j 70
I I I I l I I I I t I I I t I
I I I I I I I I I I I I I I

HITACHI EX270 EX270LC HINO H06CT ENGINE THROTTLE CONTROL CABLE

00. 4093764 (1) CABLE CONTROL, ENGINE THROTTLE CONTROL CABLE

01. 4056016 (2) JOINT;BALL 02. A590905 (2) WASHER;SPRING 03. M500504 (4) NUT 06. A590914 (1) WASHER;SPRING 07. J952014 (1) NUT 10. 4203300 (1) ROD 12. 4056017 (2) JOINT;BALL 13. M500605 (4) NUT 14. A590906 (2) WASHER;SPRING 17. 4190276 (2) CLIP 18. J901018 (2) BOLT 19. A590910 (2) WASHER;SPRING 51. 7018259 (1) LEVER 52. 8038497 [1] LEVER I 8044341 52. 8044341 (1) LEVER 53. 4173387 (2) BUSHING 54. 4188374 (1) PIN 55. A590114 (2) WASHER 56. 991337 (1) RING;RETAINING 57. 4188376 (2) ADJUSTER 58. 4122395 [ NUT 59. 4188375 (1) SPRING;TENSION 59. 4216154 (1) SPRING;TENSION

----------------------------------------------1 t I t I
I I
I I I I I
I I --- ---------- ------------------------------------... 71
I I l I I I I t I I I I I I I I I I I I I I I I I I
HitachiEX270 FUEL SHUTOFF
) -�•··---· '"' --•---+--Motor Type 4251839 ) Fuel Shutoff Solenoid Type 4364821 • --------·�,1 ) 72
HinoH06CT
r----------- - -------1 I I I I l I ------------------------� I I I I I I I I I I 1 I I I I I I I I I I I l I I l l I I I I I I I I _______________________________________ __________J '�.�' . - ( 1. 4251839 Fuel Shutoff motor type 2.4364821 Fuel Shutoff solenoid type 73

HITACHI EX270 HINO H06CT ELECTRICAL PARTS

1. 4285972 Starter with solenoid

2. 4285968 Alternator

3. 82064-1400 Harness sub assy, wire harness, alternator

4. 9008-03106 Strap, band, grounding

5. 4285965 Switch, low oil pressure sensor switch

5.1 4251335 Sensor oil pressure sensor,

6. 4251338 Oil Pressure Switch

7. 4251334 Connector, oil

8. 4251336 Seal, oil

9. 4251334 Connector, Banjo Bolt

10. 4285967 Overheat temperature switch

11. 4364648 Thermo sensor, Temperature gauge se

S11. 4251185 Seal, coolant

12. 9411-12402 Bolt starter

13.4251440 Stud, starter

S13. 9201-12100 Nut, starter S14. 9280-12300 Lock washer, starter S15. 9260-12240 Washer, starter

16. 4285966 Switch; Sensor low oil level in engine oil pan

S17. 9659-22104 Washer, soft, sealing washer,

18. 4364866 Relay, for glow plugs

S19. 9191-06162 Bolt, relay holder

20.15492-1032 Holder clip, wire harness to glow plugs

21.79904-1100 Clip

S22. 9762-16220 Clip

S23. 9679-10114 Grommet, wire harness

S24. 9260-08180 Washer

S25. 9280-08200 Lock washer

S26. 9200-08070 Nut 27. 4362706 Wire harness to glow plugs 28.285211020 Sensor, glow plug current S29. 930106300 Stud 30.285221010 Insulator, glow plug current 31.285221030 Insulator, glow plug current S32. 920106050 Nut, S33. 928006150 Lockwasher S34. 926006180 Washer, plain 35.19111-1130 Connector, glow plug 36.79904-1290 Clip S37. 9260-08180 Washer plain S38. 9280-08200 Lock washer S39. 9200-08070 Nut 40. 4364819 Glow Plug 41. 4251364 Connector, glow plug 42.4251363 Connector, glow plug 43.4285977 Bracket, alternator mount 44.4285978 Tensioner brace, alternator, 45.4206088 V-belt set, Fan belt set, two belt set S46. 940210350 Bolt with washer, flange bolt S47. 901160451 Bolt, alternator S48. 903110450 Bolt, alternator S49. 926010220 Washer S50. 940110250 Bolt S51. 928010250 Lock washer S52. 926010220 Washer S53. 928010250 Lock washer S54. 920110080 Nut

75

1.4186745 Switch assembly, start 1.4186743 Switch assembly, start 51. 4038459 Relay, hour meter 66.4205750 Timer, Preheat timer, Glow plug timer, 69. 4205751 Relay, engine stop relay 78. 4191772 Resister with 4204811 screw 81. 4211194 Switch, fast idle, throttle control 85. 4192489 Diode

HITACHI EX270 HINO H06CT 76

HITACHI EX270 HINO H06CT GAUGE PANEL DX SERIES

DX SERIES 77

PART NAME

NO. 01~40 4198552 01 4208843 02 4208844 03 4208845

04

·MASK LENS;WARNING MASK HOUSING;LAMP 1 10 4208852 ·BRACKET 1

···

························

4208859 4208860 4208861 4208862 4208863 4208864 4208864 4208865 4208866 4208867 4208868 A590903

M500303 WASHER WASHER; 8

~D89/03 I 4208864 2 D89/04~

29

··························· ···········•················•··•···········•· ··············································· ········· ··········•·········-········ · 30 4208871 6 31 4208872 6 32 4208873

1

CLIP

ITEM PART
ICA PART NO. O'TY
···· ······················ ····································-·········· ····························· ········-··· ··········
PANEL;GAUGE ASS'Y 1 1 ·COVER ·HOUSING;UPPER 1 ·SWITCH (BUZZER CANCEL) 1 4210973 CAP 1 •·······················- ··························•··•·············· ··············•·························-····-- ········· ·························
05 4210974 1 07 08 4210976 4210977 1 1 09 4208851
11 4208853 1 12 4364801 1 13 4208855 1 14 4208856 1 15 4210975 1
· 16 4210978 1 17 18 19 20 21 21 22 23 24 25 26 27
33 4208874 - ·CLIP
34 4213161 CLIP 2 ·················-········· ············································· ··············································· ················ · 35 4210979 1 36 4208877 3 37 4208878 14 38 40 4208879 4252141
·
TEMPERATURE
BRACKET METER;TEMP. ·METER;FUEL METER;HOUR BOARD;METER ·BOARD;CONTROL BRACKET HOUSING;LOIJJER BUZZER COVER SCREW;TAPPING SCREW;TAPPING SCREW;TAPPING SCREW;TAPPING SCREW;TAPPING SCREW · 4208861 Buzzer, Audible warning alarm, low oil pressure, high temperature,
1 1 1 1 2 2 2 10 2 5 8 8 78
28
4208870 SCREW 6
WASHER SCREW SCREW 3
SCREW;TAPPING BULB SOCKET;BULB COVER 14 1 05561~
GAUGE FUEL GAUGE HOUR METER
SPRING NUT HITACHI EX270 HINO H06CT GAUGE PANEL DX SERIES
79

HITACHI EX270 HINO H06CT GAUGE PANEL SDX SERIES

01.4208843 01-40.4187102 02.4208844 03.4208845 04.4208846 05.4208847 06.4208848 07.4208849 08.4208850 09.4208851 10.4208852 11.4208853 12.4208854 13.4208855 14.4208856 15.4208857 16.4208858 17.4208859 18.4208860 19.4208861

[1] COVER [1] PANEL;GAUGE ASS'Y

[1] HOUSING;UPPER

[1] SWITCH (BUZZER CANCEL)

[1] SWITCH (LEVEL CHECK)

[1] MASK

[1] BOARD Light assembly, four indicator lights on gauge panel

[1] LENS;WARNING [1] CLOCK [1] HOUSING;LAMP [1] BRACKET

[1] BRACKET

[1] METER;TEMP. TEMPERATURE GAUGE

[1] METER;FUEL FUEL GAUGE

[1] METER;HOUR HOUR MOTOR

[1] BOARD;METER

[1] BOARD;CONTROL [1] BRACKET

[1] HOUSING;LOWER

[1] BUZZER Audible warning alarm, low oil pressure, high temperature, 20.4208862[1]COVER 21.4208863[2]SCREW;TAPPINGI 4208864 21.4208864[2]SCREW;TAPPING 22.4208864[2]SCREW;TAPPING 23.4208865[12]SCREW;TAPPING 24.4208866[2]SCREW;TAPPING 25.4208867[5]SCREW 26.4208868[8]WASHER 27.A590903[8]WASHER;SPRING 28.M500303 [8]NUT 29.4208870[6]SCREW 30.4208871[6]WASHER 31.4208872[6]SCREW 32.4208873[3]SCREW 33.4208874[1]CLIP 34.4213160[1]CLIP 35.4208876[1]CLIP 36.4208877[3]SCREW;TAPPING 37.4208878[15]BULB 38.4208879[15]SOCKET;BULB 39.4213161[1]CLIP 40.4252141[1]COVER 41.J900820[4]BOLT 42.A590108[4]WASHER

80

63.4205749 RELAY SAFETY 64.4172004 REGULATOR 65.4167794 RELAY EMERGENCY 66.4168218 RELAY BATTERY 67.4187223 TEMPERATURE SENDING UNIT 73.4164304 PACKING, SEAL FOR TEMPERATURE SENDING UNIT 77.4148963 Air restriction indicator, located in air inlet tube 87.4151888 SWITCH OIL LEVEL HYDRAULIC OIL TANK FLOAT 105.4191038 FUSIBLE LINK – electrical connector with built in fuse 106.4191773 FUSIBLE-LINK electrical connector with built in fuse

81

EX270 EX270LC H06CT Engine Electrical Parts

15660-1040 Switch, sensor, in oil filter housing 4364819 Glow Plug EX270 EX270LC 4251363 Connector EX270 EX270LC glow plugs 4251364 Connector EX270 EX270LC glow plugs 4364866 Relay, for glow plugs 4251424 Revolution Sensor RPM Crankshaft Speed Sensor 4251338 Oil Pressure Switch 4251335 Sensor oil pressure sensor, use with 4364825 oil pressure gauge 4364825 oil pressure gauge 4285965 Switch, low oil pressure sensor switch 4285967 Overheat temperature switch, in thermostat housing 4362707 Wire Harness for 4285967 4364648 Thermo switch, Temperature gauge sensor, use with 4364801 temperature gauge in dash 4364801 Temperature Gauge in dash panel 4364666 Thermo switch, Temperature gauge sensor, use with 4208854 temperature gauge in dash 4208854 Temperature Gauge in dash panel 4187223 Sender, Unit TEMPERATURE SENDING UNIT 4208861 Buzzer, Audible warning alarm, low oil pressure, high temperature, 4208879 Warning light socket (with 4208878 bulb) 4208848 Light assembly, four indicator lights on dash 4205751 Relay, engine stop 4364821 Fuel shutoff Solenoid Type 4251839 Fuel shutoff Motor Type 4285966 Switch; Sensor low oil level in engine oil pan 4208846 Switch, fluid level check 4285968 Alternator 4285972 Starter with solenoid 4285976 Solenoid for starter 4168218 Relay, battery 4205749 Relay, safety 4191038 Fusible Link – electrical connector with built in fuse 4191773 Fusible Link – electrical connector with built in fuse 4172004 Regulator

4148963 Air restriction indicator, located in air inlet tube 4205750 Timer, Preheat timer, Glow plug timer, www.HeavyEquipmentRestorationParts.com

Email: EngineParts@HeavyEquipmentRestorationParts.com

82
HITACHI EX270 HINO H06CT 83

Qty. Price request

00 HINO H06CT ENGINE 1

00A 4206088 . FAN BELT SET (2 PIECES) 1

00B 15607-1433 . FILTER; OIL (MAIN) SPIN ON LATE TYPE 1

00C 4208243 . FILTER; OIL (BYPASS) 1

00D 23401-1373 . FUEL FILTER; SPIN ON FUEL FILTER 1

00E 4285966 . SWITCH; LOW OIL LEVEL IN ENGINE OIL PAN 1

00F 4285965 . SWITCH; LOW ENGINE OIL PRESSURE SWITCH . 1

00G 4285967 . SWITCH; THERMO HIGH ENGINE TEMPERATURE SWITCH 1

00G 4285967 . SWITCH; THERMO HIGH ENGINE TEMPERATURE SWITCH

00G 4364648 . SWITCH; TEMPERATURE GAUGE SENDER SENSOR 1

00H 4285970 . SEALING WASHER (SWITCH; THERMO) 1

00I 4285968 . ALTERNATOR 1

00J 4285969 WATER VALVE (HEATER) 1

01 J222012 WASHER 8 02 J222018 WASHER, BOLT MOTOR MOUNT 8 03 8048774 BRACKET, MOTOR MOUNT 1 05 4261541 BOLT 8 06 4189018 FLANGE WASHER MOTOR MOUNT BOLT 8 07 4256313 CUSHION, MOTOR MOUNT 4 09 J931806 BOLT MOTOR MOUNT 4 10 J951018 NUT, MOTOR MOUNT 4 11 4189017 SQUARE PLATE, MOTOR MOUNT 2 12 4256314 CUSHION MOTOR MOUNT 4 36 J011035 BOLT 5 41 7023520 BRACKET 1 42 4362707 HARNESS; WIRE 1

#
Part No Part Name
84

HITACHI EX270 HINO H06CT TOOLS 09442-1061 09553-1010 09470-1022 09420-1442 09482-1320 09411-1070

For removing 4251875 injector assembly tool 09462-1130 adapter Tool for installing 4251833 Push Rod Guide Pipe s

4251651 Head Bolt (20) 4251652 Head Bolt (6) 4251653 Head Bolt (6)

HITACHI EX270 HINO H06CT TOOLS
85

09482-1550 9851-36104 09420-1490 09444-1290 9001-24262 09472-1620

4251756 Sleeve 9851-36104

4251756 Sleeve 09482-1550 4251756 Sleeve 4251885 Oil jet 4251885 Oil jet 4251885 Oil jet

HITACHI EX270 HINO H06CT TOOLS
86

4251855 4251905 4251904 4251855

HITACHI EX270 HINO H06CT TOOLS
09552-1030 09420-1240 09402-1340 09402-1210 09480-1040 09441-1101 87

4251660 4251904 4364664 4364664

HITACHI EX270 HINO H06CT TOOLS
09482-1090 09420-1070 09482-1400 09420-1420 09431-1010 09819-3003 88
HITACHI EX270 HINO H06CT TOOLS
> Updated tool
includes ball
Tool
removing
Injector Assembly
tool s
89
09433-1060 09472-1210
094721211A
9800-06100 09408-1010 09462-1130 09472-1781
f 4251804 Injector Tube u 9800-06100 Tool f 4251804 Injector Tube 094721211A tool
4251875
09420-1442
4251808

09444-1210 4206088 V-belt set, Fan belt set, two belt set 09503-1080

HITACHI EX270 HINO H06CT TOOLS
90

Turn static files into dynamic content formats.

Create a flipbook
Issuu converts static files into: digital portfolios, online yearbooks, online catalogs, digital photo albums and more. Sign up and create your flipbook.