
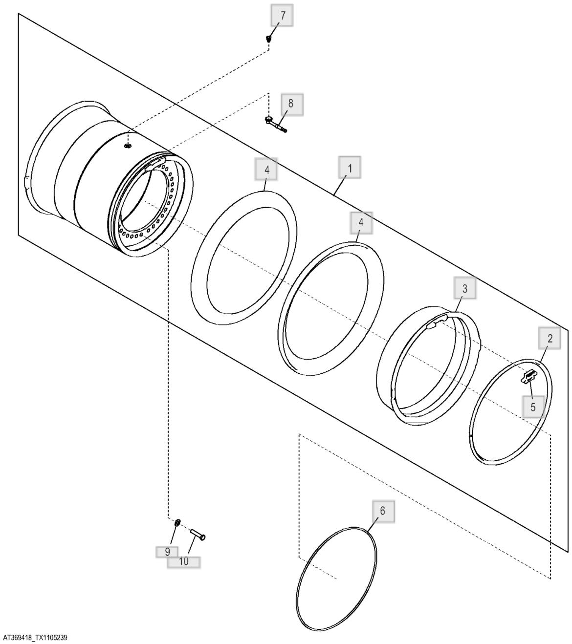
1 - Rim And Wheel Center
Number : AT376268 2 - Wheel Ring
Number : T265940 3 - Wheel Ring
Number : AT376264 4 - Wheel Ring
Number : T265939 5 - Driver 1
Number : T210127 6 - O-Ring
Number : T61616 7 - Tire Valve Stem
Number : T281988 8 - Tire Valve Stem
Number : AT388538
9 - Round Hole Washer
Number : 24M7242
Remarks : 21.400 X 42 X 5 mm 10 - Hexagonal Head Screw, M20 X 90
Number : 19M8147 Remarks : M20 X 90
- Wheel Ring
Number : T323713
Remarks : Per Wheel Not Illustrated

1 - Rim and Wheel Center, 27 X 29
Part Number : AT460431
Remarks : SUB FOR AT441829
2 - Wheel Ring 1 Part Number : T265940
3 - Wheel Ring 1 Part Number : AT376264
4 - Wheel Ring 2
Part Number : T265939
5 - Driver 1
Part Number : T210127
6 - O-Ring
Part Number : T61616 7 - Tire Valve Stem
Number : T281988 8 - Tire Valve Stem
Number : AT388538
9 - Wheel Ring
Part Number : T323713
Remarks : 3 Per Wheel 10 - Round Hole Washer
Part Number : 24M7242
Remarks : 21.400 X 42 X 5 mm, 32 Per Wheel
11 - Hexagonal Head Screw, M20 X 90
Part Number : 19M8147
Remarks : M20 X 90, 32 Per Wheel