Professional Electricians Wholesaler June 2023

Page 1

Plus: News, industry comment, sales support, display solutions and more THE BUSINESS MAGAZINE FOR ELECTRICAL WHOLESALERS WHOLESALER ELECTRICIANS EDA INSIGHT Test your Fire Safety and Security Systems knowledge with the EDA quiz CABLE MANAGEMENT Adding value and cutting costs TEST EQUIPMENT Preventing accidents and saving lives

CONTENTS

This issue

Regulars

12EDA INSIGHT

Test your knowledge of Fire Safety and Security Systems in this month’s quiz

COMPETITION

18WIN A T-SHIRT AND BEANIE COURTESY OF CARHARTT

Your chance to win a K87 T-shirt and stylish beanie hat, courtesy of Carhartt

SPECIAL REPORT

20 Addressing the industry skills gap

23 The implications of the ban on fluorescent lamps for contractors and wholesalers

CASE STUDY

14 Taking on the £885m Leadenhall development

19 How Byworth Boilers is benefitting from the reliability and durability of Flexicon conduit systems

CABLE MANAGEMENT

26ADDED VALUE

Why involving the manufacturer from the beginning allows you to add value and often cut the overall cost of a project

28DOWN TO EARTH

Earth electrodes and the relevant code of practice associated with their application

TEST EQUIPMENT

30OUT OF HARMS WAY

How to minimise the dangers of working with electricity, prevent accidents and save lives

32TESTING TIMES

A breakdown of the different types of test meters and their key features

WORKWEAR & PPE

35FROM THE US TO THE UK

PEW speaks to Carhartt about its plans for the UK market

PEW JUNE 2023 VOLUME 6 NUMBER 5
5 VIEWPOINT 6NEWS 10 WHOLESALER NEWS 13 CHARITY UPDATE 16 MOVERS AND SHAKERS 38 PRODUCTS 44 PRODUCTS IN DEMAND 45 CAMPAIGN NEWS 46 POINT OF SALE 48 SOAPBOX

Editor

Tracey Rushton-Thorpe tracey@pewholesaler.co.uk

Advertising Manager

Anthony Scott ascott@hamerville.co.uk

Assistant Advertising Manager

Ian Turner

Ianturner@hamerville.co.uk

Designer Gemma Watson

Group Production Manager

Carol Padgett

Production Assistant

Claire Thwaites

Circulation Manager

Kirstie Day

Professional Electricians Wholesaler is an essential business magazine for those with decision-making responsibilities within electrical wholesalers

To be removed from this magazine’s circulation please call 01923 237799 or email: circulation@hamerville.co.uk

Printed by Walstead Roche Ltd

Published by HAMERVILLE MEDIA GROUP Regal House, Regal Way, Watford, Herts WD24 4YF.

Tel: (01923) 237799

Fax: (01923) 246901

Copyright © 2023

6,025

(Certificate of Average Distribution for the issues distributed between January and December 2022)

WENEEDTOMAKEA COMMITMENTTOTRAINING FOR THE FUTURE

Welcome to our June issue and congratulations to you all on making it through what feels like a very long winter. As I sit here writing this, the sun is shining and the world feels like a great place to be. It certainly feels like we have seen the back of the dark and dreary days. As we now head into summer it’s time to take advantage of the longer days and shorter nights but it’s also time to shed the cloak of doom and look ahead – and perhaps start a plan of action for changes which you want to make.

One of the interesting things I have noticed this month is all of the news we are hearing about apprenticeships. In April this year the Government announced that non-levy paying employers would no longer be limited to a maximum of ten apprenticeship starts which has allowed smaller organisations to increase their number of apprentices and effectively start to fill the skills gap and grow their business.

We often hear about the ‘skills gap’ in the electrical industry with many citing an aging workforce and lack of new talent entering the industry as a problem. This isn’t unique to the electrical industry and is actually something which is widespread – particularly in the construction industry. But what are we doing about it?

The news for non-levy paying employers is very welcome and will be a huge turning point for those looking to recruit new apprentices into their businesses. But if you turn to our news pages you will see the good news is more widespread.

Let’s start with the fact that entries are open for the ECA Edmundson Apprentice of the Year Award. What a great opportunity that is and what a great way to raise the profile of electrical apprenticeships which are helping to bridge that skills gap.

We then move on to the decision by the Department for Education to list apprenticeships on the UCAS portal. The news story features a worrying statistic that only 8% of pupils thought that an apprenticeship would lead to a good job despite the fact that the Higher Education Statistics Agency cite that 85% of apprentices versus 80% of university graduates had reached employment. This is certainly food for thought.

Apprenticeships have had a bad reputation with many people over the years and have often been seen as the poor relation to a university degree – that simply isn’t true and hopefully the news that they will now be listed on the UCAS portal will do a lot to change that. We can however all do something in the longer term. The skills gap will not go away on its own and it is up to every single person working in the electrical industry to do their bit. It is clear that the apprenticeship route will be crucial in the longer term in bringing new blood into our industry – we just need to all get involved to make sure it happens….and make sure that it is sustainable.

So while you’re enjoying the start of summer have a think about those things that you might like to change, whether it’s a personal commitment or one for the business you are working in, because industry training is the way forward so let’s embrace it.

See you next month

VIEWPOINT
PROFESSIONAL ELECTRICIANS WHOLESALER JUNE2023 5

NEWS & VIEWS

COLLEGE REACHES TRAINING MILESTONE

LEEDS COLLEGE OF BUILDING CELEBRATES ELECTRICIAN TRAINING MILESTONE

One hundred electricians have benefitted from free Level 3 ‘18th Edition Wiring Regulations’ training at Leeds College of Building thanks to funding from the West Yorkshire Combined Authority (WYCA).

Delivered through the West Yorkshire Consortium of Colleges and re[boot], Skills Connect training is designed for adult learners looking to upskill, re-skill, and gain sector-specific qualifications within regional skill shortage areas.

Since July 2020, one hundred employed and self-employed electricians have completed the specialist training at Leeds College of Building. Re[boot] funding from July 2020 –March 2022 helped to upskill 70 electricians; a further 30 qualified through Skills Connect funding from January –March this year, with the latest cohort completing in Spring.

The 18th Edition Wiring Regulations programme is aimed at practicing electricians with relevant experience and

allied professionals needing to update and enhance their understanding of current wiring regulations.

Yasmin Ali, Business Engagement Manager at Leeds College of Building, said: “We’re delighted that 100 individuals have gained sought-after qualifications through our partnership with the West Yorkshire Consortium of Colleges and West

Yorkshire Combined Authority (WYCA).

“Tutor Adrian Holland has been exceptional in delivering training on the latest electrical industry standards, helping students attain excellent pass marks. As a result, uptake for the training has been superb. This work is essential to help sustain in-demand professions such as these.”

ANSELL LIGHTING ACHIEVES KING’S AWARD FOR ENTERPRISE FOR INNOVATION

Ansell Lighting has been honoured with the first ever King’s Award for Enterprise for Innovation.

Ansell is one of 148 organisations nationally to receive with a prestigious King’s Award for Enterprise and has been recognised for its excellence in the Innovation category for its patented Panel Pod product.

The King’s Awards for Enterprise was previously known as The Queen’s Awards for Enterprise, and the new name reflects His Majesty The King’s

desire to continue the legacy of HM Queen Elizabeth II’s, by recognising outstanding UK businesses. The Award programme, now in its 57th year, is the most prestigious business award in the country, with successful businesses able to use the esteemed King’s Awards Emblem for the next five years.

Mark Abbott, Managing Director of Ansell Lighting, said: “Achieving this award, especially in the first year of the King’s Awards, is a great honour and testament to the hard work and

dedication of our innovation team and everyone involved in the business.

“The design and creation of the Panel Pod was genuinely transformative for our business and continues to contribute significantly to our ongoing success. Its launch paved the way for new relationships with wholesalers and contractors who we had never worked with previously. It is a fantastic example of continuous innovation as, over the last eight years, we have continued to re-evaluated its design, making it lighter and more discreet, upgrading the battery to Lithium and now we are working on a reporting capability for it that will be extremely valuable to the building managers using emergency lighting.”

6 JUNE2023 PROFESSIONAL ELECTRICIANS WHOLESALER

ECA EDMUNDSON APPRENTICE OF THE YEAR AWARD 2023 NOW OPEN FOR ENTRIES

Entries are now open for this year’s ECA Edmundson Apprentice of the Year Award.

The winner will receive an array of prizes including £3,000 cash, a state-of-the-art toolkit and a unique study trip in Dornbirn, Austria, sponsored by manufacturer ZG lighting. They will also receive a Certificate of Commendation and two VIP tickets to the 2024 ECA Awards dinner.

There are also great prizes for two runners-up, including a £1,500 cash prize, a state-of-the-art toolkit and a Certificate of Commendation. Finalists will not only have good technical skills, but also be role models for others in the

industry. Eligible applicants will have completed their AM2 since April 2022. The entry deadline is Friday 9 June 2023.

The winners’ employer will be awarded a year’s subscription to the BSI library and a year-long licence for Electrical OM software, as well as increased company profile, press coverage, and two VIP tickets to the 2024 ECA Awards dinner.

Carolyn Mason, Head of Education and Training at ECA, commented: “Apprentices are crucial to the future of our industry, especially as we move towards a low-carbon future. These awards serve to raise the profile of electrical apprenticeships and highlight

the amazing work apprentices are doing to take our industry into the future.

“And it’s not just the winner who benefits from this award, but their employer too. They are given a unique opportunity to demonstrate how they successfully invest in the development of their staff, to ensure they offer the highest calibre of service.”

APPRENTICE AWARDS OPEN FOR ENTRIES

NEWS & VIEWS

ARMORDUCT BECOMES BEAMA MEMBER

ARMORDUCT JOINS BEAMA

Armorduct has joined BEAMA to help develop the trade association’s next best practice guide for cable containment design, specification and installation.

Dave Taylor Technical manager for Armorduct, commented: “This next best practice guide will be a significant document because since the last version in 2014 there have some big changes in the standards.

“Large volumes of cabling run through buildings to provide both electrical and data connections but the heat of fire can cause cable housings to fail and hidden cables to fall and become a hazard.

“Since 2019 you have to adequately support all cables using non-combustible

fixings to prevent premature collapse in the event of a fire, not just those on escape routes.

“It means that specifiers and installers must select high quality products that will perform if there is a fire. This guide will provide advice on preventing such premature collapse.”

Armorduct will also be involved in two further working groups as part of the cable management cable tray and trunking group. One will be involved in product fire resistance testing and the other in the development of the revised product standard BS EN 50085.

Continued Taylor: “As a proud British manufacturer we felt that it was vital to be involved in developing best practice and also in setting future standards and regulations for cable management products.

“Power and data are vital for an efficient and safe workplace and it is important that containment systems provide a safe and reliable means of getting it to where it is needed. As such we are delighted to be joining BEAMA and adding our voice to those of other responsible manufacturers to help maintain standards in modern installations.”

SELECT WELCOMES ADDITIONAL FUNDING FOR APPRENTICESHIPS

Campaigning trade body SELECT has welcomed additional funding for electrical apprentices and adult trainees following a plea to government – but has joined training providers to insist that support must continue to prevent future shortfalls of talent.

After making an urgent appeal to Deputy First Minister John Swinney, Scotland’s largest trade association says it is good news that Skills Development Scotland (SDS) will now meet the cost of an outstanding 87 apprentice and 68 adult trainee places for 2022/23.

But while there is relief for those recruited in 2022, the body says it is “worrying” that extra places won’t be funded in 2023 and beyond – and insists the Scottish Government must support the sector by providing full funding for those seeking to be apprentice electricians.

Alan Wilson, Managing Director of SELECT, said: “We warmly welcome SDS’s movement on providing additional apprentice and adult trainee places for last year’s intake, and it’s fitting that this news comes during Scottish Apprenticeship Week 2023, when we celebrate the

support for our talent of tomorrow.

“However, it’s vital that funding is guaranteed for the next intake in 2023 as this is essential to the future of the industry if we are to upskill our workforce effectively and achieve Scotland’s net zero ambitions.”

TAMLITE LIGHTING EVENT FOCUSES ON SUSTAINABILITY

The circular economy, sustainable specification and greening the built environment supply chain were amongst the recurring themes of a full day of thought-leadership at Tamlite Lighting’s latest Let’s Talk About Light event. The one day event at The Belfry Hotel began with an inspirational keynote speech from architect, TV presenter and built environment campaigner George Clarke.

Bringing together some of the UK lighting sector’s most influential figures as presenters and panellists, Let’s Talk

About Light played host to nearly 40 of the UK’s leading lighting designers and consulting engineers.

Alongside George Clarke, the speakers were Bob Bohannon, Head of Policy and Academy at The Lighting Industry Association (The LIA), Lead author of the Society of Light and Lighting’s Lighting Guide Update, Iain MacCrae and Strategic Solution Sales Manager at Tridonic UK, Simon Blazey.

JTL SUPPORTS APPRENTICESHIP LISTINGS ON UCAS PORTAL

JTL has announced its support for the Department of Education’s (DFE) decision to list apprenticeships on the UCAS portal.

The plans mean that thousands of apprenticeship opportunities will be listed alongside the undergraduate routes usually presented on the UCAS portal. For 2024, UCAS is developing a system that will allow for streamlined apprenticeship applications. Figures from

UCAS in 2022 showed that only 8% of pupils associated apprenticeships with leading to a good job, despite data from the Higher Education Statistics Agency (HESA) for 2021 – 2022 revealing that though 80% of university graduates had reached employment, a proportionally larger 85% of apprentices had.

It is hoped by JTL that the equal consideration for apprenticeships on the UCAS portal may help to affect the

incorrect perceptions of apprenticeships, and hopefully encourage more potential learners to consider this route in a time when skilled workers are vital to this country’s economic growth.

Caroline Turner, Director of Policy and External Relations at JTL, said: “At JTL, this kind of parity is all we could realistically strive for in governmental policy change. With an equal voice to that of traditional undergraduate routes, we may be able to shift the culture that has for so long put apprenticeships on the backfoot.”

APPRENTICESHIP FUNDING WELCOMED
PROFESSIONAL ELECTRICIANS WHOLESALER JUNE2023 9

AEI CABLES EXPANDSDISTRIBUTION CENTRE

AEI Cables has expanded its centre for distribution for existing and new customers at its UK headquarters.

The company has increased the space for stock at its modern facilities at Washington, Tyne & Wear in the North East. The additional facility of 13,000ft2 will ensure all service needs are met for its customers.

Stuart Dover, general manager for AEI Cables, said: “The extra space means we can meet further demand for our specialist products at the volumes required to anywhere in the UK quickly

and efficiently. Our existing and new customers can have the confidence of supply with the back-up of technical expertise all from one location.”

Using the very latest in technology and science, the Firetec Total Fire Solutions range offers Mineral Insulated Cabling (MIC), Firetec Enhanced fire performance cabling, accessories and technical support from the AEI Cables distribution facility at Washington, Tyne and Wear.

HEATING COMPANY ACQUIRESRENEWABLEHEATING AND ELECTRICALDISTRIBUTOR

Project Heating Solutions (PHS) has acquired specialist renewable heating and electrical distributor AMCO of Doncaster (AMCO).

Formed in 2018 and also based in Doncaster, PHS designs and installs renewable heating technologies and energy saving measures for retrofit residential, commercial and new build property developments. Its products includes solar PV & battery storage, air source heat pumps, ground source heat pumps, external wall installation, internal

wall installation as well as loft installation top up. AMCO has an extensive network and strategic partnerships with a number of the market’s leading manufacturers located in Asia, Europe and across the UK. Through the strategic acquisition, forecast annual revenues for the combined businesses are expected to exceed £35m.

The acquisition is intended to provide significant growth opportunities for both trading entities to expand their specialist services to existing and new customers

across the UK. AMCO MD, Steve Bentley, joined the PHS Board of Directors from completion of the acquisition and also purchased a significant equity stake in the buyer as part of the transaction.

PHS founder and managing director Russell Steelyard said: “I am delighted to have completed the acquisition of AMCO and welcome Steve Bentley and the team to the PHS family. This acquisition puts us in a unique position in the marketplace and will accelerate our future growth.”

WHOLESALER NEWS
In association with Scolmore AEI CABLES ANNOUNCES EXPANSION

EDA INSIGHT

An update from the Electrical Distributors’ Association

SECURE IN YOUR KNOWLEDGE

The EDA’s Product Knowledge Modules help businesses like yours create cross-selling and up-selling opportunities by building knowledge and confidence. These training modules have recently won a Princess Royal Training Award 2022 so you can be assured of their value.

Fire Safety and Security Systems is one of 12 training courses in the programme. The EDA modules are flexible and can be studied in any order or combination. You choose only thetrainingyour team needs.

E-learning option

By summer 2023 all the EDA training modules will be available in a digital format instead of a printed textbook. The digital learning option is a complete e-learning experience with videos and interactive content. The EDA team is happy to talk you through your options and can give you a demonstration of the new e-learning platform.

Professional know-how to drive sales

Improving your team’s technical know-how through the EDA’s training could unlock additional revenue for your business. Fire Safety and Security Systems training module covers:

● Fire detection and alarm systems for non-domestic buildings

● Domestic (household) fire alarm systems

● Emergency lighting systems

● Intruder detection and alarms

● Access control and building intercom systems

● Video surveillance systems

TEST YOUR KNOWLEDGE

Have a go at this quiz sampled from the Fire Safety and Security Systems module. Then check your answers below. If the results show that you need to boost your team’s know-how, talk to the EDA today.

Q1: Why should an electrical locking system have a mechanical or manual override?

Q2: What does the term LD2 mean?

Q3: State two places that carbon monoxide alarms should be used.

Q4: Give an example of standby lighting.

Q5: What is a ‘drain wire’?

Q6: If the focal length of a lens increases what happens to the view of the camera?

Q6: The angle of view becomes narrower.

Q5: Used to discharge electrical interference to a ground point.

Q4: A critical area such as an operating theatre or where work activities must continue for a certain amount of time.

Q3: They should be installed: on each level of the home and ideally on any level with fuel burning appliances, outside of every bedroom and close to sources of carbon monoxide such as furnaces, water heaters or fireplaces.

Q2: It refers to any escape route circulation area or area where a fire might start such as kitchens and living rooms.

Q1: In case the electrical system fails or is de-powered.

ANSWERS:

HOW DID YOU DO?

Full marks: Well done! 3 - 5 out of 6: Not bad. Could the EDA training help you to fill in any gaps in your knowledge and help you progress in your career?

Less than 3: The EDA Product Knowledge Programme could be just what you need to boost sales.

WATCH THE VIDEO AND DOWNLOAD THE COURSE DIRECTORY

THERE’S PLENTY OF INFORMATION ONLINE AT WWW.EDA.ORG.UK INCLUDING VIDEOS AND A DOWNLOADABLE COURSE DIRECTORY, GIVING YOU A SUMMARY OF WHAT’S COVERED IN EACH OF THE 12 TRAINING MODULES. THE EDA TEAM IS READY TO HELP. CALL 020 3141 7350 , EMAIL TRAINING@EDA.ORG.UK OR VISIT WWW.RDR.LINK/WAK001

If you’re a manager looking for a flexible and convenient way to train your team to drive sales, get in touch on: 020 3141 7350 or email: training@eda.org.uk

www.eda.org.uk

Electrical Distributors’ Association

ELECTRICALDA @eda_uk

D

STRESSANDANXIETY: HOWLIKELY ARE THEY TO AFFECT ME?

As part of series of articles on the subject, this month the EIC examine how common stress and anxiety are in society.

How do we measure stress?

Before we talk about how common stress is, it’s important to note that there isn’t a blood test or medical investigation that can prove or demonstrate that someone is under stress. Stress is an experience that is highly subjective and varies vastly from one individual to another.

People are affected differently by stress

We all experience the world slightly differently from each other. Some people thrive off stress, and enjoy the perceived benefits of it, for some, it can help boost or motivate their performance and will choose a profession because of this. This does not apply to everyone, and we’re all different, which is what makes us all unique. Some people may struggle with being subjected to repeated long-term stress and will have to put coping mechanisms in place to help to avoid it.

How common is stress?

It’s hard to determine how many people are under stress because often people don’t report it and it manifests itself in different ways depending on the person.

The UK Health and Safety Executive (HSE) report from 2022 found that for the year 2021/22 there were a total of 914,000 cases of work-related stress, depression, or anxiety. This works out to be approximately 2,750 cases per 100,000 workers. However as we know that not everyone reports stress, these figures are likely to be higher.

The HSE report also found that in the years before the coronavirus pandemic, the rate of self-reported work-related stress, depression and anxiety was showing signs of increasing.

How common is anxiety?

The most common anxiety disorder is

generalised anxiety disorder.

Generalised anxiety disorder affects between 4% and 7.9% of people where they initially seek help from a pharmacy or doctor. It’s often undiagnosed and it’s estimated that fewer than half of the people with generalised anxiety disorder seek treatment. This can be for several reasons, there’s still a stigma around anxiety and people feel ashamed to get help for it, or they may not realise that the feelings they are experiencing are that of anxiety. Generally, it’s more prevalent in women by two thirds, than in men. It’s often the case that men don’t speak about how they’re feeling as much and this can result in them being undiagnosed and in some cases, suicide. With the electrical and energy industries being predominantly male, it’s so important that we continue to break the stigma around poor mental health.

Did anxiety levels change during the pandemic?

The Office of National Statistics (ONS) found that almost half (49.6%) of people surveyed reported high anxiety levels at the beginning of the lockdown, between 20th and 30th March 2020. In the electrical industry, we’re seeing that there are still devastating ripple effects from the pandemic.

Links with anxiety and depression

Generalised anxiety disorder often occurs together with depression. 62% of people with generalised anxiety disorder have had at least one episode of depression during their lifetime. The more awareness we raise around stress and anxiety, the more people we can help who are suffering. It’s important to remember that if you are feeling like life is more difficult than normal and you have a persistent low mood, to reach out for help.

Who

is at risk of stress and anxiety?

Anyone can be at risk of stress and/or anxiety. As stress varies from person to person, it’s not as easy to pinpoint what causes it, but it can be loneliness, relationship problems, disability, age, financial circumstances, work-related stress or feeling overwhelmed with a busy schedule.

In the UK, the most common type of stress is work-related. Companies are putting more and more procedures in place to help employees with stress, but if your job is isolating and you work on your own, it can be hard to recognise and prevent the symptoms of stress. We’re also seeing that younger people are feeling more stressed than ever before. There’s lots of pressure on young people and apprentices and this can cause a ripple effect, creating lots of other problems.

Remember, if you’re feeling stressed or anxious, please reach out for help to The Electrical Industries Charity or Dr Dipesh Mistry. Email: support@electricalcharity.org

PROFESSIONAL ELECTRICIANS WHOLESALER JUNE2023 13
CALL THE HELPLINE: 0800 652 1618 OPEN: MON – FRI 8:00 AM –8:00 PM SAT 8:00 AM – 1:00 PM OR VISIT: WWW.RDR.LINK/WAK002 CHARITY UPDATE

HALL OR NOTHING

4

0 Leadenhall is a £885m 900,000ft2 office development with some retail and leisure facilities in the City of London. It consists of several stepped blocks that includes two towers, one of which is 34 storeys tall and the other 14 storeys high.

Large scale

The challenge for the electrical and building services was to find a solution that contractors could install incrementally one floor at a time while sticking to a strict timetable to keep the project on track.

Due to the scale of the project, the electrical contractor LMOB needed to install seven main risers, three in one tower and four in the other. They also needed a cable management solution to run the cabling to services on each floor.

LMOB contacted RMS with a proposed design for the main risers. These would be modular units that interconnect between each floor and need to accommodate a huge amount of services, equipment and cabling. Due to the complexity of constructing such units on site, RMS and LMOB decided that an offsite solution delivered to site incrementally to meet the build schedule was the best option.

RMS decided to prototype a riser module for testing and inspection to prove that the concept would work in practice before committing to manufacturing.

Produced in just two days, the team made some minor alterations to this test module before it was signed off.

CASE
14 JUNE2023 PROFESSIONAL ELECTRICIANS WHOLESALER
STUDY
PEW finds out how RMS partnered with LMOB electrical contractors to meet strict time deadlines for what they claim to be the largest offsite manufactured electrical and building services solution in Europe.

Said Pete Willshire, managing director of RMS: “It is one thing to have a design drawing for a solution but for large complex projects such as this it really pays to prove that the concept will work in practice. It is better to test a concept than having to alter it on a busy construction site.”

For the main installation RMS

manufactured 460 modular riser units that the contractors installed one unit at a time. Many of these risers had services, such as electrical distribution boards installed within them. To achieve this, contractors from LMOB worked on site at the RMS factory in partnership with the company. This ensured that each prefabricated riser module with preinstalled services was quality checked before delivery.

RMS scheduled deliveries with LMOB so that the riser unit modules for each floor plus standard cable tray, trunking and other cable management products all arrived one week in advance as a complete package.

Each riser module connects to the module on the floor above and below it using a flexible link also designed and manufactured by RMS. These all had different heights since the concrete floors between levels have different thicknesses depending on how high each floor is in the building, with lower storeys having thicker floors.

Time saving solution

Said Richard Pendleton, operations director at LMOB: “We managed to cut the electrical installation time for each floor down from an expected 2-3 weeks to just three days. When you are working on large projects like this and need to co-ordinate different trades any time savings are a major factor in keeping projects on track.”

Working closely with LMOB, it was also a major logistical exercise for RMS to ensure that the right modules and standard products were all delivered to a central London site on schedule.

Continued Wilshire from RMS: “When people talk about offsite construction, they often think of complete rooms or pods that are connected together. Often however a manufactured solution removes complexity from the construction site to help save time and ensure a high-quality consistent build for a complex system.

“At RMS we are often involved in projects that combine bespoke design with offsite manufacturing at our factory with standardised cable management

construction site and being able to flex to meet different needs is an important requirement from manufacturers.

“Over the years we have learnt that the best results happen when a specifier engages with us at the beginning of a process. In this case LMOB understood what they needed and we provided the design and manufacturing expertise to help them achieve this.”

40 Leadenhall is due for completion towards the end of this year. A major part of keeping the electrical and building services installation on track was due to offsite manufacturing removing complexity from the construction site to cut time on site. With the shortages of skilled labour available it is vital to maximise the resource that you have on site, so the role of offsite manufacturing is set to grow.

CASE STUDY
PROFESSIONAL ELECTRICIANS WHOLESALER JUNE2023 15
FURTHER INFORMATION
WWW.RDR.LINK/WAK003
FOR
VISIT:

MOVERS ANDSHAKERS

Luigi La Morgia BDR THERMEA

The parent company to Baxi, BDR Thermea, has appointed Luigi La Morgia as Chief Operating Officer (COO). Luigi will join the management board and report directly to CEO Bertrand Schmitt.

Luigi brings over 20 years of experience in general management, operations and supply chain in large multinationals, including at Ducati, Fiat Powertrain, and most recently Whirlpool, where he served as Vice President Manufacturing and Supply Chain EMEA. In this time, Luigi has been involved in successful company integration processes, supply chain turnaround and world class manufacturing development.

In his position as COO, Luigi will be responsible for group-wide procurement, supply chain and manufacturing, to maximise the effectiveness and efficiency of BDR Thermea Group’s operations for its customers. This includes the UK-based customers served by Baxi and its brands, both in the residential and commercial sectors.

Kevin North ARMD

ARMD has appointed Kevin North as its new Sales Director, as it expands its team ready for growth. Highly experienced in the trade sector, Kevin has previously worked with Thomson Local, Rated People, Plentific and Checkatrade. Kevin is also a former electrician and is now helping to protect them, and other trades, from the scourge of tool theft.

His appointment is part of an expansion following a successful funding round as well as the field trials and launch of the ARMD Guard smart van alarm and tracker system.

“We are delighted to welcome Kevin on board,” said Duncan Jackson, co-founder and Chief Commercial Officer of ARMD. “Following our successful crowdfund, we are now looking for mutually beneficial partnerships particularly with builders’ merchants, electrical wholesalers and other companies who solve the problems tradespeople encounter as they go about their day-to-day business.”

It’s been a busy few months in the electrical industry, with new appointments and shake-ups across different sectors. Keep up to date with the latest movements here, as we detail who has gone where.
©AdobeStock_Stockyimages 16 JUNE 2023 PROFESSIONAL ELECTRICIANS WHOLESALER

Jake Green, Neil McManus & James Hannon SCOLMORE GROUP

Jake Green has been promoted to Head of Technical Engagement at Scolmore Group. Having joined the company in 2021 as Technical Engagement Engineer, Jake’s new role includes engaging with consultants, specifiers and electrical contractors to advise and educate them on the right solutions and products to meet the ever changing regulations and technical requirements of the industry.

Neil McManus joined towards the end of last year as Technical Engagement Engineer. A TMIET member (Technician Member of the Institution of Engineering and Technology), Neil has more than 20 years’ experience teaching and managing a large provision at Leicester College, where he delivered all the electrical qualifications as well as implementing the provision of T Levels qualifications.

James Hannon joined the Ovia division of Scolmore Group as a senior technical lighting engineer in 2021 and has since been promoted to the position of Technical Engagement Manager. James’ previous experience includes five years working as a qualified electrician and eight years as a senior site services engineer with a leading manufacturer of commercial and industrial lighting systems.

MOVERS & SHAKERS

Since 1889 Carhartt has been known for its rugged construction and innovative workwear designs. Now the company is focusing on increasing stockists among electrical wholesalers and buying groups.

WINAK87T-SHIRTANDSTYLISH BEANIE COURTESY OF CARHARTT

The increased focus in the United Kingdom includes the opening of its office in Newark, Nottinghamshire, and a UK field sales team that is growing and supporting wholesalers. Carhartt workwear is a brand that tradespeople really want, seek out with point of sale that is really eye catching and reflects the company’s authentic, hardworking ethos.

With a heritage built on tough workwear specifically designed for hard working professionals, the workwear looks great in store and is really well suited to the exacting standards tradespeople need here in the often rainy and cold UK!

The prizes

PEW has five sought after Carhartt A18 beanies and K87 T-shirts to giveaway. These items are super stylish and a firm favourite among hard working people.

HOW TO ENTER

To be in with a chance of winning a beanie and T-shirt simply choose the correct answer from the following choices:

Q. From what year has Carhartt been known for its rugged workwear?

A I 1889

B I 1999

C I 2009

SIMPLY VISIT

WWW.RDR.LINK/WAK004 TO ENTER YOUR ANSWER

Deadline for entries 10/07/2023.

Usual T&Cs apply

COMPETITION
18 JUNE2023 PROFESSIONAL ELECTRICIANS WHOLESALER
WIN! WIN!

ON THE BOIL

Byworth Boilers, a manufacturer of industrial steam and hot water boilers, has been specifying the Flexicon cable protection system for the past 15 years, for both its mechanical protection properties and practicality for use in a fast-moving production line of heavy machinery.

The company supplies its boilers, alongside maintenance and training services, for a broad range of applications, including healthcare and hospitals, breweries and food production to name a few.

While the end applications differ, each of Byworth’s customers are the same, in that they cannot afford the risk of equipment downtime, as Dave Podsiedzik, Electrical Foreman from the company explains: “The consequences of failing to use the correct cable containment and protection for our product range could be disastrous for our customers. Any downtime of our products will ultimately lead to loss of production, so we aim to reduce this as much as possible by providing the highest quality of products in our design.”

Speed of installation

The demands of the busy manufacturing environment mean that Byworth looks to specify products that are simple and easy to install. Dave Podsiedzik continues: “The ease in which you can cut the Flexicon

FSU conduit, and the nature of its flexibility makes it the perfect product for our needs, helping to guarantee speed as well as product safety.

“The quality of the Flexicon brand gives us the confidence in the longevity and durability of our machines. We are frequently complimented by our visitors and customers for the ‘tidiness’ of the cable management, which is as a result of our skilled workforce as well as the adaptability of the Flexicon FSU conduit.”

Robust and durable Flexicon’s FSU range of flexible conduit is manufactured from galvanised steel with PVC coating, making it ideal for the

rigours of the hazardous environments in which the boilers are often operating. In these applications, there are numerous factors which could lead to boiler breakdown, but using the Flexicon range has proven to significantly reduce the likelihood of cable damage contributing to equipment failure.

Dave Podsiedzik concludes: “The galvanised steel conduit provides excellent impact protection, and the PVC coating adds additional protection for the internal wires from water damage and erosion. The longevity of the FSU range for use in a hot and damp environment is also a major factor in our decision. Conduits are terminated using fittings which are manufactured from quality nickel plated brass, thus extending the life of the installation.We need to ensure our machines’ longevity by using quality products what live up to our high expectations. With the FSU range, this is achieved.

“We had used other cable protection systems previously, but the quality of the Flexicon product, alongside its ease of installation and excellent availability have meant that we have never had an issue during the past 15 years.”

TO FIND OUR MORE ABOUT THE FLEXICON RANGE VISIT:

WWW.RDR.LINK/WAK005

PROFESSIONAL ELECTRICIANS WHOLESALER JUNE2023 19
CASE STUDY
PEW hears how Byworth Boilers is helping protect uptime for its customers thanks to the reliability and durability of Flexicon FSU flexible conduit systems.

MIND THE GAP

On the brink of a new energy landscape where buildings must become more energy efficient, the UK is facing a major skills shortage in the construction industry, and specifically electrical installation experts, which could hold us back from any real change.

Keeping up with demand

The UK is suffering a shortage of skilled electricians with the know-how to drive us into a greener age of energy. The UK Skills Index has reported that just to keep up with the pace of demand, almost a quarter of the workforce need to be qualified apprentices to bridge the growing skills gap – that’s 24,000 apprentices that must qualify year on year.

Obviously, training is key but there are ways we can ensure the specialist skills currently available are used efficiently –assigning them to the right tasks that best match their skillsets. This may sound obvious, but one way to facilitate this is by providing them easy access to simple, flexible and scalable kit that is not too complex to install. This means assigning trainees or apprentices to basic tasks whilst their more experienced colleagues are diverted to work on the complex jobs that will help us deliver the modern requirements to meet our 2050 energy goals.

Leaders in the electrical space are now providing out-of-the-box products aimed at light commercial use cases, including multistorey residential buildings, schools and public buildings, and high-end property installations, which arrive ready-to-install. For distributors, the ability to offer consolidated ‘ready-to-go’ solutions for projects that range from small home installations, to light commercial and larger commercial projects, is always beneficial.

Design requirements

One real-world example of this is Schneider Electric, which has outlined the tools and solutions to help the new age of electricians migrate to these commercially minded use cases. As one of the leaders in digital transformation, energy management and automation, Schneider Electric has built a suite of electrical distributions designed specifically for these kinds of commercial applications.

Schneider Electric’s range offers distributors different options to help meet their customers electrical design requirements. It spans from entry-level, targeted at the new wave of electricians and contractors who are picking up a slew of new work in the wake of a revitalised energy landscape, to more established

SPECIALREPORT 20 JUNE2023 PROFESSIONAL ELECTRICIANS WHOLESALER
PEW hears from Schneider Electric on how we can tackle the skills gap in electrical installation.
Basement Ground floor Second floor First floor

applications that are suitable for larger and more complex buildings. Whatever the case, these products can become the ‘goto’ tools for more established firms relying on ready-to-install applications that will ensure their workforce is efficient and consistent.

With these lines of products, electrical distributors and wholesalers can fast-track an electrician’s skillset by supplying solutions as standalone products or as integrated components in modular assemblies, delivering reliable connections, peace of mind, and safe circuit protection. What’s more, providers such as Schneider Electric, who are offering ready-to-go, scalable products across panel and distribution boards as well as multi-row consumer units, are also committed to delivering modern tools for energy management by including metering kits to allow contractors and endusers to measure and regulate power consumption with ease.

Examples of these solutions include:

i-Line Panel Boards

Suitable for both industrial and commercial installations and compliant with building regulations, the units are prefabricated and can be mounted quickly. The i-Line panel boards are available in three categories (250A Rated, 400A Rated, 630A Rated) and different pole variantsto meet each size and specification needs. Furthermore, the i-Line plug-and-play system makesitsimple to install and fit correctly with reliable connections so that the board is ready for cabling.

KQ Loadcentre

The KQ product range is a well-established, 3-phase application distribution system that will cater for most installations. The KQ load centre with metering and integral control supports a modular and flexible solution that can be deployed as a single distribution board, or as multiple boards that make up a more complex system.

Easy9 Compact and Multirow Consumer Units

Available in a range of sizes, from a compact consumer unit for standard household requirements to a multirow unit that supports higher-density circuits for larger residential buildings and properties. The flexible multirow units can scale to support even more devices within the range.

Consistent quality

It is down to procurement leaders in the electrical industry to provide easy and scalable products that help nurture electricians’ skills and ensure they have the knowledge and decision-making capabilities to deliver reliable, scalable products across commercial and larger residential projects. By entrusting in a specific provider like Schneider Electric, businesses and electricians can ensure a consistent quality of service across all installations, which in time can reduce the workforce shortage and help deliver a new wave of skilled tradespeople.

FOR FURTHER DETAILS VISIT: WWW.RDR.LINK/WAK006

SPECIAL REPORT

BE PREPARED

The EU published its review of RoHS exemptions on mercury containing lamps on 24th February 2022 in the Official Journal of the European Union. In accordance with the amended RoHS directive, compact fluorescent lamps with plug-in bases and all T5/T8 fluorescent lamps may no longer be placed on the market in the EU as of the dates outlined in this article below.

Phase out

Our industry then awaited confirmation of the UK timetable, and on Monday 30th January 2023, DEFRA published the Secretary of State’s determination applicable to England, Scotland and Wales on the Government’s website. The lamp type exemptions mirror the EU, but with extended implementation timescales as outlined below.

The EU phase out date for all compact fluorescent lamps with plug-in base (CFLni) was 24th February 2023, with a GB phase out date of 1st February 2024.

The EU phase out date for all T5 and T8 (2’, 4’ and 5’) fluorescent lamps in ring form is 24th August 2023, with a GB phase out date of 1st February 2024 for T5s and 1st September 2023 for T8s. T8 fluorescent lamps in other lengths have an EU phase date of 24th August 2023, with a GB phase out date of 1st February 2024.

The above lamps cannot be placed on the market from the stated dates; however they may still be available from suppliers until stocks are exhausted and the industry has been planning to navigate these changes. The focus for alternative light sources is currently on LEDs as they offer decisive advantages compared to fluorescent lamps.

Transition

Ovia has been working with its customers to facilitate a smooth transition to alternative lighting luminaires to ensure they have the stocks needed to meet the ongoing demand from contractors, designers and specifiers. Ovia has an LED replacement

SPECIALREPORT
PROFESSIONAL ELECTRICIANS WHOLESALER JUNE2023 23
With revisions to the RoHS Directive (Restriction of Hazardous Substances) coming into force this year, Mike Collins, Director of Operations at Ovia, looks at the implications of the ban on fluorescent lamps for contractors and wholesalers.
“ The focus for alternative light sources is currently on LEDs as they offer decisive advantages compared to fluorescent lamps.”

for virtually every lamp type and with the company’s extensive commercial and utility ranges, there are ideal alternatives to the phased out products.

As far as the compact fluorescent lamps with plug-in base are concerned,

the following Ovia downlights from the commercial range will make ideal alternatives – Sprite commercial aluminium LED downlight, E-Sprite Eco commercial LED downlight, Polypanel LED recessed downlight, Alupanel LED IP44

recessed downlight and Inceptor Apto LED adaptable downlight with CTA Switch. LED Luminaires from the Ovia utility range that would be recommended as alternatives to the T5 and T8 fluorescent lamps include the Inceptor Duo up and down dimmable linear luminaire, Inceptor U-Lite compact, non-corrosive luminaire, Inceptor B-Lite linear batten multi-current LED light, and Inceptor A-Lite 4ft and 5ft College LED linear batten.

Reduced consumption

One thing is certain, the RoHS ban on inefficient light sources will result in the increased availability of energy-efficient alternatives. This, in turn, will ultimately help to reduce energy consumption and costs both in domestic and commercial environments.

TO FIND OUT MORE VISIT: WWW.RDR.LINK/WAK007

SPECIAL REPORT

ADDED VALUE

When a contractor is tendering for business, price is a vital element for many jobs but their cost will be for both materials and labour. The latter is in short supply and is generally by far the most expensive element. Instead of just looking at the base product cost, if you can cut your customer’s total cost for a project and/or offer a higher quality solution, then all parties win.

Your customer is more likely to win the project and you will sell more products, or more accurately, more systems, at higher margins. When you contrast this with simply cutting product costs then you are only in a race to the bottom and ever shrinking margins. And if you opt for cheaper products then the quality is likely to suffer. Chasing ever-lower prices is a

Winning customers is a competitive business, but it is an expensive mistake to view cable management products as a commodity. Instead, argues Alfie Rowe, Managing Director at Armorduct, involving the manufacturer from the beginning allows you to add value and often cut the overall cost of a project for the contractor.

fool’s game that benefits no one.

A better approach is to work closely with your supplier from the beginning and understand your customer’s real needs. You will be pleasantly surprised to find that such an approach often leads to a more cost-effective answer for your customer anyway, and that may also mean repeat business for you.

Saving materials

Even for relatively simple jobs it’s worth asking a few questions. Cable tray and trunking for example, tends to come in standard 3m lengths, but what if the contractor needs different lengths? Perhaps some at 2.8m and others at 1.6m. Responsive manufacturers like ourselves can manufacture this exactly to length and supply it ready to fit without needing to do any extra work on site.

Involving your supplier means that you can use their expertise and their manufacturing capability to best meet your customer needs. It’s something that we’ve been doing for years, and this supply chain cooperation has taught us that there is a real need for flexibility.

It’s why we’ve created a specialist section within our manufacturing plant that is dedicated to producing bespoke items. Whether it’s as simple as manufacturing something to length, or designing fully bespoke solutions, it means that we can reduce the lead times

CABLE MANAGEMENT
26 JUNE2023 PROFESSIONAL ELECTRICIANS WHOLESALER

on these products dramatically because we do not need to interrupt the production of our off-the-shelf ranges.

Using design expertise

But the real value comes if you work with your supplier from the beginning. At Armorduct for example, we have a dedicated computer aided design team to help you and the contractor meet particular on-site requirements and bespoke solutions. You can leverage this capability to really help your customer add value and ensure their continued loyalty to you.

This service can vary from a complete solution that is ready to assemble quickly on site, providing all the benefits of factory-controlled quality and reduced installation time, to a few simple tweaks or minor redesigns. Both will help meet tight deadlines and save on labour.

Sometimes these design solutions come from a verbal brief, sometimes as a result of a BIM diagram, and sometimes

from a site visit. Our early involvement can help design better solutions that often save money on the project. It pays to make the most of our expertise as it will help give your customers the edge in winning more business for them, and for you.

Flexible and fast

This partnership approach really comes to the fore if something goes wrong on site, which is when you really need a fast and responsive service. It might be for example, that the BIM diagram is not what

the contractor actually sees on site. Other services such as ducting or air conditioning can get in the way and people make mistakes. If that happens you need a supplier who can respond quickly, and often this problem solving involves more than supplying standard products.

Getting your supplier involved early in a project brings together a team that will help your customer win more business. It allows you to leverage our expertise to add value for everyone’s benefit, and in many cases reduce the overall cost to the contractor without affecting your margins.

It’s a mistake to solely rely on lower product pricing with customers. They will show you little loyalty - if they can get a better price down the road then they will. What they will value is your service and expertise, and for that it pays to access all the help you can get from your suppliers.

DISCOVER MORE BY VISITING: WWW.RDR.LINK/WAK008

CABLE MANAGEMENT

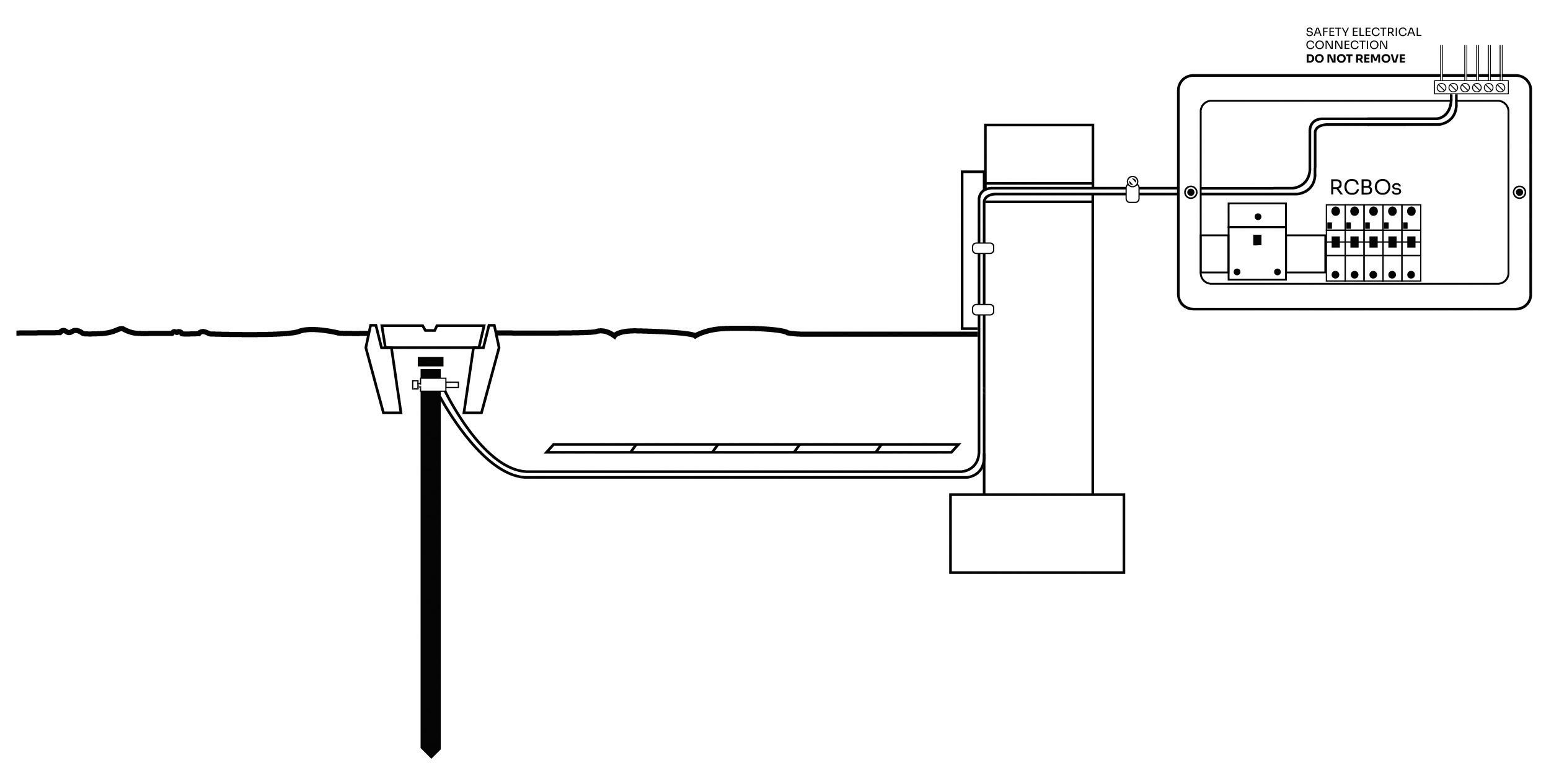
DOWN TO EARTH

Attaches to the top end of the rod protecting against damage when hammering the rod into ground.

Joins multiple rods together for improved performance.

Jake Green, Group Technical Engagement Manager at Scolmore Group, takes a look at earth electrodes and the relevant code of practice associated with their application.

BS 7430: 2011+A1:2015 is a code of practice for protective earthing of electrical installations. This standard is closely linked to the requirements of BS 7671, where relevant, and both should be considered when dealing with earthing requirements.

BS 7430 provides recommendations on meeting the requirements for earthing of electrical installations. The three areas include; protective earthing of low voltage installations, the interface between LV and HV substations (11kV/400V), and protective earthing and changeover switch arrangements for generators.

Earth electrodes

Earthing of a system (or equipment) requires a physical connection to the general mass of Earth. The connection should have resistance such that any means of protection will operate as designed. There are many factors that will impinge upon the resistance of the connection to Earth. These will include the nature and properties of the soil within a location,

rainfall, and the nature of the earth electrode. For example, light clay soils will have a relatively low resistivity (c 5 m), whilst granite has a resistivity in the region of 1000m.

The presence of low volumes of rainfall will also have a significant impact on soil resistivity. For example, clay soil in locations having a normal rainfall exceeding 500mm/year has a typical resistivity in the region of 5 - 20m, whilst in locations having a rainfall less than 250mm will have a resistivity range of 10 - 100m.

An earthing system should be of high integrity and robust construction. The use of an Earthing system using earth electrodes relies on the resilience of the earth electrode(s) for the safe functioning of the protection system within an installation.

The types of earth electrode can vary. Regulation 542.2.2 of BS 7671 recognises seven permitted types of earth electrode,

1200mm long and available in differing thicknesses. The tip is hardened and pointed to drive through stony ground.

transportable units, EV charging installations, and prosuming installations.

CABLE MANAGEMENT
28 JUNE2023 PROFESSIONAL ELECTRICIANS WHOLESALER
Driving Stud Main Switch
NOT REMOVE
Additional mechanical Protection Safety Electrical Connection
DO
Cable Tiles
Earthing Conductor A Coupler The Rod

Where earth electrodes are installed, Regulation 542.2.1 requires that the earth electrode can withstand damage and take account of possible increases in resistance due to corrosion. The means of connection must be electrically and mechanically sound (526.1) and be accessible for inspection, testing and maintenance (526.3).

Earth electrode resistance

Depending on the requirement of a particular regulation, the resistance of the earth electrode will have a maximum permitted value. For example, for a TT Earthing system, Regulation 411.5.3 details the conditions that must exist where an RCD is used for fault protection. This regulation requires the disconnection time to be limited to:

0.2 s for final circuits (411.3.2.2) or 1 s for distribution circuits (411.3.2.4), and Table 41.5 details the maximum earth fault loop impedances permitted for a range of values of RCDs.

However, due to the risks associated with drying and freezing conditions, BS 7430 references a note under Table 41.5 of BS 7671 referencing a value in excess of 200 not being stable.

The earth electrode resistance is less a function of the diameter of the electrode and more to do with the depth that the electrode is driven, the ability of the rod to be driven into the ground without damage, and the number of electrodes connected in parallel.

Clause 9.5.3 in BS 7430 details how the resistance of rod electrodes may be calculated. Where rod electrodes are to be paralleled to reduce the resistance, rods will have to be separated by at least 6m to gain the maximum benefit (Figure 14a BS 7430). The formulae to determine the resistance of a single electrode and parallel electrodes are detailed in clauses 9.5.3 and 9.5.4 of BS 7430. Clause 9 of BS 7430 details many more methods of connecting electrodes, and reference should be made to this standard.

Conclusion

Earth electrodes are a necessary requirement for many parts of BS 7671. BS 7430 details the recommendations needed to ensure earth electrodes are correctly selected and installed. Unicrimp, part of the Scolmore Group of companies, supplies all the necessary elements for the safe installation of rod type earth electrodes.

TO FIND OUT MORE VISIT: WWW.RDR.LINK/WAK009

CABLE MANAGEMENT
“ The resistance of the earth electrode will have a maximum permitted value.”

According to the latest statistics from the Health

Executive,

OUTOF HARMS WAY

Electricity is a powerful force that demands respect and caution from those who work with it – every electrician knows that even a small mistake can have catastrophic consequences. Each year the Health and Safety Executive (HSE) receives reports of electrical accidents in the workplace. These incidents are often caused by electric shocks and burns, which can result in permanent and lifechanging injuries. Some reports, however, register a loss of life and sadly, the latest figures published in late 2022 show that fatalities have again occurred.

Responsibility

Prioritising safety and taking all necessary precautions when working with electricity, therefore, is not only essential but a professional responsibility that must be upheld at all times.

The main hazards associated when working with electricity are electric shock and burns from contact with live parts, injuries from exposure to arcing, fire from faulty electrical equipment or installations,

and even explosions caused by unsuitable electrical apparatus or static electricity igniting flammable vapours or dusts. It is important to note that electric shocks can also lead to other types of injuries, such as falls from ladders or scaffolding.

Clauses in both The Electricity at Work Regulations (EAWR) 1989 and The Management of Health and Safety Regulations at Work Regulations (MHSRW) 1999 require those managing electrical work to take steps to ensure a safe working environment. These include;

● Making sure that those engaged in electrical work be competent, or under the supervision of someone who is

● Taking precautions to ensure electrical equipment that has been made dead does not become electrically charged

● It also forbids work on or near a live conductor unless it is insulated, or it is unreasonable for it to be made dead

The MHSRW further stipulates that employers must perform risk assessments before carrying out electrical work. Guidance from Electrical Safety First, the UK charity which works across the electrical industry and government to reduce deaths and injuries caused by electrical accidents, states that contractors should use a dedicated voltage indicator and proving unit to prove dead before any work is carried out on a circuit.

Staying ALIVE

For an electrical contractor, keeping up to date with the latest safety risks and taking the necessary precautions to safeguard yourself, your colleagues, and the public is crucial. Martindale Electric knows the critical importance of safe working practices and, with electricians in mind, has developed the acronym ALIVE: a memorable isolation procedure to help reduce the number of electricity-related injuries and fatalities in the workplace:

TEST EQUIPMENT
30 JUNE2023 PROFESSIONAL ELECTRICIANS WHOLESALER
and Safety
electricity continues to pose a deadly threat in the workplace. Steve Dunning, Managing Director of Martindale Electric, explains how to minimise the dangers of working with electricity, prevent accidents and save lives.

Staying ALIVE A

IS FOR APPROVED KIT

The first step in the ALIVE isolation procedure is to ensure that your equipment meets all legal safety standards. Always make sure your voltage indicator complies with BS EN 61243-3, such as the VI13800 voltage indicator from Martindale Electric, specifically designed to meet this standard. This will help to ensure that your equipment is functioning correctly and that you can detect dangerous voltages in the circuit.

LIS FOR LOCK OUT

Next, identify the point of isolation – lock it off and place warning tags onto the equipment. A good lock-off kit should include a selection of MCB Lock Off devices, a padlock with a unique key, a hasp if more than one person is working on a system, lock-out tags and warning labels. This will help to prevent anyone from accidentally turning the power back on while you are working on the circuit.

IIS FOR INITIAL PROVE

After locking out the equipment, the next step is to test your voltage indicator against the proving unit to make sure it is working properly. It is recommended to use a dedicated proving unit matched to the voltage indicator to test that all LEDs on all ranges are fully working. A proving unit is safer than the mains and provides a live source wherever you are working.

VIS FOR VOLTAGE TEST

The fourth step is to use your voltage indicator to make sure dangerous voltage levels are not in the circuit you are about to work on. This includes testing for dangerous voltages on any circuit conductor to be worked on, whether single or three-phase. Verify that the circuit you intend to work on is the correct circuit which you have safely isolated.

EIS FOR ENSURE

Finally, prove the voltage indicator against the proving unit again before starting to work on the circuit. Re-test your voltage indicator is functioning and working correctly to make sure that no damage has occurred, or fault appeared on your equipment.

Safety first

Electrical safety in the workplace is a critical issue that requires the attention and dedication of everyone involved with electricity. Implementing safe isolation procedures on low-voltage installations can significantly reduce the number of accidents and fatalities caused by electric shock or burns. The ALIVE procedure from Martindale Electric provides a simple and memorable way to ensure that you are following all the right steps to keeping yourself, and those around you, safe.

TO FIND OUT MORE VISIT: WWW.RDR.LINK/WAK010

TEST EQUIPMENT PROFESSIONAL ELECTRICIANS WHOLESALER JUNE2023 31

TESTING TIMES

Mike Cullom, Sales Manager for Northern Europe at Ideal Industries, gives a detailed breakdown of the different types of test meters and highlights the key features electricians look for when buying test equipment tools.

Electricians invest a substantial amount of money into the tools they use every day on the job site, so it’s important that they do their research and buy tools that are specifically appropriate to their line of work.

The Ideal range of testers and meters is segmented into tools for commercial, domestic and apprentice use, enabling wholesalers to recommend the right product for their customers’ specific requirements. The part numbering system makes it easy to suggest the right tester. The base model has the lowest number while the higher functioning/higher CAT rated testers have a higher part number; for example the entry point non-contact voltage tester is 61-627, the next model up is 61-637, and so-on.

Since meters can be simple diagnostic tools that accurately quantify voltage, amperage, and continuity, they’re used by almost every electrician in almost every setting. When combined with the specialised knowledge these electricians possess, they can help test, install and repair electrical components of various capabilities and complexities. Meters can

easily determine if faults exist, verify proper circuit functionality, and can actively assist in keeping infrastructure up and running. Most importantly, they help prevent unsafe conditions, not only for the customer, but for the electrician working on the circuit.

Each potential buyer must consider their work environment as being the biggest factor in making a purchase – not only now, but in the future. Since these tools can be expensive, they should be considered an investment and treated as such. Residential electricians may pick something completely different than an electrician who plans on working on high current outdoor industrial applications. Each role may require a different tool.

Meter types

Multimeter

These meters are used for everything from small electronics applications to battery testing and continuity assessments. They often provide a higher degree of range, resolution and functionality than clamp meters.

Fork meter

A two-pronged “fork” fits around the conductor and takes a current measurement without interfering or breaking the circuit. Particularly useful in lower current (100 to 200A) cramped or limited access situations.

Clamp meter

A retractable clamp fits around the conductor that is being measured allowing isolation from other conductors. More suited to applications in which conductor isolation is necessary, and for higher current applications.

Non-contact voltage tester

A speciality meter that is typically only useful in situations where only the presence of voltage is being sensed, to indicate the possibility that a circuit is energised or not. These testers simply verify the existence of electricity in a particular circuit or conductor. Non-contact voltage testers do so without any physical contact with the conductors and can be a complementary tool. However, most instructors discourage this as being a primary tool.

Safety

One of the most obvious benefits of choosing the correct meter is safety. In high current applications, a clamp or fork meter is clearly less risky to use than a multimeter that uses probes, as it is not necessary to break the circuit to take a current measurement. There is always a potential for an arc flash when interrupting a circuit, so using a meter that doesn’t require a circuit interruption is not only ideal, but also much safer.

TEST EQUIPMENT
32 JUNE2023 PROFESSIONAL ELECTRICIANS WHOLESALER

Favourite features

When asked, seasoned professionals will all mention their favourite features in meters. When we had the opportunity to speak with industry pros, we got a variety of answers, including:

Battery life

For obvious reasons, this is an important aspect of a meter. You don’t want to be on a jobsite with a non-functional piece of equipment.

Alert/Tone technology

An audible notification is crucial in certain environments that are dimly lit, or just from an ease-of-use perspective. Many meter manufacturers offer this feature. Often, it is possible to defeat the tone in noise sensitive areas such as hospitals.

Clear display

Being able to see your reading accurately

in challenging workplaces is critical. Single or dual displays that are legible are extremely important regardless of where your job site may be.

Heavy duty

Although meters are precision instruments, they must be tough and durable. Many manufacturers rate their meters to easily survive a 2m fall. Some offer a rubber overmould that helps with both insulation and drop protection, in addition to helping with grip and ergonomics.

Certifications

Professionals typically buy their gear as a lifetime investment. Most of the reputable manufacturers certify their meters to be accurate and test them prior to leaving the factory, as well as providing some sort of warranty. Some even offer third-party certifications (such as a UL Listing) to ensure their accuracy, safety, and longevity.

What the pros buy:

Most professional electricians don’t bother using any meter in the field that is less than a CAT III. Many wouldn’t even begin to consider a meter that doesn’t hold a True RMS rating. A well appointed, TRMS-rated CAT III clamp or fork meter is useful in a broad range of environments (battery, small electronics, all residential work, service, agricultural, and light industrial). They are typically the easiest to manipulate and are safe and robust. For a full list of categories of meters you’ll see on the market, advantages of picking the right meter and features worth looking for, check out the Ideal T&M buyer’s guide: WWW.RDR.LINK/WAK011

One-handed design

A good meter is ergonomically comfortable and can be used with one hand. Some meters allow both storage of the leads on the back and some will hold the extended probe or probes to simplify your work.

TEST EQUIPMENT

Carhartt, the authentic workwear brand founded in 1889 in Detroit, Michigan, is looking for electrical wholesaler stockists throughout 2023. PEW talks to Nick Poulson, UK Country Manager, to find out more.

FROM THE US TO THE UK

QCarhartt has a long history stretching over 130 years – how did it start?

A. We might be a big global company now, but we started with just two sewing machines in a tiny Detroit loft! Our founder was Hamilton Carhartt, affectionately known as Ham, back in 1889. He started by producing overalls with those two sewing machines and a half-horsepower electric motor under the motto, “Honest value for an honest dollar”. Then the iconic Carhartt bib overall was created and it quickly set the standard for quality workwear.

For over 130 years, we have been known for our rugged construction and innovative designs. We set exceptional quality standards and ensure all our workwear is durable and comfortable –our brand has become legendary among skilled tradespeople! Right from the start, the company established a new standard of performance and it continues to meet the evolving needs of hardworking people, for instance by weather-proofing its product line to provide the 24/7, year-round solutions they need in the rugged outdoors – especially on the construction site.

QWhy have you decided to focus on growing UK stockists now?

A. The time is right! Our heritage is built on tough workwear specifically designed for hard working professionals and is really well suited to the exacting standards tradespeople need here in the, let’s face it, often rainy and cold UK! We are keen to talk to electrical wholesalers and buying groups over the coming months and all our wholesaler customers can be reassured by the size of our operation and quality of our products –Carhartt is truly a global brand with over 5,400 employees worldwide.

QHow are you supporting the push for more wholesaler stockists? Does it include point of sale, for instance?

A. Very much so. The increased focus in the United Kingdom includes the opening of our office in Newark, Nottinghamshire, and a UK field sales team that is growing and supporting electrical wholesalers. Carhartt workwear is a brand that tradespeople really want, seek out and our point of sale is really eye catching and reflects our authentic, hardworking ethos.

WORKWEAR & PPE PROFESSIONAL ELECTRICIANS WHOLESALER JUNE2023 35

QWhat types of workwear does the company make today?

A. Essentially, whatever construction work your customers are tackling, we’ve got their back. The workwear ranges from tough and comfortable work trousers, rugged and durable work jackets, fast drying and work T-shirts to certified safety shoes and work boots. We also design workwear specifically for women. These designs fit and protect better and are therefore much safer.

The trade can rely on our workwear to protect them, while looking great out on site. Our workwear is designed specifically for the tough construction site, and strong enough to get you through any working day, no matter how exacting it is. Our founder, Ham, used to say “when I make a sale, I make a permanent friend”. We keep that ethos in mind to this very day and make sure all our workwear is built to last.

QWhy do you think your workwear remains so popular with customers?

A. We have kept a relaxed, ‘authentic’ look to our clothing. Throughout our history, it has been our customers who have helped us identify several pieces of hard working gear as ‘icons’. These are the products that have truly stood the test of time and whether adding pockets, colours, or incorporating our innovative technologies to combat rain, sweat and provide flexibility, at the heart of each product is the durability and reliability customers have come to know and love.

Some tradespeople have kept their jackets and trousers for years. Central to the workwear’s performance are our fabric technologies, which have been designed to provide the ultimate protection, whatever the weather conditions are on the construction site.

QIf wholesalers are interested who can they contact?

A. Just drop me, Nick Poulson, an email, it would be great to start a conversation –npoulson@carhartt.com

FOR MORE ON THE CARHARTT RANGE VISIT: WWW.RDR.LINK/WAK012

WORKWEAR & PPE
36 JUNE2023 PROFESSIONAL ELECTRICIANS WHOLESALER

BRADY PORTABLE PRINTERS

To maximally support users, the new portable printers from Brady offer countless options to design any label –via the onboard keypad, via PC, and via smartphone. These designs can be printed on the widest range of label materials, sizes and colours, fit for any identification job. All three printers also immediately recognise every loaded material, they auto-calibrate and warn whenever a label design would need a different label size.

Printers have label design wizards installed that can be operated with the on-board keypad, available in all key layouts. Alternatively, labels can be designed with Brady Workstation on PC, stored on the printer, or sent to the printer when needed via Wi-Fi.

The new printers’ top feature perhaps is they can all be operated with the user’s smartphone, provided Brady´s free Express Labels Mobile app is installed. The app makes label design extremely easy, practical and fast for almost any label with any recent smartphone model.

Depending on the needs of the job, users can load printer consumables with precision pre-cut labels or rolls with continuous label material that can be auto-cut after printing. For large print jobs, Brady also offers compatible bulk rolls that maximise the portables’ fast print speeds of up to 76mm per second.

Brady offers thousands of printer label options, including general identification materials and highly specialised solutions designed for maximum reliability in specific contexts. With the widest choice in label materials, sizes and colours, users will enjoy the freedom to clearly and reliably identify just about anything with a single label printer.

The M610, M611 and M710 are all designed for use on the road and in busy workplaces. They are tough and rugged and can resist more than the occasional bump. All models offer a 1.8-metre drop resistance and military grade shock resistance, and they include a rechargeable li-ION battery that keeps users printing all day long, up to around 4500 labels per charge.

TO FIND OUT MORE VISIT: WWW.RDR.LINK/WAK013

SCOLMORE CONSUMER UNIT MOUNT KIT

Scolmore continues to expand its Elucian by Click consumer unit range to provide electricians with products that offer them convenience and easy installation solutions. The latest addition is a new pattress mount kit which allows cables to be fed from the top, bottom and either side of the consumer unit.

With the pattress mount secured to the wall and attached to the back of the consumer unit, the electrician has space between the mount and the unit to neatly feed cabling from the trunking through the rear knockouts. The mount allows for a maximum of 16mm trunking which would slide behind the consumer unit.

Because the mounting kit comprises two separate parts –a left and right mount – it can be used across any size of distribution board and is therefore compatible with the full Elucian consumer unit range –5, 8, 10, 12, 14, 16 and 22 way. For the contractor, this means carrying just one type of kit on the van regardless of the size of consumer units being installed, and for the wholesaler it means minimum space taken up in store, with just one size of kit needing to be stocked.

TO FIND OUT MORE VISIT: WWW.RDR.LINK/WAK014

PRODUCTS & EQUIPMENT 38 JUNE2023 PROFESSIONAL ELECTRICIANS WHOLESALER

OVIA LED FLOODLIGHTS

Pathfinder from Ovia is an extensive range of powerful and robust, metal LED floodlights, providing a modern solution for retrofits and new installations alike.

The range comprises standard floodlights as well as versions with Photocell and PIR sensors. In total, the Pathfinder range offers 40 floodlight options from 10W –300W, with fittings up to 50W available in both black and white finishes and in Warm White and Cool White colour temperature options.

This modern range has high quality LEDs installed, offering 30,000 hours (L70) lifetime and 100,000 switching cycles. The design incorporates a prismatic diffuser which produces a more even spread of light. All standard Pathfinder floodlights are IP65 rated, while those with sensors are IP44 rated. The more industrial 100W to 300W range are also IK07 rated. The standard range can be used with remote sensors, PIRs (indoor and outdoor) or microwave sensors (indoor only) as well as with smart control systems.

The floodlights fitted with a PIR have three settings available on the rear of the sensor housing. Sens – enables the sensitivity/distance to be set to help avoid accidental triggering from pets, for example, Time – allows you to set the ‘ON’ time when the PIR is activated (from 10 seconds to 10 minutes) and Lux – allows you to set the desired light level (2 to 2000 Lux) for when the light will turn ‘ON’. Each Pathfinder floodlight comes with a three-year warranty and they are supplied with an adjustable wall mounting bracket and 1m mains cable.

TO FIND OUT MORE VISIT: WWW.RDR.LINK/WAK015

CARHARTT LIGHTWEIGHT ANORAK

Spring has sprung but it can still be chilly and wet out on the construction site. Carhartt has got you covered with the lightweight packable anorak (105749). Easy to store in your bag, it is the ultimate on-site companion, ideal for those cold mornings and unexpected rain showers.

One hundred per cent nylon on the outside, this anorak is tough, abrasion resistant and dries quickly, while the inner lining is polyester so it won’t tear or stretch. It is also the ideal layer to keep out the wind and rain no matter what the job: the attached three-piece hood has an adjustable draw cord and the half-length front zipper comes with a neat chin protector. It has handy adjustable cuffs and a drop tail, adjustable hem to ensure the perfect fit.

This versatile anorak features a Rain Defender water repellent finish that will protect you from the elements, rain or shine, keeping you dry and warm all day long. It is designed for a relaxed fit, so popping a warm layer underneath is easy and won’t make you feel restricted.

When it comes to storage, this anorak has all you need, with two convenient front zippable pockets. And when you are finished with it, you can quickly and easily pack it away by zipping it neatly into a pocket. The lightweight packable anorak can handle whatever the weather throws your way and is available in two colour options: black or two-tone malt asphalt.

TO FIND OUT MORE VISIT: WWW.RDR.LINK/WAK016

PROFESSIONAL ELECTRICIANS WHOLESALER JUNE2023 39 PRODUCTS & EQUIPMENT

AXIOM CONSUMER UNITS

The new updated Axiom range of Type A consumer units include main switch with optional SPD along with RCD standard and split load boards with selected fully loaded options, garage and shower units and the very latest in supporting devices.

All boards have a robust steel compact construction built for ease of installation, use and safety. Solid dropdown covers protect against dust and fire whilst generous internal cabling space, easy all-round knockouts and large terminals simplify installation.

In support of this updated range, the Axiom portfolio also includes timers, contactors, AFDD modules and new surge protection devices which no longer require MCBs alongside – thus allowing for an extra free way in the board. All the above products are now in stock, as is the recently launched and accompanying range of Axiom 3 phase boards.

TO FIND OUT MORE VISIT: WWW.RDR.LINK/WAK017

PRODUCTS & EQUIPMENT

ESP ASSISTANCE ALARMS

ESP’s assistance alarm range is part of the company’s Beacon product range which includes disabled refuge and assistance alarm products. The assistance alarm kit is designed to meet the criteria of care standards that are set out in Part M building regulations BS 8300.

The Beacon assistance alarm range includes two kits, as well as a number of individual products that can be bought separately. The simple to install three part kit comprises an Indication module, pull cord module and reset module and features a battery back-up function (battery included). The kits are available in a choice of white or stainless steel finish.

The indication module includes an 80db distinctive tone alert sounder with clear LED alert triangle indication for when the alarm has been triggered. The pull cord module features an antiligature mechanism and has a distinctive red pull cord supplied with two handles, including an LED alert triangle. The reset module features a clear LED alert triangle indication with internal sounder to reassure the user the alarm has been raised and assistance is on the way. The alert triangle acts as push button to reset the alarm and is clearly indicated in tactile lettering on the module.

The modules that make up the standard white kit are manufactured to include antimicrobial properties –making it useful in hygiene sensitive applications. The modules are also available to purchase as separate items.

The compact design makes the products suitable for many interiors and the system is expandable to include additional indication and pull cord modules if required. All three modules are designed to fit a standard one gang box.

TO FIND OUT MORE VISIT: WWW.RDR.LINK/WAK018

MARTINDALE ELECTRIC TESTERS

Martindale Electric has introduced the new BZ701 Socket Tester and Supply Polarity Tester, which offers advanced 13A socket testing capability in a wide variety of domestic, commercial and industrial applications. This new socket tester gives trade professionals a safe and reliable method of testing outlets while also having the additional capability of identifying reversed live and neutral, a function not featured on many commercially available socket testers.

The new Martindale BZ701 unit not only detects 28 different socket wiring fault conditions and checks the mains voltage level, but it also safely identifies Line-Neutral reversal or cross polarity at the incoming supply. The polarity swap test detects fault conditions on PME/ TN-C-S systems (the most common type of supply) that cannot be identified by normal socket testers making it an invaluable addition to any toolbox.

The BZ701 is incredibly user-friendly – simply plug it in and activate it with the touchpad. Correct polarity is indicated by three flashing green LEDs, while a fault condition is immediately highlighted by three red LEDs and a warning buzzer. The red/green LEDs, buzzer and the ‘N E L’ labelled LEDs make it easy to pinpoint the source of common faults, while the tough and sculpted design ensures it's both durable and easy to remove. It is ideal for checking polarity after smart meter installation.

The Martindale BZ701 Socket Tester and Supply Polarity Tester is the perfect tool for any electrician or maintenance engineer looking to ensure the safety and reliability of electrical installations and wiring. With its fast and easy mains testing and incoming supply cross polarity test, along with high/low voltage indication feature, the Martindale BZ701 really is the ultimate tool for identifying electrical faults.

TO FIND OUT MORE VISIT: WWW.RDR.LINK/WAK019

PRODUCTS & EQUIPMENT PROFESSIONAL ELECTRICIANS WHOLESALER JUNE2023 41

MARSHALL-TUFFFLEX TRUNKING

As part of its ongoing dedication to product development and innovation, Marshall-Tufflex has introduced new adjustable bends to its Sterling Curve and Sterling Compact PVC-U perimeter trunking ranges. These high quality solutions provide electrical installers with an expert finish, avoiding unsightly gaps when fitting trunking around any corner.

Capable of accommodating building corner variances of +/-5° (85 to 95°), the new internal and external adjustable bends provide a quick, simple and neat trunking solution for corners that are not precisely 90° square.

The latest launch offers even more flexibility for installers using Sterling Curve Profile 1 dado trunking or Sterling Compact: users can now choose between using either the existing, standard fixed bends, or the new adjustable bends for corners that aren’t perfectly square – making it really easy to achieve a good, neat finish every time.

The new products are now available and in stock for electrical wholesalers to purchase from Marshall-Tufflex.

TO FIND OUT MORE VISIT: WWW.RDR.LINK/WAK020

PRODUCTS & EQUIPMENT

VENT-AXIA BATHROOM FANS

Vent-Axia is well equipped to provide on-trend fans that tick all the right boxes for electricians and their customers. With any bathroom renovation, ventilation is key to ensuring good indoor air quality (IAQ) and freedom from condensation and mould. As consumers spend more than ever on updating their bathrooms or adding en-suites, it’s important that electricians are also up-to-date with the latest trends of bold aesthetics, spathrooms, and health and wellbeing.

An increased focus on interior design is driving improved aesthetics of everything in the home, including the bathroom, with black interiors showing no sign of decreasing in popularity. Ventilation has traditionally been available in white but Vent-Axia’s on-trend Lo-Carbon Svara is available in black or white, meaning greater choice for the consumer and more options for matching their ventilation to their aesthetic.

An average extract fan operates at 35dB(A), which is loud in a confined space. Vent-Axia’s whisper quiet Silent Fan offers ultra-low sounds levels from just 12dB(A). The range also offers electricians flexibility, making install a breeze, since it is available with 17 different models including an IPX5-rating, variable speed models, humidistat options and both intermittent and continuous ventilation models, as well as the option of open and closed grilles. For a customer’s peace of mind, as well as a peaceful bathroom, the Silent Fan has been awarded Quiet Mark certification, which recognises the quietest solutions to unwanted noise.

TO FIND OUT MORE VISIT: WWW.RDR.LINK/WAK021

MAKITA HANDHELD BLOWER

Makita has added a handheld blower to its expanding LXT cordless collection. The versatile 18V DAS180 LXT Brushless Blower is the latest product from the leading power tool manufacturer that is also capable of inflating and deflating, simply by changing the nozzle tip.

The new 18V DAS180 LXT Blower is powered by a brushless motor with variable speed control. Suitable for a wide range of applications, from cleaning off workbenches, machinery, cleaning and blocked filters, through to inflating inner tubes and play pools, this handy tool makes a useful companion to any kit bag.

The body is designed with an ergonomic rubberised grip and weighs only 1.7kg, making this tool easy to operate with one hand. Despite its compact size, the unit is extremely powerful and offers a maximum sealed suction of 10.3kPa. Its four stage air volume settings deliver a blowing force of up to 2.8N with a maximum 200m/second air velocity and air volume of 1.1m3/min.

Other features include a one-touch, tool-less nozzle attachment to quickly adjust the tool for each application. The variable speed trigger comfortably controls the blowing force and can be locked in the ‘on’ position for extended use. A tether feature offers a safe hanging point to secure the tool in overhead applications.

With the launch, Makita has also added a number of compatible nozzle accessories to offer a wealth of uses for blowing, inflation and deflation applications. This includes a flexible nozzle set with a ø6.0x800 hose which is ideal for blowing out debris in narrow spaces where the machine cannot fit.

TO FIND OUT MORE VISIT: WWW.RDR.LINK/WAK022

PROFESSIONAL ELECTRICIANS WHOLESALER JUNE 2022 43
PRODUCTS & EQUIPMENT

Installer magazine to give you an insight into your key customers’ buying behaviour.

ESP MAGDUO TWOWIRE FIRE ALARM SYSTEM

ESP’s MAGDUO TwoWire fire alarm system is aimed at small to medium contractors, offering them a highly flexible and adaptable system that will save time and money on the installation process. In total ESP’s MAGDUO range comprises 25 individual products including 2, 4 and 8-zone fire panels (available in a grey or black finish), as well as repeater panels – also in grey and black – with the 4 and 8 zone panels able to support up to eight repeater panels. A FlexiPoint detector is programmable to seven different modes including smoke and heat detection and there are various sounders, strobes and call points in the range.

GET MORE DETAILS AT: WWW.RDR.LINK/WAK023

ARMORDUCT IP4X TRUNKING

Armorduct has launched a new range of IP4X trunking that will prove faster and easier to install on-site. The trunking is available off-the-shelf with all the accessories, fixtures and fittings supplied as fully assembled components for every order. The fixtures are all supplied with captive fittings and overlap covers, the latter to achieve the IP4X rating, to save time on-site. While the trunking is available in three metre lengths as standard, the company can also provide it cut to length for delivery to site to save installation time and waste. As it’s designed and manufactured in the UK, Armorduct can also quickly adapt bespoke trunking solutions to meet particular market needs and solutions. In addition to its standard system, Armorduct offers different options for specific applications including a weatherproof solution, tamper proof systems for ministry of justice applications, and versions for the rail industry. All can have multiple compartments supplied with equal or unequal splits. The new IP4X trunking range is available in a wide range of different materials including pregalvanised steel, stainless steel, Magnelis/MagiZinc, powder coated, clear polyester coated and aluminium.

C.K TOOLS LS0H CABLE STRIPPERS

C.K Tools has launched a range of cable strippers designed to tackle low smoke zero hydrogen (LS0H) cable. Use of LS0H cable is increasing as specifiers bid to improve fire safety, but stripping this much tougher material is a challenge. Compatible with round, flat, and LS0H cabling, C.K Tools’ latest strippers make light work of all cable types thanks to their two titanium nitrade coated blades and four cable brackets. The range includes a 10mm flat and LS0H bracket, a 6mm flat and LS0H bracket, a 2.5mm flat and LS0H bracket, and an 8-28mm round bracket. The stripper itself boasts a self-locking switch, automatic blade protection, and keyless blade adjustment, alongside the titanium nitrade coated blades. The range is available as a set with the stripper included, and LS0H brackets can also be purchased as a set of three.

GET MORE DETAILS AT: WWW.RDR.LINK/WAK025

TIMEGUARD WI-FI CONTROLLED FLOODLIGHTS

Timeguard has added Wi-Fi control to its ever-popular super-compact PIR floodlight range. The new LED200WFB’s twin 10W floodlights deliver 2000 lumens of bright light. Alternatively, a hi-lo setting allows for the lights to stay on at a subdued, low level if required, boosting to full power automatically when someone enters the PIR detection field. With the main body of the lights fitting neatly into the palm of your hand and the equally compact floodlights providing powerful illumination, these units are great for commercial and domestic properties, especially where space is at a premium and looks matter. The LED200WFB is controlled via the TuYa App, which is free to users. Fast becoming the de-facto global standard for home and light-commercial Wi-Fi control the App enables users to trigger other Tuya Smart devices, from any manufacturer, when the PIR detects someone in the area.

GET MORE DETAILS AT: WWW.RDR.LINK/WAK026

44 JUNE 2023 PROFESSIONAL ELECTRICIANS WHOLESALER
GET MORE DETAILS AT: WWW.RDR.LINK/WAK024 PRODUCTS IN DEMAND
PEW takes a look at the most sought-after products from recent issues of Professional Electrician &

PEW looks at some of the latest advertising campaigns featured in recent issues of Professional Electrician & Installer magazine which are helping to create awareness and pull-through sales opportunities at your trade counter.

CAMPAIGN NEWS

PANASONIC WHERE INDOOR AIR QUALITY REALLY MATTERS

This latest campaign from Panasonic focuses on the inceiling air-e fan unit, which helps installers who are looking to improve air quality on their projects. Featuring Panasonic’s unique nanoeX technology, the slim profile and compact design make the product suitable for tight ceiling spaces thanks to its light weight and easy installation. These adverts, which focus on the healthcare benefits and applications of the product, are sure to have installers heading for the trade counter in future.

GET MORE DETAILS AT: WWW.RDR.LINK/WAK027

UNITRUNK UNITRUNK LONDON NOW OPEN

In a move that will benefit both wholesalers and installers alike, the latest addition to the Unitrunk network is a 15,000 sq.ft. facility in Croydon which boasts fully stocked racks of Unitrunk’s time-saving cable management products, specifically for the London market. A product showroom displaying each range in-situ has also been opened as the brand looks to strengthen its customer offering even further. These striking advertisements get the message across perfectly!

GET MORE DETAILS AT: WWW.RDR.LINK/WAK028

MARTINDALE ELECTRIC INTRODUCING THE HPAT600KIT1

Martindale Electric continues to build its portfolio of products with the launch of a comprehensive PAT solution – the HPAT600KIT1. The main focus of Martindale’s latest campaign of adverts, the kit offers everything installers need for safe and accurate testing, including the HPAT600 PAT tester, register book and labels, socket tester and noncontact voltage tester. The visually catching artwork also includes a wealth of extra features that come with the HPAT600.

GET MORE DETAILS AT: WWW.RDR.LINK/WAK029

LUCECO INSPECTION & WORK LIGHTS

Luceco’s green colour scheme really catches the attention in this new campaign of adverts which promote the high performance, durable work light range on offer from the brand. Featuring powerful LED outputs with robust construction that is designed for the harshest work site, the range includes motion sensors for user convenience with a comprehensive selection –from compact head torches to mains powered tripods –available to electrical professionals.

GET MORE DETAILS AT: WWW.RDR.LINK/WAK030

PROFESSIONAL ELECTRICIANS WHOLESALER JUNE2023 45

MAKE A VISUAL IMPACT

The eye catching Knipex point of sale is designed to be small enough to sit on the trade counter but big enough to make an instant impact on customers, encouraging spontaneous purchases at the till area. The display is made from high quality cardboard, with a high gloss print and beautifully highlights the key features of selected products. This particular model showcases the 71 01 200 Knipex CoBolt compact bolt cutter, the small tool that makes a big impact.

One of the key aspects to the Trendi range of switches and sockets is the visual impact it conveys. Trendi is stunning, distinctive, and unique. With this in mind, Trendi is conscious of the need to offer all current and potential clients the necessary tools to promote these aesthetics. After all, what sells a

product better than the product itself?

Trendi set about producing point of sale display boards, various detailed promotional literature and free standing display units (FSDU). The company’s aim is to make that instant impact not only with its designed wiring accessory but also at the point of sale.

Below is a quick breakdown of each piece of promotional material Trendi offers to see what could be right for you and help you increase your in store purchases.

Display boards

The real head turner and conversation starter. Available to all Trendi clients, this is the stand out piece for attracting attention. The colourful and vibrant display is a beacon in any wholesaler where the customer’s eye is drawn. From this, conversations begin, brochures are exchanged and sales prosper.

Trendi literature

Ranging from detailed A4 Brochure, to back pocket A6 catalogues and a handy

six-sided Z-Flyer, Trendi offers this to all prospective and current clients.

Freestanding Display Unit

Where better to hold stock of the fast movers. Traditionally located close to a trade counter or retailer’s teller station, the FSDU offers clients a close up with Trendi and the option for a quick impulse purchase. The display is made from high quality cardboard and comes flat packed for ease of transportation. The FSDU’s stock holding is tailored to your specification and is provided free of charge with a stock profile to fill the unit.

FOR MORE INFORMATION ON TRENDI POINT OF SALE

CONTACT:

SALES@TRENDISWITCH.COM OR VISIT WWW.RDR.LINK/WAK031

46 JUNE2023 PROFESSIONAL ELECTRICIANS WHOLESALER
A look at the latest display solutions to help increase your in-store purchases.
“ The colourful and vibrant display is a beacon in any wholesaler where the customer’s eye is drawn.”
R E G I S T E R F O R F R E E AT W W W. E L E X S H O W. I N F O THE HANDS-ON TRADESHOW FOR PROFESSIONAL ELECTRICIANS 1000’S OF SHOW DEALS ● TOP ELECTRICAL BRANDS ● FREE CPD SEMINARS ON WIRING REGS AMENDMENT 2, CIRCUIT PROTECTION, EICRs, EV CHARGING AND MORE ● FREE ENTRY ● FREE PARKING ● FREE PROFESSIONAL ELECTRICIAN T-SHIRT ● FREE BACON ROLL F O RT H C O M I N G S H O W S : ELEX SHOW PROFESSIONAL ELECTRICIAN The Electricians’ Exhibition Sponsored by CBS ARENA COVENTRY CBS ARENA COVENT RY 14TH & 15TH SEPTEMBER 2023 WESTPOINT EXETER WESTPOINT EXETER 27TH & 28TH SEPTEMBER 2023 SANDOWN PARK SURREY SANDOWN PARK SURREY 2ND & 3RD NOVEMBER 2023

Green, Marketing Director UK&I at Schneider Electric, looks at the rise of business consumers and how to create outstanding B2B experiences.

Until recently, B2B and B2C customers were often treated to wildly different experiences. While B2C shoppers enjoyed the latest technologies and trends, from selfcheckouts to virtual fitting rooms and same-day delivery, B2B still relied on traditional trading methods—partnerclient liaison and sealing deals with a signature and a handshake.

However, times have changed. B2B buyers now expect the same customer experiences they receive from B2C companies. They want convenience and the freedom to purchase goods and services digitally, 24/7, where pricing is more transparent and delivered via a frictionless buying process. In fact, recent research reveals 90% of buyers now expect a similar shopping experience on a B2B website as they do on a B2C website.

So, what’s changed? And how can B2B businesses meet these soaring modern expectations? Let’s take a look.

The convergence of B2B and B2C

The pressure for B2B companies to enable online ordering, and raise their experiences to B2C standards, was amplified by the pandemic, as digital temporarily became the only way to access certain products and services. Forty-three per cent of B2B buyers switched suppliers during COVID-19 simply because their supplier had no online ordering available. And before the pandemic, 44% of buyers said they would purchase directly from a sales representative, but this fell dramatically to just 16% post-lockdown.

Simultaneously, millennials and Gen Z are forming a large, influential portion of the wider workforce. Seventy-three per cent of millennial workers are now

involved in product or service decision-making within their companies; these digital natives no longer expect the same level of face-to-face interaction and account management that historically has been paramount in B2B. B2B buyers are also increasingly self-educated, turning to online sources for product information.

48 JUNE2023 PROFESSIONAL ELECTRICIANS WHOLESALER
“ B2B buyers now expect the same customer experiences they receive from B2C companies.”
Chris

Now, more than two-thirds of buyers say they prefer remote human interactions or digital self-service. Gartner forecasts that by 2025, 80% of B2B sales interactions between buyers and suppliers will take place on digital channels, with a third of all buyers, and approaching half (44%) of millennials, already indicating a preference for a seller-free sales experience. So, B2B businesses must begin harnessing new strategies and technologies to meet these new customer expectations.

Reshaping B2B journeys

A crucial part of the modern digital shopping experience is personalisation. Data allows businesses to get to know their customers more closely than ever, and then tailor their offerings to satisfy customer needs. From detecting a customer’s location to show real-time local stock availability, to serving up product recommendations and promotions based on search histories, B2B personalisation can supercharge sales conversions without the need for a sales rep go-between.

This requires a strong data and analytics strategy. Organisations must regularly clean and prepare their data to remove anomalies, automate its extraction, display it within a visual dashboard to uncover important insights, and remain alert to any fluctuations. Once set up, organisations are then near guaranteed to enjoy a competitive advantage. McKinsey research found that “B2B companies that effectively harness analytics in service to marketing and sales performance are 1.5 times more likely to achieve above average growth rates than their competitors.”

B2B businesses must also become agile, building a faster speed-to-market for new products and services. By streamlining production and go-live processes, the company can capitalise on lucrative trends and position itself as an industry leader, rather than a follower. But perhaps the most important strategy of all is the expansion of B2B channels.

Integration for omnichannel

e-commerce

For top B2C businesses, omnichannel has become the dominant form of

commerce. Customers are increasingly demanding seamless experiences across online and in-store shopping. Many brands now allow their customers to shop in-store, on their website, on their app, via social media marketplaces, and more. Not only does omnichannel drive loyalty by giving customers the freedom to shop in the ways they prefer, but it also helps the business to reach new customer segments—boosting sales, efficiency, and inventory turnover.

The drivers of successful digital transformation

Digital transformation is an ongoing journey. Customer behaviours and expectations evolve so quickly that companies must think in non-traditional ways and invest in flexible innovation. It’s a complex undertaking—but businesses will be rewarded with greater impact, growth, and sustainability. Along every stage of this transformation, staff must be supported and upskilled to help prepare them for the

As a result, omnichannel is increasingly seeping into the B2B world. Corporate customers now use 10 or more channels to interact with suppliers, up from just five in 2016, while 94% of B2B decision-makers agree that new omnichannel sales strategies are equally or even more effective than pre-pandemic models. Even established B2B brands like Schneider Electric are developing online marketplaces for distributors, with the company’s customer-facing web shop launching in Egypt, France, India, and Indonesia.

B2B suppliers cannot solve the needs of an entire segment of customers through one channel, nor can they ignore e-commerce. The option to engage via face-to-face, remote, and self-service should be available to all customers, from small to medium-sized enterprises (SMEs) up to the largest organisations. After all, B2B purchases are still ultimately made by people, and they must be treated as individuals throughout every stage of the process.

jobs and business models of the future.

Though a transformation strategy will fluctuate slightly depending on the organisation, there is a handful of drivers that all B2B businesses can follow to ensure they digitally transform towards B2C standards. As discussed, businesses must be customer-centric, data-driven, and agile. They also need to employ both ‘makers’ and ‘doers’ within their organisation—those who ideate and innovate, and those who can transform those visions into a reality.

Meanwhile, cultivating a culture of transparency creates employee trust, engagement, and buy-in, a prerequisite for any successful transformation. And finally, B2B businesses must uphold a collaborative, ready-to-learn mindset—after all, remaining receptive to new partners and ideas is the only way to keep pace with B2C progress, and meet growing B2B customer expectations long into the future.

PROFESSIONAL ELECTRICIANS WHOLESALER JUNE2023 49 FOR MORE INFORMATION VISIT: WWW.RDR.LINK/WAK032

Here is a useful summary of all the adverts that appear in this issue of Professional Electricians Wholesaler . Each is listed with its page number and a direct URL that will get you straight to the relevant online information

CED ...........................................................................(page 8)

www.rdr.link/WAK100

D-Line (Europe) Ltd ...............................................(page 17)

www.rdr.link/WAK101

Deligo Ltd .................................................................(page 3)

www.rdr.link/WAK102

Elex .........................................................................(page 47)

www.rdr.link/WAK103

Elite Security Prods/ESP ......................................(page 33)

www.rdr.link/WAK104

Forum Lighting Solutions Ltd .........................(page 2/IFC)

www.rdr.link/WAK105

Hager UK Ltd ...........................................................(page 4)

www.rdr.link/WAK106

Intalite ...........................................................(page 52/OBC)

www.rdr.link/WAK107

Knipex ....................................................................(page 37)

www.rdr.link/WAK108

Marshall Tufflex Ltd ..............................................(page 27)

www.rdr.link/WAK109

Metrel UK Ltd ...........................................................(page 7)

www.rdr.link/WAK110

Olson Electronics Ltd ...........................................(page 34)

www.rdr.link/WAK111

Ovia Lighting ..........................................................(page

ADVERTISEMENT INDEX
21) www.rdr.link/WAK112 Schneider Electric Ltd .....................................(front cover) www.rdr.link/WAK113 Scolmore International ........................................(page 22) www.rdr.link/WAK114 Sevadis ..................................................................(page 29) www.rdr.link/WAK115 Stearn Electric Co Ltd ............................................(page 11) www.rdr.link/WAK116 Switchtec Ltd .........................................................(page 24) www.rdr.link/WAK117 The IBA ...........................................................(page 51/IBC) www.rdr.link/WAK118 Timeguard Ltd .......................................................(page 25) www.rdr.link/WAK119 Unicrimp ................................................................(page 40) www.rdr.link/WAK120 Wiska UK Ltd .........................................................(page 37) www.rdr.link/WAK121

Turn static files into dynamic content formats.

Create a flipbook
Issuu converts static files into: digital portfolios, online yearbooks, online catalogs, digital photo albums and more. Sign up and create your flipbook.