Pemrograman Ruang Kantor Pos

Page 16

studio perancangan arsitektur 2

pemrograman ruang kantor pos

Dosen Pengampu

Septia Heryanti, ST., MT

Kelompok 01

- Fragrant Savant Al-Bukhori (09040320057)

- Febrian Alief (09040320056)

- Zakiyatul Ilmiya (09040320073)

- Fairuz Abid (09040320062)

design requirement

DARI BANGUNAN SEJENIS KANTOR POS

Studi Kebutuhan Berdasarkan Gedung PIP2B

gedung kantor yang kriteria ruangnya hampir mirip dengan kantor pos

general design

Warna orange pada kantor pos merupakan warna yang ditetapkan oleh Universal Post Union (UPU) untuk warna pos di seluruh dunia. Warna orange sendiri dipilih karena warna orange mempunyai arti warna persatuan dan warna orange adalah warna yang dapat menarik perhatian mata.

Lambang kantor pos adalah burung merpati yang di belakangnya terdapat bola dunia. Lambing ini mempunyai arti bahwa menurut kepercayaan kuno burung merpati merupakan burung yang tidak pernah ingkar janji dan dijadikan media komunikasi untuk mengirim surat.

Sedangkan bola dunia melambangkan bahwa pos ada dan terhubung di seluruh dunia.

Kantor pos mempunyai 3 fungsi: komunikasi, keagenan dan keuangan.

Analisis Kebutuhan

Ruang Kantor POS

Lobby tempat dimana merupakan penerimaan awal dan di dalam lobby ini hanya memerlukan sirkulasi yang lebar dan beberapa papan informasi sehingga tidak ada perabot yang di perlukan. Luas ruangan yang di perlukan 3x3m2.

Area tunggu tidak memerlukan ruang yang besar karena

biasanya orang yang datang ke kantor pos ini tidak memerlukan waktu yang lama.

Untuk ruangan ini aktivitas yang sering terjadi beroriantasi di otak jadi tidak memerlukan sirkulasi yang besar tetapi memerlukan tempat untuk perabot yang banyak.

Ruangan ini memerlukan perabot yang tidak terlalu

banyak karena orang datang biasanya berdiri untuk

mendapatkan pelayanan ini. Tetapi di ruang ini memerlukan loket yang lebih banyak dari pelayanan

lainnya dan juga sirkulasi yang besar. Luas ruang an yang di butuhkan 8x10m2.

c. Ruang Pelayanan Kemitraan

Ruangan ini hanya memerlukan mesin untuk transaksi yang dilakukan konsumen juga sirkulasi. Di ruangan ini tidak memerlukan space untuk pegawai karena tenaga

pegawai di gantikan oleh mesin. Luas ruangan yang dibutuhkan 5x6m2.

d. Ruang Pelayanan Komunikasi

Ruang pelayanan komunikasi memerlukan tempat untuk

loket juga menimbang paket tetapi di ruangan ini tidak memerlukan ruang yang terlalu besar karena waktu yang

diperlukan untuk pelayanan ini 2-3 menit saja. Luas ruangan yang di butuhkan 4x4m2.

Area Penjualan ini memerlukan ruang gerak yang besar agar memudahkan pengawasan dan memudahkan pengunjugn melihat dan memilih barang-barang. Luas ruangan yang dibutuhkan 5x6m2.

Ruang filateli ini memerlukan sirkulasi yang besar karena membuat orang lebih nyaman untuk menikmati filateli yang dipamerkan. 5x8m2.

Gudang penyimpanan barang-barang yang akan dikirimkan

akan disortir mengikuti nomor kode pos masing-masing

daerah. area ini butuh banyak rak yang satu raknya berisikan kode pos tertentu. lalu membutuhkan arean pengecekan dan pengondisian barang, barang loading dan unloading ,kisaran luas 10x10m

e. Area Tunggu f. Office Pegawai g. Area Penjualan h. Ruang Filateli i. Warehouse a. Lobby b. Ruang Pelayanan Keuangan

J. Kamar Mandi Umum

Kamar mandi untuk pengunjung disediakan sesuai jenis

kelamin , untuk perjenis kelaminnya diusahakan terdapat 2 kamar mandi

K. Musholla

Tempat untuk beribadah para pegawai dan para pengunjung. area ini standartnya memiliki kapasitas

untuk 15 orang didalamnya , yang terdiri dari minimal 3

shaf yaitu shaf imam, makmum laki-laki, dan makmum perempuan

L. Ruang Ekspedisi

Ruang untuk menaruh barang-barang ekspedisi dan sebagai tempat penyortiran yang siap dikirimkan oleh Orangers. tempat ini harus berdekatan dengan parkir

dari pasukan oren kantor pos.

M. Parkir Orangers

Parkir Orangers berdekatan dengan tempat ekspedisi. diperkirakan standart untuk luasnya memiliki minimal 8

lajur sepeda berjajar dan 1 mobil yang siap untuk berangkat.

N. Parkir Roda Dua

Parkir Roda dua pengunjung dan pegawai diperkirakan

dapat menampung 100 sepeda motor . dan memilki

jarak antar barisnya minimal 2 meter untuk

mengeluarkan dan memasukkan sepeda motor.

O. Parkir Roda Empat

Parkir Roda empat membutuhkan kira-kira 10 Mobil berjajar

yang permobilnya membutuhkan luas 3x6 meter dan untuk sirkulasi yang memudahkan keluar masuk mobil di bagian

depannya membutuhkan 5 meter.

P. ATM Center

Untuk ATM dibuat untuk seefektif mungkin dengan menggunkan atm link yang dapat menjadi ATM untuk banyak bank. Hal ini akan memberikan keefektifan ruang dan tidak memakan banyak tempat

Q. Customer Service

Ruang Customer Service ini terdiri dari area duduk Untuk menunggu antrian dan ada loket customer Service. Untuk loketnya memiliki standart terdapat 2 loket yang sama kebutuhannya.

R. Security

Ruang Satpam berisikan meja dan kursi serta rak untuk perlatan satpam . juga ada tv sebagai monitor cctv

diperkirakan luas untuk ruang security ialah 2x2 meter

S. PO BOX

Area ini berisikan kotak kecil yang dapat cukup menampung surat2 yang akan dikirim oleh ekspedisi. Area ini terletak

didekat kantor Ekspedisi dan parkiri Orangers. Area ini cukup berupa dinding yang berisikan kotak-kotak pobox

kecil yang dijejer dan ditata sedemikian rupa

T. Ruang SDM dan Aula

Ruang Sumber Daya Manusia merupakan ruangan

tempat Divisi penilaian Kerja dan pengembangan mutu pekerja serta tempat berkumpul mengevaluasi kinerja.

Luasnya harus cukup untuk menampung seluruh

pekerja yang sekitar 100 orang.

U. Kantor Direktur, wakil direktur dan kepala gudang

Merupakan Kantor para eksekutif kepala pos yang berisi

meja kerja dan sofa penerima tamu eksekutif .di pos ini. juga terdapat lemari data-data administrasi. yang

masing-masing ruangannya terdapat area untuk

sekretaris juga

V. Ruang Pengolahan

Merupakan Ruang tahap selanjunya dari penerimaan barang. yaitu ada meja untuk mengecek dan memberikan solasi dan identitas paket masing-masing secara bergiliran.

W. Koperasi

Ruangan ini menjual barang-barang khas kantor pos dan sebagai tempat untuk pemberdayaan ekonomi dari

pekerja . terdapat loket khusus untuk mengambil dana pensiun atau untuk kepentingan lainnya

X. Ruang Sarana Prasarana

Sebagai Ruang Penyimpanan kebutuhan dari alat -alat

kantor . Ruangan ini berisikan rak-rak besar yang dapat menampung benda besar seperti komputer, printer dan lain-lain

Y. Ruang Oranger

sebagai ruang tunggu dan beristirahat para petugas

pengiriman . juga terdapat loker-loker untuk

menyimpan barang pribadi para petugas

Z. Ruang Generator

Ruang yang berisi pusat ketenagaan dari bangunan ini

jika terjadi mati lampu. Ruangan ini juga dapat menjadi

pusat perbaikan dan perawatan utilitas air maupun lainnya.

KAJIAN TEORI GEDUNG KANTOR

Dengan adanya tugas biro yang semakin berubah (Pengaruh teknologi) maka transparansi kerja menjadi elemen mendasar yang mendorong motivasi kerja. Maka perancang harus memperhatikan proses-proses pengaruh dalam semua bidang pembentukan ruang-ruang kerja dan tempat kerja Jang berdasarkan Gottschallk yang mengandung arti penting bagi kepasan kerja.

Kelompok ruang

Bagian kantor ruangan-ruangan kecil untuk 'l-3 karyawan dengan tempat kerja yang sesual dengan kelul u san perguruan

tingginya. Ruang kantor kelompok yang dapat menampung 20 orang dengan tempat keia lulusan Pf. Ruangan besar yang dapat menampung hingga 200 orang pada suatu areal. Ruang kantor kombinasi yang terdiri daerah ruang-ruang kecil dan ruang bersama dan efisien. Seluruh ruang multifungsional bagi kerja individual dan kelompok,

Bagian Arsip, Penyimpan dokumendokumen, Mikrofilm, Komputer, alatalat untuk mengarsip, mereproduksi, mencetak ulang, meralat pemasukan data, menerbitkan, menghancurkan, menghasilkan gambar, pengiriman dokumen melalui band berjalan atau alat mekanis

Bagian dokumentasi sentral dengan alat perekam percakapan. mesin foto kopi, mesin pencetak, pencetak klise, laboratorium foto.

Ruang surat-menyurat, administrasi material (sedapat mungkin berada dekat dengan lantai dasar)

Bagian representasi, ruangruang direksi dengan kamar ganti, ruang pameran, ruang konferensi, ruang bicara.

Bagian Umum; ruang penyimpanan mantel/jas, dapur kecil, WC, ruang istirahat, ruang.senam,kasino dengan dapur, Bagian tambahan dan perluasan tempat kursus dengan tambahan dan perluasan, tempat kursus dengan perangkat audio visual,

Areal parkir, jalan utama, tempat pengiriman barang, garasi yang dapat menampung banyak mobil

Bagian penghubung: Koridor, perluasan koridor, tenaga, lift, luar dan dalam

Bagian pemeliharaan sentral, teknisi, pengatur suhu, ventilasi, pemanas, pengatur/distribusi energi, sentra operator, telekomunikasi, pembersihan dan bagian perawatan.

‹#›
1. 2. 3. 4. 5. 6. 7. 8. 9. 10.

TATA RUANG PERKANTORAN

(menurut Gottschalk) menjelaskan mengenai tata

perancangan denah konstruksi dalam keterkait-nnya

dengan fungsi dan teknik perkantoran sebagai dasar faktorfaktor penentu dari konsepsi gedung. Adapun teknik

pelaksanaannya sangat erat dipengaruhi oleh penentuan

tujuan kearah pemantapan teknologi.

Pelaksanaan struktur di tahun-tahun 50-an, 60-an, dan 70an dengan adanya teknologi informasi dan teknik

perkantoran masa kini daPat disempurnakan, meskipun

demikian yang sangat dominan mempengaruhi kerja

perkantoran dan lingkungan kerja (lihatiah pengubahanpengubahan di tempat pekerjaan) adalah konfigurasi denah

yang lebih baru dari suatu bangunan yang lebih sesuai

dengan kebutuhan dan juga memenuhi harapan-harapan.

Bermula dari tipe gedung+ yang dilengkapi ruangan-

ruangan sel/kecil dari tahun 50-an, kemudian konsepsi

ruangan yang luas dari pertengahan tahun 60-an dan prinsip pengelompokkan ruangan dari tahun 70-an dan 80an, maka kemudian terjadilah pembentukan tipe kombinasi ruang perkantoran (Fuchs, Gottschalk, Sieverts).

STANDART RUANG KANTOR

Conneticul Life Insure UKURAN DAN DETAIL

Penelitian di Amerika (Conneticul Life Insure )

mengindikasikan kebutuhan area luas lantai dan ruang minimal untuk mengoperasikan sebuah perkantoran adalah sebagai

berikut:

Pemilik = 28.5 m ²

Kepala = 18.5 m ²

Wakil Kepala = 13.4 m ²

Sekretaris = 6.7 m ²

Kepala Bagian = 9.3 m ²

Ruang rapat = (0.7x0.9)m² = 0.63 m ² / orang (+ sirkulasi 10%)

STANDART PINTU

Permen PU-No 30-2006

Persyaratan-persyaratan

1.

Pintu pagar ke tapak bangunan harus mudah dibuka dan ditutup oleh penyandang cacat.

2.

Pintu keluar/masuk utama

memiliki lebar manfaat bukaan

minimal 90 cm, dan pintupintu yang kurang penting memiliki lebar bukaan minimal 80 cm,

kecuali untuk rumah sakit harus berukuran minimal 90 cm.

3.

Di daerah sekitar pintu masuk sedapat mungkin dihindari

adanya ram atau perbedaan

ketinggian lantai.

UKURAN DAN DETAIL

Permen PU-No 30-2006

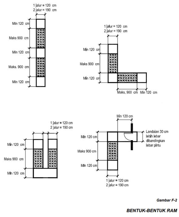
STANDART RAM

Permen PU-No 30-2006

Persyaratan-persyaratan

Kemiringan suatu ram di dalam bangunan tidak boleh melebihi 7°, dengan perbandingan antara tinggi dan kelandaian 1:8.

Perhitungan kemiringan tersebut tidak termasuk awalan atau akhiran ram (curb rams/landing) Sedangkan kemiringan suatu ram yang ada di luar bangunan maksimum 6°, dengan perbandingan antara tinggi dan kelandaian 1:10.

Panjang mendatar dari satu ram dengan perbandingan antara tinggi dan kelandaian 1:8 tidak boleh lebih dari 900 cm.

Panjang ram dengan kemiringan yang lebih rendah dapat lebih panjang.

Lebar minimum dari ram adalah 95 cm tanpa tepi pengaman, dan 120 cm dengan tepi pengaman. Untuk ram yang juga digunakan sekaligus untuk pejalan kaki dan pelayanan angkutan barang harus dipertimbangkan secara seksama lebarnya, sedemikian sehingga bisa dipakai untuk kedua fungsi tersebut, atau dilakukan pemisahan ram dengan fungsi sendiri-sendiri.

Muka datar/bordes pada awalan atau akhiran dari suatu ram harus bebas dan datar sehingga memungkinkan sekurangkurangnya untuk memutar kursi roda dengan ukuran minimum 160 cm.

Permukaan datar awalan atau akhiran suatu ram harus memiliki tekstur sehingga tidak licin baik diwaktu hujan.

Lebar tepi pengaman ram/kanstin/low curb 10 cm, dirancang untuk menghalangi roda kursi roda agar tidak terperosok atau keluar dari jalur ram. Apabila berbatasan langsung dengan lalu-lintas jalan umum atau persimpangan harus dibuat sedemikian rupa agar tidak mengganggu jalan umum.

Ram harus diterangi dengan pencahayaan yang cukup sehingga membantu penggunaan ram saat malam hari.

Pencahayaan disediakan pada bagian-bagian ram yang memiliki ketinggian terhadap muka tanah sekitarnya dan bagianbagian yang membahayakan.

Ram harus dilengkapi dengan pegangan rambatan (handrail) yang dijamin kekuatannya dengan ketinggian yang sesuai.

Pegangan rambat harus mudah dipegang dengan ketinggian 65 - 80 cm.

1. 2. 3. 4. 5. 6. 7. 8.

UKURAN DAN DETAIL

Permen PU-No 30-2006

UKURAN DAN DETAIL

Permen PU-No 30-2006

PROGRAM RUANG

TABEL BESARAN RUANG

Total besar ruang yang diperlukan adalah

1000 m2 , lalu dibagi 2 dikarenakan akan

dijadikan bangunan 2 lantai dan hasilnya

KDB lantai 1 Mendapatkan Luas 500m2

Lalu untuk area selain KDB terdapat

kebutuhan luas berikut

ZONING

Zoning yang ada pada pusat pelayanan di kantor pos ini terdapat dua zoning yaitu private dan publik. Area private merupakan area office yang memerlukan privasi yang tinggi karena di sini banyak data-data dan barang-barang lain

yang memerlukan keamanan yang tinggi dan sebisa mungkin tidak di masuki oleh orang lain kecuali petugas

yang sedang bertugas. Sedangkan area public merupakan area dimanapengunjung menikmati layanan-layanan yang di sediakan oleh kantor pos. di area public ini semua orang bebas keluar masuk.

Akses untuk area private benar-benar berada pada area yang aman dan akses untuk

menuju ke ruang lain lebih mudah. tidak melewati area private.

Area publik mempunyai area sirkulasi yang besar dan lebih nyaman karena

Petugas PT. POS Sistem

Diagram Aktivitas Login

Diagram Aktivitas yaitu diagram yang dapat

Masuk kehalaman login petugas

Input Username

dan Password

Mengverivikasi

Username dan Password

Masuk kehalaman

Mengupdate status kiriman

from update status kiriman

memodelkan proses-proses yang terjadi pada

sebuah sistem. Runtutan proses dari suatu sistem

digambarkan secara vertikal. Activity diagram

merupakan pengembangan dari Use Case yang

memiliki alur aktivitas.

Mendeskripsikan petugas PT. POS melakukan login

dengan memasukkan username dan password, jika

username dan password salah maka petugas

diminta kembali memasukan username dan

password yang benar. jika username dan password

benar maka akan mendapat hak akses ke halaman

form update status kiriman dan petugas

melakukan update status kiriman.

Sistem Pengirim

Membuka

aplikasi pelacak

kiriman

Pilih lacak

kiriman

Masukkan nomer

Menerima respon

dari pengirim

Memeriksa apakah

nomor resi ada

dalam database

resi yang akan

dicari

Diagram Melacak Kiriman

Mendeskripsikan petugas PT. POS

melakukan login dengan memasukkan

username dan password, jika username

dan password salah maka petugas

diminta kembali memasukan username

dan password yang benar. jika username

dan password benar maka akan

mendapat hak akses ke halaman form update status kiriman dan petugas

Mengakses detail

informasi dan nomor

resi yang diminta

pengirim

Menerima konfirmasi

bahwa nomor resi

tidak ditemukan

Menerima detail

informasi dari nomor

resi

melakukan update status kiriman.

Teras Tempat Roda 2 Tempat Roda 4 ATM &Kantin POS Satpam Ruang Tunggu Toilet Customer Service Musholla
Cargo Penerimaan Paket & Dokumen
Generator
Kontrol
Diagram Hubungan Antar ruang
Permainan
Ruang Pengolahan Werehouse
&
Gudang Lantai 1

SDM

Diagram Hubungan Antar ruang

Ruang SarPars

Penerimaan Paket & Dokumen

Pemasaran Ruang Direktur Ruang Wakil Direktur Ruang Rapat 1
Ruang Keuangan
Ruang
Toilet Ruang D. C Ruang Orenger Ruang Rapat 2 Toilet Lantai2
Ruang Logistik Ruang Korporat

Turn static files into dynamic content formats.

Create a flipbook
Issuu converts static files into: digital portfolios, online yearbooks, online catalogs, digital photo albums and more. Sign up and create your flipbook.
Pemrograman Ruang Kantor Pos by Fragrant Savant - Issuu