SUPLEMENTO - AGRUPADOS - EDICIÓN 10.542

Page 1

AGRUPADOS&JUDICIAL. 1

AUMENTO DE CAPITAL Y MODIFICACIÓN DE LOS ESTATUTOS SOCIALES. Por Escritura Pública N° 89 de fecha 06/12/2023, autorizada por la Escribana Pública Maria Isabel Maggi Romero, con Registro Notarial N° 845, se realizó un Aumento de Capital y Modificación de los Estatutos Sociales de la firma J.S. COMERCIAL SOCIEDAD DE RESPONSABILIDAD

LIMITADA. Inscripta en la Dirección General de los Registros Públicos. Sección Personas Jurídicas y Comercio. Matrícula Jurídica N° 3429. Serie Comercial. Inscripto bajo el N° 5. Folio 42. En fecha 06 de mayo del 2.024. Inscripto de Conformidad a la Acordada CSJ N° 1539/21. DTR N° 4/21.-70539/31/05.-

CONSTITUCIÓN DE SOCIE-

DAD. Por E.P. Nº 28, Comercial “A”, de fecha 09/04/2024, pasada ante la E.P. Martha Narvaja R., Reg. Nº 790, se constituyó la asociación civil sin fines de lucro y con capacidad restringida denominada “ASOCIACION DE COPROPIETARIOS DE LA URBANIZACION

LAGO AZUL COUNTRY Y GOLF CLUB SAN BERNARDINO” (ACOLAC).- Domicilio: San Bernardino, Urbanización Lago Azul.- Objeto Principal: Defensa de los derechos e intereses de los propietarios de inmuebles dentro de la Urbanización, de manera a contribuir con acciones específicas que tiendan a mejorar las condiciones sociales y calidad de vida de los propietarios.- Inscripta en la D.G.R.P., Sección Pers. Jur. y Com., Mat. Jur. N° 14680, Serie Civil, bajo el Nº 01, Fl. 01 y sgtes., en fecha 18/04/2024.70469/30/05.-

CONSTITUCIÓN DE SOCIEDAD DE CEN CONTABILIDAD S.A. Por escritura Pública N.º 2, del 14-II-2023, pasada ante el N.P. IDALINA GAMARRA

AYALA. DOMICILIO: Asunción-Paraguay. DURACIÓN: 99

AÑOS.OBJETO: Consultoría y Gestiones Contables, teneduría de libros, auditoria y asesoramiento fiscal y tributarios. SOCIO Y DIRECTORES TITULARES: SR. CARLOS EDUARDO NUÑEZ

CABAÑAS, soltero; y el SR. CARLOS MANUEL ELADIO NUÑEZ CABAÑAS, soltero todos son paraguayos, domiciliados en Asunción, Francisco Pizarro Nº 4239. USO DE LA FIRMA SOCIAL Y LA REPRESENTACIÓN LEGAL DE LA SOCIEDAD: A cargo del Representante Legal el SR. CARLOS EDUARDO NUÑEZ

CABAÑAS. SINDICO TITULAR:

SRA VALERIA MABEL VELAZQUEZ PAEZ, con C.I.C.Nº 4.238.157. CAPITAL SOCIAL: G. 100.000.000. CAPITAL SOCIAL

EMITIDO: G. 100.000.000. Inscripta en la DGRP, Sección Personas Jurídicas y Comercio, en la matrícula N.º 42026, Serie Comercial, bajo el N.º 1, al folio 01, del 29/08/2023 y Matrícula de Comerciante, inscripto bajo el N.º 5883, el 04 de septiembre de 2023.-70476/30/05.-

CONSTITUCIÓN DE SOCIEDAD DE LA FIRMA SERVICIOS, INGENIERIA Y LOGISTICA SOCIEDAD ANONIMA. Por Escritura N° (22) VEINTIDÓS, autorizada por el escribano público Miguel Ángel Cano, en fecha 21/03/2024. Inscripción Personas Jurídicas y Asociaciones, Sección C, bajo el N° 1, folio 1 el 08/04/2024. Registro Público de Comercio, bajo el N° 7875, Serie C, folio 7875, el 11/04/2024. Denominación Social: SERVICIOS, INGENIERIA Y LOGISTICA SOCIEDAD ANONIMA. Domicilio: Asunción, República del Paraguay. Duración: 99 (noventa y nueve) años. Objeto Principal: El objeto principal de la sociedad es transmisión y distribución de energía eléctrica. Representante Legal: Miguel Angel Vargas Enciso. Capital Social: G. 600.000.000 (guaraníes seiscientos millones).-70473/30/05.-

CONSTITUCIÓN DE SOCIE-

DAD. Por E. P. Nro. 09 del 22/02/2024, pasada ante la E. P. Mirtha E. Domínguez, se constituyó la S.A. denominada: N.D. TRADING S.A., Domicilio: C.D.E. Duración: 99, Objet Comercio de productos diversos import. Export.- Pte.: Nelson A. Lopes D. Síndico: César L. Fleitas G.- Capital Social: Gs. 500.000.000. De cuyo testimonio se tomó razón en la D.G. de los R. P. Sección P. J. y C., bajo el Nro. 01 folio 01 у sgts. Serie "SUACE" y M. J. Nro. 2100 del 21/05/2024, y Matrícula de Comerciante Nº 8239.70507/31/05.-

CONSTITUCIÓN DE SOCIEDAD. Según escritura Nº 72 del 13/02/2024, ante la escribana Olga Valentina Insaurralde Medina Registro Nº 445, fue constituido la ASOCIACIÓN WIDOWS SONS PARAGUAY, Presidente, Juan Alberto Mendoza Vaesken CI Nº 2.516.933 y Representante Legal Hugo Daniel Gómez Espínola CI N°2.354.536. Está Inscripta en la Dirección General de los Registros Públicos, Sección Personas Jurídicas y Comercio bajo el Nº 1 folio 1 serie Civil de fecha 29/02/2024.-70491/31/05.-

CONSTITUCIÓN DE SOCIEDAD. Por Esc. Púb. Nro. 30 del 13/03/2024, ante la N.P. Celia María Bogado de Zarate se constituyó la firma con la denominación “BELTANE” S.A. Domicilio: Ciudad de Asunción. Duración: 99 años, contados desde la inscripción en los registros públicos. Capital: Gs. 100.000.000. Objeto: Dedicarse a actividades de fabricación, elaboración y comercialización en todas sus etapas y formas de toda clase de productos permitidos por las leyes y todo otro tipo de actividad industrial y/o transformación, a realizar operaciones de exportación y/o importación de todo tipo de productos permitidos por las leyes, a realizar operaciones de maquila y/o sub-maquila en cualquiera de los caracteres y en todas sus formas. Inscripta en la Dirección General de los Registros Públicos, Sección Personas Jurídicas y Comercio con Matricula Jurídica N° 43524 serie comercial el 12/04/2024 y con Matricula de Comerciante inscripto bajo el N° 7944, folio 7944 el 17/04/2024.70538/31/05.-

CONSTITUCIÓN DE LA ASOCIACIÓN INSCRIPTA CON CAPACIDAD RESTRINGIDA

“ARAPY HUB DE CIENCIAS CLIMÁTICAS PARA LA ADAPTACIÓN”. Por Esc. Pbca. N° 1 del 12/02/2024, ante la N.P. Marcela Gómez Navarro, se formalizó la Constitución.- Inscripta en la DGRP Secc. PERS.JUD. Y COM., Matricula Jurídica N° 14.591, Serie Civil, bajo el N° 1, Folio 1, el 26/02/2024.70574/01/06.-

CONSTITUCIÓN DE SOCIEDAD DE ASUPRICE GROUP

S.A.Domicilio Asunción, duración 99 años, objeto principal consultoría y administración de empresas, inmobiliarias, industriales y comerciales directorio: Director presidente Hernán Alberto Pini, director vicepresidente Christian Rodrigo Recalde Pereira, director titular Luis Alberto Martínez Páez. SÍNDICO: SINDICO TITULAR JUAN Emiliano Ruiz Díaz Oxilia. CAPITAL SOCIAL GS. 1.000.000.000

EMITIDO SUSCRIPTO E INTEGRADO Gs. 1.000.000.000, 1000 (MIL) SERIES DE ACCIONES DE GS. 1.000.000 CADA UNA, DE LA SERIE 1 al 1 000 ESC. N° 42 DEL 30-04-2024, ESCRIBANO LUIS EDUARDO PAREDES ENCISO INSCRIPTO en la Sección Personas Jurídicas y Comercio con la Matricula Jurídica N° 43750 serie Comercial bajo el N° 01 en fecha, folio 1 el 08-05-2024 conforme el Dictamen N° 105814 de fecha 07-052024 de la Abogacía del Tesoro.-70604/01/06.-

CONSTITUCIÓN DE SOCIEDAD LA BELLOTA SOCIEDAD ANÓNIMA. Por Escritura Pública Nro. 2 de fecha 5  de febrero  del 2024, pasada ante el Notario y Escribano Público Josefina Del Carmen Pedersen Fernández, se constituyó la Sociedad Anónima denominada: “LA BELLOTA S.A.”. Domicilio: Asunción, Paraguay. Duración: Noventa y Nueve años, Objeto Principal: Realizar actividades agropecuarias y agroindustriales tales como el desarrollar actividades relacionadas, emanadas o aplicadas a la agricultura y el procesamiento de materia prima de origen agrícola, asi como todas las actividades que tengan directa o indirectamente relación con el agro. Primer Directorio Presidente: Javier Alonso – Vice Presidente: Carlos Roberto Villalba Ferreira – Sindico Titular: Mirian Celeste Zarza Capital Social: Guaraníes doscientos millones (Gs.- 200.000.000.) De cuyo testimonio se tomó razón en la Dirección General de los Registros Públicos, Sección Personas Jurídicas y Comercios, Matricula N° 43746, Serie Comercial, Inscripto bajo el Nro. 1, folio 1/11 en fecha 17/05/2024.01/06.-

CONVOCATORIA DE ACREEDORES. El Juez de Primera Instancia en lo Civil y Comercial del Segundo Turno de la ciudad de Villarrica, Abog. Oscar Alfredo Ortega Varela, en los autos caratulados: “ALEXIS MANUEL SOSA VERON S/ CONVOCATORIA DE ACREEDORES. AÑO 2024, Nº 54 –Sría. 3” ha dictado el AI N° 207 de fecha 08 de mayo de 2024, en el cual se ordena la publicación por 5 veces, haciendo saber ADMISIÓN de esta CONVOCATORIA. Dicha acción es promovida ante la Sría. N° 3 a cargo de la Actuaria Judicial Abog. Myriam Chaparro de Matto. Villarrica, 9 de mayo de 2024.-70411/01/06.-

CONVOCATORIA DE ACREEDORES. CURUGUATY, 21 de mayo de 2024. LA JUEZA

DEL JUZGADO DE PRIMERA INSTANCIA EN LO CIVIL, COMERCIAL, LABORAL DE LA CIUDAD DE CURUGUATY, ABG. SONIA MARIELA MEDINA PAREDES comunica que el JUZGADO DE PRIMERA INSTANCIA EN LO CIVIL, COMERCIAL, LABORAL DE LA CIUDAD DE CURUGUATY ha resuelto mediante A.I. N° 759 de fecha 20 de Octubre de 2023, se ha declarado la QUIEBRA del señor NATALIA BEATRIZ CHAPARRO CUELLAR con C.I. N° 3.499.382. El juicio radica ante la Secretaría N° 1 a cargo de la Actuaria Judicial ABG. ROSSANA ELIZABETH GONZALEZ. -70505/02/06.-

CONVOCATORIA DE ACREEDORES. CURUGUATY, 12 de marzo de 2024. EL JUEZ PENAL DE LA ADOLESCENCIA E INTERINO DEL JUZGADO DE PRIMERA INSTANCIA EN LO CIVIL, COMERCIAL, LABORAL DE LA CIUDAD DE CURUGUATY, ABG. VICTOR DARIO GODOY, comunica que mediante A.I. N° 759 de fecha 20 de octubre de 2023, se ha declarado la QUIEBRA del señor PABLINO ARGÜELLO MASCAREÑO con C.I. N° 3.648.889. El juicio radica ante la Secretaría N° 1 a cargo de la Actuaria Judicial ABG. ROSSANA ELIZABETH GONZALEZ. -70505/02/06.-

CONVOCATORIA DE ACREEDORES. CURUGUATY, 21 de mayo de 2024. LA JUEZA DEL JUZGADO DE PRIMERA INSTANCIA EN LO CIVIL, COMERCIAL, LABORAL DE LA CIUDAD DE CURUGUATY, ABG. SONIA MARIELA MEDINA PAREDES comunica que el JUZGADO DE PRIMERA INSTANCIA EN LO CIVIL, COMERCIAL, LABORAL DE LA CIUDAD DE CURUGUATY ha resuelto mediante A.I. N° 866 de fecha 24 de Octubre de 2023, se ha declarado la QUIEBRA del señor SILVIO RAMON MARTINEZ CABRERA con C.I. N° 903157. El juicio radica ante la Secretaría N° 1 a cargo de la Actuaria Judicial ABG. ROSSANA ELIZABETH GONZALEZ. -70505/02/06.-

CONVOCATORIA DE ACREEDORES. CURUGUATY, 21 de mayo de 2024. LA JUEZA DEL JUZGADO DE PRIMERA INSTANCIA EN LO CIVIL, COMERCIAL, LABORAL DE LA CIUDAD DE CURUGUATY, ABG. SONIA MARIELA MEDINA PAREDES comunica que el JUZGADO DE PRIMERA INSTANCIA EN LO CIVIL, COMERCIAL, LABORAL DE LA CIUDAD DE CURUGUATY ha resuelto mediante A.I. N° 863 de fecha 24 de noviembre de 2023, se ha declarado la QUIEBRA del señor DAVID ADRIAN ENCISO RUIZ DIAZ con C.I. N° 7.197.247. El juicio radica ante la Secretaría N° 1 a cargo de la Actuaria Judicial ABG. ROSSANA ELIZABETH GONZALEZ. -70505/02/06.-

CONVOCATORIA DE ACREEDORES. Se hace saber a los acreedores que en los autos caratulados: “ROBERT TROCHE DUARTE S/ CONVOCATORIA DE ACREEDORES”, EL Juzgado del Cuarto Turno de la ciudad de Caaguazú ha dictado el A.I. N°: 264 de fecha 24 de Mayo de 2.024. Lo cual dispone: ADMITIR, la convocatoria de acreedores peticionado por el Sr. ROBERTO TROCHE DUARTE no es Comerciante. ORDENAR, la suspensión de las ejecuciones iniciadas o a iniciarse contra el patrimonio de la convocatoria, con excepción del que tuviere como objeto el cobro de sus créditos con garantía real o del que corresponda al trabajador como consecuencia de un contrato de trabajo, a cuyo efecto líbrense los oficios correspondientes. CITAR, a los acreedores de la convocatoria para que en un plazo no mayor de treinta días (30) días presenten al Juzgado los títulos justificativos de sus créditos; o a falta de ellos, la manifestación firmada con expresión del monto exacto del crédito. ORDENAR, la publicación de edictos. FDO. ABOG. MARIA IGNACIA FRANCO (JUEZ).- CAAGUAZU, 27 de Mayo de 2024. Se hace saber al destinatario de este edicto que el mismo cuenta con el Código QR, por lo cual, para tener certeza de que este docu-

Anuncia con nosotros llamando al (021) 959 3161 o escríbenos al e-mail: comercial@nacionmedia.com
JUEVES 30 MAYO DE 2024
70465/31/05.-

mento es válido, deberá utilizar el lector del Código QR, siendo ya en consecuencia, innecesaria la autenticación manual del Actuario Judicial del Juzgado conforme Acordada 1366/2019 Y 1370/2020 de la Corte Suprema de Justicia.Firmado digitalmente por: EVER EDUARDO MARTINEZ GALEANO (ACTUARIO/A). -70521/02/06.-

CONVOCATORIA DE ACREEDORES. Se hace saber a los acreedores que en los autos caratulados: “MIGUEL TALAVERA RODRIGUEZ S/ CONVOCATORIA DE ACREEDO-

RES”, EL Juzgado del Cuarto Turno de la ciudad de Caaguazú ha dictado el A.I. N°: 266 de fecha 24 de Mayo de 2.024. Lo cual dispone: ADMITIR, la convocatoria de acreedores peticionado por el Sr. MIGUEL TALAVERA

RODRIGUEZ no es Comerciante. ORDENAR, la suspensión de las ejecuciones iniciadas o a iniciarse contra el patrimonio de la convocatoria, con excepción del que tuviere como objeto el cobro de sus créditos con garantía real o del que corresponda al trabajador como consecuencia de un contrato de trabajo, a cuyo efecto líbrense los oficios correspondientes. CITAR, a los acreedores de la convocatoria para que en un plazo no mayor de treinta días (30) días presenten al Juzgado los títulos justificativos de sus créditos; o a falta de ellos, la manifestación firmada

con expresión del monto exacto del crédito. ORDENAR, la publicación de edictos. FDO. ABOG. MARIA IGNACIA FRANCO (JUEZ).- CAAGUAZU, 27 de Mayo de 2024. Se hace saber al destinatario de este edicto que el mismo cuenta con el Código QR, por lo cual, para tener certeza de que este documento es válido, deberá utilizar el lector del Código QR, siendo ya en consecuencia, innecesaria la autenticación manual del Actuario Judicial del Juzgado conforme Acordada 1366/2019 Y 1370/2020 de la Corte Suprema de Justicia. Firmado digitalmente por: EVER EDUARDO MARTINEZ GALEANO (ACTUARIO/A). -70520/02/06.-

CONVOCATORIA DE ACREEDORES. Se hace saber a los acreedores que en los autos caratulados: “VICTOR RAMON ORTIZ ROLON S/ CONVOCATORIA DE ACREEDORES”, EL Juzgado del Cuarto Turno de la ciudad de Caaguazú ha dictado el A.I. N°: 265 de fecha 24 de Mayo de 2.024. Lo cual dispone: ADMITIR, la convocatoria de acreedores peticionado por el Sr. VICTOR RAMON ORTIZ ROLON no es Comerciante. ORDENAR, la suspensión de las ejecuciones iniciadas o a iniciarse contra el patrimonio de la convocatoria, con excepción del que tuviere como objeto el cobro de sus créditos con garantía real o del que corresponda al trabaja-

dor como consecuencia de un contrato de trabajo, a cuyo efecto líbrense los oficios correspondientes. CITAR, a los acreedores de la convocatoria para que en un plazo no mayor de treinta días (30) días presenten al Juzgado los títulos justificativos de sus créditos; o a falta de ellos, la manifestación firmada con expresión del monto exacto del crédito. ORDENAR, la publicación de edictos. FDO. ABOG. MARIA IGNACIA FRANCO (JUEZ).-CAAGUAZU, 27 de Mayo de 2024. Se hace saber al destinatario de este edicto que el mismo cuenta con el Código QR, por lo cual, para tener certeza de que este documento es válido, deberá utilizar el lector del Código QR, siendo ya en consecuencia, innecesaria la autenticación manual del Actuario Judicial del Juzgado conforme Acordada 1366/2019 Y 1370/2020 de la Corte Suprema de Justicia. Firmado digitalmente por: EVER EDUARDO MARTINEZ GALEANO (ACTUARIO/A) -70522/02/06.-

DISOLUCIÓN CONYUGAL. La Juez de Primera Instancia en lo Civil y Comercial del Primer Turno, Abg. Gabriela Maricel Meaurio Samudio, de la Sexta Circunscripción Judicial, Alto Paraná cita y emplaza por quince veces a los que tengan interés

en reclamar derechos contra la sociedad conyugal formada por los esposos JOSE ALBERTO KATZER ESPINOLA Y ANGELICA MARIA QUIÑONEZ GIMENEZ, para que en el término de 30 días, contados desde la publicación del presente edicto, comparezcan a deducir sus acciones bajo apercibimiento de lo dispuesto en el Art. 212 del Código Civil Paraguayo vigente. El juicio radica en la secretaría a mi cargo. Ciudad del Este, 5 de marzo de 2024. Abg. Emilce Y. Rodríguez Ovelar, Actuaria Judicial. Se hace saber al destinatario de este edicto que el mismo cuenta con el Código QR, por lo cual, para tener certeza de que este documento es válido, deberá utilizar el lector del Código QR, siendo ya en consecuencia, innecesaria la autenticación manual de la Actuaria del Juzgado conforme Acordada 1366/2019 y 1370/2020 de la Corte Suprema de Justicia. 70030/31/05-

DISOLUCIÓN CONYUGAL. LA JUEZA DE PRIMERA INSTANCIA EN LO CIVIL Y COMERCIAL DEL 2º TURNO DE LA CIUDAD DE PRESIDENTE FRANCO, DE LA VI CIRCUNSCRIPCIÓN JUDICIAL DE ALTO PARANÁ, cita y emplaza por quince veces a los que tengan interés en reclamar derechos contra la sociedad conyugal formada por los esposos "CLAUDIA ANTONIA VILLAGRA DE BALDINI Y

RONALDO BALDINI S/ DISOLUCIÓN DE LA COMUNIDAD CONYUGAL. EXP. N° 129, AÑO 2024. Para que en término de 30 días contados desde la publicación del presente Edicto, comparezcan a deducir sus acciones bajo apercibimiento de los dispuesto en el Art 55 de la ley 1/92 modificado del Código Civil Paraguayo vigente juicio radica en la secretaría a mi cargo. Se hace saber al destinatario, para tener certeza de que este documento es válido, que el mismo cuenta con el Código QR, por lo cual, deberá utilizar el lector del Código QR, a fin de constatar su autenticidad. Presidente Franco, 10 de Mayo de 2024.70077/01/06.-

DISOLUCIÓN CONYUGAL.

El Juez de Primera Instancia en lo Civil y Comercial del Cuarto Turno, de la Sexta Circunscripción Judicial - Alto Paraná, con asiento en Ciudad del Este, cita y emplaza por quince veces a los que tengan interés en reclamar derechos contra la sociedad conyugal formada por los esposos HERMINIA PATRICIA GRAY VERA y ALDO HERNAN ROMERO CHAMORRO, para que en el término de 30 días, contados desde la publicación del presente edicto, comparezcan a deducir sus acciones bajo apercibimiento de lo dispuesto en el Art. 55 de la Ley 1/92, en concordancia con el Art. 614 inc. c) del C.P.C. El juicio radica en la secretaría a mi cargo. Ciudad del Este, 27 de noviembre de 2023. Abg. Fredy A. Colman, Actuario Judicial. Se hace saber al destinatario de este edicto que el mismo cuenta con el Código QR, por lo cual, para tener certeza de que este documento es válido, deberá utilizar el lector del Código QR, siendo ya en consecuencia, innecesaria la autenticación. -70089/01/06.-

DISOLUCIÓN CONYUGAL.

LA JUEZA DE PRIMERA INSTANCIA EN LO CIVIL Y COMERCIAL DEL 2º TURNO DE LA CIUDAD DE PRESIDENTE FRANCO, DE LA VI CIRCUNSCRIPCIÓN JUDICIAL DE ALTO PARANÁ, cita y emplaza por quince veces a los que tengan interés en reclamar derechos contra la sociedad conyugal formada por los esposos “VALDIR POSSENTI Y OTILIA LAZARIM S/ DISO -

EXTRAVÍO DE FACTURA

Se comunica a la Banca, la Industria, al Comercio y al Público en general el extravió de 1 FACTURA ORIGINAL N° 001008-0002577, Timbrado 16985634, correspondiente a la EMPRESA BIG C S.A., la misma queda nula y sin valor comercial.

LUCIÓN DE LA COMUNIDAD CONYUGAL”. Exp. Nº 111 AÑO 2024. Para que en término de 30 días contados desde la publicación del presente Edicto, comparezcan a deducir sus acciones bajo apercibimiento de los dispuesto en el Art. 55 de la Ley 1/92 modificado del Código Civil Paraguayo vigente. El juicio radica en la secretaría a mi cargo. Se hace saber al destinatario, para tener certeza de que este documento es válido, que el mismo cuenta con el Código QR, por lo cual, deberá utilizar el lector del Código QR, a fin de constatar su autenticidad. Presidente Franco, 9 de mayo de 2024. -70083/01/06.-

DISOLUCIÓN CONYUGAL. El Juez de Primera Instancia en lo Civil, Comercial y Laboral del Primer Turno de Cordillera, Dr. Justo Cristino Ramos Arrúa, cita y emplaza por quince veces a los que tengan interés en reclamar derechos contra la sociedad conyugal formada por los esposos OPTACIANO LUIS DE LA VEGA SALINAS E IDA NOELIA SANTACRUZ GRAY para que en el perentorio término de treinta (30) días, contados desde la publicación del presente edicto, comparezcan a deducir sus acciones, bajo apercibimiento de lo dispuesto en el Art. 55 de la Ley 1/92. El juicio radica en la secretaría N° 2 a cargo de la actuaria Abg. Sandra Elizabeth Busam Román. Caacupé, 6 de mayo de 2024.70084/01/06.-

DISOLUCIÓN CONYUGAL. EL JUEZ DE PRIMERA INSTANCIA EN LO CIVIL Y COMERCIAL DEL PRIMER TURNO DE LA CIRCUNSCRIPCIÓN JUDICIAL DE PEDRO JUAN CABALLERO, departamento de Amambay, Dr. JUAN MARCELINO GONZALEZ G., emplaza por quince (15) veces a los que tengan interés en reclamar derechos contra la sociedad conyugal formada por los esposos FRANCISCO ALEGRIN DA COSTA Y AQUILINA MARQUEZ VILLAGRA, para que en el perentorio término de treinta (30) días contados desde la publicación del presente edicto, comparezcan a deducir acciones bajo apercibimiento de lo dispuesto en el Art. 55 de la Ley 1/92. El juicio radica en la Secretaría a cargo de la Actuaria Judicial, Abg. ANNY GREGORIA ACOSTA G.. Pedro Juan Caballero, 3 de mayo de 2024.-70108/01/06.-

DISOLUCIÓN CONYUGAL. LA JUEZ DE PRIMERA INSTANCIA EN LO CIVIL, COMERCIAL Y LABORAL DE LA CIUDAD DE JUAN LEÓN MALLORQUÍN, ABG. GLORIA LIZ GONZÁLEZ, cita y emplaza por quince días a los que tengan interés en reclamar derechos contra la sociedad

JUEVES 30 MAYO DE 2024 2 JUDICIAL
70502/02/06.- 70504/02/06.-
.
70461/30/05.-

conyugal formada por los esposos “MARIA LORENA ALMIRON DE VARGAS Y AMERICO VARGAS ACUÑA” para que, en el término de treinta días contados desde la publicación del presente Edicto, comparezcan a deducir sus acciones bajo apercibimiento de lo dispuesto en el Art. 55 de la Ley 1/92 del Código Civil Paraguayo. El juicio de referencia radica en la secretaria N°1, a cargo del Actuario Judicial Interino Abg. ADOLFO PATIÑO. Se hace saber al destinatario del presente edicto, que el mismo cuenta con el Código QR, por lo cual, para tener certeza que este documento es válido, deberá utilizar el lector del Código QR, siendo ya en consecuencia, innecesaria la autenticación manual del Actuario del Juzgado, conforme a las Acordadas 1366/2019 y 1370/2020, de la Corte Suprema de Justicia. DOCTOR JUAN LEÓN MALLORQUÍN, 16 de mayo de 2024.-70096/01/06.-

DISOLUCIÓN CONYUGAL. LA JUEZA DE PRIMERA INSTANCIA EN LO CIVIL, COMERCIAL Y LABORAL DEL PRIMER TURNO DE LA CIRCUNSCRIPCIÓN JUDICIAL DE SAN PEDRO, ABOG. NORMA MABEL FLEITAS AQUINO, cita y emplaza por quince veces a los que tengan interés de reclamar derechos contra la sociedad conyugal conformada por los esposos JOEL MENDOZA ESPINOLA Y ELSA DIANA CABRERA MENDEZ, para que en perentorio término de treinta días contados desde la publicación del presente edicto, comparezcan a deducir sus acciones, bajo apercibimiento de lo dispuesto en el Art. 212 del Código Civil. El juicio radica en la Secretaría Nº 2, a mi cargo. SAN PEDRO DE YCUAMANDYYÚ, 17 de mayo de 2024. Abg. Luisa Haudenschild Espinoza, actuaria. -70143/04/06.-

DISOLUCIÓN CONYUGAL.

La Juez de Primera Instancia en lo Civil y Comercial del Quinto Turno, Abg. Gabriela Ramírez, de la Sexta Circunscripción Judicial - Alto Paraná, cita y emplaza por quince veces a los que tengan interés en reclamar derechos contra la sociedad conyugal formada por los esposos

DERLIS IGNACIO HERRERA Y ANTONIA FERNANDEZ CARDOZO, para que en el término de 30 días, contados desde la publicación del presente edicto, comparezcan a deducir sus acciones bajo apercibimiento de lo dispuesto en el Art. 212 del Código Civil Paraguayo vigente. El juicio radica en la secretaría a mi cargo. Ciudad del Este, 7 de febrero de 2024. Abg. Sara Ojeda, Actuaria Judicial. Se hace saber al destinatario de este edicto que el mismo cuenta

con el Código QR, por lo cual, para tener certeza de que este documento es válido, deberá utilizar el lector del Código QR, siendo ya en consecuencia, innecesaria la autenticación.-70134/04/06.-

DISOLUCIÓN DE LA COMUNIDAD CONYUGAL. La Jueza de Primera Instancia en lo Civil, Comercial y Laboral del Cuarto Turno de la ciudad de Caaguazú, Abog. María Ignacia Franco, cita y emplaza por 15 veces a los que tengan interés en reclamar derechos contra la sociedad conyugal formada por los esposos GILBERTO AGUSTIN MARECO ALMADA CONTRA AGUSTINA RAMIREZ GONZALEZ para que el termino de 30 días contados desde la publicación del presente Edicto, comparezcan a deducir sus acciones bajo apercibimiento de lo dispuesto en el Art. 212 del Código Civil Paraguayo. El juicio radica ante la Secretaría N° 07 a mi cargo. Abog. EVER MARTINEZ, Actuario Judicial de CAAGUAZÚ. CAAGUAZÚ, 17 de mayo de 2024.-70125/04/06.-

DISOLUCIÓN CONYUGAL. El Juez de Primera Instancia en lo Civil y Comercial del Cuarto Turno, de la Sexta Circunscripción Judicial - Alto Paraná, con asiento en Ciudad del Este, cita y emplaza por quince veces a los que tengan interés en reclamar derechos contra la sociedad conyugal formada por los esposos CELSO BENÍTEZ Y CARMEN VANESA SOTELO, para que en el término de 30 días, contados desde la publicación del presente edicto, comparezcan a deducir sus acciones bajo apercibimiento de lo dispuesto en el Art. 55 de la Ley 1/92, en concordancia con el Art. 614 inc. c) del C.P.C. El juicio radica en la secretaría a mi cargo. Ciudad del Este, 20 de mayo de 2024. Abg. Fredy A. Colman, Actuario Judicial. Se hace saber al destinatario de este edicto que el mismo cuenta con el Código QR, por lo cual, para tener certeza de que este documento es válido, deberá utilizar el lector del Código QR, siendo ya en consecuencia, innecesaria la autenticación. -70158/04/06.-

DISOLUCIÓN CONYUGAL. LA JUEZ PENAL DE GARANTIAS E INTERINA EN LO CIVIL, COMERCIAL, LABORAL, DE LA NIÑEZ Y ADOLESCENCIA DE LA CIUDAD DE KATUETE, CIRCUNSCRIPCIÓN JUDICIAL DE CANINDEYÚ, ABG. ALCIRA DE SOUZA LIMA COLMAN, de citación y emplazamiento en el diario, por quince veces convocando a todos los que tengan derechos o créditos que reclamar en la presente comunidad conyugal, para que en el peren-

torio plazo de treinta días contados desde la publicación del edicto, comparezcan a ejercer sus acciones, bajo apercibimiento de no poder hacerlo en

adelante sino contra los bienes propios del deudor, en el JUICIO: “MIGUEL BRITEZ IRALA Y CINTHIA ELIZABETH COLMAN SILVA S/ DISOLUCIÓN

JUEVES 30 MAYO DE 2024

DE LA COMUNIDAD CONYUGAL. Expediente. Nº 35/2024”, que radica en la Secretaría Nº 02, a cargo del Actuario Judicial ABOG. JUSTO

ARIEL ROJAS BALBUENA. Se hace saber al destinatario de este edicto que el mismo cuenta con el Código QR, por lo cual, para tener certeza de que este docu-

3
70331/30/05.-

4 JUDICIAL .

mento es válido, deberá utilizar el lector del Código QR, siendo ya en consecuencia, innecesaria la autenticación manual del actuario del Juzgado conforme Acordada 1335/19. KATUETE, 3 de abril de 2024. Firmado digitalmente por: Alcira de Sousa Lima Colmán (Jueza).70161/04/06.-

DISOLUCIÓN CONYUGAL.

La Juez de Primera Instancia en lo Civil y Comercial del Segundo Turno, Dra. LAURA MERCEDES

GONZALEZ CRISTALDO, cita y emplaza por quince veces a los que tengan interés en reclamar Derechos contra la sociedad conyugal formada por los esposos YLSA VEGA MOREL Y JULIO CESAR VILLALBA, para que en el término de 30 días contados desde la publicación del presente edicto, comparezcan a deducir sus acciones, bajo apercibimiento de lo dispuesto en el Art. 55 de la Ley 1/92. El Juicio radica en la Secretaría a mi cargo. Ante mí: Abg. LEONARDO SOTO, Actuario Judicial Interino - Secretaría N° 3. Caaguazú, 3 de mayo de 2024. Se hace saber al destinatario de este edicto que el mismo cuenta con el código QR, por lo cual, para tener certeza de que este documento es válido, deberá utilizar el lector del código QR, siendo ya en consecuencia, innecesaria la autenticación manual del Actuario del Juzgado conforme Acordada 1366/2019.70193/05/06.-

DISOLUCIÓN CONYUGAL. LA JUEZ DE PRIMERA INSTANCIA EN LO CIVIL, COMERCIAL, LABORAL, DE LA NIÑEZ Y ADOLESCENCIA DE LA CIUDAD DE KATUETE, CIRCUNSCRIPCIÓN JUDICIAL DE CANINDEYÚ, ABG. JOSEFINA GUNSETT MELGAREJO, de citación y emplazamiento en el diario, por quince veces convocando a todos los que tengan derechos o créditos que reclamar en la presente comunidad conyugal, para que en el perentorio plazo de treinta días contados desde la publicación del edicto, comparezcan a ejercer sus acciones, bajo apercibimiento de no poder hacerlo en adelante sino contra los bienes propios del deudor, en el JUICIO: “CYNTHIA ELIZABETH FANTIN OVIEDO C/ EDERSON SETTI NOVAK S/ DISOLUCIÓN DE LA COMUNIDAD CONYUGAL. Expediente. Nº 49/2024”, que radica en la Secretaría Nº 01, a cargo del Actuario Judicial ABOG. JUSTO ARIEL ROJAS BALBUENA.- Se hace saber al destinatario de este edicto que el mismo cuenta con el Código QR, por lo cual, para tener certeza de que este documento es válido, deberá utilizar el lector del Código QR, siendo ya en consecuencia, innecesaria

la autenticación manual del actuario del Juzgado conforme Acordada 1335/19. KATUETE, 2 de mayo de 2024.-70218/05/06.-

DISOLUCIÓN CONYUGAL. El Juez de Primera Instancia en lo Civil y Comercial del Quinto Turno de esta Capital, Alfredo Barrios Jara cita y emplaza por quince veces a los que tengan interés en reclamar derechos contra la sociedad conyugal formada por los esposos CARLOS MIGUEL ORREGO VALDEZ Y MARIA ROSSANA ARMADANS ROJAS para que en el término de 30 días contados desde la publicación del presente Edicto, comparezcan a deducir sus acciones bajo apercibimiento de lo dispuesto en el art. 55 de la Ley 1/52. El juicio radica en la Secretaría a cargo del Actuario Heriberto R. Lezcano. Asunción, 17 de mayo de 2024. Se hace saber al destinatario del presente edicto, que el mismo cuenta con el Código QR, por lo cual, para tener certeza que este documento es válido, deberá utilizar el lector del Código QR, siendo ya en consecuencia, innecesaria la autenticación manual del Actuario del Juzgado, conforme a las Acordadas 1366/2019 y 1370/2020, de la Corte Suprema de Justicia. -70242/05/06.-

DISOLUCIÓN CONYUGAL. El Juez de Primera Instancia en lo Civil, Comercial y Laboral de San Juan Nepomuceno, Abg. Carlos Alberto Rojas Cañete, cita emplaza por quince veces a los que tengan interés en reclamar derechos contra la sociedad conyugal conformada por los esposos MYRIAN AURORA BARRETO AGUINAGALDE C/ ISABELINO NUÑEZ LOPEZ S/ DISOLUCIÓN Y LIQUIDACIÓN DE LA COMUNIDAD DE GANANCIALES para que en el perentorio término de 30 días contados desde la publicación del presente Edicto, comparezcan a deducir sus acciones, bajo apercibimiento de lo dispuesto en el artículo 212 del Código Civil. El juicio radica en la Secretaría a mi cargo. Secretaría N° 1. San Juan Nepomuceno, 15 de abril de 2024. Abg. Leonida E. Pereira, Actuaria Judicial. -70222/05/06.-

DISOLUCIÓN CONYUGAL. El Juez de Primera Instancia en lo Civil y Comercial del Cuarto Turno, de la Sexta Circunscripción Judicial, Alto Paraná, con asiento en Ciudad del Este, cita y emplaza por quince veces a los que tengan interés en reclamar derechos contra la sociedad conyugal formada por los esposos ASUNCION ALFONSO

GARCIA Y FIDELINA SANCHEZ LEZCANO, para que en el término de 30 días, contados

desde la publicación del presente edicto, comparezcan a deducir sus acciones bajo apercibimiento de lo dispuesto en el Art. 55 de la Ley 1/92, en concordancia con el Art. 614 inc. c) del C.P.C. El juicio radica en la secretaría a mi cargo. Ciudad del Este, 20 de febrero de 2024. Abg. Fredy A. Colman, Actuario Judicial. Se hace saber al destinatario de este edicto que el mismo cuenta con el Código QR, por lo cual, para tener certeza de que este documento es válido, deberá utilizar el lector del Código QR, siendo en consecuencia, innecesaria la autenticación.-70283/06/06.-

DISOLUCIÓN CONYUGAL. El Juez de Primera Instancia en lo Civil Comercial y Laboral del Tercer Turno e interino del Primer Turno de Cordillera, Dr. JUSTO CRISTINO RAMOS ARRUA, cita y emplaza por quince veces a los que tengan interés en reclamar derechos contra la sociedad conyugal formada por los esposos THIAGO SAMIR PEDROZO CACERES Y ROCIO MAGALI NOGUERA CABAÑAS, para que en el perentorio término de treinta (30) días, contados desde la publicación del presente edicto, comparezcan a deducir sus acciones, bajo apercibimiento de lo dispuesto en el Art. 55 de la Ley 1/92. El juicio radica en la Secretaría N° 2 a cargo de la Actuaria Abg. Sandra Elizabeth Busam Román. CAACUPÉ, 21 de mayo de 2024. Se hace saber al destinatario de este documento que el mismo cuenta con el Código QR, por lo cual, para tener certeza de que este documento es válido, deberá utilizar el lector del Código QR, siendo ya en consecuencia, innecesaria la autenticación manual de la Actuaria del Juzgado conforme Acordada 1.335/2019 de la Corte Suprema de Justicia. -70269/01/06.-

DISOLUCIÓN CONYUGAL. La Juez de Primera Instancia en lo Civil y Comercial del Quinto Turno e Interino del Tercer Turno de Ciudad del Este de la VI Circunscripción Judicial del Alto Paraná, Abg. Gabriela Noemí Ramírez, cita y emplaza por quince veces a los que tengan interés en reclamar derechos contra la sociedad conyugal formada por los esposos Sres. NELSA FERNÁNDEZ SILVA Y LUIS ALBERTO RAMIREZ, para que en el término de 30 días, contados desde la publicación del presente edicto, comparezcan a deducir sus acciones bajo apercibimiento de lo dispuesto en el Art. 212 del Código Civil Paraguayo vigente. El juicio radica en la Secretaría N° 06 a cargo del Actuario Judicial Abog. Marcelo Iván Benítez Colmán. Ciudad del Este, 8 de mayo de

2024. Se hace saber al destinatario de este edicto que el mismo cuenta con el Código QR, por lo cual, para tener certeza de que este documento es válido, deberá utilizar el lector del Código QR, siendo ya en consecuencia, innecesaria la autenticación manual por secretaría del Juzgado conforme Acordada 1366/2019 y 1370/2020 de la Corte Suprema de Justicia. -70264/06/06.-

DISOLUCIÓN CONYUGAL. El Juez de Primera Instancia en lo Civil y Comercial del Cuarto Turno de la Sexta Circunscripción Judicial - Alto Paraná, con asiento en Ciudad del Este, Abg. Juan Vicente Pereira Vera cita y emplaza por quince veces a los que tengan interés en reclamar derechos contra la comunidad conyugal formada por los esposos SINFORIANA RAMÍREZ Y MIGUEL ANGEL FLORENTIN, para que en el término de 30 días, contados desde la última publicación del presente edicto, comparezcan a deducir sus acciones, bajo apercibimiento de lo dispuesto en el Art. 55 de la Ley 1/92, en concordancia con el Art. 614 inc. c) del C.P.C. El juicio radica en la secretaría a mi cargo. Ciudad del Este, 21 de Mayo de 2024. Abg. Leticia Rotela C., Actuaria Judicial de la Secretaría Nº 8. Se hace saber al destinatario de este edicto que el mismo cuenta con el Código QR, por lo cual, para tener certeza de que este documento es válido, deberá utilizar el lector del Código QR, siendo en consecuencia, innecesaria la autenticación. -70370/07/06.-

DISOLUCIÓN CONYUGAL. LA JUEZA DE PRIMERA INSTANCIA EN LO CIVIL, COMERCIAL y LABORAL DEL PRIMER TURNO E INTERINA DEL SEGUNDO TURNO DE LA CIRCUNSCRIPCIÓN JUDICIAL DE SAN PEDRO, Abg. NORMA MABEL FLEITAS, cita y emplaza por quince veces a los que tengan interés en reclamar derechos contra la sociedad conyugal formada por los esposos MIGUELA ARGÜELLO VARGAS Y ERMELANDO ESPINOLA AREVALOS, para que en el término de 30 días, contados desde la publicación del presente edicto, comparezcan a deducir sus acciones bajo apercibimiento de lo dispuesto en el Art. 212 del Código Civil Paraguayo vigente. El juicio radica en la secretaría N° 03 a cargo de la Abg. MERCEDES RAMIREZ, Actuaria Judicial. SAN PEDRO DE YCUAMANDYYÚ, 29 de abril de 2024. Se hace saber al destinatario de este edicto que el mismo cuenta con el Código QR, por lo cual, para tener certeza de que este documento es válido, deberá utilizar el lector del Código QR, siendo ya en consecuencia, inne-

cesaria la autenticación manual de la Actuaria del Juzgado conforme Acordada 1366/2019 de la Excma. CSJ.-70383/07/06.-

DISOLUCIÓN CONYUGAL. LA JUEZ DE PRIMERA INSTANCIA EN LO CIVIL, COMERCIAL Y LABORAL DE LA TERCERA CIRCUNSCRIPCIÓN JUDICIAL DE LA REPÚBLICA, CON SEDE EN SAN PEDRO DEL PARANÁ, DEPARTAMENTO DE ITAPÚA, Abg. FRANCISCA SOLANA AQUINO ALGARÍN, cita y emplaza por quince veces a los que tengan interés en reclamar derechos contra la sociedad conyugal formada por los esposos SILVIO ANTONIO ACUÑA CABRERA Y MIRIAN BEATRIZ DELVALLE RODRIGUEZ, para que en el término de 30 días, contados desde la publicación del presente edicto, comparezcan a deducir sus acciones bajo apercibimiento de lo dispuesto en el Art. 212 del Código Civil Paraguayo vigente. El juicio radica en la secretaría (única) a mi cargo Abg. ANIBAL AMARILLA NAVARRO, Actuario Judicial. SAN PEDRO DEL PARANA, 24 de mayo de 2024. Firmado digitalmente por ANÍBAL AMARILLA NAVARRO (ACTUARIO). -70428/08/06.-

DISOLUCIÓN Y LIQUIDACIÓN DE LA SOCIEDAD CONYUGAL. EL JUEZ DE PRIMERA INSTANCIA EN LO CIVIL Y COMERCIAL DEL PRIMER TURNO E INTERINO DEL JUZGADO DE IGUAL CLASE DEL TERCER TURNO DE LA CIRCUNSCRIPCION JUDICIAL DEL AMAMBAY, DR. JUAN MARCELINO GONZÁLEZ GARCETE, cita y emplaza por el plazo de 15 veces a los que tengan interés en reclamar derechos contra la sociedad conyugal formada por los esposos LIZ GUADALUPE GIMENEZ SANCHEZ Y FABIO RUBEN VARGAS

VILLALBA, para que en el término de 30 días contados desde la última publicación del presente EDICTO, comparezcan a deducir acciones, bajo apercibimiento de lo dispuesto en el Para conocer la validez del documento, verifique aquí. artículo 55 de la Ley 1/92 modificado del Código Civil. El juicio radica en la secretaria N° 05, a cargo del Actuario Judicial Abg. PEDRO B. BENÍTEZ NOGUERA.- PEDRO JUAN CABALLERO, 20 de mayo de 2024.-70460/11/06.-

DISOLUCIÓN Y LIQUIDACIÓN DE LA SOCIEDAD

CONYUGAL. EL JUEZ DE PRIMERA INSTANCIA EN LO CIVIL Y COMERCIAL DEL PRIMER TURNO E INTERINO DEL JUZGADO DE IGUAL CLASE DEL TERCER TURNO DE LA CIRCUNSCRIPCIÓN JUDICIAL DEL AMAMBAY, DR. JUAN MARCELINO GONZÁLEZ GAR-

CETE, cita y emplaza por el plazo de 15 veces a los que tengan interés en reclamar derechos contra la sociedad conyugal formada por los esposos SADI ESTELA LOPEZ SANABRIA Y RICHARD GUSTAVO DIAZ DESVARS, para que en el término de 30 días contados desde la última publicación. del presente EDICTO, comparezcan a deducir acciones, bajo apercibimiento de lo dispuesto en el artículo 55 de la Ley 1/92 modificado del Código Civil. El juicio radica en la secretaría N° 05, a cargo del Actuario Judicial Abg. PEDRO B. BENÍTEZ NOGUERA.PEDRO JUAN CABALLERO, 20 de mayo de 2024. -70459/11/06.-

DISOLUCIÓN CONYUGAL. EL JUEZ DE PRIMERA INSTANCIA EN LO CIVIL, COMERCIAL, LABORAL, DE SANTA ROSA DEL AGUARAY, ABG. NELSON ANTOLIN MERCADO P., cita y emplaza por quince veces a los que tengan interés en reclamar derechos contra la Sociedad Conyugal conformada por los esposos: “FRANCISCO GALEANO JIMENEZ C/ SERGIA VILLALBA SEGOVIA S/ DISOLUCIÓN Y LIQUIDACIÓN DE LA COMUNIDAD GANANCIAL” Expte. Nº 322. Folio 147 VLTO. Año 2023, para que en el perentorio término de treinta días contados desde la publicación del presente edicto comparezcan a deducir sus acciones, bajo apercibimiento de lo dispuesto en el Art. 55 de la Ley 1/92 del Código Civil. El juicio radica en la Secretaría a mi cargo.- SANTA ROSA DEL AGUARAY, 3 de mayo de 2024.70452/12/06.-

DISOLUCIÓN CONYUGAL. LA JUEZA DE PRIMERA INSTANCIA EN LO CIVIL Y COMERCIAL DEL 29 TURNO DE LA CIUDAD DE PRESIDENTE FRANCO, DE LA VI CIRCUNSCRIPCIÓN JUDICIAL DE ALTO PARANÁ, cita y emplaza por quince veces a los que tengan interés en reclamar derechos contra la sociedad conyugal formada por los esposos “THEOPHILUS GUSTAAF MAGDALENA PATYN MENUE C/ MAGDALENA CABALLERO VILLALBA S/ DISOLUCIÓN DE LA COMUNIDAD CONYUGAL”. Exp. N° 29, año 2024. Para que en término de 30 días contados desde la publicación del presente Edicto, comparezcan a deducir sus acciones bajo apercibimiento de los dispuesto el Art. 55 de la Ley 1/92 modificado del Código Civil Paraguayo en vigente. El juicio radica en la secretaría a mi cargo. SE HACE SABER al destinatario, para tener certeza de que este documento es válido, que el mismo cuenta con el Código QR, por lo cual, deberá utilizar el lector

JUEVES 30 MAYO DE 2024

del Código QR, a fin de constatar su autenticidad. Presidente Franco, 25 de abril de 2024.70490/12/06.-

DISOLUCIÓN CONYUGAL.

El Juez de Primera Instancia en lo Civil del Segundo Turno, Abg. JORGE GERARDO FRANCO FATECHA, cita y emplaza por quince veces a los que tengan interés en reclamar derechos contra la sociedad conyugal formada por los esposos SHYRLEY CAROLINA SANTACRUZ PERALTA Y JUAN CAÑETE CONTRERA. para que en el término de 30 días, contados desde la publicación del presente edicto, comparezcan a deducir sus acciones bajo apercibimiento de lo dispuesto en el Art. 55 de la ley 1/92. El juicio radica en la secretaria a mi cargo. (CORONEL OVIEDO, 28 de mayo de 2024). Abg. WILSON F. SILVA, Actuario Judicial - Sec. Nº 4. Se hace saber al destinatario de este edicto que el mismo cuenta con el Código QR, por lo cual, para tener certeza de que este documento es válido, deberá utilizar el lector del Código QR, siendo ya en consecuencia, innecesaria la autenticación manual del Actuario del Juzgado conforme Acordada 1366/2019. -70572/13/06.-

DISOLUCIÓN CONYUGAL.

El Juez de Primera Instancia en lo Civil y Comercial del Cuarto Turno, de la Sexta Circunscripción Judicial, Alto Paraná, con asiento en Ciudad del Este, cita y emplaza por quince veces a los que tengan interés en reclamar derechos contra la sociedad conyugal formada por los esposos GILBERTO RAMON MARTINEZ Y PAOLA BAEZ PINO, para que en el término de 30 días, contados desde la publicación del presente edicto, comparezcan a deducir sus acciones, bajo apercibimiento de lo dispuesto en el Art. 55 de la Ley 1/92, en concordancia con el Art. 614 inc. c) del C.P.C. El juicio radica en la secretaría a mi cargo. Ciudad del Este, 6 de agosto de 2021. Abg. Leticia Rótela Cáceres, Actuaria Judicial interina. Se hace saber al destinatario de este edicto que el mismo cuenta con el Código QR, por lo cual, para tener certeza de que este documento es válido, deberá utilizar el lector del Código QR, siendo ya en consecuencia, innecesaria la autenticación. -70566/13/05.-

DISOLUCIÓN CONYUGAL. EL JUEZ DE PRIMERA INSTANCIA EN LO CIVIL y COMERCIAL DEL PRIMER TURNO e INTERINO DEL TERCER TURNO DE LA CIRCUNSCRIPCIÓN JUDICIAL DE AMAMBAY, DR. JUAN MARCELINO GONZÁLEZ

GARCETE, cita y emplaza por el plazo de 15 veces a los que ten-

gan interés en reclamar derechos contra la sociedad conyugal formada por los esposos

MIRTHA JAZMIN CAÑETE CABAÑAS Y GUIDO DANIEL

MARECOS CROSE, para que en el término de 30 días contados desde la última publicación del presente EDICTO, comparezcan a deducir acciones, bajo apercibimiento de lo dispuesto en el artículo 55 de la Ley 1/92 modificado del Código Civil. El juicio radica en la secretaría N.º 05, a cargo del Actuario Judicial Abg. PEDRO B. BENITEZ NOGUERA. Pedro Juan Caballero, 16 de abril de 2024. -70612/13/06.-

DISOLUCIÓN POR CIERRE DE EMPRESA LA FIRMA

JUFRA S. A., con Ruc No 80141847-0, constituida por escritura pública N.º 201 del 04/05/1995 comunica al público en general que conforme a la resolución de la Asamblea General Extraordinaria de fecha 05/04/2024 ha decidido la disolución de la empresa y cierre definitivo por lo que el Balance General de cierre y clausura ya se encuentra a disposición de los interesados en el domicilio cito en la calle Emigdia Reisofer N.º 1255 en el horario de 08:00 a 17:00 por un plazo de 30 días anticipado.-70442/01/06.-

DISOLUCIÓN Y LIQUIDACIÓN DE LA FIRMA “CASANOVAS HUMAN TOUCH

LATAM S.A.”, por Escritura N° 52, Comercial “B” del 12/04/2024, autorizada por la N.P Susana Raquel Ramírez Báez con registro N° 77, inscripto en la DGRP. Secc. Personas Jurídicas y Comercio, Matrícula Jurídica N° 25890 serie Comercial, entrada N° 13776711 bajo el N° 02, folio 16 y sgts., en fecha 02/05/2024.-70560/01/06.-

EDICTO. LA JUEZA DE PAZ EN LO CIVIL, COMERCIAL Y LABORAL DEL DISTRITO LA CATEDRAL, SEGUNDO TURNO, ABG. MG. NATHALIA GUADALUPE GARCETE AQUINO, comunica que en los autos caratulados: “INTERCONTINENTAL DE SEGUROS Y REASEGUROS SA C/ ALBINO OJEDA GIMENEZ S/ ACCIÓN PREPARAT0RIA DE JUICIO EJECUTIVO”

AÑO: 2021; Nº 1342; FOLI0: 36 VLTO., por A.I. Nº 14.447 de fecha 01 de diciembre de 2021, se resolvió: “1- Hacer efectivo el apercibimiento decretado en autos y, en consecuencia, tener por reconocida la firma atribuida a la parte demandada y por auténtico el documento presentado. 2- Tener por iniciado el

JUEVES 30 MAYO DE 2024 5 70598/30/05.-

presente juicio que promueve INTERCONTINENTAL DE SEGUROS Y REASEGUROS S.A. contra ALBINO OJEDA GIMENEZ, con C.I. Nº 1.253.299, por el cobro de la suma de GUARANÍES UN MILLÓN TRESCIENTOS SETENTA Y CINCO MIL (GS. 1.375.000), más interese y costas del juicio. 3- DECRETAR embargo ejecutivo contra los bienes suficientes de la parte demandada hasta cubrir la suma reclamada en autos y más la fijada para gastos de justicia. 4- INTIMAR de pago a la parte deudora para que en el acto del requerimiento o dentro del tercer día subsiguiente al mismo de y pague la suma reclamada y más la cantidad de la suma de GUARANÍES CIENTO TREINTA Y SIETE MIL (GS. 137.000) y para el efecto líbrese el correspondiente mandamiento, y comisiónese a un oficial de justicia para su diligenciamiento, quien dejará en poder de la parte demandada el duplicado firmado de mismo con indicación de la fecha y hora de su diligenciamiento, y conforme al Art. 460 (última parte) del Código Procesal Civil, le hará saber que deberá constituir su domicilio en el juicio de referencia, bajo apercibimiento de lo dispuesto en el ART. 48 del C.P.C., debiendo observar lo previsto por los Arts. 451 y 460 del C.P.C. 5- SEÑÁLESE como día de notificación en secretaría, los martes y jueves de cada semana, de conformidad al Art. 131 del C.P.C. 6ANÓTESE, regístrese y remítase copia a la Excma. Corte Suprema de Justicia. El JUICIO RADICA EN LA SECRETARÍA Nº 4 A CARGO DEL ACTUARIO JUDICIAL PABLO CABRERA .-70314/06/06.-

EDICTO. LA JUEZA DE PRIMERA INSTANCIA EN LO CIVIL, COMERCIAL Y LABORAL DEL PRIMER TURNO DE PARAGUARÍ SEC. N° 2 DE PARAGUARÍ, ABG. SADY CAROLINA BARRETO TORRES, en los autos caratulado: GERARDO MARCELO ROLON REYES C/ CLARA ROSALBA GIMENEZ MENDOZA S/ DISOLUCIÓN CONYUGAL cita y emplaza por el término de quince veces a la demandada Señora CLARA ROSALBA GIMENEZ MENDOZA, para que en el plazo de treinta días contados a partir de la publicación comparezca a estar en juicio por sí o por apoderado, bajo apercibimiento de que si así no lo hicieren se designará como representante de la misma a la Defensora de Pobres y Ausentes de turno de la Circunscripción Judicial de Paraguarí.- PARAGUARÍ, 22 de mayo de 2024. Se hace saber al destinatario que este Edicto cuenta con el Código QR, por el cual, para tener certeza de que este documento es válido, deberá utilizar el lector de Código QR,

siendo ya en consecuencia, innecesaria la firma manual de la Actuaria del Juzgado conforme Acordada 1335/2019 de la Corte Suprema de Justicia. -70456/11/06.-

EDICTOS. CALUMNIA, DIFAMACIÓN E INJURIA. LA JUEZA PENAL DEL JUZGADO UNIPERSONAL DE SENTENCIA Nº 27 DE LA CAPITAL, Abg. MESALINA FERNÁNDEZ FRANCO, cita y emplaza por tres veces al señor LUKE DAVID THORBURN, con CI N° 8.977.015, para que en el término de 30 días, contados desde la publicación del presente edicto, comparezca ante el Juzgado Unipersonal de Sentencia N° 27 de la Capital, sito en el 6º piso de la Torre Norte del Poder Judicial, ubicada en Alonso y Testanova de la ciudad de Asunción a los efectos de que intervenga en el juicio, designe un abogado defensor y constituya domicilio procesal y real en el marco del expediente caratulado como “LUKE DAVID THORBURN S/ CALUMNIA Y OTROS”. /5/2024. Abog. Mesalina Fernández FrancoJueza Penal. Abog. Mónica Duarte – Actuaria Judicial. -70512/31/05.-

VENTA DE CUOTAS SOCIALES Y MODIFICACIÓN DE ESTATUTOS. En la Cláusula Quinta de la firma BECAM DISTRIBUIDORA SOCIEDAD DE RESPONSABILIDAD LIMITADA que otorgan los señores Nicolás Matheus Martínez Fleitas y Lourdes Rocío Fleitas Figueredo a favor de los Señores Christian Javier Simonit y Liz Marlene Prieto Jiménez y Transformación de la firma BECAM DISTRIBUIDORA SOCIEDAD DE RESPONSABILIDAD LIMITADA A BECAM DISTRIBUIDORA SOCIEDAD ANONIMA, por Esc. Pública Nº 158, del 06/03/2024, formalizada por la Escr. Pública Olga Insaurralde. -70571/01/06.-

EDICTO. La Jueza de Paz de la ciudad de Santa Rosa del Monday, VI Circunscripción Judicial de Alto Paraná, Abg Sandra Rosin, en los autos caratulados: “ARDEMIO ANSCHAU JUSTEN S/ PRIVACIÓN DE EFICACIA JURÍDICA” Exp. 83. Folio 10. Año 2021, por Providencia de fecha 22 de mayo de 2024 ha determinado emplazar por el término de ley a los tenedores del título Cheque de Gerencia, Banco Continental 361489, a la orden de ARDEMIO ANSCHAU JUSTEN, Cédula de Identidad N° 1.516.402, nacionalidad brasileña, domiciliado en la ciudad de Santa Rosa del Monday, por el valor de dólares americanos tres mil novecientos cincuenta y cinco con 37/100 (U$S 3.955,37). Ante mí Abog. Oscar Ruiz Díaz (Actuario Judicial). Santa Rosa del Monday, 22 de mayo de 2024.-70582/03/06.-

EDICTO DE NULIDAD DE CONTRATO Y SUBSIDIARIAMENTE MODIFICACIÓ N EQUITATIVA DE CONTRATO DE COMPRAVENTA. DIARIO LA NACIÓN. La Juez de Primera Instancia de la Niñez y Adolescencia de la ciudad de Hernandarias, Abg. CINTHIA RAMONA GALEANO ESPÍNOLA, cita por el término de quince veces a los herederos del señor Carlos Sosa Silvero a que comparezcan a tomar intervención en los autos caratulados: “REGULACIÓN DE HONORARIOS PROFESIONALES DEL ABG. AUGUSTO GERNHOFFER NUÑEZ EN LOS AUTOS: CARLOS ANTONIO SOSA SILVERA C/ KALA HUALA S.A. S/ NULIDAD DE CONTRATO Y SUBSIDIARIAMENTE MODIFICACIÓN EQUITATIVA DE CONTRATODECOMPRAVENTA”. El juicio radica en la Secretaría a mi cargo, Actuario Abg. Rodrigo Manuel García de Zúñiga Centurión. Se hace saber al destinatario de este edicto que el mismo cuenta con el Código QR, por lo cual, para tener certeza de que este documento es válido, deberá utilizar el lector del Código QR, siendo ya en consecuencia, innecesaria la autenticación manual del Actuario del Juzgado conforme Acordada N° 1366/201.- HERNANDARIAS, 1 de diciembre de 2023. -70603/13/06.-

EMISIÓN DE ACCIONES.

Por Escritura Nº 38 Comercial “A” del 27/11/2023, autorizada por la escribana Norma C. López B., se emitió acciones en ABDA S.A., con RUC 80102955-4. Se inscribió en la Dirección General de los Registros Públicos, en la sección Personas Jurídicas y Comercio en la Matrícula Jurídica Nº 14048, Serie: Comercial, bajo el Nº 3 y al folio 23, el 17/4/2024.-70453/30/05.-

CIRCULAR DE MENSURA JUDICIAL. Comunico a quienes puedan tener interés y en especial a las partes linderas que el día 20 de Junio del año dos mil veinticuatro, a las 12:00hs. daré inicio a las operaciones técnicas de Mensura Judicial de una fracción de terreno, presumiblemente de origen fiscal individualizado como Lote N° 14-A-1 de la Manzana “F” de la colonia Itaipyte, Distrito de Itakyry. Propiedad del INDERT solicitado por el señor DANIELI MARTINA FETSCH, Exp. Adm. N° 6436/2024, R.P. N° 2867/2021 cuyos linderos son los siguientes: al Norte Linda con Calle, al Sur Linda con derechos del señor Oscar Adriano Farber; al Este Linda con derechos del

señor Nicolau Justino de Sousa y al Oeste linda con derechos del señor Alfredo Gonzalez. El expediente se tramita ante al juzgado de primera Instancia en lo Civil y Comercial del Segundo Turno y Laboral, de Presidente Franco a cargo de la Jueza Abogada Cynthia Rossanna Pineda Morel Secretaría N° 2 a cargo de la Actuaria Judicial Abogada Norma Bodenser. Expediente Judicial N° 122, del año 2024. Las mediciones arrancaran del esquinero Nor-este cuyas coordenadas UTM son N: 7215881, E: 698563. Ciudad del Este 28 de Mayo del año 2024. Cesar Livio Jiménez P. Agrimensor Nacional, Matricula C.S.J. N° 2776 Registro Profesional M.O.P.C. N° 405 Teléfono N° 0981-145.446.-70499/02/06.-

CIRCULAR DE MENSURA

JUDICIAL. Comunicó a quienes puedan tener interés y en especial a las partes linderas que el día 27 de Junio del año 2024, a los 10:00 hs. daré inicio a las operaciones técnicas de Mensura Judicial de una fracción de terreno, presumiblemente de origen fiscal, individualizado como lote N° 20 manzana N° XIX 2DA fracción de la colonia Juan L. Mallorquín distrito: JUAN L. MALLORQUÍN solicitado en compra al I.N.D.E.R.T. cuyos linderos son los siguientes: al NORTE linda con el lote N° 3 derechos del Sr. Leonor Medina; al SUR linda con calle, al ESTE linda con el lote N° 19 derechos del Sr. Atilio González y al OESTE linda con el lote N° 21 derechos del Sr. Vicente Nuñez. La Comisión de mensura fue conferida por El Juez de Paz de JUAN L. MALLORQUIN, Abogado Héctor Pastor Ibarra González y al suscripto. Juicio “Inst. Nac. de Desarrollo Rural y de la Tierra (INDERT) S/ MENSURA” Expediente judicial N° 27 Folio 33 vto., año 2024, las medición arrancaran del esquinero Sur-oeste, cuyas coordenadas son N: 7173849 E: 669533. Ciudad del Este 28 de Mayo del 2024. César Livio Jimenez P. Agrimensor Nacional, Registro Profesional M.O.P.C. N° 405 Teléfono N° 0981-145.446.-70498/02/06.-

MODIFICACIÓN DE ESTATUTO. Que fue realizada por Escritura Pública Nro. 1 de fecha 19/01/2024 pasada ante la Escribana Pública Esther Alicia Machuca Marecos, la Sociedad es denominada SANTA CLARA S.A., con domicilio en Katuete, Paraguay. De cuyo testimonio se tomó razón en la Dirección General de los Registros Públicos, Sección Personas Jurídicas y Asoc., bajo el Nro. 2 folio 15-29., Serie Comercial en fecha 22/02/2024 y en el Regis-

tro Público de Comercio en fecha 22/02/2024 bajo el N° 2, Serie Comercial, folio 15-29.70445/30/05.-

MODIFICACIÓN DE ESTATUTO. Por Esc. Pub. Nº 168 de fecha 18/04/2024, autorizada por el Notario Luis E. Peroni G. e inscripta en la Dirección Gral. De los Registros Públicos, el 06/05/2024. Reg. De Personas Jurídicas y de Comercio, Matricula N° 32.462, bajo el N° 02, folio 11, Serie “COMERCIAL”; se ha resuelto la modificación del Art. N° 5 de los Estatutos Sociales de la firma ALIMENTOS MORA CUE S.A. que se refiere al capital social fijado en la suma de Gs.6.000.000.000.70436 3/30/05.-

MODIFICACIÓN DE ESTATUTO SOCIAL DE LA FIRMA AERO STORE PY SRL. 80102883-3. Por Escritura Pública N°930 del 27 de octubre del 2023 autorizada por el Esc. Carlos Idelio C. González Guedes con registro N° 827, fue modificada la cláusula Quinta: CAPITAL del Estatuto Social, inscripta en la Dirección General de los Registros Públicos Sección Personas Jurídicas y Asociaciones, Matrícula Jurídica N° 14311 Serie Comercial, bajo el N° 02, Folio 12 y siguientes de fecha 23/01/2024 y reingreso 07/05/2024. -70477/30/05.-

MODIFICACIÓN DE ESTATUTOS SOCIALES DE “SARRIA S.A.” RUC: 801216419. Por Escritura Pública N° 5 del 12/04/2024, autorizada por la N.P. Odet Mestre Uncal, fueron modificados los Estatutos Sociales de la firma “SARRIA S.A.”. Mediante la misma, se modificó la denominación social (“LAMOR PARAGUAY S.A.”), el objeto social, el capital social, y demás disposiciones de los Estatutos Sociales. Inscripta en la DGRP, autorizada por la DGPEJBF, Sección Pers. Jurid. y Comercio, bajo el N° 2, folio 16-35, Serie “Comercial”, del 30/04/2024. Domicilio: Quesada esq. Tte. Zotti. Duración: 99 años. Objeto: actividades de protección del medio ambiente. Socio mayoritario: LAMOR PERÚ S.A.C. Presidente: Diego Fernando Echeverri.-70508/31/05.-

“MODIFICACIÓN DE ESTATUTO SOCIAL POR CAMBIO DE RAZÓN SOCIAL DE: ADARE INTERNATIONAL PARAGUAY S.A. a HH GLOBAL PARAGUAY S.A. Por Escritura Pública Nº 12 (DOCE) de fecha 05 de MARZO del año 2024, pasada ante la Escribano Público Fernando Manuel Cespedes Biggi, e inscripta conforme a la acordada CSJ N° 1539/21, DTR 4/21 en la Dirección General de los Registros Públicos Sección Personas Jurídicas y Comercio, Matricula Jurídica N°16469; con Mesa de Entrada Nº 13689891; Serie COMERCIAL; bajo el N° 2; Folio 15; en fecha 26 de marzo de 2024, y reingreso en fecha 10 de mayo de 2024 se procede a la modificación del Art. 1 del Estatuto Social el cual queda redactado de la siguiente manera: TITULO I- DEL NOMBRE, DOMICILIO Y DURACION DE LA SOCIEDAD ANONIMA ARTICULO 1: Bajo la denominación de “HH GLOBAL PARAGUAY SOCIEDAD ANÓNIMA”, se constituye una Sociedad Anónima que se regirá por estos Estatutos Sociales y por las disposiciones legales vigentes .-70492/31/05.-

MODIFICACIÓN DE ESTATUTO. Por Esc. Pub. Nº 2.332 de fecha 15/12/2023, autorizada por el Notario Luis E. Peroni G. e inscripta en la Dirección Gral. De los Registros Públicos, el 31/04/2024. Reg. De Personas Jurídicas y de Comercio, Matricula N° 22.269, bajo el N° 03, folio 29, Serie “COMERCIAL”; se ha resuelto la modificación de los Art. N° 5 y 15° de los Estatutos Sociales de la firma MOKARI S.R.L que se refiere al capital social fijado en la suma de Gs.7.832.640.000 y a la suscripción e integración de cuotas de capital.-70436/31/05.-

MODIFICACIÓN DE ESTATUTOS SOCIALES PARAFUEL PARAGUAY SOCIEDAD ANONINA(PARAFUEL PY S.A.) Modificación de Estatutos Sociales por cambio de la denominación social, por escritura pública N° 10 de fecha 05/03/2024, ante la EP Mercedes Livieres de Santiviago. Insc. en la DGRP, Sección PJyC, matri-

MODIFICACIÓN DE ESTATUTO Y TRANSFORMACIÓN DE SOCIEDAD. Por Esc. Nº 36 de fecha 03/04/2.024, pasado ante el Esc. Nicodemus Ortigoza Gómez, Reg. Nº 843, fue modificado el contrato social por aumento de capital social, cesión de cuota social y retiro de socia cuotista de la firma S.A. IMPORT S.R.L. con N° 80052308-3 y fue formalizada la transformación del tipo societario con la denominación de S.A. IMPORT S.A., con Capital de Gs. 4.050.000.000, Domicilio: Pedro Juan C., Objeto: Compra venta o comercialización en todas sus formas de equipos informáticos y aparatos electrónicos en general. Pte. del Directorio: Salem Mohamad Salem.- Síndico Titular: Fabiana Lorena Moragas Salinas. Inscripta en el Registro de Personas Jurídicas y Comercio, en la Matricula Jurídica N° 43.734, Serie Comercial, bajo N° 1, folio 1-22 de Fecha 06/05/2.024.70506/31/05.-

MAYO DE 2024 6 JUDICIAL .
JUEVES 30

cula jurídica N° 41.713, Serie Comercial, bajo el Nº 2, folio 11, en fecha 14/03/2024.70514/31/05.-

MODIFICACIÓN DE ESTATUTO SOCIAL “IMPORTADORA ALEMANA S.A.” Por Escritura Pública Nº 78 de fecha 30/04/2024, pasada ante José María Livieres Guggiari., inscripto en los Registros Públicos Sección Pers. Jurídicas y Comercio bajo Nº 03, Folio 22, Serie Comercial el 17/05/2024

IMPORTADORA ALEMANA S.A. RUC: 80028089-0.70493/31/05.-

MODIFICACIÓN DE ESTATUTO DE SOCIEDAD DE OPTIMUS PROYECTOS Y EJECUCIÓN DE INVERSIONES SOCIEDAD DE RESPONSABILIDAD LIMITADA (OPTIMUS S.R.L). Por Escr. Públ. Nº 76 de fecha 06/07/23, ante la N.P. Escribana Sandra Smith, se procedió a la Modificación de Contrato Social, por aumento de capital. Inscripto en la Dirección General de Registros Públicos, Sección Personas Jurídicas y Comercio. Bajo el Nº 4 folio 22 de fecha 22/04/2024.70547/31/05.-

MODIFICACIÓN DE ESTATUTO SOCIAL. Por Escritura N° 51 de fecha 12 de abril del 2024, autorizada por la N.P. Susana Raquel Ramírez Báez, de MODIFICACIÓN DE ESTATUTO SOCIAL DE LA FIRMA “K.K.M. M. SOCIEDAD ANÓNIMA” POR REDUCCIÓN DE CAPITAL INTEGRADO Y RESCATE DE DICHAS ACCIONES en todos los ArZculos, Inscripto en la Dirección General de los Registros Públicos, Registros de Personas Jurídicas y Comercio, Matricula Jurídica N° 6859, Serie Comercial, bajo el N° 3 folio N° 23, de fecha 23/04/2024.70549/01/06.-

MODIFICACIÓN DE ESTATUTOS POR AUMENTO DE CAPITAL. Por Esc. Púb. Nº 15 del 05/03/2024,ante la Escrib. Púb. Carmen Isabel Benitez de Ortiz, Reg. Nº 1068, la firma CENTRO COMERCIAL DEISY S.A., conf. a lo resuelto por Acta N° 12 del 16/10/2023. ARTÍCULO QUINTO. CAPITAL SOCIAL: Aumento de Capital a la suma de Gs. 18.400.000.000.Matríc. Juríd. Nº 17631,Serie Com. Entrada Nº 13686886,Inscrip. N° 3, folio N°20,el 25/03/2024.70569/01/06.-

MODIFICACIÓN DE ESTATUTO SOCIALES. Por Escritura Pública N° 26, del 28/10/2023, autorizada por la Esc. Elisa Gladys Frutos Cabral, se modificaron los estatutos sociales de la firma HEADPHARMA S.R.L., por aumento de capital y Modifica-

ción de Estatutos Sociales, quedando establecido el capital social emitido, suscripto e integrado en la suma de Gs. 960.000.000. Inscripto en la D.G.R.P., Personas Jurídicas y Comercio, con Matrícula Jurídica N° 20261, Serie Comercial, bajo el N° 2, folio 20, el 11/04/2024.70753/01/06.-

MODIFICACIÓN DE ESTATUTOS. Por Esc. Nº 04 DE FECHA 23/08/2.023, PASADO ANTE EL ESC. HUGO REINALDO FERREIRA ZARACHO, REG. Nº 1117, FUE AUMENTADO EL CAPITAL SOCIAL A LA SUMA DE GS. 518.000.000 Y MODIFICADO LA CLAUSULA CUARTA DE LOS ESTATUTOS SOCIALES DE LA FIRMA "AUTOVIDRIOS PEDRO JUAN" S.R.L., INSCRIPTA EN LA DGRP, SECCIÓN PERSONAS JURIDICAS Y COMERCIO EN LA MATRICULA JURIDICA Nº 34343, SERIE COMERCIAL, BAJO N° 2, FOLIO 9. FECHA 11/04/2024.70576/01/06.-

MODIFICACIÓN DE ESTATUTOS. Por Escritura pública Nº 21 de fecha 15/04/2024, pasada ante la N.P. Wilma Villalba Peralta, fue formalizada la Cesión de Cuotas Sociales de la firma “OMEVA” S.R.L. realizada por el Sr. Roberto Carlos Melgarejo Palacios a favor del Sr. Fernando José Cubilla Moro, inscripta en la Sección de Personas Jurídicas y Comercio, Matricula Jurídica Nº 42.470, Serie Comercial, bajo el Nº 2 al folio 15 y sgts. del 20/05/2024.70602/01/06.-

MODIFICACIÓN DE ESTATUTOS SOCIALES. Por Esc. Pub. N° 89 de fecha 01/03/2022, autorizada por la N.P. Rogelia Vicenta Zarza Lima han sido modificado los Estatutos Sociales por venta de Cuota del Capital Social de la firma BECAM DISTRIBUIDORA S.R.L. Insc. en el Registro de Personas Jurídicas y Comercio, con Matricula Jurídica Nº 33.186, Serie Comercial, bajo el N° 2, Folio 12, en fecha 19/05/2022.-70607/01/06.-

MODIFICACIÓN DE ESTATUTO SOCIAL. Por Esc. Púb. Nº 69, de fecha 06/09/2023, autorizada por la Esc. Púb. Barsiliza Núñez de Romeiro, fue modificado el Contrato Social por Aumento de Capital Social de la firma SUPRIMAQ S.R.L., con Céd. Tributaria N° 80049803-8. Inscrita en la D.G.R.P., Sección Personas Jurídicas y Asociac., Mat. Jurídica Nº 32.304, Serie Comercial, bajo el Nº 2, folio 9-25, en fecha 30/01/2024; y, Rectificado por Esc. Púb. Nº 22, de fecha 02/04/2024, insc. en la DGRP., Sección Personas Jurídicas y Asoc., Mat. Jurídica Nº 32.304,

Serie Comercial, bajo el Nº 2, folio 9-25, en fecha 07/05/202.70610/01/06 .-

MODIFICACIÓN ESTATU-

TOS. Por Escritura Pública N° 564, del 30/09/2020, pasada ante la Escribana Pública Gladys de Jesús Ortiz G., se ha modificado el Estatuto social de la firma COMERCIAL NANCY S.R.L., donde fueron modificadas el capital social, aumentando a la suma de 3.200.000.000 Gs. Inscripta en el Registro de Personas Jurídica y Asociaciones en la Matricula Jurídica N° 6112, Serie Comercial bajo el N° 03 folio 26. y en Registro Público de Comercio en la Matricula Comercial N°6112, Serie Comercial, bajo el N°3, folio 27. , el 13 de enero de 2021. -70611/01/06.-

SAN BENITO INDUSTRIAL Y COMERCIAL REPRESENTACIONES S.A. RUC: 80057829-5 MODIFICACIÓN DEL ESTATUTO POR AUMENTO DE CAPITAL. Por Escritura Pública N° 56 de fecha 19/05/2023 ante el escribano VICENTE GADEA (H), con Registro N° 15, fueron modificados los Estatutos Sociales de la firma

SAN BENITO INDUSTRIAL Y COMERCIAL REPRESENTACIONES S.A., en el Art. 4°, para Aumento del capital. La referida escritura se encuentra inscripta en la Dirección General de los Registros Públicos Sección Personas Jurídicas y Comercio con Matrícula Jurídica N° 7032, Serie Comercial, bajo el N° 3, Folio 24 en fecha 08/02/2024.70591/01/06.-

M Y F IND. Y COM. REPRESENTACIONES S.A. RUC: 80024252-1 MODIFICACIÓN DEL ESTATUTO POR AUMENTO DE CAPITAL. Por Escritura Pública N° 40 de fecha 19/05/2023 ante el escribano VICENTE GADEA (H), con Registro N° 15, fueron modificados los Estatutos Sociales de la firma M Y F IND. Y COM. REPRESENTACIONES S.A., en el Art. 4°, para Aumento del capital. La referida escritura se encuentra inscripta en la Dirección General de los Registros Públicos Sección Personas Jurídicas y Comercio con Matrícula Jurídica N° 10969, Serie Comercial, bajo el N° 3, Folio 17 en fecha 08/02/2024.70593/01/06.-

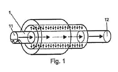
PATENTE DE INVENCIÓN. (19) DIRECCIÓN NACIONAL DE PROPIEDAD INTELECTUAL

GOBIERNO DEL PARAGUAY / PARAGUÁI REKUÁI (11) Nro. Publicación: PY2023-2324625A (43) Asunción, 23 de Octubre de 2023.- Orden de Publicación de SOLICITUD de Patente de Invención (12) DATOS DE LA SOLICITUD (21) Nº de Solicitud: 2023-2324625 (22) Fecha de Solicitud: 03/04/2023 10:45:03 (71) Solicitante: RVMAGNETICS, A.S. Domicilio Solicitante: Nemcovej 30, 042 18 Košice, Eslovaquia (72) Inventor: RASTISLAV VARGA Domicilio Inventor: Hodkovce 21, 04421 Hodkovce, Eslovaquia (54) Título: SISTEMA DE MEDICIÓN DE MAGNITUDES FÍSICAS Y/O PARA MEDICIÓN DE POSICIÓN CON UN HILO MAGNÉTICO BIESTABLE, MÉTODO DE MEDICIÓN (74) Agente: Carmelo Alberto Modica Dichirico — 1225 (30) Prioridad/es: 22166892.4 - 06/04/2022 – EP (51) Int. CI 8: G 01D 5/14 (2006.01), G 01P 3/481(2006.01) En cumplimiento al Artículo 1 de la Ley Nº 2593/05 que modifica el Artículo 23 de publicaciones de la Ley Nº 1630/00 de Patentes de Invención, se dispone que a partir de la fecha de la presente orden de publicación, esta solicitud de patente se hace pública y se ordena su publicación por el término de la Ley. (57) Resumen: (85/23). El sistema de medición de magnitudes físicas y/o de posición con un hilo magnético biestable (1), que comprende un elemento de excitación (2) para la creación de campo magnético y un elemento sensor (3). Dentro del rango del campo magnético del elemento de excitación (2), se coloca un hilo magnético biestable (1), el cual tiene un primer extremo (11) y un segundo extremo opuesto (12). El hilo magnético biestable (1) se ajusta para la magnetización mediante un solo salto de Barkhausen desde el primer extremo (11) al segundo extremo (12) o viceversa, donde se colocan el elemento de excitación (2) y el hilo magnético biestable (1) en una posición mutua con un campo magnético asimétrico con respecto al hilo magnético biestable (1), donde el tamaño del campo magnético excitado por el elemento de excitación (2) en el primer extremo (11) es diferente del tamaño del campo magnético campo excitado por el elemento de excitación (2) en el segundo extremo (12). La asimetría del campo magnético se crea debido a la posición asimétrica mutua del elemento de excitación (2) y el hilo magnético biestable (1) y/o debido a la construcción asimétrica del elemento de excitación (2). Farm. Berta Segovia, Directora Interina - Dirección de Patentes .-70463/01/06.-

PATENTE DE INVENCIÓN. (19) DIRECCIÓN NACIONAL DE PROPIEDAD INTELECTUAL PARAGUAY (11) Nro. Publicación: PY2023-2369992A (43) Asunción, 9 de Abril de 2024. Orden de Publicación de SOLICITUD de Patente de Invención (12) DATOS DE LA SOLICITUD. (21) Nº de Solicitud: 20232369992 (22) Fecha de Solicitud: 31/08/2023 12:43:36 (71) Solicitante: Tecnomyl Brasil Distribuidora De Productos Agricolas Ltda. Domicilio Rua Santos Dumont, Nº 1307 - 1º Andar, Sala 4-A - Foz Do Iguacú, Brazil Solicitante: (72) Inventor: Jose Martin Avila Torres Sally Daniela Silvero Diaz. Domicilio Inventor: Conrado Rios Gallardo 2249 E/ Emilio Hassler y Francisco Cusmanich - Lambaré, Paraguay y Juan De Garay 1550 E/ Cap. Aranda y Mayor Orihuela - Sajonia - Asunción, Paraguay. (54) Título: FORMULACIÓN HERBICIDA, PROCESO DE PRODUCCIÓN PARA DICHA FORMULACIÓN Y SUS

USOS. (74) Agente: Sandra Bethania Otazu Vera — 1228 (30) Prioridad/ es: 1020220219800 - 2022/10/28 – BR. (51) Int. Cl 8: Int.C1.2017.01: A 0IN 25/02(2006.01) En cumplimiento al Artículo I de la Ley Nº 2593/05 que modifica el Artículo 23 De publicaciones de la Ley Nº 1630/00 de Patentes de Invención, se dispone que a partir de la fecha de la presente orden de publicación, esta solicitud de patente se hace pública y se ordena su publicación por el término de la Ley. (57) Resumen: (225/23). La presente invención se refiere a una formulación herbicida binaria, así como a un proceso para producir dicha formulación. La formulación herbicida se aplica especialmente a plantas indeseables (malas hierbas) en zonas de presiembra de cultivos seleccionados del grupo que comprende la soja, la caña de azúcar o los maníes. La formulación tiene la misma o mejor estabilidad y eficacia que las formulaciones herbicidas, lo que la convierte en un producto alternativo para los agricultores. El proceso de producción, a su vez, es un diferenciador adicional a la vista de peculiaridades tales como el orden en que se añaden los componentes, la naturaleza de los pasos, el orden en que se llevan a cabo, así como las variables del proceso implicadas.

Estos detalles del proceso favorecen efectivamente la obtención de la formulación herbicida, sin la cual ésta sería invariable. Farm. Berta Segovia, Directora Interina – Dirección de Patentes.-70519/03/06.-

PATENTE DE INVENCIÓN. (19) DIRECCION NACIONAL DE PROPIEDAD INTELECTUAL PARAGUAY (11) Nro. Publicación: PY2023-2371606A (43) Asunción, 9 de Abril de 2024. Orden de Publicación de SOLICITUD de Patente de Invención (12) DATOS DE LA SOLICITUD. (21) Nº de Solicitud: 2023-2371606 (22) Fecha de Solicitud: 06/09/2023 12:17:20. (71) Solicitante: Tecnomyl Brasil Distribuidora de Productos Agricolas Ltda. Domicilio Solicitante: Rua Santos Dumont, Nº 1307 - 1ª Andar, Sala 4-A - Foz do Iguacú, Brasil. (72) Inventor: Jose Martin Avila Torres Sally Daniela Silvero Diaz. Domicilio Inventor: Conrado Rios Gallardo 2249 e/ Emilio Hassler y Francisco Cusmanich - Lambaré, Paraguay y Juan de Garay 1550 e/ Cap. Aranda y Mayor Orihuela - Sajonia - Asunción, Paraguay (54) Título: FORMULACIÓN INSECTICIDA, PROCESO DE PRODUCCIÓN DE DICHA FORMULACIÓN Y SUS USOS (74) Agente: Sandra Bethania Otazu Vera — 1228 (30) Prioridad/ es: BR1020220184003 -14/09/2022 y BR - 1020230153283 -31/07/2023 (51) Int. CI 8: Int.C1.2017.01: A 01N 25/02(2006.01) En cumplimiento al Artículo de la Ley Nº 2593/05 que modifica el Artículo 23 De publicaciones de la Ley Nº 1630/00 de Patentes de Invención, se dispone que, a partir de la fecha de la presente orden de publicación, esta solicitud de patente se hace pública y se ordena su publicación por el término de la Ley. (57) Resumen: (227/23) Se refiere la presente invención a una formulación insecticida binaria que comprende un ingrediente activo A combinado con un ingrediente activo B y al menos un adyuvante. Además, la presente invención se refiere a un proceso producción de dicha formulación, dicho proceso comprende pasos específicamente adaptados a las propiedades de cada uno de los componentes de dicha formulación y dicho proceso comprende pasos clave y esenciales para la obtención efectiva del producto. La formu-

7
MAYO DE
JUEVES 30
2024

lación insecticida presenta alta eficiencia insecticida, baja toxicidad, alta estabilidad fisicoquímica y amplio espectro de aplicación. Farm Berta Segovia – Directora Interina, Dirección de Patente. -70519/03/06.-

PATENTE DE INVENCIÓN. (19) DIRECCION NACIONAL DE PROPIEDAD INTELECTUAL PARAGUAY (11) Nro. Publicación: PY2023-23102526A (43) Asunción, 23 de abril de 2024.- Orden de Publicación de SOLICITUD de Patente de Invención (12) DATOS DE LA SOLICITUD (21) Nº de Solicitud: 2023-23102526 (22) Fecha de Solicitud: 14/12/2023 11:13:09 (71) Solicitante: Tecnomyl Brasil Distribuidora De Produtos Agrícolas Ltda. Domicilio Solicitante: Santos Dumont, Nº 1307 - 1º Piso, Habitación 4-A, Foz Do Iguacú, Paraná, Brasil (72) Inventor: José Martín Ávila Torres, Sally Daniela Silvero Díaz, Vivian María Silvero Velázquez Domicilio Inventor: Conrado Rios Gallardo 2249 E/ Emilio Hassler y Francisco Cusmanich - Lambaré, Paraguay; Teniente Delicio Insfrán Nº 1436 Esq. Curupayty, Lambaré, Paraguay y Juan Garay 1150 E/ Cap. Aranda y Mayor Orihuela, Asunción, Paraguay (54) Título: “FORMULACIÓN ACUOSA DE FUNGICIDA EN SUSPENSIÓN CONCENTRADA, PROCESO DE PRODUCCIÓN DE DICHA FORMULACIÓN Y SUS USOS” (74) Agente: Sandra Bethania Otazu Vera - 1228 (30) Prioridad/ es: BR 10 2022 026950-5 -29/12/2022 y BR 10 2023 022108-4 – 24/10/2023 (51) Int. CI 8: Int.CI.2017.01: A 01N 25/30 (2006.01), A 01N 47/14(2006.01), A 01P 1/00. En cumplimiento al Artículo 1 de la Ley Nº 2593/05 que modifica el Artículo 23 De publicaciones de la Ley Nº 1630/00 de Patentes de Invención, se dispone que, a partir de la fecha de la presente orden de publicación, esta solicitud de patente se hace pública y se ordena su publicación por el término de la Ley. (57) Resumen: (327/23). La presente invención se refiere a una formulación acuosa de un fungicida de ditiocarbamato en suspensión concentrada (SC), así como a un proceso de producción de dicha formulación. La formulación se aplica especialmente a dianas biológicas presentes en cultivos como el arroz, la banana, la

patata, los cítricos; el frijol, la manzana, el maíz, la rosa, la soja, el tomate, el trigo o la uva. La formulación presenta una estabilidad y eficacia fisicoquímica igual o mejor que las formulaciones fungicidas SC existentes, siendo un producto alternativo para los agricultores. En este contexto, dicha formulación está libre de una pluralidad de adyuvantes, especialmente aquellos definidos como no esenciales en el contexto de la presente invención, y los adyuvantes utilizados están presentes en baja concentración. Además, dicha formulación también está libre de adyuvantes tóxicos para la biota, los seres humanos y el medio ambiente. El proceso de producción, a su vez, es un diferencial adicional en vista de las peculiaridades como el orden de adición de los componentes, la naturaleza de los pasos, el orden en que se realizan, así como las variables de proceso involucradas. Farm. Berta Segovia – Directora Interina – Dirección de Patentes.-70519/03/06.-

PATENTE DE INVENCIÓN. (19) DIRECCION NACIONAL DE PROPIEDAD INTELECTUAL PARAGUAY PARAGUÁI TETÃYGUA AKÃPYROKY MBARETE MOAKÃHA (11) Nro. Publicación: PY 2023-2364224A (43) Asunción, 10 de Abril de 2024. Orden de Publicación de SOLICITUD de Patente de Invención (12) DATOS DE LA SOLICITUD (21) Nº de Solicitud: 20232364224 (22) Fecha de Solicitud: 11/08/2023 10:21:00 (71) Solicitante: ALBERTO EDUARDO

RODRIGUEZ Domicilio Solicitante: Ruta 11 Km 153, Punta Indio, Buenos Aires, Argentina (72) Inventor: Alberto Eduardo Rodriguez Domicilio Inventor: Ruta 11 Km 153, Punta Indio, Buenos Aires, Argentina (54) Titular: HIDRO GENERADOR VEHICULAR (H.G.V.) (74) Agente: Bruno Eduardo Jaén Bohorques Caballero - 1567 (30) Prioridad/ es: – (51) Int. CI 8: Int.CI.2017.01: H 02J 1/00 En cumplimiento al Artículo 1 de la Ley Nº 2593/05 que modifica el Artículo 23 De publicaciones de la Ley Nº 1630/00 de Patentes de Invención, se dispone que a partir de la fecha de la presente orden de publicación, esta solicitud de patente se hace pública y se ordena su publicación por el término de la Ley. (57) Resumen: (214/23). Sistema de recarga de batería para vehículos eléctricos que funciona tomando la energía hidráulica que generan los amor-

tiguadores transformándola por medio de un motor hidráulico y un generador en un potente cargador de batería. Se trata de amortiguadores de doble efecto (A), con dos válvulas (E) en la parte superior incorporadas en el cuerpo del cilindro y otras dos válvulas en la parte inferior también incorporadas en el cuerpo del cilindro, dos válvulas una de arriba y otra de debajo de admisión y otra de escape. Farm. Berta Segovia – Directora Interina –Dirección de Patentes.-70530/02/06.-

PATENTE DE INVENCIÓN. DIRECCIÓN NACIONAL DE PROPIEDAD INTELECTUAL GOBIERNO DEL PARAGUAY PARAGUÁI REKUÁI (11) Nro. Publicación: PY 2023-2330480A (43) Asunción, 25 de enero de 2024.- Orden de Publicación de SOLICITUD de Patente de Invención (12) DATOS DE LA SOLICITUD (21) Nº de Solicitud: 20232330480 (22) Fecha de Solicitud: 25/04/2023 12:22:32 (71) Solicitante: PRO FARM GROUP INC. Domicilio Solicitante: 1540 Drew Avenue, Davis, California, 95618, U.S.A. (72) Inventor: 1. Matthew Louis Robinson 2. Louis Gregory Boddy. Domicilio Inventor: 1. West Sacramento, CA, U.S.A. 2. West Sacramento, CA, U.S.A. (54) Título: MÉTODO Y COMPOSICIÓN DE MEZCLAS HERBICIDAS SINÉRGICAS. (74) Agente: Lorena Mersan Meza - 3714 (30) Prioridad/es: 63/336,027 - 28/04/2022 – US (51) Int. CI 8: A 01N 43/20 (2006.01), A 01N 59/16 (2006.01), A 01P 13/00 (2006.01) En cumplimiento al Artículo 1 de la Ley Nº 2593/05 que modifica el Artículo 23 De publicaciones de la Ley Nº 1630/00 de Patentes de Invención, se dispone que a partir de la fecha de la presente orden de publicación, esta solicitud de patente se hace pública y se ordena su publicación por el término de la Ley. (57) Resumen: (108/23). La presente invención proporciona un método de uso y una composición herbicida sinérgica comprendiendo: (a) el compuesto spliceostatina C; (b) una cantidad eficaz de uno o más nutrientes vegetales; y (c) al menos uno de un portador, diluyente, surfactante, adyuvante, en el que la composición inhibe el crecimiento de dicha mala hierba.-64606/02/05.-

acreedores de la sucesión de ELIODORO ORTEGA PRADO O ELIODORO ORTEGA Y BENITA PAREDES DE ORTEGA. Juan León Mallorquín, 20 de mayo de 2024. Abg. Roberto Escobar (Actuario Judicial). -70127/30/05.-

SUCESIÓN. El Juez de Paz en lo Civil y Comercial, Abog. Héctor P. Ibarra, de conformidad a la Ley 6059/2018, cita y emplaza por sesenta días a herederos y acreedores de la sucesión de BERNARDO ESPINOLA, ESPINOLA COLMAN 0 BERNARDO ESPINOLA. Juan León Mallorquín, 20 de mayo de 2024. Abog. Roberto Trinidad Escobar (Actuario Judicial). -70141/30/04.-

SUCESIÓN. La Juez de Primera Instancia en lo Civil y Comercial del Décimo Turno de la capital, Abg. Rocío González Morel, Sría. 19, cita y emplaza por sesenta días a herederos y acreedores de la sucesión de SILVIA LORENA ESCOBAR

SEQUERA. Asunción, 20 de mayo de 2024. Rebeca Espínola Rezano, Actuaria Judicial. -70163/30/05.-

SUCESIÓN. El Juez de Primera Instancia en lo Civil y Comercial del Quinto Turno de esta capital, Alfredo Barrios Jara, cita y emplaza por sesenta días a herederos y acreedores dela sucesión de CORINA LOURDES GARBETT GARAY. El expediente sucesorio se tramita ante la Secretaría N° 09 a cargo del Actuario Judicial Heriberto Lezcano M. Asunción, 17 de mayo de 2024. Se hace saber al destinatario de este edicto que el mismo cuenta con el Código QR, por lo cual, para tener certeza de que este documento es válido, deberá utilizar el lector del Código QR, siendo ya en consecuencia, innecesaria la autenticación conforme Acordada 1366/2019 y 1370/2020 de la CSJ.70162/30/05.-

SUCESIÓN. EL JUEZ DE PRIMERA INSTANCIA EN LO CIVIL Y COMERCIAL DEL PRIMER TURNO E INTERINO DEL TERCER TURNO DE LA CIRCUNSCRIPCIÓN JUDICIAL DE AMAMBAY, Dr. MARCELINO GONZALEZ GARCETE, cita y emplaza por sesenta días a los herederos y acreedores de la sucesión de “MIGUEL ANGEL GONZALEZ ACUÑA”, que radica en la secretaria Nº 05 a cargo del Actuario Judicial Abg. PEDRO B. BENÍTEZ NOGUERA.- PEDRO JUAN CABALLERO, 19 de febrero de 2024.-70156/30/05.-

SUCESIÓN. EL JUEZ DE PRIMERA INSTANCIA EN LO CIVIL Y COMERCIAL DEL PRIMER TURNO E INTERINO DEL JUZGADO DE IGUAL CLASE DEL TERCER TURNO DE LA CIRCUNSCRIPCIÓN JUDICIAL DE AMAMBAY, DR. JUAN MARCELINO GONZÁLEZ GARCCETE, cita y emplaza por sesenta días a los herederos y acreedores de la sucesión de “JUSTINIANO MARTÍNEZ Y LEONARDA DIAZ DE MARTÍNEZ”, que radica en la secretaría Nº 05 a cargo del Actuario Judicial Abg. PEDRO B. BENÍTEZ NOGUERA.-PEDRO JUAN CABALLERO, 25 de abril de 2024.-70154/30/05.-

SUCESIÓN. EL JUEZ DE PRIMERA INSTANCIA EN LO CIVIL y COMERCIAL DEL PRIMER TURNO DE LA CIRCUNSCRIPCIÓN JUDICIAL DE AMAMBAY, DR. JUAN MARCELINO GONZÁLEZ, cita y emplaza por el término de 60 (sesenta) días, contados desde la publicación del presente edicto, a los que tengan interés en reclamar derechos en la sucesión de SILVERIA CENTURIÓN DELGADO, de conformidad con lo dispuesto en el Art. 741 del Código Procesal Civil. El juicio radica en la Secretaría a cargo de la Actuaria Judicial Abg. CAROLINA FRANCO VAZQUEZ. Pedro Juan Caballero, 2 de abril de 2024.-70153/30/05.-

innecesaria la autenticación manual de la Actuaria del Juzgado conforme Acordada 1366/2019.-70140/30/05.-

SUCESIÓN. El Juez de Primera Instancia en lo Civil y Comercial de Yuty, Dr. Miguel Ángel Riquelme Irala, cita y emplaza por sesenta días a herederos y acreedores de la sucesión de PORFIRIO DANIEL GOMEZ AQUINO. Yuty, 10 de mayo de 2024. Abg. Carolina González - Actuaria Judicial – Circunscripción Judicial Caazapá.-70138/30/05.-

SUCESIÓN. La Jueza de Paz en lo Civil de la localidad de Cnel. Martínez, de la Circunscripción Judicial de Guairá, Dra. Mara E. Fariña, cita y emplaza por sesenta días a herederos y acreedores de la sucesión de RAMONA LOPEZ DE ALFONSO S/ SUCESIÓN. Cnel. Martínez, 9 de mayo de 2024. Francisco Ramírez Giménez - Actuario Judicial.-70135/30/05.-

SUCESIÓN. El Juez de Primera Instancia en lo Civil y Comercial de Yuty, Dr. Miguel Ángel Riquelme Irala, cita y emplaza por sesenta días a herederos y acreedores de la sucesión de ELADIO CANDIA BENITEZ Y MIGDONIA ARMOA DE CANDIA. Yuty, 26 de abril de 2024. Abg. Orlando MirandaActuario Judicial – Circunscripción Judicial Caazapá. -70130/30/05.-

SUCESIÓN. El Juez de Paz en lo Civil y Comercial, Abog. Héctor P. Ibarra, de conformidad a la Ley-6059/2018, cita y emplaza por sesenta días a herederos y

SUCESIÓN. La Jueza de Paz Multifuero de la ciudad de Dr. Juan Manuel Frutos, Abog. Ana Elizabeth Barreto González, cita y emplaza por sesenta (60) días a herederos y acreedores de la sucesión de PABLINO CARDOZO BARRIOS Y BERNARDINA PEREZ DE CARDOZO S/ SUCESIÓN AB-INTESTATO, a efectos de la presentación de los mismos para los fines legales. El expediente se encuentra en la Secretaría del Juzgado de Paz de la ciudad de Dr. Juan Manuel Frutos. Dr. Juan Manuel Frutos, 13 de mayo de 2024. Ante mí: Juan José Silvero González – Secretario. Ana Elizabeth Barreto González –Jueza de Paz Juan Manuel Frutos. -70157/30/05.-

SUCESIÓN. El Juez de Primera Instancia en lo Civil, Comercial y Laboral del Tercer Turno de la ciudad de Caaguazú, Abg. FRANCISCO LUIS ASTIGARRAGA FELTES, cita y emplaza por sesenta días a herederos y acreedores de la sucesión de PETRONA LEIVA VDA. DE DAVALOS. El juicio radica en la secretaría N° 5 a mi cargo. CAAGUAZU, 6 de mayo de 2024. Abg. FIDENCIA MARTINEZ RIVEROS, Actuaria Judicial. Se hace saber al destinatario de este edicto que el mismo cuenta con el Código QR, por lo cual, para tener certeza de que este documento es válido, deberá utilizar el lector del Código QR, siendo ya en consecuencia,

SUCESIÓN. LA JUEZ DE PRIMERA INSTANCIA EN LO CIVIL, COMERCIAL Y LABORAL DE LA TERCERA CIRCUNSCRIPCIÓN JUDICIAL DE LA REPÚBLICA, SEDE MARÍA AUXILIADORA, Abg. R. EVELIN CABRERA PAREDES, cita y emplaza por sesenta días a herederos y acreedores de la sucesión de MARCOS ORTIZ PIRIS. El juicio radica en la secretaría N° 02 a mi cargo Abg. MIRIAN ORTIZ YURTZ, Actuaria Judicial. MARÍA AUXILIADORA, 17 de mayo de 2024. Se hace saber al destinatario de este edicto que el mismo cuenta con el Código QR, por 1o cual, para tener certeza de que este documento es válido, deberá utilizar el lector del Código QR, siendo ya en consecuencia, innecesaria la autenticación manual de la Actuaria del Juzgado conforme Acordada 1366/2019.-70128/30/05.-

SUCESIÓN. EL JUEZ DE PRIMERA INSTANCIA DE CIVIL Y COMERCIAL DEL VIGÉSIMO SEGUNDO TURNO, Dr. MARTIN DIEGO ACOSTA CONDE, cita y emplaza por sesenta días a herederos y acreedores de la sucesión del Sra. ECOLASTICA RAMONA MEZA.

JUEVES 30 MAYO DE 2024 8 JUDICIAL .

Asunción, 7 de mayo de 2024.0 Abg. Marcos Antonio Ocampos, Actuario Judicial Interino. El Expediente radica en la Secretaria N° 44 del Juzgado. -70116/30/05.-

SUCESIÓN. La Jueza de Paz en lo Civil y Comercial del Primer Turno, Dra. Liz N. Lobo, cita y emplaza por sesenta días a herederos y acreedores de la sucesión de JUANA BAUTISTA YEGROS. Cnel. Oviedo, 8 de mayo de 2024. Abog. Antonio C. Ruiz Díaz G., Actuario Judicial. -70123/30/05.-

SUCESIÓN. LA JUEZA DE PAZ EN LO CIVIL, COMERCIAL, LABORAL Y DE LA NIÑEZ Y LA ADOLESCENCIA DEL DISTRITO DE NUEVA GERMANIA, ABG. GRACIELA STERN PERALTA, cita y emplaza por el término de 60 días a herederos y acreedores de la Sucesión de “REINALDO CARDENAS CANDIA”. El juicio radica en la Secretaría a mi cargo. Nueva Germania, 27 de setiembre del año 2023. Marcia Concepción Arce de PereiraSecretaria. -70168/30/05.-

SUCESIÓN. La Jueza del Juzgado de Primera Instancia en lo Civil, Comercial, Laboral de Curuguaty, Abg. SONIA MARIELA MEDINA PAREDES, cita y emplaza por el término de ley a quienes tuvieren interés en los autos caratulados “EVANGELISTA GARCIA SEGOVIA S/ SUCESIÓN INTESTADA” que por providencia de fecha 23 de abril de 2024, en su parte pertinente que copiado textualmente resuelve: “...ordénase la publicación de los edictos en el Diario La Nación de la Capital, por 10 días, conforme al Art. 741 del C.P.C., citando a todos los interesados para que dentro del plazo de ley, contados desde la primera publicación, se presenten a reclamar derechos..”. El juicio radica en la Secretaría Nº 2 a mi cargo. CURUGUATY, 9 de mayo de 2024. Abg. SCHIRLEY PAOLA IRALA LEITE, Actuaria Judicial. -70207/31/05.-

SUCESIÓN. El Juez de Paz de San Roque González, Dr. Abg. ANGEL R. CLERCH, cita y emplaza por sesenta días a herederos y acreedores de la sucesión de: LOURDES MARIA PERALTA LEGUIZAMON. San Roque Gonzalez, 20 de mayo de 2024. Actuario Judicial - REINALDO MARTINEZ .-70200/31/05.-

SUCESIÓN. La Juez de Paz del Distrito de Tembiaporã e Interina del Juzgado de Paz del Distrito de Repatriación, Circunscripción Judicial de Caaguazú, Abg. Nélida Pico Esquivel, cita y emplaza por 60 días a herederos y acreedores de la sucesion: “ELOY SOTO Y/O ELOI SOTO Y LIBRADA

PRIETO BRITEZ Y/O LIBRADA PRIETO S/ SUCESIÓN AB-INTESTATO, LEY N° 6059/18 - AÑO 2024 - N° 62 - FOLIO N° 10 VLTOS.”. Repatriación, 8 de mayo de 2024. Abg. Jorge Ramón Velázquez Díaz, Actuario Judicial. -70192/31/05.-

SUCESIÓN. LA JUEZ DE PRIMERA INSTANCIA EN LO CIVIL, COMERCIAL Y LABORAL DEL PRIMER TURNO SEC. 1 SEDE DE LA CIUDAD DE JUAN LEÓN MALLORQUÍN DE LA VI CIRCUNSCRIPCIÓN JUDICIAL DEL ALTO PARANÁ, Abg. GLORIA LIZ GONZALEZ VALDEZ, cita y emplaza por sesenta días a los herederos y acreedores de la SUCESION de “AGUSTIN GOMEZ GARAY”. El juicio de referencia radica en la secretaria N° 1, a cargo del Actuario Judicial Abg. ADOLFO PATIÑO. Se hace saber al destinatario del presente edicto, que el mismo cuenta con el Código QR, por lo cual, para tener certeza que este documento es válido, deberá utilizar el lector del Código QR, siendo ya en consecuencia, innecesaria la autenticación manual del Actuario del Juzgado, conforme a las Acordadas 1366/2019 y 1370/2020, de la Corte Suprema de Justicia. –DOCTOR JUAN LEON MALLORQUÍN, 21 de mayo de 2024.-70227/31/05.-

SUCESIÓN. LA JUEZA DE PRIMERA INSTANCIA EN LO CIVIL Y COMERCIAL Y LABORAL DE LA TERCERA CIRCUNSCRIPCIÓN JUDICIAL DE LA REPÚBLICA, CON SEDE EN MARIA AUXILIADORA Abg. R. EVELIN CABRERA PAREDES, cita y emplaza por sesenta días a herederos y acreedores de la sucesión de la Sra. ELVIA OJEDA DE GONZALEZ. El juicio radica en la secretaría N° 2 a mi cargo Abg. MIRIAN ORTIZ YURTZ, Actuaria Judicial. MARIA AUXILIADORA, 21 de Mayo de 2024.- Se hace saber al destinatario de este edicto que el mismo cuenta con el Código QR, por lo cual, para tener certeza de que este documento es válido, deberá utilizar el lector del Código QR, siendo ya en consecuencia, innecesaria la autenticación manual de la Actuaria del Juzgado conforme Acordada 1366/2019.70258/31/05.-

SUCESIÓN. El Juez de Primera Instancia en lo Civil y Comercial del Quinto Turno de esta Capital, Alfredo Barrios Jara, cita y emplaza por sesenta días a herederos y acreedores de la sucesión de MARIA DEL CARMEN AGUILAR VDA. DE ALVARENGA. El expediente sucesorio se tramita ante la Secretaria Nº 9 a cargo del Heriberto Lezcano M. - Actuario Judicial. ASUNCIÓN, 21 de mayo de 2024. Se hace saber al destina-

tario de este oficio que el mismo cuenta con el Código QR, por lo cual, para tener certeza de que este documento es válido, deberá utilizar el lector del Código QR, siendo ya en consecuencia, innecesaria la autenticación manual del Actuario del Juzgado conforme Acordada 1366/2019 y 1370/2020 de la Corte Suprema de Justicia. -70248/31/05.-

SUCESIÓN. El Juez de Paz en lo Civil y Comercial del distrito de Juan León Mallorquín, Abog. Héctor P. Ibarra, de conformidad a la Ley 6059/2018, cita y emplaza por sesenta días a herederos y acreedores de la sucesión de PORFIRIO INSAURRALDE. Juan León Mallorquín, 22 de mayo de 2024. Abog. Roberto Trinidad Escobar (Actuario Judicial). -70281/01/06.-

SUCESIÓN. EL JUEZ DE PAZ DE LA CIUDAD DE VALENZUELA, ABOGADO HUGO DAVID DAIUB FATECHA, cita y emplaza por diez días a herederos y acreedores de la sucesión de MARIANO FLECHA, MARIANO FLECHA Y/O MARCIANO FLECHA FLECHA S/ SUCESIÓN, a fin de que en el plazo de sesenta días a partir de la primera publicación del presente edicto, comparezcan ante el Juzgado a reclamar sus derechos. El juicio radica en la Secretaria única, a mi cargo, Abog. VERONICA LILIANA CAREAGA VEGA. Valenzuela, 22 de mayo de 2024. -70274/01/06.-

SUCESIÓN. La Jueza de Primera Instancia en lo Civil y Comercial del Primer Turno, Abg. LILIAN ROSMARY GONZALEZ DE DUARTE, cita y emplaza por sesenta dias a herederos y acreedores de la sucesión de MARIA IRENE LOPEZ DE RIVEROS. CORONEL OVIEDO, 5 de julio de 2022. Ante mí: Abg. Cristell A. Portillo Arias - Actuaria Judicial - Secretaría Dos. Se hace saber al destinatario de este edicto que el mismo cuenta con el Código QR, por lo cual, para tener certeza de que este documento es válido, deberá utilizar el lector del Código QR, siendo ya en consecuencia, innecesaria la autenticación manual de la Actuaria del Juzgado conforme Acordada 1366/2019.70273/01/06.-

SUCESIÓN. La Jueza de Paz, Abg. Natalia Carolina Campuzano, cita y emplaza por sesenta días a herederos y acreedores de la sucesión de RUBEN OVIEDO, con CI N° 1.988.744. Carayaó, 19 de marzo de 2024. Abg. Gloria Marlene López A., Actuaria Judicial.-70272/01/06.-

SUCESIÓN. La Jueza de Paz, en lo Civil, Comercial, Laboral y de la Niñez y Adolescencia del Primer Turno de la ciudad de Carapeguá, Abog. MARÍA MARCELA DÍAZ MEDINA, cita y emplaza por sesenta días a herederos y acreedores de la sucesión de PABLO SANTACRUZ TORALES. Carapeguá, 25 de abril de 2024. Abog. Lucio Ramón Rodriguez L. - Actuario Judicial Circunscripción Judicial Paraguarí. -70263/01/06.-

SUCESIÓN. La Jueza de Primera Instancia en lo Civil y Comercial del Décimo Turno de la Capital Abg. Rocío González Morel, Sría. 19, cita y emplaza por 60 (sesenta) días a herederos y acreedores de la sucesión de CIPRIANO NOGUERA TORRES, MARIA IRENE VILLALBA DE NOGUERA

Asunción, 22 de diciembre de 2023. Rebeca Espínola Rezano, actuaria. -70259/01/06.-

SUCESIÓN. El Juez de Primera Instancia en lo Civil, Comercial y Laboral del Tercer Turno de la ciudad de Caaguazú, Abg. FRANCISCO LUIS ASTIGARRAGA FELTES, cita y emplaza por sesenta días a herederos y acreedores de la sucesión de CARLOS ANTONIO VERA SILVA (+). El juicio radica en la Secretaría N° 6 a mi cargo. CAAGUAZÚ, 22 de mayo de 2024. Firmado digitalmente por: CECILIA PAOLA SOSA IBARRA - ACTUARIA. -70330/01/06.-

SUCESIÓN. La Juez de Primera Instancia en lo Civil y Comercial del Segundo Turno, Dra. LAURA MERCEDES GONZALEZ CRISTALDO, cita y emplaza por 60 días a herederos y Acreedores de la sucesión de MARCELINO ARMOA PERALTA. Ante mí: Abg. GLORIA M. VILLALBA. Actuaria Judicial – Secretaría Nº 3. CAAGUAZÚ, 22 de mayo de 2024. Se hace saber al destinatario de este edicto que el mismo cuenta con el Código QR, por lo cual, para tener certeza de que este documento es válido, deberá utilizar el lector del Código QR, siendo ya en consecuencia, innecesaria la autenticación manual de la Actuaria del Juzgado conforme Acordada 1366/2019.-70386/02/06.-

SUCESIÓN. EL JUEZ DE PRIMERA INSTANCIA EN LO CIVIL, COMERCIAL Y LABORAL DEL PRIMER TURNO DE SAN ESTANISLAO, abogado LILIO FRANCO BOBADILLA RODRIGUEZ, cita y emplaza por sesenta días contados desde la primera publicación del presente edicto, a los que tengan interés en reclamar derechos en la sucesión de CARMEN AIDEE MARTINEZ DE RUIZ DIAZ, de conformidad a lo dispuesto por el Art. 741, primera parte del Código Procesal

JUEVES 30 MAYO DE 2024

Civil. El juicio radica en la Secretaría Nº 2 a mi cargo. San Estanislao, 21 de mayo de 2024. Abog. Hugo Emilio Fariña SilveroActuario Judicial. -70374/02/06.-

SUCESIÓN. La Juez de Primera Instancia en lo Civil y Comercial del Vigésimo Cuarto Turno, Dra. Magali Zavala, cita y emplaza por sesenta días a herederos y acreedores dela sucesión de MARCIAL ANIBAL SACCARELLO DUARTE. El juicio radica en la Secretaría a mi cargo. Edgar Adrián Jara Mendoza, Actuario Judicial. Asunción, 22 de mayo de 2024. Se hace saber al destinatario de este edicto que el mismo cuenta con el Código QR, por lo cual, para tener certeza de que este documento es válido, deberá utilizar el lector del Código QR, siendo ya en consecuencia, innecesaria la autenticación manual de la Actuaria del Juzgado conforme Acordada 1366/2019 y 1370/2020 de la Excma. CSJ. -70361/02/06.-

SUCESIÓN. LA JUEZA DE PRIMERA INSTANCIA EN LO CIVIL Y COMERCIAL Y LABORAL DE LA TERCERA CIRCUNSCRIPCION JUDICIAL DE LA REPUBLICA, CON SEDE EN MARÍA AUXILIADORA, Abg. R. EVELIN CABRERA PAREDES, cita y emplaza por sesenta días a herederos y acreedores de la sucesión de MARCOS ACOSTA ANDINO. El juicio radica en la secretaría N° 2 a mi cargo Abg. MIRIAN ORTIZ YURTZ, Actuaria Judicial. MARÍA AUXILIADORA, 2 de mayo de 2024. Se hace saber al destinatario de este edicto que el mismo cuenta con el Código QR, por lo cual, para tener certeza de que este documento es válido, deberá utilizar el lector del Código QR, siendo ya en consecuencia, innecesaria la autenticación manual de la Actuaria del Juzgado conforme Acordada 1366/2019.-70359/02/06.-

SUCESIÓN. EL JUEZ DE PAZ EN LO CIVIL, COMERCIAL, LABORAL Y DE LA NIÑEZ Y LA ADOLESCENCIA DE LA CIUDAD DE LIMA, DE LA CIRCUNCRIPCIÓN JUDICIAL DE SAN PEDRO, ABOGADO ELADIO ARTURO BENITEZ LEZCANO, cita y emplaza por el plazo de sesenta dias a todos los interesados en la sucesión de JOSE ASUNCION VILLAMAYOR TORRES. El juicio radica en la Secretaría a mi cargo. Lima, 19 de febrero de 2024. Ante mí Abog. Gloria Mabel González Mendoza, Actuaria Judicial. -70357/02/06.-

SUCESIÓN. El Juez de Paz en lo Civil y Comercial de Ñemby, Dr. Miguel Angel Pereira, cita y emplaza por sesenta días a

herederos y acreedores de la sucesión de CLAVIA CRISTINA LOPEZ PERALTA. Ñemby 22 de mayo de 2024. Cecilia C. Martínez L., Actuaria Judicial. -70344/02/06.-

SUCESIÓN. El Juzgado de Paz del Segundo turno de Caacupé, Circunscripción de Cordillera, a cargo del Juez Abg. Agustín González Portillo y el actuario de la secretaría Nº 1 Abg. Carlos Eduardo Núñez Cano, ordena la publicación del presente edicto por el plazo de 10 (diez) días, citando y emplazando a los que tengan o pudieran tener interés en reclamar derechos contra la sucesión del Sr. ALDO CRISTIAN CHAPARRO GALEANO, a comparecer a deducir sus acciones dentro del término de 60 (sesenta) días contados desde la publicación del presente edicto, de conformidad a lo establecido en el Art. 741 del C. P. C y demás concordantes. Caacupé Juzgado de Paz, 21 de mayo de 2024. -70341/02/06.-

SUCESIÓN. La Jueza de Paz de la ciudad de Nueva Colombia, Abg. Mirta Susana Granado, y la Actuaria Autorizante Abg. Karin Marlene Leite Zaracho, ordena la publicación del presente edicto por el plazo de 10 (diez) días, citando y emplazando a los que tengan o pudieran tener interés en reclamar derechos contra la sucesión de MARIO RAMON BRITEZ PEREIRA, con CI N° 1.024.535 , y a deducir sus acciones dentro del término de 60 (sesenta) días contados desde la publicación del presente edicto, de conformidad a lo establecido en el Art. 741 del C.P.C. y demás concordantes. Nueva Colombia, 23 de mayo de 2024. Abg. Karin Leite Zaracho, actuaria judicial.-70391/02/06.-

SUCESIÓN. La Juez de Primera Instancia en lo Civil y Comercial del Primer Turno de la Circunscripción Judicial del Alto Paraná con sede en Ciudad del Este Abogada Gabriela Maricel Meaurio Samudio, cita y emplaza por sesenta (60) días a los herederos y acreedores de la sucesión del señor JULIO BURGOS. El juicio sucesorio radica en la secretaría a mi cargo, Abogada Celeste Arévalos (Actuaria Judicial de la Sria. N° 01). Ciudad del Este, 22 de mayo de 2024. Se hace saber al destinatario de este edicto cuenta con el Código QR por lo cual, para tener certeza de que este documento es válido, deberá utilizar el lector del Código QR, siendo ya en consecuencia, innecesaria la autenticación manual de la Actuaria del Juzgado conforme Acordada 1366/201.-70396/03/06.-

9

SUCESIÓN. La Jueza de Primera Instancia en lo Civil y Comercial del Décimo Turno de la Capital, Secretaría Nº 20, Abg. Rocío González Morel, cita y emplaza por 60 días a los herederos y acreedores de la sucesión del señor SILVERIO

ARGENTINO MOREL VERNOUT. Fdo. Abg. TOBIAS REDEKOP HARDER. Se hace saber al destinatario de este edicto que el mismo cuenta con el Código QR, por lo cual, para tener certeza de que este documento es válido, deberá utilizar el lector del Código QR, siendo ya en consecuencia, innecesaria la autenticación manual del Actuario del Juzgado conforme Acordada 1335/2019 de la Corte Suprema de Justicia.

ASUNCIÓN, 8 de abril de 2024.Firmado digitalmente por: Tobías Redekop Harder (Actuario). -70403/03/06.-

SUCESIÓN. La Juez de Paz de la ciudad de Escobar, Dra. María Asunción Godoy Gómez, cita y emplaza por sesenta días a herederos y acreedores de la sucesión de “AURELIANA VILLAGRA SALINAS”. Escobar 13 de mayo de 2024. Abog. Evert Rafael Florentín Ramírez – Secretario. -70412/03/06.-

SUCESIÓN. La Juez de Primera Instancia en lo Civil y Comercial del Tercer Turno de la VI Circunscripción Judicial de Alto Paraná, Abog. y Not. Victoriana Cáceres Duarte, cita y emplaza por sesenta días a herederos y acreedores del Señor MIGUEL ANGEL CORONEL SOSA. El respectivo juicio sucesorio radica en la Secretaría N° 05 a mi cargo. Ciudad del Este, 22 de mayo de 2024. Se hace saber al destinatario de este edicto que el mismo cuenta con el Código QR, por lo cual, para tener certeza de que este documento es válido, deberá utilizar el lector del Código QR, siendo ya en consecuencia, innecesaria la autenticación manual por secretaría, conforme Acordada 1366/2019.70404/03/06.-

SUCESIÓN. POR DISPOCISIÓN DE S.S. EL JUEZ DE PAZ EN LO CIVIL, COMERCIAL Y LABORAL DEL TERCER TURNO DE LA CIUDAD DE CONCEPCIÓN, ABG. JAVIER A. FERREIRA GARCETE, cita y emplaza por sesenta días a herederos, legatarios, acreedores e interesados en reclamar derechos contra la sucesión del Señor ROBETO ALEJANDRO CASTILLO Y/O ROBERTO ALEJANDRINO CASTILLO S/ SUCESIÓN INTESTADA, el Juicio radica en la Secretaría a mi cargo Abg. Claudio Raúl Molas Mereles. CONCEPCIÓN, 8 de mayo de 2024. -70402/03/06.-

SUCESIÓN. LA JUEZA DE PAZ EN LO CIVIL Y COMERCIAL Y LABORAL, DEL DISTRITO DE LA CATEDRAL, SEGUNDO TURNO,

ABG. NATHALIA GUADALUPE GARCETE AQUINO, por providencia de fecha de 18 de marzo 2024, dictada en los autos caratulados: ENRIQUETA MELGAREJO S/ SUCESIÓN INTESTADA, Año 2024; Nº 744; Folio 10 Secretaría N° 4; cita y emplaza por el término de sesenta (60) días, contados desde la primera publicación, a los herederos y acreedores de la señora ENRIQUETA MELGAREJO presentar los derechos que pudieran tener en esta sucesión. Firmado: NATHALIA GUADALUPE GARCETE AQUINO, JUEZA. ANTE MÍ: PABLO CABRERA, ACTUARIO JUDICIAL. As. 18 de marzo de 2024.-70400/03/06.-

SUCESIÓN. LA JUEZA DE PAZ EN LO CIVIL Y COMERCIAL DEL SEGUNDO DE CARAPEGUÁ, DE LA CIRCUNSCRIPCIÓN JUDICIAL DE PARAGUARÍ, Abog. LIDA AURORA SANCHEZ PEREIRA, cita y emplaza por sesenta días a herederos y Acreedores de la Sucesión de los causantes ENRIQUE SOSA LOPEZ, MARÍA MARTIR CABALLERO, JULIANA SOSA DE CHAVEZ Y LUCIO SOSA CABALLERO. Carapeguá, 22 de mayo de 2024. Abg. Ariel Ruiz Díaz - Secretario Juzgado de Paz. -70397/03/06.-

SUCESIÓN. El Juez de Paz de la ciudad de Raúl Arsenio Oviedo, de la Circunscripción Judicial de Caaguazú, Abg. Guido Báez Álvarez, en los autos caratulados: Juicio: SERGIO DUARTE MENCIA S/ SUCESIÓN AB INTESTATO, AÑO 2024, Nº 24, FOLIO 59, cita y emplaza por sesenta (60) días a herederos y acreedores de la sucesión de SERGIO DUARTE MENCIA. El Juicio radica en el Jugado de Paz de la ciudad de Raúl Arsenio Oviedo, de la circunscripción Judicial de Caaguazú. Secretaría única a cargo del Actuario Interino Horlando Bogado. Ante mí: Horlando Ramón Bogado – Actuario Especializado. Abg. Guido Báez Álvarez – Juez de Paz. Raúl Arsenio Oviedo, 22 de mayo de 2024.70427/03/06.-

SUCESIÓN. La Jueza de Paz de Primera Instancia en lo Civil y Comercial del único turno de Villa Elisa, Dra. Martha Benítez, cita y emplaza por 60 días a herederos y acreedores de la sucesión de FRANCISCO SOLANO VERA ARANDA. Villa Elisa, 20 de mayo de 2024. P/I Abog. Alma Prieto, Actuaria Judicial.-70446/06/06.-

SUCESIÓN. El Juez de Primera Instancia en lo Civil y Comercial del Quinto Turno de esta capital, Alfredo Barrios Jara, cita y emplaza por sesenta días a herederos y acreedores de ERVINO FLASKAMP CORREA. El expediente sucesorio se tramita

ante la Secretaría N° 9 a cargo de Heriberto Lezcano M., Secretario. Asunción, 2 de mayo de 2024. Se hace saber al destinatario que este Edicto cuenta con el Código QR, por el cual, para tener certeza de que este documento es válido, deberá utilizar el lector de Código QR, siendo ya en consecuencia, innecesaria la firma manual de la Actuaria del Juzgado conforme Acordada 1335/2019 de la Corte Suprema de Justicia.-70481/06/06.-

SUCESIÓN. La Juez de Primera Instancia en lo Civil, Comercial, Laboral y de la Niñez y Adolescencia del Segundo Turno de Coronel Oviedo de la Circunscripción Judicial del Caaguazú, Abg. LAURA BEATRIZ ROJAS CAÑETE, cita y emplaza por sesenta días a herederos y acreedores de la sucesión de SABINA ALMIRON LEON. CORONEL OVIEDO, 6 de mayo de 2024. Ante mí: WILSON F. SILVA. Actuario Judicial - Secretaría N° 4. Se hace saber al destinatario de este edicto que el mismo cuenta con el Código QR, por lo cual, para tener certeza de que este documento es válido, deberá utilizar el lector del Código QR, siendo ya en consecuencia, innecesaria la autenticación manual del Actuario del Juzgado conforme Acordada 1366/2019. -70472/06/06.-

SUCESIÓN. LA JUEZ DE PRIMERA INSTANCIA EN LO CIVIL, COMERCIAL, LABORAL DEL PRIMER TURNO, DE LA CIRCUNSCRIPCIÓN JUDICIAL DE SAN PEDRO, ABG. NORMA MABEL FLEITAS A., cita y emplaza por sesenta días a todos los herederos y acreedores en la Sucesión de VIRGILIA DEJESUS CASCO. El juicio radica en la Secretaría Nº 1 a cargo del Abg. Francisco Recalde. SAN PEDRO DE YCUAMANDYYÚ, 8 de mayo de 2024. Se hace saber al destinatario de este edicto que el mismo cuenta con el Código QR, por lo cual, para tener certeza de que este documento es válido, deberá utilizar el lector del Código QR, siendo ya en consecuencia, innecesaria la autenticación manual de la Actuaria del Juzgado conforme Acordada 1366/2019.-70531/07/06.-

SUCESIÓN. EL JUEZ DE PAZ EN LO CIVIL, COMERCIAL Y LABORAL, DE LA NIÑEZ Y LA ADOLESCENCIA Y EN LO PENAL DE MCAL. FRANCISCO

SOLANO LOPEZ, Dr. Aldo Hernán Barrios. se dirige a usted en los autos caratulados: “FIDELINA PANIAGUA CACERES S/ SUCESIÓN AB - INTESTATO / AÑO: 2024 N° 13 FOLIO: 23”, con el objeto de que se sirva disponer la publicación de los Edictos de citación y emplazamiento, por el término de ley, en virtud de lo establecido

en el Art. 741, Inc. “b del C.P.C.”. Mariscal Francisco Solano López, 28 de mayo de 2024. Tomás Lezcano (Actuario).-70529/07/06.-

SUCESIÓN. El Juez de Primera Instancia en lo Civil, Comercial y Laboral de San Juan Nepomuceno, Dr. Abg. Carlos Alberto Rojas Cañete, cita y emplaza por sesenta días a herederos y acreedores de la sucesión de SANNY YOLANDA GONZALEZ LARREA S/ SUCESION. San Juan Nepomuceno, 7 de mayo 2024. Secretaría N° 1. Abg. Leonida E. Pereira – Actuaria Judicial – Circunscripción Judicial de Caazapá. -70525/07/06.-

SUCESIÓN. El Juez de Paz de la ciudad de M. R. Alonso, Dr. Carlos Darío Bogado Cuéllar, cita y emplaza por sesenta días a herederos y acreedores de la sucesión de FIDELINA ROSA ZARATE DE CANDIA S/ SUCESIÓN. M. R. A., 8 de mayo de 2023. Abg. Derlis Torres Benítez, Actuario Judicial. -70510/07/06.-

SUCESIÓN. EL JUEZ DE PAZ DE LA CIUDAD DE RAÚL ARSENIO OVIEDO, DE LA CIRCUNSCRIPCIÓN JUDICIAL DE CAAGUAZÚ, ABG. GUIDO BAEZ ALVAREZ, en los autos caratulados: JUICIO: “MARIA CASIMIRA GODOY DE AYALA S/ SUCESIÓN AB-INTESTATO” AÑO 2024, N° 18 FOLIO 58, cita y emplaza por sesenta (60) días a herederos y acreedores de la Sucesión de MARIA CASIMIRA GODOY DE AYALA. El Juicio radica en el Juzgado de Paz de Raúl Arsenio Oviedo, de la Circunscripción Judicial de Caaguazú. Secretaría única a cargo del Actuario Manuel Giménez. Raúl Arsenio Oviedo, 18 de abril de 2024.-70503/07/06.-

SUCESIÓN. La Juez de Primera Instancia en lo Civil, Comercial y Laboral de la ciudad de Caazapá, Abog. SELMA ISABEL BOGADO DE GOIRIZ, cita y emplaza por sesenta días a herederos y acreedores de la Sucesión de MARIANO VILLALBA BENITEZ. El juicio radica en la secretaría N° 02 a mi cargo. CAAZAPÁ, 17 de mayo de 2024. Se hace saber al destinatario de esta orden de publicación que el mismo cuenta con el Código QR, por el cual, para tener certeza de que este documento es válido, deberá utilizar el lector del Código QR. Motivo que hace innecesaria la autenticación manual del Actuario Judicial conforme las Acordadas 1366/2019 y 1370/2020 de la C.S.J. -70497/07/06.-

SUCESIÓN. El Juez de Paz de la Colonia Tupã Renda, e Interino del Juzgado de Paz de Abai, Circunscripción Judicial de Caazapá, Abg. Porfirio Guzmán Bernal

Ramírez, cita y emplaza por el término de 60 (sesenta) días, contados a partir de la primera publicación, a todos los que tengan interés en la sucesión de FORTUOSO INCHAUSTI. Secretaría a cargo del Abg. Getulio Acosta Zarza. Abai, 18 de abril de 2024.-70495/07/05.-

SUCESIÓN. LA JUEZ DE PRIMERA INSTANCIA EN LO CIVIL, COMERCIAL Y LABORAL DE LA TERCERA CIRCUNSCRIPCIÓN JUDICIAL DE LA REPÚBLICA, CON SEDE EN MARÍA AUXILIADORA, Abg. R. EVELIN CABRERA PAREDES, cita y emplaza por sesenta días a herederos y acreedores de la sucesión de ANIBAL LOPEZ VALENZUELA. El juicio radica en la secretaría N° 2 a mi cargo, Abg. MIRIAN ORTIZ - Actuaria Judicial. MARÍA AUXILIADORA, 23 de mayo de 2024. Se hace saber al destinatario de este edicto que el mismo cuenta con el Código QR, por lo cual, para tener certeza de que este documento es válido, deberá utilizar el lector del Código QR, siendo ya en consecuencia, innecesaria la autenticación manual de la Actuaria del Juzgado conforme Acordada 1366/2019.-70494/07/06.-

SUCESIÓN. LA JUEZA DE PRIMERA INSTANCIA EN LO CIVIL, COMERCIAL Y LABORAL DEL PRIMER TURNO DE LA CIRCUNSCRIPCIÓN JUDICIAL DE SAN PEDRO, ABOG. NORMA MABEL FLEITAS AQUINO, cita y emplaza por sesenta días a los herederos y acreedores de la Sucesión de JORGE SILVIO MULLER FERREIRA. El juicio radica en la Secretaría Nº 2, a mi cargo. SAN PEDRO DE YCUAMANDYYÚ, 24 de mayo de 2024.- Se hace saber al destinatario de este documento que el mismo cuenta con el Código QR, por lo cual, para tener certeza de que este documento es válido, deberá utilizar el lector del Código QR, siendo ya en consecuencia, innecesaria la autenticación manual de la Actuaria del Juzgado conforme Acordada 1366/2019.-70451/08/06.-

SUCESIÓN. La Juez de Primera Instancia en lo Civil y Comercial del PRIMER TURNO DE LA CIRCUNSCRIPCIÓN DE CAAGUAZÚ, con asiento en la ciudad de Coronel Oviedo, Dra. LILIAN ROSMARY GONZALEZ DE DUARTE, cita y emplaza por sesenta dias a herederos y acreedores de la sucesión de ZUNILDA CARDOZO DE ROLON. CORONEL OVIEDO, 23 de mayo de 2024. Ante mí: ABG. ADELA BENITEZ RAMOS, Actuaria Judicial - Secretaría N° 1. Se hace saber al destinatario de este edicto que el mismo cuenta con el Código QR, por lo cual, para tener certeza de que este documento es válido,

deberá utilizar el lector del Código QR, siendo va en consecuencia, innecesaria la autenticación manual de la Actuaria del Juzgado conforme Acordada 1366/2019.-70562/08/06.-

SUCESIÓN. La Juez de Paz en lo Civil y Comercial del Juzgado de Paz de San Antonio, Abg. Lourdes Verónica Ortega Lovera, cita y emplaza por sesenta días a herederos y acreedores de SILVESTRE BENITEZ Y JOAQUINA ACOSTA DE BENITEZ S/ SUCESIÓN. EXP. N° 132 FOLIO 07 AÑO 2024. San Antonio, 12 de abril de 2024. Ramona E. Cáceres, Actuaria Judicial.-70552/08/06.-

SUCESIÓN. EL JUEZ DE PRIMERA INSTANCIA EN LO CIVIL Y COMERCIAL DEL PRIMER TURNO DE LA CIRCUNSCRIPCIÓN JUDICIAL DE AMAMBAY, ABG. JUAN MARCELINO GONZÁLEZ, cita y emplaza por el termino de 60 (sesenta) días, contados desde la publicación del presente edicto, a los que tengan interés en reclamar derechos en la sucesión de JOSE LEITE ATIENZA, de conformidad con lo dispuesto en el Art. 741 del Código Procesal Civil. El juicio radica en la Secretaría a cargo de la Actuaria Judicial Abg. CAROLINA FRANCO VAZQUEZ.-PEDRO JUAN CABALLERO, 21 de mayo de 2024.-70613/08/06.-

TRANSCRIPCIÓN DE ACTA. de Asamblea Gral. Extraordinaria de Accionistas de fecha 08/09/2023 de la firma AGROPECUARIA Y COMERCIAL DEL PARANA SOCIEDAD ANONIMA PARAGUAY (AGROPECO S.A.), por Modificación del Estatuto Social, cambio de Denominación a Agropeco S.A. Escritura Pública N° 14 de fecha 11/04/2024, pasada ante la Esc. Publica Denise Lujan Alderete López, Reg. 299, inscripta en la D.G.R.P. Secc. Personas Jurídicas y Com. Matricula Jurídica N° 16376, Serie Comercial, bajo el N° 3, Folio 37 en fecha 16/04/2024.-70441/30/05.-

TRANSCRIPCIÓN DE ACTA DE ASAMBLEA GRAL. EXTRAORDINARIA DE ACCIONISTAS DE FECHA 26/09/2022 DE LA FIRMA (MIRLOS S.A.), POR MODIFICACIÓN DEL ESTATUTO SOCIAL. ESCRITURA PÚBLICA N.° 15 DE FECHA 11/04/2024, PASADA ANTE LA ESCRIBANA PÚBLICA DENISE LUJAN ALDERETE LÓPEZ, REG. 299, INSCRIPTA EN LA D.G.R.P. SECC. PERSONAS JURÍDICAS Y COM. MATRÍCULA JURÍDICA N° 4918, SERIE COMERCIAL, BAJO EL N° 4, FOLIO 27 EN FECHA 17/04/2024.-70443/30/04.-

JUEVES 30 MAYO DE 2024 10 JUDICIAL .

Turn static files into dynamic content formats.

Create a flipbook
Issuu converts static files into: digital portfolios, online yearbooks, online catalogs, digital photo albums and more. Sign up and create your flipbook.
SUPLEMENTO - AGRUPADOS - EDICIÓN 10.542 by La Nación - Issuu