

萌寵智權 一次看

寵物廁所、寵物配件、寵物箱、 寵物餵食容器、寵物服裝、寵物屋






萌寵智權 次看
第18類 狗項圈、寵物⾐服、狗鞋
第31類 狗餅乾、貓飼料、貓砂、寵物零⾷
第35類 獸醫⽤藥零售批發、寵物零售批發、寵物⽤品零售批發、動物⽤藥零售批發
第35類 獸醫⽤藥零售批發、寵物零售批發、寵物⽤品零售批發、動物⽤藥零售批發
第43類 動物收容所服務、動物旅館
第43類 動物美容、寵物美容、提供有關動物美容之諮詢顧問、獸醫服務、動物醫院
第45類 動物美容、寵物美容、提供有關動物美容之諮詢顧問、獸醫服務、動物醫院
商標(居家環境)
第05類 寵物營養品、動物⽤藥品、動物⽤藥劑
第20類 狗屋、貓屋、寵物軟墊、貓爬架、貓⽤磨⽖棒
第21類 ⾃動寵物餵⾷器
第28類 寵物⽤玩具


萌寵智權 次看
商標(外出用品)
第06類 狗鏈、⾦屬製狗牌
第12類 寵物推⾞
第16類 夾便器、與牽繫帶連⽤之狗排泄物垃圾袋分配器、寵物排泄物處置⽤塑膠袋
第18類 攜帶寵物外出⽤背包、繫狗⽪帶、動物⼝套
第20類 寵物提籃
第21類 家庭寵物⽤提籠
第25類 ⾬⾐
商標(清潔⽤品)
第03類 不含藥寵物⽤洗⽑精、寵物洗浴乳、寵物⽤除臭劑
第05類 貓狗⽤潔⽑藥劑
第08類 貓狗⽤潔⽑藥劑
第21類 動物⽤刷
第21類 動物⽤刷






1.寵物醫療 具


醫療輔具 (看診⽤具、投藥器具、醫療系統)
遠端動物醫療互動輔助系統(I843584)

治療句腰間盤突出的穿戴設備(CN110935099A)
種治療狗腰間盤突出的穿戴設備,其
特徵在於:包括主體外殼、連接帶、胸 部穿戴件和腿部穿戴件;所述胸部穿戴 件通過連接帶連接主體外殼的 端,主
體外殼另 端左右兩側通過連接帶分別 連接左右腿部穿戴件;所述主體外殼下 方設有電擊貼。


本發明揭露 種遠端動物醫療互動輔助 系統,包含監視裝置,穿戴式感測裝 置,醫療履歷系統,該醫療履歷系統包 括寵物電子履歷產生模組,治療過程更 新模組以及醫療器具管理裝置,其中該 監視裝置以訊號連接於該穿戴式感測裝 置,該監視裝置以訊號連接於該醫療履 歷系統。
寵物針灸教學示教系統(CN118762567A、CN118762571A)
種寵物針灸教學示教系統、方法及電 腦程式產品,該方法包括:響應於針對 虛擬寵物模型的穴位選擇操作,生成當 前穴位編碼;即時接收示教模型發出當 前穴位編碼;根據當前穴位編碼啟動教 學端上虛擬寵物模型的相應穴位 萌寵智權 次看


萌寵智權 次看
(看診⽤具、投藥器具、醫療系統)
防鬆脫的寵物針灸用固定架 (CN216566254U)

寵物體溫計 (D234350)

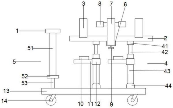
寵物針灸治療床(CN218961004U)

寵物針灸保定架CN220917544U)
寵物針灸保定架,包括U形座,所述U形座內設有對稱設置且可轉動的圓板,所述圓板的 底部設有連接圓板的配重U形框,所述圓板之間連接設有網格網,所述配重U形框上設有 若干個線束繩,所述U形座上設有與圓板相配合的固定裝置。本實用新型的優點在於:可 以讓動物隨保定架活動,便於獸醫施針,針灸穴位準確。



2.寵物美容工具


萌寵智權 次看
(⼯作檯⾯各種周邊及剪、梳、刷、護具)

寵物指甲剪 (CN308813424S) pethairbrush (CN308921834S) petnailclippers (USD0923886S)




寵物電動剪毛器 (D187887)
寵物指甲剪 (D168465)


萌寵智權一次看 專利篇

3.寵物廁所、4.寵物配件、5.寵物箱、 7.寵物餵食容器、8.寵物服裝、9.寵物屋


申請號
次看
TW112103605
TW111149305
TW111147465
TW110147945
TW111128034
TW109143437


dogcage(USD0515746S) catharness(USD0956368S)


petbowl(1009385S) pettoys(USD0838417S)





(CN308921834S) 萌寵智權 次看
Self-cleaningcatlitterbox(USD1006352S)

ToyforcatsUSD0995002S) petcollar(USD0989415S)





寵物床CN308723873S pethairbrush(USD1045403S)



寵物餵食碗CN308921786S) petbedD1030153S) 萌寵智權 次看
倉鼠籠CN308411729S 寵物胸背帶CN306707211S)





萌寵智權 次看
寵物箱(LOC.30-02)
D187532 D187533


寵物餵食容器(LOC.30-03)
寵物食盆D224404


寵物飲食碗D171363


萌寵智權 次看
寵物碗
新型 發明
懸掛式寵物碗架結構(M660860)
種懸掛式寵物碗架結構,包括組裝構成之
置放架、二夾板以及 固定板,該置放架 係圓弧彎折構成 框體,該框體兩端未接合 並沿圓弧切線延伸設有二支撐段,二支撐段
末端再往內彎折形成二結合部,二該夾板係 相對貼靠於二該結合部的內、外兩側,該固 定板與二該夾板皆設有二組合孔,所述組合
孔係相對位相通以供二長螺栓以及二螺鎖件 穿設鎖接,據此將二該夾板以及該固定板係 相平行設置,並透過該固定板以及所述夾板
夾持組設於 寵物籠上,可有效改善傳統碗 架因焊接組成造成焊點處生鏽或是強度弱化 等缺失,從而有助於提升使用時限及耐用
度。

動物飼料分配器(US11395476B)
種動物飼料分配器,特別是用於馬的動物 飼料分配器,包括向下開口的、基本上豎直 定向的管,該管具有佈置在該管的上部部分 中的至少 個用於動物飼料的填充開口。相 對於管的縱向軸線橫向地在內部突出的至少 兩根彈性纜索佈置在彼此上方,其中在每根 纜索上方保留有間隙,並且在每種情況下僅 允許接收動物的單獨部分單元饋送,並且其 中每條纜線連接至相關聯的牽拉元件的端 部,該端部經由管壁中的開口基本上垂直於 相應的彈性纜線向外引導,其中咬合元件緊 固至牽拉元件的端部,即位於管外。



萌寵智權 次看
光項圈
013 TWM487625U
降低流浪貓⽝⽣育的項圈;Collar for reducing breeding of stray cats and dogs
014 TWM491333U
015 TWM552258U
裝置於寵物背帶可模組化拆卸之燈具;Modularized dismountable lamp mounted on back strap of pet
具警⽰功能的寵物⽤品;Pet product with alert function
016 TWI613959B 智慧型狗鏈系統
017 TWM564909U
018 TWM572121U
寵物⽤品之複合式反光結構;Composite reflective structure for pet products
具警⽰功能的寵物鍊帶;Pet leash with warning function
019 TWM591310U
具重量感測之盆體;Basin with weight sensing function
020 TWM606973U 多功能寵物項圈;MULTIFUNCTIONAL PET COLLAR
021 TWI839791B
寵物牽繩與寵物牽繩系統;PET LEASH AND PET LEASH SYSTEM


寵物配件
寵物服裝之部分D232618

寵物用面罩之部分D177069

寵物用便盆D215631

萌寵智權 次看
寵物服裝D183073

寵物用胸背帶D233184

寵物用廁所D196467



萌寵智權 次看
貓
/狗襪套/鞋固定結構及防脫型鞋或防脫型襪套(CN219125077U)

使用固定結構可以應用在貓或狗的任意 型號的鞋子,同時也可以應用在貓或狗 的任意型號襪套上,不但可以避免現有 貓或狗用襪套或鞋的拉緊帶綁緊時容易 使腳部血液迴圈受阻,長時間穿著會導 致腳部腫脹問題,還可以避免穿戴襪套 或鞋時出現滑脫、偏轉等的問題。
動物糞便收集裝置(US20240337080A1)
此動物糞便收集裝置包括手柄和外殼, 手柄沿軸線方向延伸。殼體連接至手柄 並垂直於手柄的軸線方向。使用時,將 垃圾袋套在殼體,即可掃除動物糞便。

寵物靴(USD0827216S)


寵物靴設計包括腳踝及腳趾,腳踝前端 呈現十字造型,腳趾沿前端伸出兩隻指 頭,特殊設計使寵物穿上時更加美觀。

萌寵智權 次看
光項圈
# 公開/公告號 專利名稱
001 TW510163U
具警⽰作⽤之寵物⽤項圈改良;Improvement of pet collar with alarming functions
002 TWM257632U 發光項圈;Luminant collar
003 TWM271383U 具負離⼦之寵物項圈;Pet necklace with anion
004 TWM280646U
005 TW583907U
006 TWM245757U
007 TWM315970U
寵物牽引帶或項圈之帶體結構;Belt body structure of pet dragging belt or collar
寵物牽繩;Leash for pet use
寵物牽引帶、項圈之帶體結構改良;IMPROVED BELT AND COLLAR FOR PET
具發光之寵物⽤品;Luminant pet article
008 TWI346527B 具監護警⽰功能的寵物項圈
009 TWM416999U
010 TWM417773U
發光寵物項圈之結構;Structure of light-emitting pet collar
具發電功能之照明寵物繩;Illuminative pet leash with electricity generation function
011 TWM442707U 遛狗裝置;Device for walking dog
012 TWM485608U
具有夜間辨識功能之寵物⽤品;Pet product with nighttime identification function


萌寵智權 次看
處理寵物排泄之砂鏟結構M660793)

可拆式鞋襪套寵物服
(M657976)
該寵物服為可拆式鞋襪套寵物服,其 中,四肢處可分離,穿戴時寵物外出不
髒腳,且便於穿脫,在室內時能夠依需 求仍可穿著軀幹包覆。
結團貓砂過濾裝置及其使用方法


採用三段落砂系統的砂鏟結構,僅需要 支砂鏟即可利用不同區域有效率地篩砂清 潔。使貓砂盆中的貓砂維持最乾淨的狀 態,也讓寵物可以有最乾淨健康的如廁環 境。

(CN115581205A)
通過設置分離杆及增加獨立的貓砂鏟旋 轉機構,通過分離杆將粘在貓砂盆底部 的結團貓砂同貓砂盆的底部主動分離, 通過增加獨立的貓砂鏟旋轉運動機構, 能夠將分離出來的結團貓砂轉移。


6.寵物食品、藥品 配方、成分、用途


萌寵智權 次看
TW112120104
(配⽅、成分、⽤途)
乾式寵物⾷品 寵物⾷品
CN202211063408.4 ⼀種寵物兔飼料及旗制備⽅法 兔⼦飼料
新型 發明
寵物乾糧結構(M657519)
種寵物乾糧結構,包含有內層凍乾粉體與 外層乾糧。內層凍乾粉體包含有肉纖維與細
粉,以膨化法製成的外層乾糧結合於內層凍 乾粉體之外側,內層凍乾粉體的直徑為
0.5~3毫米,外層乾糧的直徑為5~15毫米。
內層凍乾粉體可以補足傳統寵物糧食所不足 的營養素,也可以滿足各種寵物的口味偏 好,還可以對外觀與添加物進行調整,提升
整體觀賞度。
富含雜鹵石的動物飼料 (US11589599B)
種包含濃度為0.5%-5%w/w的雜鹵石的 動物飼料組合物。




(配⽅、成分、⽤途)
新型
種動物疫苗存放裝置(CN221795487U)
種動物疫苗存放裝置,包括疫苗儲存櫃體,疫苗 儲存櫃體上透過連接件活動鉸接有能夠打開的櫃 門,疫苗儲存櫃體的底部安裝有四個萬向輪,疫苗 儲存櫃體的內部水平安裝有兩個第 個連接桿。本 實用新型中,透過拉動拉桿使兩個T形滑塊在對應 T形滑槽的內部向著遠離疫苗儲存櫃體的 側移 動,進而帶動兩個第二連接桿同向運動,在第二連 接桿的帶動下放置在疫苗儲存櫃體內部的疫苗管會 形成 個傾斜角度,便於工作人員從上往下對疫苗 管標籤上的數據進行讀取,從而盡快取出所需的疫 苗,避免在選取疫苗上花費過多的時間,提高效 率,避免疫苗長時間暴露導致變質的問題。

製造個人化犬癌症疫苗的方法(US11484581B2)
使用個人化癌症疫苗治療狗的癌症的方法,所述個人化癌症疫苗包含具有由 mRNA轉錄和剪接錯誤引起的移碼突變的勝肽。



萌寵智權 次看
(配⽅、成分、⽤途)


CN114903122A
本發明為 種肥胖寵物專用保健食品及其製備方法,通過各組分之間的相互協同作用,促進
了寵物排便,平衡腸道菌群,促進機體脂肪轉化為能量,幫助肥胖寵物降低體重,緩解寵物 犬貓因肥胖導致的高血脂、高血糖、高血壓等問題,兼具營養寵物皮毛、提高寵物免疫力、
維持寵物健康的功效。
TW202430199A
本發明之目的在於提供 種安全,能夠每天服用且亦可用作健康食品之可抑制阿茲海默型失 智症之阿茲海默型失智症抑制劑及其製造方法。
本發明之阿茲海默型失智症抑制劑並不限於向人類投予,亦能夠向除人類以外之動物投予。
作為投予對象之動物,例如可例舉:馬、牛、豬、山羊、綿羊、駱駝、美洲駝等家畜;賽馬 等競賽動物;狗、貓等寵物;小鼠、大鼠、豚鼠、兔子等實驗動物;雞、鴨、火雞、鴕鳥等 家禽;養殖魚等魚貝類等。


(配⽅、成分、⽤途)
動物給藥
新型
萌寵智權 次看
種動物疫苗與藥物的呼吸道自動給藥裝置(CN221786808U)
種動物疫苗與藥物的呼吸道自動給藥裝置,涉及 醫療器械技術領域,本實用新型包括儲存裝置、霧 化裝置以及固定裝置,所述霧化裝置包括霧化箱, 所述霧化箱內空,所述霧化箱內部底端設有壓電陶 瓷片,所述霧化箱 側開有第 圓形通孔,所述第
圓形通孔上設有第 螺旋接口,所述霧化箱頂部 開有第二圓形通孔,所述第二圓形通孔上設有第二 螺旋接口。本實用新型為 種動物疫苗與藥物的呼 吸道自動給藥裝置,給藥量準確,高效,減少動物 壓力率,自動化,減少人身危險。

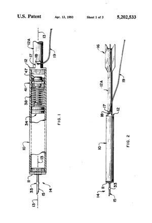
動物用藥物注射裝置(US05202533A)
種用於動物的遠端注射裝置,包括具有活塞的 筒,活塞可在筒內從筒 端的初始縮回位置向前朝 向筒的相對端滑動,以在註射動作中通過筒前端的 針排出液體。活塞透過釋放構件上的 O 形環保持 在縮回位置,該構件穿過筒內表面上承載的 O 形 環突出。筒體上的O型圈的內徑可以透過筒體內側 的 對軸環的軸向移動來調節。這調節了推動釋放 構件 O 形環穿過外 O 形環以釋放活塞以通過彈簧 移動到排出位置所需的力的大小。槍管可以安裝在 箭型彈體上,因此在與動物接觸時衝擊力足以釋放 活塞。或者,可以將筒安裝在桿上,當向前推動針 和筒與動物接合時,桿起到釋放活塞的作用。



萌寵智權 次看
(配⽅、成分、⽤途)
TW202434198
本發明之目的為提供 種用來保護腦神經細胞之組成物。
將本發明之組成物作為飼料時,能夠在成分(A)與成分(B)中摻混能夠使用在飼料中之成分, 並作為飼料。作為飼料,有舉例如牛、豬、公雞、山羊、馬等所使用之家畜用飼料;兔子、 天竺鼠、大鼠、小鼠等所使用之小動物用飼料;狗、貓、小鳥等所使用之寵物等。
TW202426025
本發明提供
種包含黑大豆種皮萃取物作為有效成分之睡眠改善劑、包含該睡眠改善劑之飲 食品、補充品、醫藥品、準藥品、飼料或寵物食品等、及賦予睡眠改善作用之方法等。
本發明之組合物之攝取量(投予量)可根據對象之種類(人、或各種動物)、性別或年齡、對象之 狀態或症狀之程度而適當變更。作為對象,例如可例舉:人、及除人以外之動物(例如,家 畜、家禽、寵物等)。






萌寵智權 次看
TW108140496
TW108130858
相關軟體
(會員系統、訂閱系統、雲端服務、SaaS軟體)
智能逗貓系統及其⽅法
智能遛狗系統及其⽅法
寵物保險多重身分辨識系統(M622912)
寵物保險多重身分辨識系統, 包含儲存單元、輸入單元、第 特徵辨識單元、第二特徵辨 識單元及整合辨識單元。儲存 單元以儲存對應寵物個體的第 加保生物特徵資料及第二加 保生物特徵資料。輸入單元以 輸入第 理賠生物特徵資料及 第二理賠生物特徵資料。第
特徵辨識單元以分析第 加保 生物特徵資料及第 理賠生物 特徵資料並產生第 分析結果 。第二特徵辨識單元以分析第 二加保生物特徵資料及第二理 賠生物特徵資料並產生第二分 析結果。整合辨識單元以機器 學習分析第 分析結果及第二 分析結果並產生判斷結果辨識 寵物個體。
逗貓系統
遛狗系統



(會員系統、訂閱系統、雲端服務、SaaS軟體)
寵物接送、醫療、美容、住宿系統(M623463)
本創作係提供寵物接送、醫療、美容、住宿系統,包括 個寵物接送、醫療、美容、住宿 伺服器和 第 電子裝置、 第二電子裝置、 第三電子裝置,該電子裝置配有 GPS定 位元件;該寵物接送、醫療、美容、住宿伺服器,包括 寵物用戶模組、 寵物店家模 組、 寵物派案模組、 寵物接送人員模組、 寵物交通工具模組;該寵物接送、醫療、 美容、住宿伺服器與電子裝置連接,該寵物接送、醫療、美容、住宿伺服器,在接收寵物 用戶由第二電子裝置發出接送、醫療、美容、住宿寵物訂單後,該寵物接送、醫療、美 容、住宿伺服器的寵物派案模組,便將寵物接送、醫療、美容、住宿需求通知,發送到寵 物接送人員的第 電子裝置,由GPS定位元件,取得距離最近、時間最短、服務按鈕最早 的寵物接送人員透過寵物交通工具,先至寵物用戶地點接送寵物,再將寵物送到指定的寵 物店家,寵物用戶藉由第二電子裝置查詢寵物接送人員及寵物位置,寵物店家的第三電子 裝置,則可查看寵物訂單。



萌寵智權 次看
(會員系統、訂閱系統、雲端服務、SaaS軟體)
寵物線上祭拜網站(M622237)
種寵物線上祭拜網站,包含 使用者介面,用於接收該使用者所輸入的相關訊息、及輸 出該寵物線上祭拜系統的資訊到該使用者介面,該使用者係經由該使用者介面進入該寵物 線上祭拜系統,進行相關的操作; 寵物資料輸入單元連接該使用者介面,由該使用者輸 入所需祭拜的寵物相關資料,包含祭拜日期、宗教、祭拜的方式、相關的照片及影片、音 樂; 祭拜日期選擇單元連接該使用者介面,可以令該使用者選擇祭拜日期及時間;以及
儀式選擇單元連接該使用者介面,令該使用者可以選擇在祭拜時所需要的儀式。本案應 用網站的方式,提供寵物飼養者對於整個寵物祭拜過程中所有的服務及相關的商品,因此 寵物飼養者可以節省相當多的心力及物力。另外本案也可以提醒寵物飼養者在其所選定的 時間進行相關的活動,以避免寵物飼養者因為忙碌而忘記祭拜寵物。






