The Bulletin – April 1964

Page 1

BULLETIJN.

/ ! , \ ;.; ! THE t ••
.
WEST MIDLANDS PETROLEUM AtTS ADMINISTRATIOft 8ROOP " . " , VOL.
No. 4. \ ..
QUARTERLY JOURNAL OF THE , " ,,/.:-" ' ; -::'
2.

THE BULLETiN

of the WEST MIDLANDS PETROLEUM ACT(.> ADMINISTRATION GROUP

Executive Committee Meetings 10th February, 25th February, 1964 ................... 135 Group Meeting held at STAFFORD 22nd January, •••••••••••••••••••••••••••••••••• 138 "The Interpretation of the Groupfs Electrical Requirements" by J.A. Sharp. A.I.E.E. Senior Assistant Engineer (Commercial) M.E.B. ••••••••••••••••••• 139

"CDrrections Necessary in Tank Testing" by J. Beer. M.LW.M.A. Chief Inspector of 'IV-eights and Measures Worcester ••••••••••••••••• 142

"Further Thoughts on Tank Testing" by D. Hall. M.LW.M.A. Chief Inspector of Weights and Measures Newcastle-under-Lyme

Chairman H. GRIFFITHS Fire Brigade Heaa.quarters, Darwall Street, WALS..-iLL, Staffs. Hvn/Secretary

Weights and Measures Departmemt, 16 Stone Street, DUDLEY, Wores.

Public Health Department, 69 New Road, SOLIHULL, WarvJicks. Weights and Measures Department, Guildhall, SHRE'7!SBURY, Salop.

• / •
• ...
Quarterly Journr1l
VOL. 2 No. 4 /PRIL, 1964. Editurial ............................................. . 116 News in Brief •..••.••.•.•..•...•.•.•.•...... .,. • • • • . • • . • . . • . 117 Correspondence •.•••.•••.•.•••••••••••••.•.•••.•••••.•••.•••• 119 Miscellanea •••••.•••.•••.•••.•••••••.••••••••••••••.••••• 125
•••••• •••• 149
Treasurer Liaison Officer Editor L.A. CAVE G.N. DEtl.N R.P. HOLDAWAY

STATIONS

We have read with more than a passing interest, a recent announcement in the National and Tracle Press of the proposed introduction of'a fleet of :nobile filling stations 4000-gallon tankers, fitted with hand operated pumps mounted at the ree,f.

A spokesman for the operating company is reported to have said that is was hcped to hsve 100 of these petrol stations on wheels in service within the next 12 months, selling petrol off the highway at such points as trAnsport cafe forecourts, or at public events. The spokesman is also reported as saying that negotiations had bIC)en conducted yvith the HOI:1e Office before official approval for the mobile filling stations h[,d been granted.

This new scles technique raises an issue of conside:"able importance to, petroleum authorities, nO-mely, the position regarding the conveyance or keeping of petroleum spirit under such novel conditions. If we assume the V8hicle is of a type l.pproved by tho Homo Office flnc1 when on th;) road it complies in al;L respects with the provisions of the Petroleum Spirit (Conveyance) Regulations, then ".'e inight k. ve to accept that serving petrol in the mannor proposed off the public highway does not contravene these regulations. The Pdroleut:t (Consolidation) Act, hovmver, provides that if petroloum spirit is kept for the purpose of sa18 in any quantity above three gaalons a licence is required for its storage. The responsibility for granting such a licence rests ;'!ith the local authority conc8rned, ':;ho may attach to any petroleum spirit licence such conditions as it thinks expedient to ensure'

We have no hesitation in declaring that a parked tanki.::r, be it mobile or not, halted, for the express of selling by retail, petroleum spirit in small quantitios, is in effect a petroleum spirit store, petroleum spirit is bdng kopt Etncl as a consequence, Cl licence is necessary.

Any propos['cl to keep up to 4000 gallons of pdrolourn spirit in nhat is virtually an above ground store at a site to which the public have access, would be contrary to accepted practice and constitute a potential (lancer. It is not difficult, therefore, to c onclucls that for this reE'..son an for a licence to store petroloul:1 spirit under those circunstc:cnces must b,j refused.

In this connection we h[l.vc. recoived e, coPY of Cl letter from Dr. H.K. Black, Her Ma.iosty's ChL,f Inspector of Explosives, who writes "You ,rill Lloubtless havo seen in the Press, statements to t he effect that the HOl:1e OfficG has sanct ioned the use of petrol tankers as mobile fillinc stations. The report is not true,for no such sanction has been givtln. On the contrary, in my opinion the use of a vehicle for the purpose proscribod would not be in accordance with the Lct Ilnd Regulations r.:cLde thoreuncler. There is no present intention of Qillending to permit mobile filling stc.tions".

MOBILE FILLING
-116• , • • •

Dundee City

Leicester City

Ner;-i,ort (Salop) U. D. C •

Tevvkesbury M.B.C.

ASSOCIATES

Mr. J. Wigfull

Mr. E. Jarman

OCTM'JE V,u,m: OF PErROL

Mr. J. 11:. Millar, 1\1 • I .";': • M•A • , Chief Inspector of Weights & Measures.

Mr. E. T:lcKinnell O.B.B., H.I.Fire.E., Chief Fire Officer.

Hr. K 81\. Griffiths, !vI 1., Engine'Jr ana_ Public He;_tlth Officer.

Mr. J.H. Turner AI.R.3.H., M.A.P.H.I., Public Health Inspector.

J. 1'rigfull & Co. Contractor. Technical Director of Council of British Manufacturers of Petroleum Squipment.

It is reported thn.t the Cheshire r:ounty Council are advocating legislatir.n requirinc: sellers of petrol at filling stations to displo.y the octe:.ne wl.llle of petrol supplied to each pump. The views of the Council ,'1re to be referred to the County Councils I Association r or

WARNING

The Petroleum Panel of the Institute of "';eights and Mec,sures Lclministro.tion h:::.s drawn attention to the dangers of CEtrrying in the boots of c'lrs, eq ipi'1ent which is capable of isniting petroleum. vapour. The rO:!;Jort instances occasions when explosions occurred, thought to be due to tho presence of shortwave receiving anrl tre,nsmitting oquipmrmt in the boot.

:NEXT I;1EETING

The Jinnual General Meeting of the Group will be held at the Town Hall, Burton-on-Trent, StL,ffs., on Tuosday 21 st _April, 1964. The War shipful the Mayor of Burt on-on-Trent , Councillor C.J. BadcGck, J.P., will extend an official Y;'elcome to menbers at 10.30 B.• m. The Lnnual Meeting will take place during the morning session. 2.30 P .m. a paper "The Administration of the Petroleum (.cts in the city of Birmint;han" will be presented by Mr. R.i.E. Rod.Gn, l'-'-.R.S.H., Senior Fire Escape e:nd Potroleum Officer for the City of Birmingham. Light refreshnwnts kindly proviriecl by the Mayor will close the Ineeting at 4 p.m •

• •
• • • •
-117-

MID-WEEK SCHOOL

The syballus of the residential mid-week school to bc" held at the Shropshire Ac1ult College, Attingham Park, Near Shre'iJsbury, f1'01:\ Monday to Wednesday 11th-13th\pril, 1964, has now been finalised.

Stud.ents assomble on MondQy oetvrecn 5.0 p .m. and 6.30 p.m. Mr. R.L. Bloor is the administrative officer and vdll deal viith reception and adrainistrative details.

Sir Gcorge Trcvelyo,n, Bt., M.A., 1!Jarclen of the College will extend a welcome to students at 6.30 p.m

A comprehensive progrQm:-:le has boen prepared and the support of eminent locturers h"lS been promised to cover the following subjects.

"The Nature of Petroleum Spirit Ilnd. its Hazards"

"Planninc ,s,nd The Petroleum Officer"

"Th8 installation of Unclerground Te,nks"

"The Testing of Ner, and Existing Petrolemn Spirit Underground Storage T'lnks"

"The Practical Application of the Electrical RecoEI!lendations of '1'ho VTest IvIicllands Group"

n'Petrole llID Administration and 'rho Law"

"Future Trends in Service ancl Safety"

There will also be a demonstration of FireFiGhting Equipment presented by the National Fire Protection Co. Ltd.

At the end of the course, syndicate reports will be discussed by a Panol.

An exhibition of technicQI equipment Vlill be staged during the courso of the school.

THE BULLETIN ---

A limited number of back issuos of The Bulletin are still available at a cost of 5/- oach (inc. postage). VOL.1 One copy No. 1. One copy No. 2., Three copies No. 4. VOL.a Three copio s No. 2. Seven copies No. 3. Enquiries to Mr. L.A. Cave. Secretary. -118-

• , If • • •

CORRESPONDENCE

Sir,

I refer t 0 item (3) in your Miscellanea on pare 78 of the last issue of the 13ulletin", with reference to correspondence from myself on the question of coin freed Gtnd self-s·:')rvice pumps. This is an extract from a letter I sent to Mr. Beer and the remarks that I made were in the context as the first paragraph in this item inrlicates that they wore concerned 'ivith the use of a self-service pump in the silent hours. In looking, at the last paragraph on pi_lge 78, I want to make it quite clear that the "application for aprroval ll wes in the contelltt as I understood it of self-service pUElpS in the ordinary hours of business and I thought that it night be useful for the local 'Cuthorities to consider the points that I had ma.de e.,s some of them would appear to be valid in that context and not only in considering proposals for self-s8rvice pumps in silent hours.

Yours sincerely,

Hmlrt<; OFFICE, London N:7.1 . H.K. BLACK

PETROL

Sir,

Has any thought been given, or opinions expressed, regarding the possibility of rubber or plastic solution being skiillffied uver the concrete of a petroleum forecout tu minimise the danger of igniting spilled petroleum spirit or vapour, from sparks which could be caused by studs or heel plates on boots ur pvssibly tvols thruwn down carelessly on rough concrete.

Yuurs faithfully, LOUGHBOROUGH. Vi. vVALKER.

• • • • • • • •
-119-

I was most interested to reac. the EcUtorial u:c(ler tbc F,bove in .':',ry "Bullotin".

'iI'hile I that in 'cert.'1.in SOr:1C of our st8,ndaro.s are "rigid and unnecessarily severe", do not lot us ulo:.pt thc"t all too :British habit of self-dcni::ration vis Q vis the foreicner. I have a fairly com:?rehensive eX"Dc:rience of :;3uro:oec.n codes and cEl,nnot off-hanc. think of c.ny country 'Thich does not enforce SO,'19 quite illogicc.l amI unnecessary restrictive reZl.llations.

Your edi"i:;orito.l raises such important issues full comnent coul<l reach the pro:oortions of a Good sized book. I nill try therefore to confine [.lyself to just c. fen as:pects.

First of all, a comparison of codes in other countries unquestionably brins to liGht certain r8gulc,tions vrhich are Ilore realistic than our own. These should. not necesse,rily be adopted as such, but 1.• ould a useful be,sis for '11hen ne"! standards are beinG drafted.

Secondly, we cm,le to instc:llation pr£'..ctices, rrhich in other countries differ fundamentally from our own, as illustrc:.tec1 in your penultil;-.ate concernine; tank uits. Reliable statistics are availc.ble from several countries on the incidence of leakages. In Denmark, for the mar::eting companies recently co-o:?eratecl "\"Iith tl,euthorities by removinc a nwn"oer of tanles of varying a::;es for On 11 cOlapc.rison of such statistics with our o\Il1, souna. decisi.ons could be t1.lcen r:hether or not to allow alterm,tive methods of instnllation.

Thirdly, ne come to aspec ts ; 'here the hW!1an element is predominant, notably un-attencled self-service.

Technical develo;xaents to (lllte cannot !>lke this laCY; free from ;risk, but the question of r.'nether t}le risk of un-attended self'service is acceptable or not, ap}enrs present to be purely a matter of personal opinion. I su.?:Cest three steps to tbe solution of this :-

1. The study of these facilities in cOlD.tries where they alreuc;.y operate.

2. A model desiGn to be dr0.. lr n up by a joint team includinG members from the e·:.uiYii,ent m[',nufactut'ers, the marketinc compD.nies £'cnd the stc.tutc,ry authorities concerned.

3. Then t:le all Liloortc.nt practicE',l exercise. This aGain I su[:,[est shoulC1. be a joint exercise nith a nuuber of pilot sta.tions at selccteG.. sites which woulc1. c.ppear to the custo::ter to be un-manned. In fact, they r!oulcl be sta[1'ed by trc,ineo. observer/s[',fety personnel using the nell knorm (if notorious!) two Y!:::.y mirror technique. The safety personnel have over-riding emergency remote control of t'.1e dispensers, ana., of course, a s)ecial scale of fire-fighting enuil)ment and additional features such as direct 'phone lines to police and stations r:ould be l)rov:i.c1.ed.

Experience in the o:?erntion 01' these pilot sb'.tions could ;;!ell provide the anSYlerS He require.

3ir,
120 • • .. • • • •

Fourthly, in the drafting of any new Code, there should be, I feel, three considerations :-

1. Vfuere possible, phrasing should be basic; that is, not tied to to-days models of equipment. For example :- "x feet from the highest point in the hydraulic system" rather than "x feet from the top of the kerbside pump".

2. Care should be taken that regulations are not so restrictive that equiprr.ent has to be specially designed for the home market with the consequent penalty of different models for export.

3. Safety distances and similar regulations should not be Rrbitrary, but hazards should be established by scientifically controlled tests carried out as a joint exercise with the industry. It may well bo found that some of the time so called hazards are no risk at all an example, the burning cigarette stub. What is the magic of the 20 foot rule from the trigger nozzle, when we accept the sparking of the car starter system?

Finally, I would like to refer to the third paragraph of the editorial; at present, for certain petroleum products, the limit for road tankers is 4000 gallons. With modern construction techniques, 5000 gallons can be carried without exceeding the maximum permitted all up weight. If there is a road tanker accident in the High Street, the fact that there is 5000 gallons rather than 4000 of motor spirit at risk would not materially affect the hazard. However, if in carrying 20,000 gallons, four trips with 5000 were made in place of five trips with 4000, the incidence of risk would be reduced by 200,!n, apart from reducing road congestioi;":

Yours faithfully, R.M. PHILLIPS.

LONDON. Petroleum Marketing Engineering Consultant.

Sir,

Your editorial in No. 3 of Volume 2 of "The Bulletin" exhorts those who are charged with the duty of safeguarding person and property against hazards arising from traffic in petroleum products to indulge in a little re-thinking. That is an exercise always worthwhile so long as we keep predominantly in mind human frailty and the gravity of the consequences of even rare failure of inaminate objects. • By all means profit from developments on the Continent or elsewhere in transporting, keeping, vending and using petroleum products, provided 'profit' means 'for the benefit of the at large'.

A thorough reading of the Annual Reports of H.M. Chief Inspector of Explosives will confirm that Petroleum Officers are entitled to be proud of the rarity with which accidents arise out of circumstances forseeable or legally or technically preventable.

If petroleum products can be equally safely conveyed in plastics or light-alloy containers, then that is the sole test and payload economics are not our concern. I have a profound regard for the drivers of tank waggons and would not lightly expose them to the strain of driving larger, or longer, or heavier, and possibly more fragile, vehicles along roads each succeeding day used by an increasing number of risk-takers. I would hope that if it is contemplated to go 'Continental' in tanker construction, someone will remember that drivers ought to be conSUlted •

• It • • • ..
121

If double-skinned storage tanks surrounded by "soil of a suitable textura" can have a hazard-free life at least equal to that of tanks enclosed in concrete, or by sand in a brick and concrete pit, then we can put that tt haiiuner 11 under our pillow. For my part have you seen what you get when you dig a. hole in the 'Black Country' I would want the fill to be "chemically inert soil of a suitable texture, thoroughly compacted".

Finally, self-service free from legally accountable supervision is repugnant to my conception of duty owod to the public, including he who but hurts hirself because he cannot read or fails to comprehend, the cautions lavishly provided by those who would try to shed responsibility under a number of pretences with which you Sir and your readers, are all too familiar,

Yours faithfully ,

Sir,

'0

I cannot agree with any suggesti.on which may have the effect of altering the recognised procedure in connection with the installation of underground petrol tanks. My own vi.ews are that we should continue to insist on a cement rendered brick chamber, the tank being surrounded by dry sand

Some years ago it was the practice in this area to allow the tanks to be placed directly in the ground and surrounded by the soil removed by the excavation.

In recent years such tanks have been a source of trouble as they have become corroded by the soil and developed minute pin holes, resulting in a slow loss of petrol unnoticed by the owner.

In one instance a well which had not been used for a considerable time and situated approximately 60 feet from a petrol store, was .pened and a bucket lowered to test the water. When the bucket was drawn up, it was found to be full of petrol. and on investigation the well, which was 10 feet in diameter, was found to have 4 inches petrol on top of the water yet the owner of the petrol tank had not noticed any loss. However. when the petrol tank. which was embedded in soil, was examined, it was found to be full of minute holes.

In another instance a house-holder complained ef gas fumes under the floor boards in the front living room, which on investigation, proved to be petrol fumes, and the house was approximately 70 yards from a petrol store. Once again, it was found that the tank was embedded in soil and full of minute holes,

Both of these cases could have had serious consequences with possible accident and loss of life.

Three other t,::;.nks have been found in exactly the same condition. Therefore as I said previously. from experience I am still in favour of the cement rendered brick chamber and dry sand.

Yours faithfully, BURTON UPON TRENT. J. EASTON.

122 • • .. .. • • •

Sir,

Hewing read with interest the editorial article, and the account of the visit to Hamburg which appeared in the January, 1964 edition of "The Bulletin", I would like to offer the following comments.

With regard to self service filling stations, I think the time is not too far distant when PetroleUlIl Licensing Authorities will have to give serious consideration to the provision of this type of service. Providing appropriate sf',feguards were taken, it would be difficult to offer objections, but I think it would be to permit self service filling stations to be operated which were entirely unattende;:l, in densoly populated areas. There may be a case for isoL,ted fillint:; st2.tions in remote country areas being unattended.

Before cOORitting ourselvos to plastic and aluminium petrol tankers, I should like to see considertltion given in the face of ever increasing traffic congestion, to the possible consequences of a tanker being involved in an accident in densely built up areas, [md traffic conditions. I would also like to see comparisons made in t.he strength and probable fire resistance characteristics of the lighter fik'"'.teriQ,ls as compc,red to t he conventional construction of petrol tankers currently in use in this country,

95% of all new unclorgrouncl petrol t<"!.nks in my aren are installed in nass sulphate resisting concrote. This method is quick, more efficient, and cheaper the brick inst<"!.llation. Moreover, this mothod of construction is the better o,ble to resist and v;ithstand movement of th3 ground, or heavy vehicular traffic in the vicinity.

Is the Germ,m method really less expensive when ono considers the increased cost of the tanks, the testing of soil conditions, the provision of cathodic protection? There may be savings on the installo.tion costs, but these savings will be offset by increased administre.tion costs to the enforcing c:uthority, who are poorly recompensed from licensing fees as it is. For all the improssive statistics produced, I am confident the installation in mass concrote is safer and surer, allovring no m:'.rgin of error •

The special precautions in Germ?.ny which are required in high ground water situations, o.re nocessarily elabor,3.te, but I suggest Vlould not be necessary if our method of installation was in c OITll!lOn usage.

The German classific[l,tion of inflammable liquids impress me as being very logical. In this country, we o.re encumbered with legislation (e.g. Petroleum Consolidation Act, 1928) WIjich has not kept pace with modern development and technology, and nre faced with the farcical situation of rigidly controlling cert[Cin petroloum products whilst permitting far more inflammable substances to be stored and used without control.

Yours faithfully,

• • .. • • • .. •
-123-

Sir,

I have for some time held the same views as those expressed in your editorial in the last "Bulletin", with regard to our constructional requirements in the interests of safety. Whilst I fully agree that we must be certain of adequate safety factors, I feel that there may be occasions on which our present standards could be relaxed.

I have always felt that the field of petroleum administration is lacking in definite guidance on up to date materials and uses and it is in this respect that our Group has done much to fill the gaps of thought and application on this subject.

I would like to see some permanent co-ordinated Committee drawn from representatives of the Home Office, the petroleum companies, petroleum officers and pump manufacturers, to exchange ideas and problems connected with the installation and maintenance of petroleu;n tanks and fittings. I also feel it would be a very good thing if the Department of Scientific and Industrial Research could investigate the use of new materials for use in the construction of storage tanks so that petroleum officers could have the sure knowledge of recommendations by that Department as to the safety or otherwise of relaxing any standard.

Yours sincerely, STONE U.D.C., Staffs. A. AINLEY.

CONSTRUCTION OF UNDERGROffim TM"KS

Sir,

I was most interested in the account of the visit to Hamburg. It would be interesting to have some more information concerning the construction of the double skinned tanks and approximate costs as against a single skinned tank.

I note that tanks are protected by fibre glass and bitumen. Is the word "bitumen" correct, or should it be epoxy tar resin, as bitumen is soluble in petrol. I would also like to know of the tanks are shot or grit blasted before the application of the protective coating.

With regard to Mr. Halliday's article on the Cambridge Ullage Gauge, I would mention that copies of full scale working drawings of the Gauge can be obtained from my Office for the sum of 2s. Od. each.

CAMBRIDGE.

Yours faithfully, F •W. CPltTWRIGHT. Cont'd on Page 134.

124
• • • • • .. .. •

MISCELLANEA

REFORT OF mE. OF' )!;X.PI,OSI'TES

FOR ;TEE ENDED 31st D:;-:C-SFBW, t962 _. -----_.--

The report remincs us that the Carbon Disulphide (Conveyance by Ro d) HegtJ.la tions, 1962, (S.1. 1962 No. 2527) came into force on 1st DeceE.b"r, 1962 .smc1 raised the maximum qU[l,ntity of carbon disulphide may be conveyed in certain circl@stances from fourteen pounds to tVJenty-eii':,ht pounos.

appeals were submitted to thQ"iecretary of state under Section 3 of the Petroleum (Consolidation) Act, 1928.Dne case was vrithc,ravrn b:::fore the enquiry but in the seven remaining, three appeals were withdrs'vln, one was dismisseo. and three rem,:c;.ined unsettled at the; eno of th9 yoar. Of the appo<::',ls outstanding from 1961, three 'irere 1rithdro.wn, bTO; ere allowed, the conditi.ons of one licence were lftodified ,'ne: t "m re::L in.:;o. unsettled •

During 1962 reports were received of twenty-two convictions un(.er thE:; 1lbove'.ct, compareCl with twenty-one in 1961 • Those inclucled:-

(1) 1'hreo ccscs of keepint': petroleum spirit without Q liccmce.

(2) Cne case OT s·rvin petroleum spirit ·v:hilc smoking "I('S taking place.

(3) On.] case of unlicensec storing of petroleum spirit in a wooden store. Fines ["ne:. costs totalling £230 were imposed for these offences.

H.E. Inspectors again ask local authorities to send tmm pi:i.rticulars in all cases of proceedings under the o:l.ct within the territories under their Cie v:ould support this appeal and ask such p8.rticulars be also forwarded to the ·'!:ditor for publication in ;'1'ho Bullotin").

Partioulars of p8ti'01€um spirit tank waggons approved undel paragre.ph 6 (r) of Part II of the Ii'irst Schedule to the Petroleum Spirit (Conveyance by Road) Ro[Sula tions, 1957 are gi v(m' in appendix M•

Report of accidents in ';"hich petroleum s:oirit or petroleum mixturos were involved was thirty-nine. These caused the dee.ths of three persons c,no. injuries to thirty-five others.

22 accidents resulting in one death and injuries to 16 per'3ons "'01'03 rOI)Ortod: for the fifths successive year no accident nas reported in connoction with the loading of t,"nk v!aggons. One accident was associated with bulk distribution, and one with discharging a tank 7raggon, [,lthough no injuries to personnel accrued, from these two inciclents.

A 1000 ton motor vessel tanker was taking a cargo of pGtrol when an explosion occured in the engine room followed by a fierce fire; no casnlalti'Js vrere reported. Investigation sho,"ed that in the thd hai; beon filled tber8 Fa a hole which allO'."ed petrol vapour to e seD.pe into a pipe line duct which led to the engine room. The cause of the ignition was believed to be

• • • • • .. •
125

either sparks from thegenerdor pom;:lOtato,r-Df t:o·ntact with a hot spot in the donkey .bdiler.The hole· in .the ta'nk, caused by a severe scaline of the plates of the tank, had been there for some considerable time. This was the second time that this vessel had been involved in a fire. Control of the incident was achieved by extremely good team work betwGon the local fire brif;ade and one from a major oil company_

L spillage of about 800 Gallons of mixed petroleum spirit and tractor vapourising oil occurred whGn a tanker was discharging petroleum spirit into a 3-corapartment underr;round storage tank, two of which were used for storing petroleum spirit and the remaining one for traotor vapourising oil. The common filling line had a main stop valve and a separate stop valve for each compartment, all being hand operated. Although there was sufficient empty capaoity for the lo&d of pntroleum spirit, the spillage occurred because the filling valve to the tractor vapourising oil compartment, which was fairly full, had been left partly open. The fuel overflowed from the tractor vapourising oil compartment through the vent and dip pipes which rose only a few inches above ground level. The incident was due to (a) not checking all inlet valves and (b) inadequate supervision during discharging. The spilled material was contained in an excavation hole close to the tank and none escaped from the premises.

There were 13 accidents at licensed premise'8, both filling stations ancl private stores. 5 accidents Vie re reported causinf, injury to five persons at unlicensed prerrQses.

One accident was reported in connecticn with the conveyance of petroleum spirit, with no attendant injuries.

A 4000 gallon, 6-coIJpartment road. tanker collided '\;ith a gravel hopper and fractured one cOr:lpartrJent which allowed 300 gallons to escape. The spillage was iGnited by a nearby coke brazier. Severe damr:.Ge was done to the tanker, but no fracture occurred in the other conpartiJents "hich contained petrol, oven though the covers were forced. off as a result of the increased pressure caused by the petrol being heated.

Five accidents were reported in connection with use, three persons being injured. Ten accidents were notified in respect of repairs to vehicles and storaee pla1;.t,in which two persons died and were injured.

An explosion and fire occurred in a garage maintenance pit when a match was struck. A tray of petrol vhich had been used for cleaning parts of the underside of a car had been left overnight in the pit. Two men received injuries which proved fatal to one of them. Little damage YfaS done to the premis()s.

One accident, whilst a disused storage tank was being dismantled, was reported which caused the death of the operator.

A serious accident which occurred (luring conveyance of dangerous goods not Gt present governed by any statutory regulations is reported.

1'> lorry containing a Dixcd loae. amongst which was hydrogen peroxide and some organio poroxides was proceeding through West BroillVlich when the driver noticed smoke coming from his load. Realising the hazard of his load the driver the lorry to a waste piece of land, fortunately not far away, by which time the

126 • • • • to • •

load was on fire, and telephoned the fire brigade and then warned people nearby to keep clear. The fire rapidly assumed major proportions and in a few minutes the load exploded. Thirty twovere injured by the explosion, 28 being adults and 4- children. Fourteen people were injured in their homes, 8 were injured in vehicles and 10 in the streets. Of the injured, hospital treatment was required for 31 people, 5 of them being detained; there were no fatal casualties.

Eight accidents involved liquefied petroleum gas, of these three are of special interest.

A petroleum gas tanker laden with 12 tons propane was being driven towards London whm it failed to negotiate a roundabout and overturned causing a considerable amount of damage to the vehicle. The m.ain force of the impact on the tank was taken on the radius of the front G,nd plate causing a deep dent, and elsewhere the tank had been deeply gougod and dented. Notwithstanding the severe treatment the tank received, no gas escaped from it and later in the day the vehicle was removed by the Company without transfer of the load.

unloading a consignment of liquefied petroleum gas cylinders at a works, one of the cylinders (83 lbs.) fell from the delivering vehicle and split on hitting the ground causing escape of tho gas which was then ignited by a coke brazier 55 feet away outside the premises. The driver of the vehicle received slight burns and there was some damage to the premises. The remains of the cylinder, which was of foreign manufacture are at present under examination. The accident illustrates the fact that gas ignition can take place from a source at a considerable distance from the spillage.

During the course of road work a workm"n picked up a liquefied petroleum gas cylinder to it to an adjacent site when he found. that gas was escaping from the valve and it subsequently became ignited. The burning cylinder was dropped when it is thought the valve stem fractured releasing the gas and involving in the fire another cylinder which subsequently burst • Two men were slightly injured n.nd damage was done to a number of' shops and houses and other road vehicles •

Accidents are reported in detail, following an all too familiar pattern, many of which to quote from the report "could have been avoided by or by paying greater to rogulations desianed to avoid thom".

A copy of the Report can bo obtained from Her Majesty's Office, 35, Snallbrook, Ringway, 5. Pric8 2/10d. (including postage),

.. • • • • • .. •
-127-

by M. Stevenson, F.I.W.M.A., Chief Inspector of Weights & Measures, County Borough of Eastbourne. ------_._---_._- -. __

Before the Public Health Act of 1961 conferred statutory powers on local authorities regarding the enforcement of safety measures in cases where disused petroleum spirit tanks were found on any premises, my authority had taken what were considered to be adequate steps in this matter. Wherever possible, owners and occupiers had been urged to fill such tanks with solid material, e.g. cement slurry, sand, fine building aggregate etc., particularly in cases where there seemed little likelihood of the tanks being brought back into use again. In the majority of cases, however, where the tank was still in sound condition and there was a possibility that it might bo brought back into use, filling with water had been permitted. Although the Department was aware of a few tanks on unlicensed premises where no action had been possible, until extensive research was carried out the large number of derelict tanks in the town was not realised.

As a first step, Council Minutes and departmental records were combed from 1910 onwards and a list compiled of every underground tank which had ever beon licensed. Appropriate deductions werB made for tanks still licensed or known to be in use for fuel oil, those already filled with solid substance (30) and those known to have been removed (9). This left the rather alarming figure of 173 tanks to be dealt with on paper at least! Although this figure was reduced dubstantially on more careful investigation, the number of tanks requiring attention remained at over a hunared.

After consultation vli th the Home Office, the Council decided that all derelict tanks must be filled with either a cement slurry or a weak mixture of concrete. No objection would, of course, be taken to the reinstatement of tanks which were proved to be sound. Occupiers of premises where tanks were known to be situated, were informed accordingly and asked no notify the Department before work commenced. At the same time a careful search was undertaken for the "missing" tan.1{:s.

One of the first difficulties encountered when one of the many tanks which had contained water came to be filled with solid material, was the disposal of the contaminated water. After careful experiment it was found that pumping from the bottom of the tank, under supervision, into surface water gullies, was quite safe. If there was any suspicion that petrol might have passed through, the operation was stopped while water finding paste and an explosimeter were used. When nearly all the water had been pumped out, the residue was pumped into large and disposed of by tipping on to waste ground rem8te from any source of danger. In one caso, where the tank had apparently been filled hurri3dly in 1940, some 30 to 40 gallons of what appeared to be good quality petrol was disposed of in this way.

THE PUBLIC HEALTH ACT, 196//
128 • • .. • • • .. •

The next practical difficulty, where filling of tanks with weak cememnt or concrete was being undertaken, was the removal of pipelines and manhole covers, which were invariably in a corroded condition. Purnp Maintenance Ltd. would only carry out this work at the request of a petrolewll company, making it necessary for outside contractors to be called in at premises where petrol was not being stored. One or two of these oontraotors soon became skilled at the work, but in quite a number of instances contractors declined the work or gave the job up when they failed to make progress. A list of contractors willing and able to carry out the work of opening tanks and filling them in accordance with requirements was made available to persons notified of the presence of a tank requiring treatment.

In many cases, tanks had no manhole cover and the easy method of using ready-mixed concrete, poured directly in with the assistance of a stout wooden rod and added water, was not possible. The old "Angle" type tank was frequently encountered, which provided apertures of 2t ins. to 3 ins. only, and some means of funnelling the mixture in was necessary. A metal funnel, specially made for the purpose, was the usual solution, but in one or two cases, the sides of the manhole chamber were cemented in the form of a funnel a few days before filling commenced.

Owing to the natural "heaping" of oement or concrete when poured into a tank, it is always difficult to know whether the tank has been filled as completely as possible. The method of checking we adopted was to ensure that the quantity of material provided at the site was sufficient for the capacity of the tank to be filled. Three cubic yards per 500 gallons was taken as the normal requirement. With contractors who had not previously carried out this work, almost continuous supervision was maintained to see that the mixture in the tank was levered frequently away from the aperture with a wooden rod and watered sufficiently to make it flow reasonably well. No objection was raised to gritty sand being heaped alongside the tank, sprinkled from time to time with cement, and shovelled into the funnel provided, assisted by water from a hose which was left running at a trickle into the funnel.

In the first six months, 25 old tanks were satisfactorily filled and a further 35 during the following twelve months •

On having their attention drawn to the presence of old tanks, some occupiers reinstated them for the storage of diesel fuel, paraffin, waste oil etc., while others asked for time to consider the future of the tanks. In the latter the authority gave periods of three, six or twelve months, for a decision to be taken, provided the tanks in question were kept filled with water. Extensions to these periods have been given in some instances (e.g. possible alteration or rebuilding of premises). These cases give rise to the question : can a tank be regarded as derelict rather than as temporarily out of use?" No particular formula has been devised for dealing with this thorny problem and each case is treated on its merits.

In the case of three tanks, the owners insisted that they should be removed rather than permanently filled. Sterilisation by on the site was, therefore, required in these cases, the tanks being corroded and unsuitable for re-installation

• .. • • • .. •
129

elsewhere. It is, of course, necessary for tanks to be taken out of the ground before steaming, and for them to be placed with the apertures at the bottom so that condensed moisture and any deposit lining the tank will run out during the steaming process.

At the mOillent of writing, all except 11 of the 173 tanks originally listed have been accounted for. In the course of investigations, it was found that some of the tanks had been removed and disposed of after bombing during the 1939-45 war. Proof was also forthcoming that in the early years of licensing some had been reinstalled at other premises. In one such instance, casual conversation with a passer-by brought to light the remarkable coincidence that he had suffered a rupture when helping to lift a tank fror:l the site prior to its rerv.ova.l to another site. Several tanks had apparently been built over and in these cases, as excavation for the tanks would possibly be dangerous, letters were sent to ovvners and occupiers warning of the suspected presence of the tanks and informing them that should rebuilding or resurfacing tru{e place, the Council's requirements as to rendering safe must be carried out. In other cases it was found that, although "tanks" had been licensed for one, two or three years, they had never, in fact, been installed. Apparently it had been the practice in early da.ys to issue the licence before the installation had been r.1ado.

Inevitably, there were a few occupiers who ignored all informal approaches and notifications regarding the rendering safe of their old tanks, the probable expense involved being the likely reason for this. Such stubborn cases were reported to the Watch Committee who authorised the issue of statutory notices urliess the requirements were satisfied within one month. Only one such formal notice was necGssary, but a of difficulties came to light when the issue of notices was contemplated. The first of these concerned "Who is the occupier?" One of the tanks was on a car park adjoining licensed premises. Would the brewery company or the licensee be the occupier of these premises? In another case, the premises concerned were a large double garage let on a weekly tenancy to two car owners. Enforcement of Section 73 would lmdoubtedly have been more simple if the oymer or occupier had been made responsible for renclering the tan.1(··safe.

Another question open to a variety of interpretations is : What are "all such steps as may be reasonably necessary to prevent danger from the container?" If the owner kept the tank filled with water, would he have good grounds for saying that he had taken all the necessary steps? In such cases, would the Courts be likely to uphold a notice under Section 72 (3) specifying the filling of a tan.k with cement or concrete?

PETROL IGNITES AS TANKER OVERTURNS

When a petrol tanker was involved in a road accident in Radcliffe Road, Bury, and caught fire, flowing petrol extended for about 100 yards down the roadway and entered the sewers. An explosion occurred in the sewers, and the sewage works installation was progressively closed down until the petrol had passed through.

130 • • • • • • •

Chief Fire Officer J.E. Andrew, G.I. Fire E., in his report of the incident, says that the call was received by Bury Fire Brigade at 0938. A water tender, pump escape and emergency salvage tender were sent. The police were also informed and an accident brake and patrol car were dispatched.

On arrival it was found the 2000 gal. (five compartment) tank carrier had separated from the Leyland Comet diesel tractor and rolled over in the roadway, spilling petrol which ignited.

The tanker, vehicle and flowing petrol, extending for about 100 yards down the roadway, were involved. A mini-van in the path of the flowing petrol was well alight. Nearby house and shop premises were seriously exposed.

Another water tender and further supplies of foam compound were requested by radio and the Sewage Works and Highways Department informed that a considerable quantity of petrol had entered the sewers.

Soon after the arrival an explosion occurred in the sewers and three sewer manhole covers were blown off.

Two FB 5X foam-making branch pipes were got to work from the water tender supplemented from street hydrant and jets from street hydrants run out to cover exposed property. The fire was rapidly brought under control without further incident.

In the meantimo the police closed the road, diverted traffiC, instructed people to evacuate houses and shops and warned persons in the vicinity to extinguish all naked lights and cease smoking. The immediate polioe attendance, fully equipped with road block apparatus, diversion signs, public address equipment etc., provided invaluable assistance.

The tractor and Scaoonell tank oarrier were severely damaged by fire. Several aluminium alloy fittings including part of the manhole oovers had melted. The tank shell, although oonsiderably distorted, appeared to be intact.

A mini-van was destroyed by fire, and a car and van slightly damaged by radiated heat. The external paintwork of five houses and five shops were damaged by radiated heat and ground and first floor windows cracked. There were no casualties •

Petrol first arrived at the sewage works two hours after the accident. The manager considered it necessary to progressively close down the installation as the petrol passed through. Four hours elapsed after the first arrival before the works was clear of petrol and petrol vapour.

The accident was caused by a skid, says Chief Fire Officer The vehicle went out of control, jackknifed, and struck the parked mini-van a glancing blow. The tank carrier became detached and rolled over in the roadway.

In rolling over, the compartment manhole covers were damaged by oontact with the granite sett road surface and a spillage of petrol occurred. It is assumed that the vapour was ignited by sparks caused by the steel tank and fittings striking the road. The tractor remained upright and halted on the opposite side of the road to the carrier. The driver, who was uninjured, left the cab as burning spilled petrol set fire to the vehicle •

With aoknowledgements to "Fire".

• • • • .. • •
131

DANGEROUS LEAKAGES AT GRIMSBY

CONTRIBUTED BY F.M. Bucknall D.P.A., F.I.W.M.A.,

I Chief Inspector of Weights & Measures, Grimsby.

L _____ ._. __ __

The simultaneous leak of petroleum spirit from two underground storage tanks, and of coal gas from an underground pipe-line, presented the Grimsby Department with something in the nature of an situation recently.

The sequence of events ran as follows :-

"During the afternoon of Wednesc..ay 29th. January, .L:;.":I4-, a complaint was received of a smell of petrol in the living room at the rear of a newsagent's shop at the c'orner of Wellowgate and Abbey Road, Grimsby.

Explosimeter tests showed a reading over a small area of the room floor beside the chimney breast. A fire in the room was immediately extinguished and the occupiers were advised not to light any more fires, or to use any appliances capable of igniting a mixture of spirit vapour and air.

Seven underground storage tanks within a radius of 300 yards of these premises were immediately put under test (dip-tests) and sealed. At the same time arrangements were made for nitrogen or air pressure tests to be applied the following morning.

Atmosphere tests were made in adjacent drainw and sewers, with negative results. However, similar tests in all cavities in the area revealed explosive mixtures in five manholes nf different services, e.g. water, fire hydrant, G.P.O., gas etc. These services were at once warned of the position.

At the same time the floor boards of the newsagent's living room were removed, and enquiries made at all surrounding premises with a view to ascertaining, if possible, whether there had been any spillage of petrol, e.g. at a filling station, in any private garage etc.

The removal of the floor boards revealed a higher concentration of explosive vapours. This particular room backed on to a yard belonging to a neighbouring garage and containing a large above-ground tank used for storing waste oil etc. The enquiries showed that some weeks previously this tank had overflowed. The yard surface (of tarmacadam) was clearly contaminated with waste oil. The question therefore arose as to how far this waste oil might have permeated through the porous surface of the yard, and found its way under the footings of the building into the complainant's premises. The yard surface also sloped towards the street and the area of the contaminated cavities.

A trench was, therefore, dug in the yard and along the house footings in order to make some assessment of this possibility. At the same time warning notices were posted at the various contuminated spots in the street, and a twenty-four hour watch was by members of the staff working on a 3 hour shift.

Half-hourly explosimeter readings were taken at all contaminated places and graphs plotted of the valuGs ascertained and of the times. Residents in the neighbourhood were informed of the position, and regular readings taken of their premises as a further safeguard.

132 • • • • •

The following morning tanks under test were leaking. on a filling station forecourt, complainant's premises.

it VlaS found that two of the seven Both tanks were sited side by side and ",'ere within 30 yards of' the

These tanks were emptied of' petroleum-spirit. Within a few hours the readings in the newsagent's premises, and in the f'ive street cavities began to show docreasing percentages of explosive mixture. Since there was no sign of petrol in any drains er sewers it seemed reasonable to assume that the spiritWlich had leaked from the tanks (it was later ascertained that in both cases the leaks were in the upper parts of the tanks) had soaked into the sub-soils and had then convected along various service mains, to accumulate in the f'irst cavity reached.

The two defective tanks were, therefore, filled with water with the intention that the resulting loak would help to drive any petrol vapour through f'or dispersion at t he various street cavities. At the same time road and footpath excavations were made at appropriate and calculated po.itions to help to liberate and disperse vapour trapped under the road and path surface and held in the compressed chalk "ballast" by a Jnyer of clay immediately underneath.

This appeared to meet with some success asfora f'ew hours afterwards the explosimeter readings showed increased readings, which were again followed by gradually lower readings.

EventuaJ.ly all the danger spots gave a nil reading except one, which was a f'ire hydrant SOIlla 15 yards from the site of the defective tanks.

Here the readings showed the presence of' ooal-gas, and an examination of our graphs gave added reason to suspect that this was so. The persistence of an explosive mixture in this one cavity, after all potrol haCi been removed from t he two leaking tanks, was of course, significant and the graph readings showed that the values plotted increased through the night, deoreased from about 7.e a.m. to something after 9.0 a.m. after which they increased slightly again, only to have the pattern repoated around mid-day and again in the later afternoon and evoning.

Just how long the gas leak had been present and disguised by the presence of petrol vapour is not known •

However, the Gas Board were thanc aJ.led in, and took over the excavations we had ma.de, eventually traoing the leak to a defective supply line.

This closed the incident, and subsequent check in all the various places where explosive mixtures had been f'04nd showed no indication of either petroleum-spirit vapour or of caalgas."

The t"l70 tanks were both very old, having been insta.lled in December, 1925 direct into the earth. Both had been tasted only 11 weeks previ:)usly when no leakages had occurred •

• • • • •
-133-

SPECIAL MEEl'ING IN LONDON 4th iV1arch, 196h.

,!1tESENT: 11essrs. Griffiths, Cave, Dean, :trJatthews (Representing the 'Jest Midland.s) De,lo and Walsh (L.C.C.), Peskett, (Surrey Group) Loten.

The Meeting was convened to consider amendments necessary to the Constitution on the amalgamation of the V/est and East Midlands and from that point to the formation of a National Body.

1. Alter the existing Constitution so that

"Membership shall be open to any Loc£:.l Governr;!ent or Harbour Authority and their Officers charged with the administration of the PetrolGTJIn Acts".

2.

Alter tho title of the Group to the one recommended by the Executive Committee, firstly by amending it to "The Midlr:.nds Petrolewn Acts AClminis tration Group", and then immediately by a second motion to "The Association for Petroleum Acts Administration".

3. Take steps to keep the prosont Executive COrr'J1ittee as a "Caretl),ker Committeo" until the new Association is officially inaugurated at a Specin.l General lileeting. Co-opt on to tbe Committee Messrs. Dc.le, Peskett, Loten, Crook, Cartwright (the Steering CO::-lDittee), and Matthews.

4. The New COT:udttee to prepare the Constitution

ready for a Special General Meeting in, st''-y, October of this year.

TRENDS. (cont. from Page 124.)

Sir,

I read your eaitorial in the January issue of the "Bulletin" with considerable interest. You comment that our methods have always been considered essential in the interests of safety. I think they are still; and the adoption of continental t rends does not, in illy (lpinion, contribute to t he maintenance of this standard.

Economies do dictate standards of safety and this should not be forfotten when indulcing in the re-thinking process.

Yours faithfully, W. SMITH. STOKE-ON-TRENT •

-134• • • • .. •

THE EXECUTIVE COMMITTEE

Present

MINUTES OF THE EEETING Q.F EXECUT 1. VE CQiiJii.ITTEE OF THE

Held at Solihull 10th February, 1964.

H. Griffiths Esq. (Chairman) and Messrs. Beeby, Bloor, Dean, Gee, Holdaway, Roden, Sharp and tha Honorary Secretary.

JOINT MEETING-31TH LONDON AND SOUTH REPRESENTb.TIVES. The· Chairman referred to the Joint Meeting which to take place in the afternoon and outlined the events which had led up to it. It was agreed. that until the representatives from the South had submitted their argumonts, the Executive adhere to their previous decision, but that all possible assistance would be given to the South.

LICENCE CONDITIONS. Mr. Gee said he hoped to have these ready for the next Executive Meeting.

PROPOSED BRLNCH FOR EJ.ST MIDLl:J'IDS. After discussion it was felt thnt the formation of a Branch in the East Midlands could be best brought about at a Special Meeting of the Petroleum Officers in area, attended by representatives from the West Midlands, at which an Executi ve Committee and Officers could be appointed. The Chair;u1'.n was requested to seek the support and Ilssistance of Mr. "if .H. Matthews (Derby), in arranging a venue.

LNNWU, GENERlili MEETING. In accordance with the intir..liltic:.n given to the East Midlands Petroleum Officers th,:ct endeavours would be made to hold altornate meotings, the Honorary Secretary was asked to contact the representative for Burton-on-Trent, Mr. J. E[\ston, Chief Public Health Inspector, to that end.

MID-iVEEK SCHOOL. The Secrotary reported several to the fee required for non-residents taking the Course and attending for moals. Resolved: That in these cases the fee be one guinea for lecture and meal one half-day, and two buineas f or lecture and mGs-Is for one full day.

CORRESPONDENCE. Storage and Licensing of Butane and Liquid! Petroleum Gas. A letter from the Home Office stated that at present there was no legislation governing the storage of these substances amI that they c oul\: only rr:ade subject to licence if they cere associatod vnth, and may prej .ldice the safety of petroleum spirit kept under that licen0e •

• • • .. •
-135-

The Honor-::,ry Secretary ree"d a letter from Mr. E ./1.. Lyne (Warwick R.D.C.), in which he offered to arr::mge for a Group Meeting 1':.t Leamington Spc:. when convenient to the Group.

APPLICATIONS FOR :11lE11BER.SHIP. The Honorary Secret1':.ry reported three applications for nemborship. The Committee agreed they be accepted.

Jonrr MEETING.

Mr. Griffiths extended !.1. sincere weloome to the visitors, Messrs. Dale (London County Council), Loten (City of London) and. Peskett (Godalming), expressed the hope that the deliberO,tions would be to the satisfaction of all.

He traced the course of events at and since the original meeting in and explained the reason for the present meeting, stating that while the Executive Committee held to their previous decision, every possible assistance would be given to the visitors in their desire to proceed on a National basis.

Mr, Dale informell the meeting of the position of the London County Council in matter of this sort so'yin[: that the London County Council could not be with the suggested National Body.

Mr. Griffiths pointed out the difference of opinion revolved round the principle of a Local "\uthority Association or an Officer' s In the oonsiderable le ngthy discus sion which followed, Mr. Loten nado an impassioned appeal to the Executive to bear in mind the harmful reaults which would ensue if two separate Bodies were to c omu into being. He urged thE; formation of an .hsso(;iation which would admit both the Local i uthorities cenll their Petroleum Officers. He was ably supported by Mr. Peskett.

Mr. Gee proposed an'l Mr, Radon seconded tho.t the West Midlands Consti tuti'm be amended to read as follows:-

"Membership shall be open to any Local and Harbour Authority and. any duly appointed Petroleum Officer".

This was agreed. The Proposal will bo submitted to the Group at the j':JlIlual Meeting in the form of a Notic3 of Motion.

At this stage, the TGwn Clork of Solihull, Mr. W. Maurice Mell, joined the meeting and was introduced to those present by Dean. 1W. Mell was able to a. nt!li.bar questions relating to t he formation of a \ National Body of Petroleum Administration, ana. an opinion that there need be no difficulty in forming an Association in which membership was open to both Local Authorities and their Officers.

-136• • •

PRESENr

MINUTES OF THE MEETING COMMITTEE OF THE GROUP

Held at 25th February, 1964 •

H. Griffiths Esq. (Chairman) ana Messrs. Beeby, Bloor, Dean, Holc.away, Roc1en and the Honorary Secretary.

Apologies were received from Messrs. Beer, Gee, Hall and Sharp.

LICENSING CONDITIONS. Owing to the absence of Mr. Gee this item was again deferred.

TITLE OF PRO?OSED BODY. A number of suggested titles were considered; the one which the Committee thought most suitable being "The Associatir.:m for Petroleum Acts Adminsitration".

It was resolvecl that this suggested title should be put in the form of a Notice of Motion at the Annual Meeting.

FUTURE OF "THE BULLETIN". Mr. Holdaway (Editor) explained the difficulties which w:;uld be encountered an the productLm of "The Bulletin" on the scale which an enlarged Group would necessitate. He c)ntemplatec1 production until ;l.pril, 1965, i.e. Volume Ill, but could not f orsee further producti 'm. Mr. Dean promised to make enquiries with tr) costs of printing etc.

CONSTITUTION. It was stated that if the Annual Meeting accepts the Notice 01' Motion above, the present Constituticn will have tc be amended or re-drafted. To this end it was that a meeting be arrangl0d between the Chairman Mr. Dean and the Honorary Secretary with Messrs. Loten a nil Dale.

JINNUAL HERrING. The HonorD.ry Secretary repc-rtetl that this would be held at Burton-on-Trent the date efJing Tuesday 21st April, 1964. As hitherto, the morning session will be occuIJied with Group Busines s • In the afternoClll Mr. R.E.J. Roden, Senior Fire Escape and Petroleum Officer, City of Birmingham, will give a talk on "The il.dministraticn of the Petroleum Acts in the City of Birmingham".

CORRESPONDENCE. It letter from Mr. Bloc:·r, enclosing a cutting relating to Mobile Filling The opinion of the Cormni ttee was the. t such vehicle s shrmld not bo lic (i •

J,NNUAL SUBSCRIPTIONS. Your Committee were c)f the opinion that with the adve;;r-of a National lissociatinn, the consoquent ac1ministrative costs in all fields coulel not possible be met by the present rate of It is theref:;re recommonded that, as fr':'m 1st January, 1965, the Annual Subscripti:m be as f;)llows:-

Local Authority Associate Members • • • ...

£2.2.00. £3.3.0(1 •

APPLICATION FOR MEMBERSHIP. The Secretary rO:;."lorted three applicatbns f,:;r membership. The Committee agreed they be accepted •

.:,. . •
.. •
-137-

GROUP MEETING

A meeting of the Group was held at The Stafford on Wednesday 22nd January, 1964. There present:54 Local Ji.uthority Representatives, 9 Associate Members and 3 Visitors. A record attendance for a Group Eeeting. 13 apologies were received.

'J.'he Chairman, }!ire E. Griffi ths, introduc6c1 rhe ';{orshipful the Mayor of Stafford, Alderman A. E. Collins, C.C., J.P. and invited him to open the proceedings.

Alderman Collins extended a very warm and sincere welcome to l'Iembers and observed that although up to a few weeks ago he was not aware of t:1e work tile Group was dOing, he was now able to express his admiration and appreciation of the manner in which the 'Vest Midlands Petroleum Officers were performing a serious and sometimes dangerous duty. Fe- congratulated the Group on its work and 'I'd.shed 1<,embers a successful session. 0ther business awaiting him, 'fhe Mayor took his leave.

'rhe Business portion of the Meeting then follm;ed.

J:'he Chairman extended a warm welcome to the follm'ling representatives of East I\Iidlands Autllorities:- Councillor Mrs. H. i<o BroWl1 ChrksVlorth U.D.C., Derbys.) and Messrs. G. F. Fyfe (Market BosVlorth R.D. C. , Lincs.), B. S. Pike (Marketlarborough :.D.C.), J. U.D.C.) andnW. (Loughborough fl.B.C.) and to t,"e Vlsltors.- lessrs. J.,. LattDews, late Stafford M.B.C. (Retired), J. late Fewcastle-under-Lyme (Retired) and E. L. J. Rjrley, Salop C. C.

Tl18 Reports of Group and Executive COL'rrU ttee Meetings recorded in "The 5ulletin" vvere agreed, together vii t11 a Report of the Special I!ieeting with representatives of East Iddlands at Derby.

The Chairman then proceeded to explain i tens from tile Reports and invited comments. In particular, Le referred to the finalisation of the Group's Electrical Requirements for Forecourts, Kiosks, etc. and hoped that }Lembers Vlould nOH recommend to their Local Authorities adoption, thus making a furtber adval"!ce towards uniformity of administration.

1Tr. nall proposed and Mr. Bloor seconded IItllat these recommended Requirements be now al;proved". 1:'his vms c2,rried unanimously.

Mr. Beer informed t]:;e Eeeting it was hoped that draft Licence Conditions would be submitted to the next met.:Oting of the :Sxecutive Committee.

The Chairman referred to tile resolution passed at the joint meeting lleld at Derby <l'oncerning the title UTILe Association of ?etroleum AdrninistrationH • ;1e said this RGsolution was aonsidered at great length by the Group Executive Committee at which it was felt that the identity of the Midlancls should be illaintained. 'rhe Oonmittee were of the opinion that the title of the new Group consisting of the \vest and East Midlands be "The IIddlands Petroleum i cts L.dministration Group" • 'le inforrJed members that a Notice of Eotion will be submitted at the ":l.nnual ;,eeting in to approve the latter title.

-138• • • • •

Following discussion on the desirability of licenoe conditions coverin 0 the storage of Be-etane and I,iquid Petroleum Gas, the Eonorary Secretary was instructed to ask the Home Office for its view.

Tlcis conclucled the busiEess portion of the Neeting and the Chairman then called on Mr. J • .! Sl:arp to give ID-s talk on "The Interpretation of the Group's Electrical Requirements for Forecourts".

In intro(l.ucing the subJect, Sharp -oointed out that the reqt).irements in no way imposed too onerous a ccndition on the occupier or owner of the garage or filling station. Furthermore, the requirements referred to new but where existing premises wore being mod.ified or alterations were being planned, then t:1e Code shocld oe very useful ir-l l,elping to improve the standard of the elect:dcal installation.

1 Ca) defines the area, which is similar in content to t>at called for in the Home Office Model Code • Cb) (i) Speakil1b this clause simply means that everything electrical must be of the type stated and installed within the limits prescribed.

Readers may query the necessity to have a zone t>utside the flameproof area wbereby totally-enclosed flttings are "a must". Incic.entally, for want of a better term, I will refer to this as "the ·r:Lle zone ii •

Up to 4 ft. from the floor level everyt:int?; must be of flameproof construction, but at 4 ft. ?Ii Wh9.t should we do? Is it safe at trds hei{:"t to use, for instance, an exposed flame? This, in the Committee's opinion, is a lit cle too drastic, Lence tile introdL,ction of the blue zone. This will not embarrass the l.'.5er to a great extent; 1;/e are dealing with forecourts, and watertight equipment is necessary. This equipment, if of watertight design, will cltnfnrm to our definition of I;totally enclosed" Csee 5 (ii) ).

(b) (ii)

You may think that we are being a little harsh in crmdernning the use of socket outlets, but it is from such outlets that fire hazards usually emanate. If you provide sookets" thep these permit the use of any type of electricl3.1 equipment, e.g. electrio fires, portable lamps not complyinG wi"Gh the Regulations etc. VIe are not being resi:;rictive in this, as it is possible to use any type of eleccrioal equipment by simply connectillg it directly to the circuit and not through a sooket outlet.

( c) ( d)

This clause is fairly clear in its requirements .and needs little, C'r no clarification.

It will be r.oted that this clause does not permit sorewed galvanised conduit to be buried in the grGund. This is in accordance with the !:tegulations issued by the Institution of Electrical l:..bove ground, however, this wiring system can be used providing the conduit is solid drawn •

• •
-139-

Tc,nker Stands

The tanker stand c area has been defined as being 30ft. x 16 ft. The r equirouonts are similar to the gGneral requiroIJonts, with t ho exception tkt the blue zone has been extended to 17ft. froEl ground level, for obvious roo.sons.

Ql£..use 3 Vent Pi£.es

This Clause, together with kppondix t t requires no clarification.

Clause 4

This requirement covers not only neon signs but any fi ttinc; using tubes where high is presnnt.

It is a statutory requirement that all outside high voltage lighting must be controlled by a firon,m IS switch so thB.t the low vol taco sUIYply to tho transformer be isolatod in cases of eEergenoy.

The-1efinitions and. notes (i) to (vi) neod no olarification whatsoever.

Note (i v) has siL"lply been inserted to TJake Petroleu111 a ware of t he fact th:-tt clischarce lighting is used, oontrol genr hEeS to be provid.ed ancl this shodd not be mounted in the ba,se of the lighting oolumns unless of flameproof design.

You Hill note that in Cv) ancl (vi) the Executive Committee will review these requirer;;cnts as and when new equipment is produced. ...

Mr. Bullens (Walsall) was il),terested to know if it was possible to (et fl&Doproof typ9 tubuln,r heaters. In his experience he had not found any that wore.

"There are sevor["l manufacturers makin L; flllIlleliroof tubulnr heaters, Buxton certifiecl".

Mr. J. Trio (Shell-MexanclB.P. Ltcl.) was of the opln:l.onthd there wr.s not much heat given from :flaP-lcproof tubular heaters.

"Agreod, but if one tubuls.r hoator was insufficiont, then tYro, three or more coulcl 1')e provided".

Mr. R. Conley (ChaD-dIe R.D.C.) : "Should controlled oil-filled heaters within 20ft. be flarwproof?"

"All heating applinnces within the hazard aroa must be of flar.:eproof construction, [m} whure thermostats are fitted 4ft. or below from g'ouncllevel, these Dust also be flameproof".

Mr. J. Beer (Worcester) "I take it that this requirement will apply to new or reconstructed fillinc stations".

"Yes. This point wes made in my opening rone.rks".

Clause 2
-140• • • • •

Mr. Crossley (Meriden R.D.C.) "An electrical cash register has a flexible wire but is purnanently plugged in. Have you any objection to this?"

"Appliances of this type should not be supj)lien with flexible connections, but should be connected directly to t he fixed wiring".

Mr. Crossloy (Meriden R.D.C.) "Pitch-fibre ducting is being used to provide the supplies to pumps etc. Hovi are these flameproofed?"

"Pitch-fibre ducting in itself is not considered fla::leproof, but the cables that are drawn into these ducts I'lUSt be of flameproof construction. It is recomr.ended that both ends of the duct should be adequately sealed to prevent any petroleum spirit travelling the ducts. The seal, in my opinion, should form a complete flameproof barrier".

Mr. S.V. Robinson (Brierley Hill)

1. "Are electrically operated cash registers considered intrinsically safe?"

2. "Can Fluorescent lighting fittings be obtained of a totallyenclosed design?"

1. "Cash registers are neither flameproof or intrinsically safe, and it is entirely up to the Petr,leum Officer whether to accept this type of register when they come within the hazard area" •

2. "In clause 5 (ji) of the Requireoont s , you will see that we have defined a totally-enclosed fitting which is readily available".

Mr. Hamlet (Electrical Contractors Association) "Agreed that electrically-operated cash rogisters were not flameproof or intrinsically safo".

Mr. K. Hughes (Stafford) "Why is it necessary iD have totallyenclosed fittings between 4ft. and 7ft. as called for in clause 1 (a) (i)?"

"In the first instance, the Model Code calls tor fittings, 'of an enclosed design' and as explained in my opening remarks, there must be a zone where the hazard diminishes. (You will recall that I have referred to this as the 'Blue zone'). Furthermore, as previously explained, the cost of putting a totally-enclos8d fittin[ vuthin this area would not increase the oost to the user as he would be faced with supplying a watertight fitting on the if'ot:ocourt".

Mr. Spencer (Stoke-on-Trent) equipment critical?"

"Are flange gaps on f'lameproof

"Yes. These gaps should always be left clear of such as gaskets, washers etc., as this is nn integral part of the fitting design. For Group 2 gear with which we are dealing, the gap should be 16/1000 of an inch".

Mr. T.H. Keith (Wednosfield) sets intrinsically safe?"

"Are standard G.P.O. telephone

"A normal standard G.P.O. telephone set is not intrinsically safe, but instruments for use in hazard areas are available".

• •
• •
-141-

Mr. Bullens (Walsa11)

1. "In placing vent pipes against a building, what is the position if an open window is constructed in tho side of the building near tho vent pipe?" .,

2. "Do you consider a sales kiosk near a petrol pump to be a building?"

1. "There shoul'd be no open windows in the circumstances mentioned, but if wind.ows have been provided, then they should be permanently closed ancl adequately sealed to avoid any ingress of petroleum vapour within the building".

2. "Kiosks can be definitely described as buildings and they should, wherever possible, be kept outside the hazard area".

Mr. G.H. Harvey (Dudley) asked if underground wiring to prevent frosting of the forecourt within the hazard area was dan,,;erous.

"No. The wiring is directly embedded in t he concrete and the element temperature is about 150 oF. Care, however, should be taken to see that the wiring connecting the element to the circuit is outside the hazard

Mr. Bullens (Walsall) "On the inspection report to be completed by contractors on the periodical inspection of petrol pumP,s, I understand it is difficult on the insulation test in certain weather conditions to obtain a reading above 1 megohm".

"Under certain very humid weather conditions it would be possible to meet this situation, but you should see that the contractor puts down the actual reading at, the time of inspection. Moisture around the connections of fusegear, switches etc. will reduce the resistanco of the circuit, but I think I would begin to suspect a circuit which was much below the t megohm."

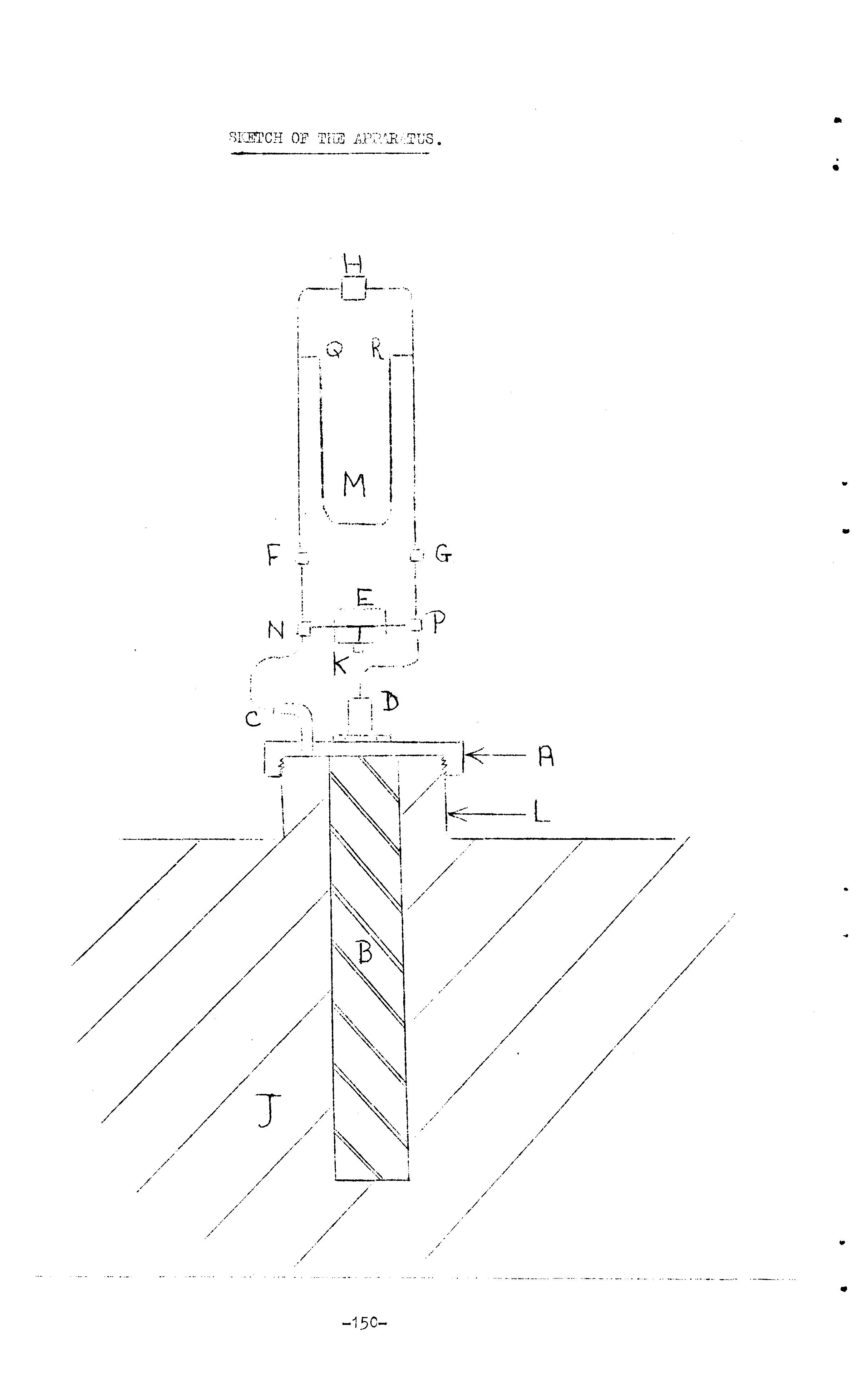
Upon re-assembling after lunch, the Chairman reminded delegates that this would be in the form of an Open Forum, and on intnoducing the two protagonists, Messrs. J. Beer nnd D. Hall, referred tQ the array o'f gauges, tubes and equipment assembled in front of the audience. He upon Mr. Beer to present his paper

"CORRECTIONS NECESSJillY IN TANK TESTING".

It always annoys me when a fitter, 'after there had been a small drop in pressure on a tank test with which he has been concerned says "Oh, thnt should be 4-:!.right, they always rulow me a quarter of a pound in Timbuctoo".

I experienced this remark in one particular instance, where, after correcting for temperature and barometer, there had been a drop of one-eighth of a pound. As it was a Saturday, I suggested that nothing would be lost if we left the test on over the weekend, and if' everything was in order the pressure would revert back to the original. The site was at t he bottom of a small hill from each direction, and over the week-end, due to violent thunderstorms the excavations nearly half filled with water. This f'ound our leak f or us and it was in the welding of a seam. It is true that it was only a pin hole and may not happen frequently, but I think it is apparent that such small leakages could get through and amId create unnecessary hn,zards.

,. IF ., !if.
-142• • • ( • •

I have gone to some lengths to make this point because,I fesl we should apr;roach the matter of tank testinr with a little more·precJ.sJ.on. I feel we should have more of 11 laboratory ap.L)ro11ch, rather than allowing some sn13,ll arbi tary figure of one quarter or one half of a pound for possible errors.

In other words we sh(:uld mD.ke the necess·-·ry corrections, but shcmld rnc.'1ke no all{)wances.

It is really about such oorrections and simple apparatus for applying them that I want oainly to talk.

I do not propose to deal in my initial remarks with spetJial tests on special tanks, but rathur with the every-day gas, bEl it air or nitrogen, testing of ordinary 500 3000 gallon underground tanks.

Basically, all we have to do is to apply 11 jJressure generally 10 lb'/sq.in., which is rcgisterect on a pressuro gcmge and if there is no drop in the indicate(l pressure after a p8riod of usually 24 hours, the tank is as sound. How delightfully easy it wO',lld be if it WRS as simple as that. But I am afr::1id this is not so. We are troublErl with Boyle's and Dal ton or Charle s ' Laws.

I am sure it is not necessary for me to go into these in detail, always provided that I was able, but ynu will remember that in:/' 4

"'-'- Boyle's Law the volume of a ,given Taass of gas at constant temperature is ,inversely proportional to its pressure.

In other words PV = P'V'

In Dalton or tho voluno of a given nass of gas at constant pressure is proportionate to its temperature.

In other words v = V' T T'

Now, combining both Laws T Tt"

'Where P V T

PV = P'V'

Initial pressure pI Initial volume VI Initial temperature T'

Final pressure Final volume Final t empe rat ure

(The temperatures and pressures baint: stated c. s Absolute)

As in the case of a tank we may have under test, the volume is constant. Then we have :-

P == P' T TT or P X Tt = T x pr

Vfuat, therefore, I suggest we must do is to take both the pressure and temperature of the gas in our tank accurately and in absolute figures both at the commencement and finish of a test and apply the necessary corrections ::md it is here that I may run into some lack of e.greement •

, • I • •
-143-

But let mo !!,et one ,mt of the way. I thin."i( you will aGree thnt re (irop in teiJport:.,',ure '.'rill c,o,use clrup in pressure, anJ vice versa, but ho·.,,; rrmch? I ".;ill explain the r:;"..thematics a li ttlc L1.ter, but WQul( ask Y'u here t;J Qccopt [, fL:uro of '" ·09lbs. or 1/11 lb. for oach 1 'lCcntiisr:c('e variati'>n [:,nJ, as you will be Suchv:lriation cem be r1.iroctly ascortc..ined by ordinary thermol:ioter, a1;)solute 2er') beinc, 273')C l:0l r)1'I zero.

The other point, and the onc) which usuf.lly rresonts some arf,ument, is on the questLm of for barometric pressuros.

Now absolute zero pressure is a perfect vacuum is, in fact, the heitht of t ha 1:nToLleter below its level at the time of re,3.,ling. we have 118 fixed }:Joint, 3.S with the thermor;leter, from which to start, as the orctinl:!.ry, or Dour,ion tube pressure gauge is simply a c0mps.ritor of th'e' pressure in the vessel which is being moasurec1 with the: pros sure 'Jf the f["s in our case the atm8sphere in wh:i.ch thf'; whole thinG is situated.

To state S0Lle figuros, the height of tho stOlnclarcl DQrCury b.<'.rometer is 30" v/hid] rGpresents EL pressure of 14·7 lbs/sq.in. If, therefore, atmospheric pressure vari0s lotw8cn start and finish of !J. tGst, our (the CELuge) will be effcctori. In other words, we must r:1ake EL c orroction for bllromGtric variations.

Nothinr can convince like a practical demonstration, 'cnd I have ther<:::fore brou[ht alonr a little "bit of home ;";i3"le app2.rntus and here I shoul,l say "with apologies tn !vIr. HOr",th Robinson". First of ::,11 t r-, derilonstrate a teETorature fluctuation.

Here we have a small air-tight container connecte:1 to a pressure gauee into vrhich rIG put a (md then will vary the ter:lpDr2.turG. See the affect when I 1)1;:'c8 the cont[lincr first in hot water and then in cold first the pressure rises ancl then falls.

Now to Jemunstrate fluctuations of b2.rometric pressure.

Hero we have a small ccmtr.iner with gaugo attached, both of which are in an outer container to v.'hieh [lls:) gauge can be attache,l. A pressure can be put in the inner cc,ntriner (fror;. the outsi(1e) representine c, tank uncleI' test, :::.rounr: which the pressure can 1w in tho outer cmtp,.iner, reprosonting atmospheric IJressure.

If I now I')ressurise, or cvc:·.cute, tho inner ccntainer,with a certain IDE,SS of gas vihioh, as there is no leak:;,[;e, will reI:lain :.1 constant, and without any outsirle influence other trcn changing prGssure in the outer containrC)r, the inner gn.uce moves down or up r'1.ccordintS to whether I inerc[>,st) c,r cLecrease the c) ut ET pressure, this -I think clearly rle;nclDstrates tha,t barorm)tric variations affect the inc:licated pressure of a t[;mk under test.

This is exactly what happens let me sho".',' you cmd as YU1,; see the pressure in the inner contain8r mOV0S thG samo 8.JilcJUnt, but in the op::,osite rlirection to t hs.t in the c)uhJr container.

HaVing, I hope, convinced you that variatLm of tOi'l1p.orature and baroDoter do affect tho issue, it now remains 1':,1' :r,e tu show whether the v9,riations which are experiencod in practice are siGnificant.

-144• • • , .. .. •

Graduated

SIMPLE MERClffiY

AND

TUBE GAUGE TO

TEST

OTHER SIMILAR GAUGES

!-----------------------, I 1-" i i L I' 1- ! 1-.· I I- j ->F.:-ll. F :, i 1-·' .:

BOURDON

Considering barometer of 30" mercury is equal to atmospheric pressure of 15 lbs/sq. in., the 211 on gradunted scale should be equal to 1 lb/sq. in. shown on gnuge under test. .' . ..,....<;:::.-__-.Bourdon Gauge \ under test. ;1 ./

Housing. i test gauge visiblE) through gb.ss pano

J -I; 1--' ; :', I -"--j i-' _-..1\,

Control valve 1- ; i Glass Tube: !-:- I I ----f---.-----1·:::..r' ·1 \ \ of. ;! ",-.... - / .\-<.) Smell Bore : I:: ,! -. f1 ' -.--.. .. I';" '/. ./'/ ; " /'''..-1 I It

// -- r --I,--;r· -

Mercury , .. For test pressure. ..-':. /" F, e. ! 1/.;"

Container of very largo I/" J ./ --;------- din-mot er c ompared with .. small bero of tube.

SIMPLE APPARATUS TO DE:Ii<ONSTRATE THE EIt'PECT OF ,/

VP..RIATIONS 0]' BARmffiTRIC PRS.3SURG. -'---"'-.., ".

Gaugo indicating in outer /'-",container. I \ I \ \ I " ) C07tro vD.I ve " / I " ----- .: For to outer' container. T['onk under test !IIi"----'-!'-----.-I ; ...:_<:6.---. , " " I 1 • ' <:'E---

__ Control ve-Ivo.

For pressure to tank .- undor test.

• • • .. • •
-145-

You will remGwber at the start of my talk I 8 ave a }."Jrsonal experience of one-ei{;hth of FUUnt} drop a leclcage which was subsoquently I think, th;'.t a vo.riccti()U as SInQll as is sicnificc.nt.

Now we can revert back to our formula P x T' = pI X T and assur.:e we start vrith a pressure of 10 Ib./sq.in., which r.)unding off our 14·7 to 15 is 25 lb'/sq.in. (Abs).

Thec.t otlr initial temperature is 12°0. or 285°C. (Jibs) and there is an increo.se to 17°C. or 290°C. (Abs).

We havo 25 x 290 = 285 x pI

pI = .?-2 x 290 71.2S2 = 285 285 = 25·LI-4 for 5°C. rise which in round figures is .09 or 1/11 lb. for eo.ch 1 oC. vo.riation, vrhich is quite significunt, becouse it is not at all uncoIlllilon to get temper9.ture variations of 5°C. and more.

We la not neod to use formtua to show of bar'Jmetric variations.

lis Illontionec. previ';usly, the hoiCht of the s t'lnliard mcr'1ury barometer is 30" Emcl represents a pressuro of 14-7 Ibs ./sg.in. Converting one to the other ancL again roundin:' off 14.7 to 15 Ib./sq.in., then 2" of' mercury = 1 Ib./sq.in. In othor words, et change of barometric pressure of 2" L'l!.'L1<:es a v[,riation on the gauGe of 1 lb., 1" of half e. l)ouncl, of one-cluarter of et pound and proporticnately. Such variations are Lounc1 to be significQnt as in time of meteorological deep ·lepression variations of up to 1" in 24 hours c:re not infreguently eJ..-perienced, an'} if we h3.ve a t81rrrer!lture chan[e !lS well, I have known the correction tr) be slightly over 11b. This, I think you will agree, proves tho necessity for L!aking such corrections.

Now for the apparatus and proc0:1ure to (10 the job. We will assume we h::.' a arrivGcl at thQt F,rt of the of the installatic\n when the b.nk i[o to lee tested.. I sugCest it should be testecl when in positi::m. I 0. riGfinite clrill, so that members of our own staff Dnd the pur::p awl b.nk fitters know exactly whet is neode(::" '-tUd confiJ.ence is set up on both sicles. I suggest also Vie should provicle ourselves with Q of accurate and relic.tle CQuges of 15lbs. capacity with large ,l_ials, together with a barometer to ascertain prussures end a mercury in Centigrade thermometer.

Yie should also have a sup)ly of what I have calleu. temperature> tubes. These are half the diameter of t he fill pipe of th8 tank which may be borrowed by fitters dc. when I)repering tanks for test, t0t::ether uith other sunc.lry :1rIlere.tus the ne(3d of which will bee ome apparent as y;,u et 0 ynur work.

H8.ving rocei voc-:' information that a tank is to be testec., a temperature tubo is mr,cle aV:1ilrcble before the fitter applies the pressure.

If such liressure is by air lJUmp into thcJ tank, there will Le a heating ur· ['.nd if' 'by air or nitrogen reloQsed from Q compressecl cylinder, there will lw a coolin{<. I '\7ou2.d thereforo sugcest thn.t 3 or 4 hours must el.:cpse 1Jetwoen the application of the pressure o.t the start erf the) test in Or(Ler th<.Ct the may stabilise.

-146• • .. • •

As I feel it is always better to try an,:. reduce the possibility of change of temperature as much as possible, wherever I can therefore, I always endeavour to start anc'L finish a test as early in the morning 2_S can bE.:. The reason being that niGht time tom1lerntures nro more likely to be similar than day tine when the effects of the sun nnd cloud c('"n cree.te quite large variations in temperature. It is also better to cover the tanks wherever possible.

Having personally taken the temperature, pressure and barometer of which careful note is na:le, ancl ascertained that the control valve is not leaking, the gauge shoulrl be remove cl and the fitting sealed to prevent tampering.

After the lapse of the 24 hours, the reading should be taken again, the corr()ctions made and, if thore is no drop, the tarlcpassed.

the second visit, I like to ascertain the corrections ancl work out what pressure sh::lUld be shown on the gauge before tnkintj it s reading •

Having done all this, I am of the opinion thc'1.t no allowance should be nade. The tank is either sound or not sound •

There may be a very slight "blow" from one or two of the nanhole holding bolts or in the gasket which in thenselves would not be very serious, but no one can say what this represents and until a tr:.nk is proved to be absolutely sound, any cIrop in pressure Lk"y represent a small hole in a sear:l welel. you. of a that for

Before finishine, I like to leave this with You will remember my reference to drop of one-eighth pound representi.ng [l small leakaee. Now 18t us assume we belone: to the school of thr)uGht trot r.1akes no corrections temperature and barometer.

If there had been variations which r.:k'1e1..e the pressure rise one-eighth of a pouncl or more, tha.t Jeakage wou.lrl have been entirely masked and, of course, quite a le"reo leaka§;e could be masked if v"riations o.re large, maybe representing an increase of up to half, three quarters, or even 1 lb. and more than that if v'le are r.:.lso prepared to allow half or quarter of a pounct as well •

Cases also arise where there should be an increase in pressure of "so much", but where in fact the pressure Th'lS remained the same or has incr,';ased, but a significantly less amount, in which case there would, of course, be a leakage.

On the other bancl, the testing of tanks takes up valuable time in fittors' wages, so that if the cause a drop in pressure, then it is only fair that we shcJUld3.cknowle r'.ge this also.

Before it was my

to make the corrections to which I have referred, there were Qany occasions where there were somewhat unexplained variations about which I was not entirely Since, however, adopting the corroction procecture some twelve or fourteen years ago, I get a porsonal satisfacti'Jn that I am now passing only really sound tanks rmel at the sane twe being fair to t ho other side.

You know, it is a sobering thought that if we do not make corrections, we may be inmlv-:lrtantly pl:!.ssing tanks with a slIk'111 leak. I think it is true to s ay, if I have said a tank is leaking, then one or more has always been fouucl •

, • • • .. • •

.£ter Mr. Beer hacl given his short tQlk, Mr. D. HQll WQS invitee. to pass cOlm:lont.

Mr. D. HQll : "I agree entirely v'lith whQt Mr. Beor hQS said on this subject rm:' thd it is necessary to ta!':e toth the ter,lperClh.,-.1e ""nel bQrometer into accC'unt when testinG petrol tanks, to corrections for any variations th::'ot there may have been ·between the time of starting ClnQ finishinc tho test. There is no real c:'ifference of opinion between Mr. Beer an,} myself :m this me.tter, Qnc" in r:1Y Further Thoughts on Tnnk Testing I have ent':.eavoured to design a piece of apparrotus which is not affected cy baroL1otric variations .8.ucl itself compensates for nny chances in temperature.

Mr. Beer existing tanks which are unclerVround [m(l. with ,,11 the concrete or san::!. in the filling around them .8.re not subject to any large variations in temper['Lture d.urine the 24 hours that the test is applied to the tank, it may not be so essential to take the temperature I feel, however, that it is still desirable to take such reac.ings as one then kntjws for certainty whether the temper<l.ture has remained the saDe, or alternatively can apply the necessQry corrections if there has been any variation.

Mr. Janes (Petrofina) If you use the same gauce ljcfore and after the test, then accuracy of Gauge is imne,terial as readings are relative.

Mr. Beer I agree, provided that c.ny inaccuracy in the gaUf,8 remains constant, but I s till feel it is preferable to ha VOq which is reading (tccuratcly e.nd I h'lve here a sisple Elercury gaugo against which it is 11 simrJle m2tteY' to check ordinary Dourden gauGes. It was made by myself, and I am sure many of you would be able to make something similar.

Mr. Spencer (Stoke-onTrent)

We use the hyd.raulic or ullage test on existing tetnks and find a comparatively porcento..ge of faulty tanks. Is it therefore necGssnry to go in for this more elaborate equipment?

Mr. Beer I am surprised, if I understand Mr. Spencer correctly, thd the ullage test should disclose a hicher percentage of faulty tanks than the pressure test. My experience has been the other way round and .1 always look on the ullage test as testinc the condition of the tank as it is at the moment, wh"re as a pressuro test in stressing the metal of the to.nk, is in fact also testing its suitEi.Lility to continue in use for a further period.

As to my equipment, surely this is not elaborate. Ji.ll that I use is a temperature tube r.lade of a short length of -&" copper tubine;, a thermometer, a small aneroid barometer, and a sir:lple pressure which we all have. All these other gauces, control valve ancl fittings are, of courSG, only for the purpose of this der.lonstration.

Mr. A.R. Crossley (Meridan R.D.C.)
When testing existing tanks, do yc'u still take temperature readings?
-148• • .. • •

The Chairman thanke(l Mr. Beer for his address anf1 then invited Mr. Hall to his paper

"FURTWQ THOUGHTS ON TANK TESTING"

There are two l1othocl.s nainly in use at the pr(;sent tine for testinr the soundness of petrol tanks, by ullage n.n(l by jJrossuro. Vfithout, on this occasion, [i.rguing tho relative merits, I believe that pressure testint' is the better prac cice believe th.-:.t the meth)d just eXi:::ounded by Mr. Beer is the 1)8st aV!1.ile.ble at the Eloment.

There are horrevor, possiblE) S0UrCE)S of error in this mothod, r.lainly due to the use of a [SauCe. ThiD[s which readily spring to mind are hysteresis, faticue, friction, back-lash or faulty contact between rack and pinion, cl.nd the difficulty of prollucing a sensitive, low prussure gaur;e which is both portable and robust. These produce errors, an r" the cliffie-ulty is that it is quite possible for the same (;Ctllce reCtd differently on consecutive occasions becn.use of vnriallo errors.

It seemed to me, therefore, th:::t if' we could remove the l)hysical connections between the :;Jressure uncler the standard then we could be on the way to producinr Ct nore Ctccurate testing system •

Assuminc this, the differential r.lanometer seemed a possible solution. If the tank und.er test were connected to one arm of the "u" tube, and [t comparCttor vessel connocted to the othor arm provided the two pressures were equal initially, the liquid level in the two arms would lie equal. Further, a drop in pr.essure on either side would produce the c1ifference in levels, which measured difference could be translated to lbs!sq.in by convE)rsion. If the connectinE system is leak pro::f, then there is no physical :xl.rri;)r betwoon the tWCl pressures, Ema. the liquicl nust inevitably inrliC'lte accure tcly the relctive I;r8ssures inv,'l ve('.

By insertinc the comparator into the tank under test ,::cncl allowing the tompurtl.ture to statilize after lJressurising, temperature variations ffiP.y be icnorecl. Similc.rly, barometric variations have no effect on the test •

:"n ordinary 3" fill-jJipe cap has a hole c;,rillod throuc:h the centre through which the LlOUth of the c OD)ar2.tor is passed. il. half-inch benr} is fixed to a hole e rillecl off-centre in the cap, this prClvic1.ing the filling point to the t L'tnk. From the sketch, the following is the system of op-3r&tion:-

The cap (A), to which is attached the compCtrator (B), is screwed. on to t he fill-pipe (::.) of' the tank (J).

The pc'essure is through the connection (K) ,; n the three-way cock (E). The fillini': points (D) to the comparator and CC) to the tank 3.rc] connectod to the me..nometer at Cp) and eN) respectively. Needle valves (F) and (G) arc closed at this stage so that no pressure enters the rrnnometer systen. When the desired pressure has ceen roached, the temperature is allowed to sta1')ilize, the cock (E) thon being closed, so the.t there is no connection between the pressure in the tank (J) an:" in the comparator (D). In orcler to prevent 8xcossive disturllance of' the liquid in the manoTIetor whon the system is pressurisecl( the balancing nec(lle valve CH) is olJen. NeocUe valves (F) and (G) .'lre openGdsimultaneously, after vrhic11 valve (H) is re-closed. The pressure in the 'lank is now transmitted to one arr.1 of the manometer CM) via (C) (N) (F) and (Q), .'lnd the pressure in the comparator is transmittod to the other arm of the nancmeter via CD) (p) (G) and (R).

.• .. • •
-149-

! K I I. I----j\ , I i I I ._ __ C ; "\ / / / /

/

• • • .. •

\--) .---I---tf t ' ._-""": I j ,,,",, ; _-. ;yJ i , " -15C-

Since the cock (B) and the valve CH) are dosed, this is the only connGction bet';Jcen the hw pressures.

It follows that a decrease in prossure on one side of the manometer will prod.uce a difference in the levels of liquid in the t wo arms, the measure of this difference, vin. tho specific gravity of the liquid, giving the (lifforonce in :;Jressure between the tvlO vessals in p.s.i. or oz.s.i. (i" water 0·072 oz.s.i.; mercury 0·1 oz.s.i.). If thore is [t me"rke'l. rlifference in pressures, to prevent the liquid forcod. out of the mG-nometer and into the s.vstem, the be.lancinc; VG-I vc CH) !1c:.y ce opened to equalise the system once more.

This apparatus has beon used several t iT!lCS on pipe installations with complete officiency. It has only been possible so far to use it on one tank, and I would like to he.ve a thorouc:h series of tests in differing circUf:B tancos before considering the idea proved.

One drawback discoverecL on the tank test was that of waiting for the teml)erature to stal::ilise with all the equi.i.Jment fixed to the tank. I am loathe to give the whole of the Elluipment to a mechanic to fit, supervise and. pressurise in my absence in order thn.t the teuperature may stabilise before I a:r-rivo. I have decicLod that this position can be renodied by the fitting of a smD.ll gatn-vc.lve to the tank fillinC lloint CC), the pr(")ceD.ure then beinc -l;kt tho mechn.nic fits tho fill-cap rmd comparn.tor as previously, ap]")lic,s th<J required pressure into the tank via the gate-v1l1vo and then closes the vc-lve. After a suitable lapse of tim8, I would take thE; rest of the equipment to the si to, check the ::::)re s sure in tho tllnk, couple the system as previously, open the cock (E), "Jhich would pressurise the comparatJr, take teuporature readincs until that stability b08n obtaincc1, anc1 then carry out the test as previously. The 'use of the §::'ct0-valve for pre-IjressurJ.sJ.n[o.; would require the blmlldn[ off of the connection (K) on the thr(.lCway cock, or of course the r e1lle.cement of the nock by a two-wo.y on-off cock.

By t he use of reducinc

thG three inch fill-cap of the syscem can bc fitt8cl to 2tn and 211 fill-pipes, which would cover the gree.ter prr)portic.n of the tanks in use to-(1o.y.

One further advant,'lge of tbis system is that those membeJrs who prefer to use could (1_0 so without any loss of accurllcy or sensitivity, but of course the speed of indicati')I1 would be proportionately reduced.

This is one iden.; it cnnn()t yet be r cl:3[Crdeil as l)roved" but if it starts someone olse thinking of ways to inprove our system, then this talk will lvwe succeeded.

• • • •
-151-

Mr. Deer conrratulated Mr. on his "invention" and thoUi:ht that it could 1,'Tel1 turn out to be 0. contributicm to an accurate DGthcQ of testine

Mr. J.l'riEl (Shell-Mox ani!. D.P.) I follow the of this for a new tccrik, but vlh8.t about a test on 2-n existing te,nk ;:: s surely petr',")leutl v20ymr would effect the test?

Mr. Hall I Qa not think so, D.S thE'; len;;th c'f test is short and may not therefore be effccte,l vapour.

Mr. Spc,ncer (St ake-on-Trent) Is there any () nalle

bucause of the ID-rger capacity tank and smaller dialJeter tube?

Mr. Hall

On proposed methods there is no allowance needed, as it is static pressure "le are c:.ealin:c: with and +ho test is only CODL811Cec1 Qftor the toraperaturos have been to

Mr. Huches (Stafforcl) Does an incrcasew clocrop.se in barometric pressure while test is on alter pressure in tank?

Mr. Hall: No, as the t,'1nk volume relilc-ins c0nstQnt.

Mr. D10ur (Kidder8inster) Vlha t W01J1 '1. hap=,cm if the bronze

tube devolop(Jel Q 188.k?

Mr. Hall

Obviously, if the tube clirl have a leak then the tGst would fni1, but viith n')rnE:'.l care (Jf equipment this sh'YUlfl not ()ccur.

Mr. Cross1ey (MoriJ.on R.D.C.) I cannot help Vlonc1erinc whcthsr this syster.'\ ",'!ouJ.cl b9 prnctice,l, as it is s,O sonsitive. Also, wuu],:l it work in Q VCiCUWi1'Z

Mr. Ha.11 As \'i8 /,re searchinc for the most ninute lo::tk, then the systeu cQnnot be too sensitivo. Thero aro onour:-h problens wi thcmt crt)') ting a vacuum.

Mr. S.V. Robinson (Brier1oy Hill) a vote of th!3.nks to tht; speakers.

Dc1eCi.ltGs then enjoyed. rGfrcshn·:mts kinc1.1y prcvir1ecl by the Mayor, C::;llj.ns. Mr. vY.J. Fudrer ('Xarwickshire) eX;JressG(l thc,thanks of all present to the Mayor s.ncl Cc)r1)oration for ths facilities o.nrl hospitality extonded and to Mr. K. HUf,hes for the exc e11ent s •

-152• • •

Volume 2. June 1963-April, 1964. .. CORRESPONDENCE

Coin Freed Self Service Petrol Pumps H.K. Black Construction of Underground Tanks Cartwright Continental Trends R.M. Phillips T.J. MetcD..lfe

Crude Oil and Licensing Fire in a Manhole

Parai:fin in Underground Tanks Petrol Forecourts Types of Fire Extinguishers

Use of Petroleum Spirit

EDITORDiLS

Continental Trends Going National Mobile Filling Stations Planning and Licensing

EXECUTIVE COMMITTEE HERrINGS

GROUP

Dudley 21st May, Solihull 19th June, Dudley 16th July, Wolverhampton - 6th September, " 30th October, Dudley 15th November, " ... 11th December, Solihull 10th February, Dudley 25th February,

MEETINGS

1963 " " " " " "

J. Easton A. Leose , Ainley .cl. • W. Smith 'iY •W. Gllrner L.A. Cave G.W. Marshall G.H. Harvey W. Walker W.R.C. Dale H. Griffiths T. Cairns L .A. Cllve 1964 " Solihull

2nd April, 1963. Business

PAGE. 119 124 120 121 122 123 124 134 76 4 4 6 119 75 75 5 5 73 38 116 1 18 19 52 53 94 95 98 135 137 23

Paper "United Kingdom Oil Pipeline Project" 24

by G.R. Parry, M.Se., F.lnst. Pet Manager, Pipeline Department. Shell-Mox & B.? Ltd.

Walsall Paper Paper

2nd July, 1963. Business "The Development of Petrol Filling Stations" by D. Hainsworth. Assistant Controller of Facilities, Total Oil Products (G.B.) Ltd.

55 56

"The Plc-nning Officer and the Development 63 of Petrol Filling and Service Sb,tions". by T .R. Richardson, A.M.LC.E., I1.LMun.E • A.M.T.P.I., Borough Engineer and Surveyor. Solihull •

• • .. • I N D
E X

Shrevrsbury

Paper Paper Stafford

Paper

16th 0ctober, 1963 Business

"The Fluomat 'Zeno' Autonatio Paraffin Dispenser". by R.F.D. Bowen, Director Messrs. Fluomat Ltd.

"Self SerlSice Petrol ]'illinFC Sta_tions" by R.G. Spalding, A.:'1.I.Mech.E. Chief Engineer, V{ayne Tank and Punp Co. Ltd.

22nd Janmcry, 1961.,.. Business

99 99 104 138

"The Interprotatioll of the Group's 139 Electric.:!.l ItequireEl0nts n • by J.A. Sharp. A.I.E.E. Senior Assistant Engineer M.E.B.

PQpers

"Corrections Necessary in Tank Testing" 142 by J. Beer, M.I.W.M.A., Chief Inspector of Weights and Measures, Worcester.

"Further Thoughts on Tank Testing" 149 by D. Hall, M.I.W.M.A., Chief Inspector

of '(eights and MOL'Csures, Newcastle-under-Ly:1e.

f.EGAL OPINION

Petroleum Petroleum MISCELLLNEOUS

PetroleuI1 Spirit (Motor Vehicles etc) Regulations, 1929 of.

PetroleuIil (Consolidation) Lct, 1928. Floating M;·:trine Service Stati'Jn.

Assooiation of Corporations Report

B.S.I. News Cambridge Ullage Test Cat Brings Trouble Coin Operated Paraffin Dispensers Dangerous Leakages at Grimsby Enforcement Difficluties. Sec. 73. Public Health Act, 1961

Explosion in Sewer Fire Protection and Fire Fighting at Filling Station

First Self Service StC'"tion in the United Kingdom Fron the Annual Reports Home Office Branch In Parliar.1ont 40, ChQnge of Institute of' Yl'eirhts and Measures Petroleun Panel Report

3, 85,

22 54 84 39 87 82 9 131 127 51 43 11 111 3 109 77 83 49 42 117 130 79 39 7 125

Legislation and Petroleum Products London Meeting Octane Requirement Excessive Scatter Octane Value of Petrol Petrol Ignites as Tankor Overturns Petrol Metoring Pumps Petroloum (Consolidation) Lct, 1928 Am(mclment Report of H.M. Inspector's of Explosives. 1961 Report of H.M. Inspector's of Explosives. 1962 • • .. .. •

Residential Mid-Week School. i.ttingham Safety Rules for Gas Special Meeting held at Derby Terminals for Tankers The Chairman To Be or Not To De True Story

NEW MEMBERS

Ashton-uncler-Lyne M.D.C. Crewe M.B.C. Dawley U.D.C. Dundee City Leicester City (Salop) U.D.C. Oswestry M.B.C. Salop County Council Scarborough M.B.C. Stalybridge, Glossop and Hyde st. Helens C.B.C. Tewkesbury M.B.C. C.C.

Mr. N.R. Be8sley Mr. R.F.D. Bowen Mr. R.J. Brindley :Mr. G.H. Day

Mr. F.F.J. E1lis Mr. E. Jarman Mr. D.1'... Lindley

Mr. R.O.C. Robinson Mr. R.R. Vardy Mr. J. Wigfull

FPJi.CTIClili PIWB1EMS Spraying Dooths

PROSECUTIONS

VISITS

Mr. p.J. Poulter Mr. J. Gaskell Mr. C.G. Rhod8s Mr. J.M. Millar Mr. E. McKinnell Mr. K.A. Griffiths Mr. J.J. Lowis Mr. A. Bloomfield Mr. W.A. Walker Mr. J.E. Robinson Mr. VI.C. Mr. J.H. Turner Mr. F.J. Capron

Petrofina (G.D.) Ltd. Fluomat Ltd. Kismet Ltd. Central Electricity Gen8rating Board Fluomat Ltd. Technical Diroctor Koppens j".utomatic International (N. V.) Engine or Charterecl i\rci;itect Contractor

PAGE.

Paris France. 23rd-25th April, 1963

Wayne Tank 8.ncl Pump Co. Ltcl., Bracknell, Berks. 14th Juno, 1963

Shell f\.efinery, Stanlow. 3rd September, 1963

Hamburg Germany • 23rcl-28th Soptember, 1963112

• .. ..
(i'..ssociate) !I " " !I !I !I " " !I
Brierlr'7Hill Keepine: without a liconco
14 39 91 43 32 51 70 39 74 74 117 117 117 39 3 39 39 74 74 74 39 74 74 3 74 117 74 74 39 117 21 110 33 71 72
• • .. • .. •

Turn static files into dynamic content formats.

Create a flipbook
Issuu converts static files into: digital portfolios, online yearbooks, online catalogs, digital photo albums and more. Sign up and create your flipbook.