Skip to main content

Abbie Wright Portfolio

Page 1


P ORTFOLI O

Arizona State University - Interior Design - 2024

ABBIE WRIGHT PORTFOLIO

skills

Attention

Self-motivated

Dependable

Creative

Responsible

a short introduction...

I am a recent graduate from Arizona State University with a Bachelor’s degree in Interior Design and a minor in business. I started my college career as a pre-med student but soon realized my love for self expression through my work, which ultimately led me to switch to interior design. Design is my passion. I love finding the beauty in all the small and large details, and being able to improve spaces that we experience everyday. With a craving for all things design I strive to gain as much experience and knowledge as possible. I plan on pursuing my masters degree in architecture in the future as well as starting my own design business.

interests

During my free time, I enjoy engaging in a wide variety of hobbies and pass times. I love expressing myself in other ways including painting and sewing. Connecting with nature like hiking or taking my paddle board out on the lake are some more things I do to relax.

past experience

Medical Assistant

Western Neurology

Team Associate

Sonic

Dog Groomer

PetSmart

technical

-Worked in fast paced environment

-Roomed patients based on urgency

-Administered medication per doctors orders

-Checked in patients and collected balances and copayments

-Conducted referral checks

-Ran pre-authorizations for patients medications

-Answered phone and fax requests from other offices

-Completed orders with accuraccy

-Provided Excellent customer service

-Took leadership role over a young crew

-Work in a fast-paced environment

-Provided excellent customer service

-Handle pets with patience and care

-Attention to detail for haircuts

-Time manage each pet to maximize amount of pets completed

-Brought in $1,800 in sales a week

Microsoft

candle co.

retail store

marrz

design concept

cozy . warm . elegant

project description

This was an individual project that I designed from start to finish. I designed the branding, and a flagship store that was meant to engage the public. My brand was Marrz candle company, the goods and services offered included organic soaps, candles, classes and a comfy restaurant.

challenges

The hardest challenge of this project was the shape of the project site, located in a mid-century modern rotunda building with a mezzanine.

floorplans

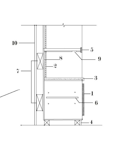
bar cabinet detail

ground level

The ground levels retail space is complete with a sample tester station, candle making area, display shelves and cash wrap counter.

In the other half of the rotunda, located under the mezzanine, is a comfy restuarant with a full bar and kitchen.

1 - cabinet door 6 - adjustable shelf

2 - ceramic tile 7 - blocking

3 - dekton countertop 8 - thinset mortar

4 - toe kick 9 - light valence- router groove

5 - aluminum laminate 10 - wood wall stud

The mezzanines program includes candle and soap making classrooms, a coffee shop and administration spaces. mezzanine level

painted lady temporary housing

design concept

bright . healing . inviting

project description

This was a group project where we designed a multi-family housing communtity for homeless people. Using shipping containers, we designed temporary living units for women and children. Our team also designed the surrounding community buildings with programs we agreed would best fit our demographic.

challenges

The hardest challenge of this project was figuring out how to optimizing the space of a 20’ x 10’ x 8’ shipping container without making it feel cramped.

team
Jordyn Winiarz, Hailey Mcmanmie

floorplans

The floorplan I designed was for a single mother and their child. To create a sense of home, the kitchen is the first thing you see when you walk in . The crib provided is a 3-in-1 convertible crib that is perfect for an infant all the way up to a toddler, paired with a changing table/dresser providing single bed with a crib

more storage for the childs clothes and toys. Every unit layout was also designed with a wooden privacy screen to help define the space of a bedroom and also help with acoustics. The twin bed includes pull out drawers for additional storage.

renderings

north wall
east wall
*Renderings were done in SketchUp and Enscape. Floor plans were done in AutoCAD.

floorplans the community

The community spaces I designed included the salon and the daycare center/laundry facilities. To the right is a rendered floorplan of the daycare/ laundry facility with a public restroom. Below is an elevation that shows the quiet room, playroom and nursery.

renderings

reception desk

floorplans

salon

The salon was an important space to include in the community for women to go and feel confident in themselves and in there future. This space includes an area for manicures, mixing hair color and a hair styling and washing station.

behind the design...

To the left is a rendered section I did of the entire community. With security being our number one priority we designed the layout of the community to go from the most public spaces to the most private spaces. Shown is an enlarged picture of the custom butterfly inspired, perforated exterior fencing that surrounds the entire facility. This layout provides the highest level of security for residents.

hair washing & color

next workplace

design concept

innovation . creativity . connection

project description

This was an individual project and the client was a design firm who was building a location in Dallas, Tx. Next was an interior design firm looking to expand their company. I took inspiration from Texas’ rich history while creatively bringing it to the future through innovation, sustainability and and inclusive design while still encompassing Next culture.

challenges

The hardest challenge of this project was fitting all of the programmatic requirements of the client into 14,500 sq. ft of space in a way that still felt open and flowed.

NEXT

opportunities for connection floorplan

work modes legend

social collaboration learning rejuvenation focus

renderings

meeting room
viccarbe
steelcase

floorplans

viccarbe
steelcase acoustical solutions

renderings

blu dot
blu dot

NEXT renderings

design
library
work cafe
steelcase
coalesse

design concept

history . meets . innovation

project description

This was a group project and the client was the Design School at Arizona State University. The site was a local historic Abbey where my team decided to restore parts of the exsiting structure. With the Abbey being located in downtown Phoenix, we took inspiration from the surronding contrast of old and new structures and wanted to impliment that into our design concept.

challenges

The hardest challenge of this project was finding a balance between creating new innovative spaces and restoring and embracing the existing historical structure.

Here is the link to our teams in-depth RFP: https://issuu.com/anwrig10/docs/rfp_demo_issuu?fr=sOTJjZjc2NzM2NzY

sketches

sketches

T HANK YO U

Turn static files into dynamic content formats.

Create a flipbook
Abbie Wright Portfolio by anwrig10 - Issuu