








![]()









Bestandteile moderner Baukunst
Nachfolgende Referenzen geben Beispiel einer gelungenen Auseinandersetzung von Architekten mit dem gebauten Raum. Dabei umfasst die klassische Baukunst nicht nur Entwurf, Gestaltung und Konstruktion, als zentrale Aufgabe der Architektur, sondern auch handwerkliches Können.
Küffner verbeugt sich respektvoll vor den Ideen der Planer - und dankbar vor dem Geschick des Handwerks. Beide Zünfte verstehen es unsere Türen, Zargen und Profile in Szene zu setzen – mal aus funktionalen Gründen, mal aus ästhetischen Gründen – oder einer gelungenen Kombination derselben.
Geradlinigkeit, Minimalismus und der Verzicht auf jegliches Ornament begleiten die 50-jährige Geschichte der Aluminiumzarge sowie der Entwicklung innovativer Türelemente.

Components of modern architecture
The following references provide examples of successful engagements by architects with the built environment. Classical architecture encompasses not only design, aesthetics and construction, as central tasks of architecture, but also craftsmanship.
Küffner pays respectful homage to the ideas of the planners and expresses gratitude for their skill in craftsmanship. Both crafts excel at showcasing our doors, frames and profiles, whether for functional reasons, aesthetic purposes, or a successful combination of both.
Straight lines, minimalism and the absence of any ornamentation have accompanied the 50-year history of Küffner aluminum door frames and the development of innovative door elements.
Eléments de l‘architecture moderne
Les références suivantes donnent un exemple d‘une interaction réussie entre les architectes et l‘espace construit. L‘art de la construction classique ne comprend pas seulement la conception, ainsi que l’esthétique de la construction, qui constituent la tâche centrale de l‘architecture, mais aussi le savoir-faire artisanal.
Küffner s‘incline avec respect devant les idées des concepteurs - et avec remerciements pour le talent des artisans. Les deux savent mettre en scène nos portes, nos huisseries et nos profilés - parfois pour des raisons fonctionnelles, et d‘autres pour raisons esthétiques - ou la bonne combinaison des deux.
La linéarité, le minimalisme et le renoncement à tout ornement accompagnent les 50 ans d‘histoire de l‘huisserie en aluminium ainsi que le développement d‘éléments de porte innovantes.
Dipl. Ing. Peter Bischoff
Küffner Aluzargen GmbH & Co. OHG

Bundestag - Abgeordnetenbüros, Paul-Löbe-Haus, Berlin
TÜREN MIT ALUMINIUMZARGEN
DOORS WITH ALUMINUM FRAMES
PORTES AVEC HUISSERIES ALUMINIUM
WANDBÜNDIGE TÜREN
FLUSH-MOUNTED DOORFRAMES
PORTES AFFLEURANTE
GANZGLASTÜREN
ALL-GLASS DOORS
PORTES INTÉRIEUR EN VERRE
FINGERSCHUTZTÜREN
FINGER-PROTECTION DOORS
PORTES ANTI-PINCE-DOIGTS
WALLPAPER DOORS
PORTES TAPISSERIE
SPACE-SAVING DOORS
PORTES PLIANTES ET ACCESSIBLES
VERGLASUNGEN
INTERIOR GLAZING
VITRAGE INTÉRIEUR
NASSRAUMTÜREN
WET ROOM DOORS
PORTES POUR PIÈCES HUMIDES
TÜRTERMINALKANAL
DOOR TERMINAL DUCT
GOULOTTE ÉLECTRIQUE POUR HUISSERIES
RAHMENTÜREN MIT GLAS
ALUMINUM-FRAMED DOORS WITH GLASS
PORTES ALUMINIUM INTÉRIEUR VITRÉE
SCHIEBETÜREN
SLIDING DOORS
PORTES COULISSANTES
SOCKELPROFILE
SKIRTING BOARDS
PLINTHE
GLASVERBUNDTÜREN
GLASS COMPOSITE DOORS
PORTES EN VERRE DOUBLE VITRAGE
TÜREN MIT RENOVIERUNGSZARGEN
DOORS AND FRAMES FOR RENOVATION
PORTES ET HUISSERIES POUR RÉNOVATION
ALUMINIUMPANEELE
ALUMINUM PANELS
LAMBRIS ALUMINIUM
ARBEITEN
WORK
TRAVAILLER
#01 #02 #03 #04 #05
SPORT
SPORT
SPORT #16 #17 #18
LERNEN
LEARN
APPRENDRE #24 #25 #26 #27 #28 #29 #30
GESUNDHEIT
HEALTH
SANTÉ
VERSAMMELN
ASSEMBLE
S‘ASSEMBLER
WOHNEN
LIVE HABITER
INFORMATIONEN
INFORMATION
INFORMATION
#41 #42 #43 #44
Kirchengemeindeamt, Nürnberg
VR-Bank Ostalb, Aalen
Bürogebäude Nove by Citterio, München
Thomas Sabo, Lauf an der Pegnitz Transumed, Koblenz
Schwimmhalle Inselpark, Hamburg Schwimmhalle Finckensteinalle, Berlin Freizeitbad Stegermatt, Offenburg
#06 #07 #08 #09 #10
#19 #20 #21
MIKADO Bürogebäude, Friedrichshafen Freunde des Hauses, Hamburg
Bürogebäude, Würzburg Bürogebäude, Würzburg Feuerwehrschule, Bruchsal
Schlossbad, Neumarkt i.d.Oberpfalz Schwaketenbad, Konstanz Schwimmbad, Georgensgmünd
#11 #12 #13 #14 #15
Foxboro, Kornwestheim
Büroausbau, Stuttgart Sparkasse, Nürnberg
Bürogebäude BAYWA AG, München ADAC Geschäftsstelle, Neustadt a.d. W.
#22 #23 Sportbad, Friedrichshafen Dreifachsporthalle, Bayreuth
Martin Grundschule, Forchheim-Kersbach
BIOZ Universität, Wien
Universität, Brixen
Kita „Maulwurf“, Dallgow-Döberitz
Kita + im Bürgerpark, Lahr
Kita „Dörfle am Bach“, Wurmlingen
Kath. Kindergarten St. Josef, Waibstadt
Zahnarztpraxis, Friedrichshafen
Helios Klinikum, Pforzheim Klinik Kinderzentrum, Maulbronn Lungenklinik, Hemer
#53 #54
Deutscher Bundestag, Berlin Paul-Löbe-Haus Elisabeth-Lüders-Haus Österreichisches Parlament, Wien
#57 #58 #59 Hotel Öschberghof, Donaueschingen Wohnhaus mit Büro, Baden Wohnhaus, Südpfalz
#31 #32 #33 #34 #35 #36 #37
#45 #46 #47 #48
Kindergarten „Die Flinken Finken“, Fürth Kindergarten „Im Bahnwinkel“, Söllingen Städtischer Kindergarten 1, Mühldorf am Inn Kössein Kinderhaus, Marktredwitz Kinderhaus St. Elisabeth, Steisslingen Kita „Entdecken-Staunen-Ausprobieren“, Neuruppin Kindergarten „Olitta Seifriz“, Bremen #38 #39 #40 Kita „Lahrer Pünktchen“, Lahr Kita „Sonnenschein“, Altlussheim Aloys-Schreiber-Schule, Bühl
Dreiburgenklink, Bad Kreuznach Pflegezentrum Lore Malsch, Riemerling Allgäustift - Rosenpark, Kirchdorf Seniorenwohnheim St. Martin, Türkheim
#55 #56 Museum Reinhard Ernst, Wiesbaden Bürgerhaus Zehntscheune, Friolzheim
#49 #50 #51 #52
Senioreneinrichtung „Haus Johannes“, Ursberg Pflegeeinrichtung „Karlshof“, Göppingen Raumspartür Nutzung mit Rollator + Rollstuhl Raumspartür im privaten Bad, Studie
#64 #65 Jugendherberge, Bayreuth Bahnsteig Deutsche Bahn, Bühl
#60 #61 Wohnhaus, Herrenberg Wohnhaus, Osnabrück
#62 #63 Tapetentüren Studien Sockelprofile aus Aluminiumaufgesetzt oder wandbündig
#66 #67 #68
Unternehmengeschichte Aluminium - Das leichte Schwergewicht am Bau Produktbroschüren Übersicht
geradlinig. schlicht.
Kantenradien 0,5 - 2mm

zeitlos. universell.
Kantenradien 8mm

filigran. reduziert.
Ansichtsbreite 10 oder 18mm

bewährt. barrierefrei.
Kantenradien 8 bis 18mm

unsichtbar. integriert. Zarge verdeckt eingeputzt

EUROKS / EUROKF
Umfassungszarge
FZS / FZF
Laibungszarge
EURORS / EURORF
Umfassungszarge
URS / URF
Umfassungszarge mit Wanddickenausgleich Kantenradien 0,5mm
mit 10mm Ansichtsbreite, bandseitig bündig
mit Wanddickenausgleich, Kantenradien 8mm
mit Wanddickenausgleich, Kantenradien 18mm
USBV / UFBV
Umfassungszarge
FZS-V / FZF-V
Laibungszarge
USTN UNFN
Umfassungszarge
EUROFIS
Fingerschutz - Umfassungszarge für fixe Wanddicken, Kantenradien 0,5mm
10mm Ansichtsbreite, beidseitig 10mm vorstehend
USBV-G UFBV-G LZS / LZBS
wandbündige Zarge
Laibungszarge
mit Wanddickenausgleich, Kantenradien 8mm
mit Wanddickenausgleich, Kantenradien bis 18mm, für Fingerschutztür
USTNR / UNFNR
Renovierungs - Umfassungszarge
Fingerschutz - Blockzarge / Pfosten mit Grundzarge und Schattennut, Kantenradien 0,5
18mm Ansichtsbreite, band- oder bandgegenseitig flächenbündig
für die Sanierung vorhandener Türen mit Stahlzargen, Kantenradien 8mm
Profil als Blockzarge oder für Glasseitenteile im Türelement mit Fingerschutztüren
Umfassungszarge
Blockzarge
Renovierungs - Eckzarge
Fingerschutz - Falzprofil mit Wanddickenausgleich, Kantenradien 2mm
18mm Ansichtsbreite, wandbündig band- oder bandgegenseitig
zur Teilüberdeckung und Sanierung vorhandener Türen mit Stahlzargen
Falzprofil zur Kombination mit Holzstock und Glaswänden für Fingerschutztüren
Umfassungszarge
Fingerschutz-Eckzarge für fixe Wanddicken, Kantenradien 2mm zur Überdeckung vorhandener Stahl- oder Holzzargen für Fingerschutztüren
Blockzarge Fingerschutz - Renovierungszarge schlanke Profile für die Montage auf der Wand oder in der Laibung
für die Sanierung vorhandener Stahlzargen mit Fingerschutztüren
wandbündige Blockzarge Tapetentürzarge
universelle Profile für bandgegenseitig oder bandseitig bündige Montage
für band- oder bandgegenseitig bündige Tapetentüren
Kämpfer und Pfosten
Profile für Oberlicht, Seitenteil sowie in Verglasungen zur Einbindung von Türen
ARBEITEN | WORK TRAVAILLER


Evangelisches Kirchengemeindeamt
90403 Nürnberg
Baum Kappler Architekten, 90403 Nürnberg
Peter Bischoff, Küffner
Schreinerei Neser, 96138 Burgebrach
Umfassungszarge EUROKS48
Rahmentür ART42

KIRCHENGEMEINDEAMT NÜRNBERG kueffner.de/R0127






























und Logistikzentrum
91207 Lauf a. d. Pegnitz
jb architekten, 90491 Nürnberg
Ralf Kuhn, Küffner
Holz Thalhofer, 95448 Bayreuth Laibungszarge









Umfassungszarge EUROKS48
Sockelprofil XN80





MIKADO BÜROGEBÄUDE
FRIEDRICHSHAFEN


GRAMM.Architektur
88046 Friedrichshafen
Gramm Architektur, 88046 Friedrichshafen
Peter Bischoff, Ralf Kuhn, Küffner
Gramm GmbH, 88046 Friedrichshafen
Laibungszarge FZS48
Laibungszarge FZDS56
Glashaltesprofil GAP60
Sockelprofil G60-8






FREUNDE DES HAUSES HAMBURG



Werbeagentur FREUNDE DES HAUSES
20099 Hamburg
Dirk Fuchslocher Planungsbüro, 22047 Hamburg
Rivermedia, Thilo Schulz, 22926 Ahrensburg
Ahrensburger Glasbau, 22926 Ahrensburg
Blockzarge BF30
Pfostenprofil KLF30-35









Glaswand Bürogebäude
Glaskeil, 97076 Würzburg
Patrick Hamacher, Fotografie, 97070 Würzburg
Glaskeil, 97076 Würzburg
Pfostenprofil KLF30-35
Glasaufnahmeprofil GAP60





BÜRGERBRÄU WÜRZBURG



Kreativ Raum im Bürgerbräu, Würzburg
97082 Würzburg
archicult - breunig architekten, 97082 Würzburg
Patrick Hamacher, Fotografie, 97070 Würzburg
Glaskeil, 97076 Würzburg
Pfostenprofil KLF30-35
Glasaufnahmeprofil GAP60







FEUERWEHRSCHULE BRUCHSAL

Landesfeuerwehrschule Baden-Württemberg
76646 Bruchsal
Linhart Architektur, 70193 Stuttgart
Dirk Altenkirch, 76133 Karlsruhe
Rienth, 71364 Winnenden
Blockzarge KDF












Unternehmensberatung
70173 Stuttgart
knaus mertes architekten, 70190 Stuttgart
David Matthiessen, 70178 Stuttgart
Zeeb Innenausbau, 70499 Stuttgart
Umfassungszarge EUROKS48
Umfassungszarge BS48 / KLS48-35 Rahmentür ART 42






SPARKASSE NÜRNBERG


Sparkasse - BeratungsCenter Lorenzer Platz
90402 Nürnberg
Baum Kappler Architekten, 90403 Nürnberg
Ralf Kuhn, Küffner
Thalhofer, 95448 Bayreuth
Glasverbund-Seitenteil GVS
Sockelprofil X60


























SCHWIMMHALLE INSELPARK HAMBURG




20259 Hamburg
Umfassungszarge EUROKS
Blockzarge





SPORT SPORT SPORT
SCHWIMMHALLE
FINCKENSTEINALLEE
BERLIN
Blockzarge BF30
Eckzarge EUROKS-E







SPORT SPORT SPORT
FREIZEITBAD STEGERMATT OFFENBURG


Freizeitbad Stegermatt
77652 Offenburg
4a Architekten, 70376 Stuttgart
Umfassungszarge EUROKS
Eckzarge EUROKS-E
Blockzarge BF30
Schattennutzarge USBV-G
Rahmentür ART 42








NEUMARKT IN DER OBERPFALZ



92318 Neumarkt in der Oberpfalz
Diezinger Architekten, 85072 Eichstätt
Ralf Kuhn, Küffner
Westermann, 73770 Denkendorf
Umfassungszarge EUROKS
Verglasung BF30 /KLF30-35
Rahmentür ART42
Glasverbundtür GVT








SCHWAKETENBAD KONSTANZ









SCHWIMMBAD GEORGENSGMÜND










SPORTBAD FRIEDRICHSHAFEN




Umfassungszarge EUROKS
Blockzarge BF30
Pfostenprofil KLF30-35

Glasaufnahmeprofil GAP60 kueffner.de/R0146







DREIFACHSPORTHALLE BAYREUTH



Dreifachturnhalle am Hans-Walter-Wild-Stadion
95445 Bayreuth
Wolfgang Bayerlein
Ralf Kuhn, Küffner

Umfassungszarge EUROKS48 Raumspartür kueffner.de/R0147
































UNIVERSITÄT BRIXEN






KINDERTAGESSTÄTTE MAULWURF DALLGOW-DÖBERITZ




Kindertagesstätte Maulwurf
14624 Dallgow-Döberitz
PETZI+PETZI Architekten, 16515 Oranienburg
Ralf Kuhn, Küffner
Schael Holzbauelemente, 18182 Bentwisch
Fingerschutzzarge EUROFIS
Fingerschutztür FST





Kindertagesstätte im Bürgerpark
77933 Lahr
(se)arch Architekten, 70180 Stuttgart
Ralf Kuhn, Küffner
SchwarzwaldElemente, 77933 Lahr
Fingerschutzzarge EUROFI
Fingerschutzzarge HFI
Fingerschutztür FST









DÖRFLE AM BACH WURMLINGEN











78573 Wurmlingen
MUNZArchitekt, 78573 Wurmlingen
Ralf Kuhn, Küffner
Schreinerei Kupferschmid, 78549 Spaichingen
Fingerschutzzarge EUROFI
Fingerschutzzarge HFI
Fingerschutztür FST





KATH. KINDERGARTEN ST. JOSEF WAIBSTADT








74915 Waibstadt
O2R Architekten, 74889 Sinsheim
Ralf Kuhn, Küffner
Fingerschutzzarge EUROFI
Schiebetürzarge EURORSV
Fingerschutztür FST





DIE FLINKEN FINKEN FÜRTH


Evangelischer Kindergarten St.Martin
„Die flinken Finken“
90766 Fürth
Hilpert + Kollegen Architekten BDA, 90768 Fürth
Ralf Kuhn, Küffner
O.LUX, 91154 Roth
Fingerschutzzarge EUROFIS
Fingerschutzprofil HFI
Fingerschutztür FST









KINDERGARTEN IM BAHNWINKEL SÖLLINGEN








76327 Pfinztal - Söllingen
d28 architekten, 76275 Ettlingen
Ralf Kuhn, Küffner
Schreinerei Frank Zoller, 76327 Pfinztal
Fingerschutzzarge EUROFI
Schiebetürzarge EURORSV
Fingerschutztür FST






MÜHLDORF


Fingerschutzzarge EUROFI
Schiebetürzarge EURORSV
Fingerschutztür









KÖSSEIN KINDERHAUS
MARKTREDWITZ




95615 Marktredwitz
Hilgarth Architekten, 95615 Marktredwitz
Peter Bischoff, Küffner
Schreinerei Weiß, 95666 Mitterteich
Fingerschutzzarge EUROFIS
Fingerschutzprofil HFI
Fingerschutztür FST









KINDERHAUS
ST. ELISABETH
STEISSLINGEN



78256 Steißlingen
Solar-Systemhaus Architekten, 78224 Singen
Ralf Kuhn, Küffner
SchwarzwaldElemente, 78256 Steißlingen
Fingerschutzzarge EUROFIS, KFI
Fingerschutztür FST



















LERNEN | LEARN APPRENDRE
ENTDECKEN-STAUNEN-AUSPROBIEREN NEURUPPIN




Einsetzen STatt Aussetzen – ESTAruppin e.V 16816 Neuruppin
Ralf Kuhn, Küffner
Fingerschutzzarge EUROFIS, KFI
Fingerschutztür FST










Fingerschutzzarge
Fingerschutztür








Fingerschutzzarge EUROFI, KFI
Fingerschutztür FST














Fingerschutzzarge EUROFI, KFI
Fingerschutztür FST







ALOYS-SCHREIBER-SCHULE BÜHL


Aloys-Schreiber-Schule
77815 Bühl
Architekturbüro Leppert, 77815 Bühl-Vimbuch
Ralf Kuhn, Küffner
HolzLand Holz-Hertel, 76437 Rastatt
Fingerschutzzarge RENOFI
Fingerschutztür FST








ZAHNARZTPRAXIS
FRIEDRICHSHAFEN


Zahnärztliche Praxisklinik Dr. Stephan Karle
88046 Friedrichshafen
GRAMM.Architektur
Peter Bischoff, Ralf Kuhn, Küffner
GRAMM.Architektur
Laibungszarge FZS48
Glashaltesprofil GAP60
Sockelprofil G60-8






KLINIKUM PFORZHEIM

75175 Pforzheim
Peter W. Schmidt, 75179 Pforzheim
Peter W. Schmidt, 75179 Pforzheim Umfassungszarge

















LUNGENKLINIK HEMER







IBS - Innovative Badsysteme, 59227 Ahlen
Umfassungszarge EUROKS48 Raumspartür RST








DREIBURGENKLINIK BAD KREUZNACH


Drei-Burgen-Klinik, Deutsche Rentenversicherung
55583 Bad Kreuznach
Ralf Kuhn, Küffner
SchwarzwaldElemente, 77933 Lahr
Umfassungszarge EUROKS56
Schiebetürzarge EUROKSV
Raumspartür RST














GESUNDHEIT HEALTH SANTÉ
ALLGÄUSTIFT – ROSENPARK KIRCHDORF



AllgäuStift – Rosenpark, Kirchdorf
88457 Kirchdorf an der Iller
Jakob Architekt, 86381 Krumbach
Ralf Kuhn, Küffner
Schreinerei Eisenschmid, 87775 Salgen
Umfassungszarge EUROKS
Schiebetürzarge EUROKSV
Verglasung BF30 / KLF30-35







GESUNDHEIT HEALTH SANTÉ
SENIORENWOHNHEIM ST. MARTIN TÜRKHEIM


86842
Umfassungszarge EURO-BS

Schiebetürzarge EUROKSV kueffner.de/R0159







SENIORENEINRICHTUNG
HAUS JOHANNES
URSBERG



Dominikus-Ringeisen-Werk
86513 Ursberg
Jakob Architekt, 86381 Krumbach
Ralf Kuhn, Küffner
Schreinerei Eisenschmid, 87775 Salgen
Umfassungszarge EUROKS
Schiebetürzarge EUROKSV




GESUNDHEIT HEALTH SANTÉ
PFLEGEEINRICHTUNG KARLSHOF GÖPPINGEN



Pflegeeinrichtung Karlshof
73033 Göppingen
die haus gmbh, 73037 Göppingen
Ralf Kuhn, Küffner
Wilhelmshilfe e.V., 73033 Göppingen
Umfassungszarge EUROKS Rahmentür ART 42







MIT ROLLATOR / ROLLSTUHL








RAUMSPARTÜR
IM KLEINEN BADEZIMMER


Raumspartür als Zugang zur Nasszelle











VERSAMMELN ASSEMBLE S‘ASSEMBLER
DEUTSCHER BUNDESTAG BERLIN

Marie-Elisabeth-Lüders-Haus, Paul-Löbe-Haus
Konrad-Adenauer-Straße 1, 10557 Berlin
Stephan Braunfels, 80539 München
Linus Lintner





ÖSTERREICH














MUSEUM REINHARD ERNST WIESBADEN






Umfassungszarge EUROKS
Rahmentür ART 42




VERSAMMELN ASSEMBLE S‘ASSEMBLER
BÜRGERHAUS ZEHNTSCHEUNE FRIOLZHEIM


Bürgerhaus, Tagungs- und Veranstaltungszentrum
71292 Friolzheim
Crowell Architekten, 76149 Karlsruhe
W. Mayrhofer, 75045 Walzbachtal
Trumpf Metallbau, 75045 Walzbachtal
Blockzarge BS46
Rahmentür ART56








Öschberghof
Donaueschingen
Allmann Wappner, München
Ralf Kuhn






WOHNEN LIVE | HABITER



Baden-Württemberg
Privat
Ralf
Privat
Umfassungszarge








Wohnhaus
Südpfalz
Privat
Ralf Kuhn, Küffner
Privat
Schattennutzarge USBV-G
Sockelprofil X60
Laibungszarge FZS-V

Sockelprofil G60-8 kueffner.de/R0162






WOHNHAUS LANDKREIS BÖBLINGEN











WOHNHAUS OSNABRÜCK














SOCKELPROFILE AUFGESETZT & WANDBÜNDIG









VERSAMMELN ASSEMBLE S‘ASSEMBLER
JUGENDHERBERGE
BAYREUTH












Handwerkliche Lösung für eine herausfordernde Architektenidee
Wagemut und Kreativität eines jungen Schreiners
Im Jahr 1966 hatte Reinhold Küffner als damals jüngster Meister in Baden-Württemberg die Schreinerei seines verstorbenen Vaters übernommen. Der bereits im Jahr 1905 gegründete Betrieb in Karlsruhe-Durlach beschäftigte damals 12 Mitarbeiter und musste fortan von dem 22 Jahre alten Jungmeister geführt werden.
Architekt Gerhard Klenert aus Karlsruhe, forderte den innovativen Handwerker und späteren Freund heraus, eine besondere Türzarge mit dem Leichtmetall Aluminium zu entwerfen. Die Geburtsstunde der Umfassungszarge aus Aluminium für Holztüren schlug im Jahr 1969 beim Auftrag für das Bürogebäude der Deutschen Beamtenversicherung in Karlsruhe. Küffner entwickelte nicht nur die damals noch mit Aluminiumblech ummantelten Holzzargen – auch die zugehörigen Türblätter wurden im eigenen Betrieb hergestellt und nicht selten mit Aluminium belegt. Zunächst von seinen Kollegen in der Zunft belächelt, meldete Küffner zahlreiche Patente an und wagte den Schritt auf den Markt. Ermutigt durch den Architekten Jürgen Jansen entwarf er eine gesonderte Beilage für das BDA-Magazin „Der Architekt“, in der eine Aluminiumzarge vor dem Scheunentor der Werkstatt in Durlach gezeigt wurde. Diese Anzeige bewirkte gehörige Aufmerksamkeit. Die Architektur hatte genug von gewöhnlichen Stahl- und Holzzargen. Die Avantgarde wollte etwas Besonderes und Küffner stand mit Einfallsreichtum und Kreativität zur Stelle.
Die Perfektionierung der Leichtmetallzarge
Das Projekt Aluminiumzarge hatte begonnen. Küffner war mutig, gewann Selbstbewusstsein und erhielt die Gelegenheit, seine Zargen im Neubau des DRK-Reha-Zentrums in Kirchberg an der Jagst einzubauen, etwa 70 geschosshohe Türelemente.
Das Objekt löste Begeisterung aus. Es folgten weitere Projekte mit hunderten Küffner-Zargen, wie das Kreiskrankenhaus in Lorsch sowie die kassenärztliche Vereinigung in Mannheim. Beflügelt durch seinen Erfolg als auch Erfahrungen, perfektionierte Reinhold Küffner seine Aluminiumzargen nach kurzer Zeit in reine stranggepresste Aluminiumkonstruktionen. Die 2-schaligen Zargenkonstruktionen konnten nach Fertigstellung der Wände und Böden, mit eloxierten oder farbig pulverlackierten Oberflächen, eingebaut werden.
Die korrosionsbeständigen Eigenschaften des Materials führten zur bevorzugten Verwendung in Schwimmbädern, Duschen, Umkleiden und Toiletten. Die Ästhetik und Ausstrahlung der zeitlos schlichten Aluminiumzargen prädestinierte deren Einsatz jedoch ebenso in Verwaltungen, Banken, Versicherungen, Behörden, Krankenhäusern, Schulen und Kindergärten.
Unternehmensgründung für das Serienprodukt Aluminiumzarge
1975 gründete Reinhold Küffner, parallel zu seinem traditionellen Fenster- und Innenausbaubetrieb, gemeinsam mit den beiden Handelsvertretern Horst Becker und Hans Riesterer, die Küffner Vertriebsgesellschaft für Aluminium-Türzargen. Unter der Geschäftsführung von Edgar Meyer, der die Geschicke des Unternehmens die nächsten 35 Jahre lenken sollte, etablierten die jungen Wilden fortan die Türzarge aus Aluminium am Markt. Selbstbewusst wurden neue Vertriebswege gesucht und mit der Unterstützung von weiteren Außendienstmitarbeitern Architekturbüros deutschlandweit, sowie in der Schweiz und Österreich besucht und beraten.
Die Leichtmetallzarge für den Schreiner
Fachbuchautor Wolfgang Nutsch, Leiter der Meister- und Technikerschule in Stuttgart, nahm kurzerhand die Küffner-Zarge in sein Handbuch „Konstruktionshilfen Band - Innentüren“ auf. Damit wurde die Aluminiumzarge, mit werkseitig eloxierter oder pulverlackierter Oberfläche, für den nachträglichen Einbau, nach Fertigstellung der Wände und Böden, bei den Schreinern bekannt. Fortan wurden Alu-Zargen mit Holz- und Glastüren kombiniert, sowie in den verschiedensten Ausführungen und für die unterschiedlichsten Bauvorhaben angeboten. Die Küffner-Zarge wurde zeitgemäß. Der damalige bayerische Ministerpräsident Franz Josef Strauß, erhielt für sein Bürogebäude in München rund 70 eloxierte Aluminiumzargen. Für den libyschen Staatschef Muammar al-Gaddafi wurden Küffner-Zargen sogar vergoldet.
Die Alu-Zarge als architektonischer Rahmen für Türen
In den darauffolgenden Jahren erkannten namhafte Architekten die gestalterischen Vorzüge von werkseitige eloxierten oder pulverlackierten Küffner-Aluzargen und erhielten nicht selten „eigene“ Profile zu ihren Bauvorhaben.
Der Deutsche Bundestag mit Paul-Löbe- und Elisabeth-Lüders-Haus, von Architekt Stefan Braunfels, mit rund 2000 Zargen, das Bundesministerium für Bauen und Wohnen, von Architekt Max Dudler, mit rund 700 Türelementen, die Banca del Gottardo, von Architekt Mario Botta, sowie die L-Bank in Karlsruhe, von Architektin Gesine Weinmiller sind nur einige der folgenden Referenzen. Viele Architekten wie beispielsweise Tilla Theus, inspirierten Küffner zur Entwicklung neuer, innovativer Zargenformen. So wurde die wandbündig filigrane Zargenserie SLIMLINE ursprünglich aus einer Anforderung zu ihren Bauvorhaben entworfen. Der Maestro der zeitgenössischen Ästhetik Antonio Citterio erhielt bandgegenseitig bündige Türzargen aus Aluminium für den Flughafen Qatar, als auch das Münchner Bürogebäude Nove by Citterio. Architekt Christoph Ingenhoven bevorzugt Küffner-Zargen in Verbindung mit Küffner-Glasverbundtüren für Luxus Hotels und Resorts von Tegernsee bis Sylt.
Mit der Anmutung des Materials Aluminium und der Klarheit der Profilformen beweist die Aluminiumzarge ihre Besonderheit, wenn es darum geht, Türen einen besonderen Rahmen zu geben und Zargen sowie Wandanschlüsse als Architekturelement in die Gestaltung mit einzubeziehen.
Innovative Türkonstruktionen ergänzen das Programm
Es war naheliegend, dass die Kreativität der Küffner-Mitarbeiter, neben den rund 450 eigenen Aluminiumprofilen auch innovative Türanwendungen und -konstruktionen hervorbrachten. So entstanden barrierefreie Türlösungen, lange bevor dieser Begriff überhaupt im Sprachgebrauch Einzug hielt.
Mit der Raumspartür für Kliniken, Pflege- und Rehabereiche, als auch der patentierten Fingerschutztür mit integrierten Knautschzonen für Kindertagesstätten und Schulen erfährt das Unternehmen hohe Anerkennung. Auszeichnungen wie der reddot, german design award sowie universal design award honorieren diese Erfindungen, die sich mittlerweile in tausenden Bauvorhaben bewähren und anerkannte Marktrelevanz besitzen.
Mit schlanken Aluminium-Rahmentüren sowie patentierten Glasverbundtüren ergänzt Küffner die Möglichkeiten Türelemente, sowie die Verbindungen von Raum zu Raum, als attraktives Gestaltungselement für die Architektur einzusetzen.

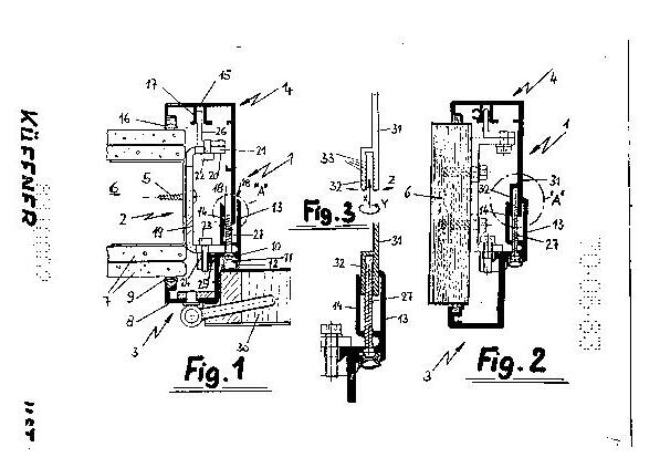
Rheinhold Küffner Innenausbau GmbH, 7512 Rheinstetten DE Montagezarge für Türen, Fenster oder dergleichen zur Verwendung bei ungleichen Wandstärken Erste Werbeanzeige aus

1966
Übernahme
Reinhold Küffner
übernimmt als Schreinermeister mit 23 Jahren die traditionelle Schreinerei und Glaserei seiner Vorfahren

1972 HARDLINE
Geburtsstunde der 1.
AluminiumzargenSerie, Küffner erfindet die stranggepresste, zweischalige Aluminiumzarge
1984 T30 Türen
Erste Zulassungen von T30
Brandschutztüren mit Aluzargen
1992 Raumspartür
Entwicklung der Raumspar- und Behindertentür, Patentanmeldung erste barrierefreie Tür
2003
Glasverbundtür
Entwicklung der KüffnerGlasverbundtür und Festverglasungen, Patentanmeldung
2001 SLIMLINE
Entwicklung der 4. AluminiumzargenSerie
2004
Barrierefreiheit
Die KüffnerRaumspartür wurde als erste Tür „barrierefrei“ zertifiziert von DIN CERTCO



1978 ROUNDLINE
1905 Gründung
Schreinerei und Innenausbau
Wilhelm Küffner in Durlach bei Karlsruhe
1970 AluSpan
Reinhold Küffner entwickelt die AluSpan-Türzarge aus Holzwerkstoffplatten und Aluminium

Entwicklung der 2. AluminiumzargenSerie
1975 Vertriebsgesellschaft
Gründung der KüffnerVertriebsgesellschaft mbH für Aluminiumzargen durch Reinhold Küffner, Horst Becker, und Hans Riesterer, Geschäftsführung Edgar Meyer
Aufbau des Vertriebssystems mit Handelsvertretern
1988 Sockelprofile
Aufbau der Produktgruppen Sockelprofile und Wandschutzprofile aus Aluminium

2000 Aluminiumpaneele
Entwicklung der Aluminiumpaneele für Innen- und Außenanwendung
2002
World Wide Web
Küffner Aluzargen im World Wide Web
2006 Verstärkung
Prokura
Dipl. Ing. Peter Bischoff
2008 SLIMLINE
Ergänzung der AluminiumzargenSerie SLIMLINE für bandgegenseitig flächenbündige Türen
2010 Fingerschutztür
Entwicklung der Fingerschutztür mit integrierter „Knautschzone“, Patentanmeldung

2013 SLIMLINE
Ergänzung der Aluminiumzargen Serie SLIMLINE um Typ LZS und LZBS für den Flughafen Katar in Doha
2017 Renovierungszargen
Entwicklung von Renovierungszargen für Fingerschutztüren
2022
50 Jahre Aluzarge
Küffner-Programm mit 450 eigenen Werkzeugen für Aluminium - Strangpressprofile

2018 Klöntür
Entwicklung der Klöntür für DemenzSeniorenheime

2009 AluminiumRahmentür
Entwicklung der Rahmentüren für Aluzargen
2012 red dot
Designpreis für Fingerschutztür
2015 EPD Erste Ökobilanz für fertige Bauprodukte aus AluminiumProfilen, durch das IFTRosenheim
2021 ZEROLINE
Entwicklung der 5. AluminiumzargenSerie für Tapetentüren
Social Media
Kommunikation über Instagram, facebook und LinkedIn
2025 Bürogebäude
2. BA - Neubau Bürogebäude mit Showroom und Seminarraum Erweiterung der PV- Fläche auf 175 kWp
2023
Erweiterung Produktion
1. BA - Modernisierung und Erweiterung der Produktion mit automatischem Langgutlager für 280 Tonnen Aluminiumprofile
Erweiterung der Eigenstromerzeugung auf 135 kWp
1987 MODERNLINE
Entwicklung der 3. Aluminiumzargen-Serie
1997 Mediensäulen und Kanäle
Entwicklung für KüffnerShop-System (T-Mobile)
Deutscher Bundestag, Berlin 2000 Stück Aluzargen, Paul-Löbe und Elisabeth-Lüders Haus

2010 Führungswechsel
Geschäftsführer der Küffner Verwaltungsgesellschaft
Dipl. Ing. Peter Bischoff
Prokura Martin Daub
2014 German Design Award
Auszeichnung der Fingerschutztür

PV - Strom
Eigene Stromerzeugung aus Sonnenenergie mit PV-Modulen 110 kWp
2020 Architects Darling
Gold für Fingerschutztür Beste Bemusterung


Mit wachsendem Umweltbewusstsein rücken sowohl unser persönliches Konsumverhalten als auch die Auswirkungen unserer Arbeit und Produkte auf die Umwelt stärker in den Fokus. Der aus der Forstwirtschaft stammende Gedanke nachhaltiger Bewirtschaftung lässt sich heute auf den sorgsamen Umgang mit unserem Planeten übertragen. Ein verantwortungsvoller Einsatz natürlicher Ressourcen ist für unsere Zukunft entscheidend und inzwischen weithin anerkannt. Die globale Erwärmung ist überwiegend menschengemacht und steht in engem Zusammenhang mit dem Anteil von Treibhausgasen, insbesondere CO2 in der Atmosphäre. Auch wir übernehmen Verantwortung: Wir achten auf die Herkunft unserer Materialien und optimieren unsere Herstellungsprozesse, um Emissionen zu reduzieren, Ressourcen zu schonen und einen Beitrag zum Klimaschutz zu leisten. Unter besonderer Betrachtung steht in diesem Zusammenhang unser Werkstoff Aluminium.
WO WIR BEI KÜFFNER STEHEN
für eine zeitgemäße Produktion von Bauelementen aus Aluminium
Seit über 12 Jahren senken wir den CO -Fußabdruck und den Energieverbrauch unserer Leichtmetallprofile Schritt für Schritt. Kern unseres Ansatzes ist die Kreislaufwirtschaft:
■ Aluminium mit hohem Sekundäranteil: Unsere Profile bestehen zu rund 90 % aus Sekundäraluminium – sowohl aus der Kreislaufwirtschaft (Post-Consumer-Schrott) als auch Schrott, welcher innerhalb der Produktion anfällt (Pre-Consumer-Schrott).
■ Energieeinsparung: Die Herstellung unserer Profile aus Sekundäraluminium benötigt nur etwa 5 % der Energie im Vergleich zu Profilen aus Primäraluminium.
■ Erneuerbare Energien bei Primärmaterial: Beim Einsatz von Primäraluminium setzen wir auf Material welches zu 100% aus erneuerbarer Energie erzeugt wurde (z. B. Hydro REDUXA®).
■ Regionale Zusammenarbeit: Durch die Zusammenarbeit mit ausgewählten Strangpress-Vorlieferanten im Umkreis von max. 350 km berücksichtigen wir kurze Lieferwege, reduzieren Spritverbrauch und CO2- Emissionen.
Stand heute:
Hohe Anteile an Sekundäraluminium, energiearme Produktionen, erneuerbarer Strom und regionale Lieferketten – reduzieren unseren CO2-Fußabdruck um mehr als 75% gegenüber dem weltweiten Durchschnitt.
Der Werkstoff.grüne
- geringe Rohdichte ρ 2,7g/cm³ (1/3 gegenüber Stahl)
- niedriger Schmelzbereich
475 - 660°C (Tm 660°C)
- hohe Korrosionsbeständigkeit
- gute elektrische Leitfähigkeit
- hohe Recyclingquote
- sehr gute Zerspanbarkeit
- Legierung für Strangpressprofile
EN AW-6060 T66
für energieeffiziente Arbeitsplätze und gesundes Klima
■ Ausbau der Solarenergie: Am Standort Rheinstetten erzeugen wir seit 2014 eigenen Strom. Mit einer neuen Produktionshalle wurde die bestehende PV-Anlage 2023 erweitert. Und auch unser neues Büro- und Verwaltungsgebäude aus 2025 wird mit Sonnenstrom betrieben. Der Überschuss geht in das öffentliche Netz.
■ Energieeffiziente Produktion (2023): Neue Produktionshalle mit Holztragwerk nach GEG-40-Standard sowie kompaktes, vollautomatisches Langgutlager für 300 Tonnen Aluminiumprofile reduziert den Flächenbedarf um mehr als 85% sowie Staplerfahrten um mehr als 90%.
■ Nachhaltiges Arbeiten (2025): Neues Büro- und Verwaltungsgebäude in Hybridbauweise, mit Showroom und Seminarraum nach GEG-40-Standard.
■ Wärmepumpen: Heizung und Kühlung der Gebäude erfolgt über Wärmepumpen der neuesten Technologie mit eigenem PV-Strom.
■ Eigene Stromerzeugung: Seit über 10 Jahren erzeugen wir mehr Strom aus Sonnenenergie als für die Produktion sowie den Betrieb unserer Gebäude benötigt wird.
■ Zukauf von Naturstrom: Zusätzlich benötigter Strom für Dunkelzeiten wird zu 100% mit umweltfreundlicher Wasserkraft erzeugt.
Zukunftsaussichten: Eigenerzeugter Solarstrom, hocheffiziente Gebäude, Wärmepumpen, begrünte Dächer und optimierte Intralogistik senken unseren Energiebedarf, CO2-Emissionen und Flächenverbrauch spürbar, für eine zukunftsfähige, resiliente Produktion und gesundes Arbeitsklima.
für die nachhaltige Gestaltung und Produktion unserer Produkte
■ Gestaltung und Nutzungsdauer: Zeitloses Design und verlässliche Funktion erhöhen die akzeptierte Nutzungsdauer. Produkte, die technisch und optisch lange überzeugen, bleiben länger im Einsatz und vermeiden vorzeitigen Ersatz.
■ Lebensdauer als Nachhaltigkeitsfaktoren: Aluminium ist korrosionsbeständig; eloxierte Oberflächen sind härter und widerstandsfähiger als Edelstahl. Dies führt zu einer überdurchschnittlich langen Lebensdauer, weniger Wartung - mit messbaren Vorteilen für Ressourcen, CO2-Bilanz und Nachhaltigkeit.
■ Aluminium bleibt im Stoffkreislauf: In Europa werden 92–98 % aus Bauabfällen recycelt. Rund 95 % des jemals geförderten Aluminiums ist weiterhin im Umlauf. Sekundäraluminium lässt sich beliebig oft ohne Qualitätsverlust einschmelzen – mit deutlich geringerem Energiebedarf als Primärmaterial.
■ Sortenreine Rückführung: Unsere Aluminiumzargen können am Ende des Lebenszyklus einfach und sortenrein recycelt werden, da sie ohne Hintermörtelung und ohne Montageschaum montiert werden. Das erleichtert Demontage, Trennung und Wiederverwertung.
■ Kreislaufwirtschaft: Als Mitglied im A|U|F führen wir sämtliche Produktionsreste kontrolliert an zertifizierte Recyclingpartner zurück. Das Material bleibt in der EU und wird wieder zu hochwertigen Profilen verarbeitet – transparent und nachvollziehbar.
Fazit: Küffner Türen und Zargen aus Aluminium leisten über jeden einzelnen Lebenszyklus hinweg einen Beitrag zum Klima- und Ressourcenschutz: vom kontrollierten Einsatz von Sekundäraluminium über die recyclingfreundliche Konstruktionen bis hin zur hohen Lebensdauer im Betrieb. So wird unser Aluminium nicht „verbraucht“, sondern immer wieder genutzt – effizient, werthaltig und zirkulär.
~ 0,8 kwh kg Alu
Energieeinsatz bei der Verwendung von Sekundäraluminium
Im nächsten Leben - Aluminium im Kreislauf

Transport-, Lager und Handlingkosten, sondern auch Ressourcen. Da unsere Aluminiumprofile nur ein Drittel so viel wie Stahl wiegen, wird weniger Energie in den Logistikprozessen bis hin zur Bearbeitung benötigt. Aus Überzeugung setzen wir seit Jahrzehnten auf Aluminium aus der Kreislaufwirtschaft. Mit unserem Engagement berücksichtigen wir rohstoff- und energiesparende, umweltverträglich geschlossene und regionale Wertstoffkreisläufe um unseren CO2 – Fußabdruck zu reduzieren.

... DENKEN VORAUS.
Bei hochwertigen Produkten schreckt oftmals der vermeintlich höhere Anschaffungspreis. Investitionsgüter wie Türen und Zargen in einem Gebäude betrachtet man allerdings über den Lebenszyklus. Entscheidend daher sind neben der Haltbarkeit auch Unterhalts- und Wartungskosten. Sind diese gering so rechnet sich der höhere Einsatz zu Beginn. Auch wenn die Kosten für Investition und Unterhalt meist aus unterschiedlichen Töpfen kommen, so führt ein langer Lebenszyklus zu einem höheren Grad an Wert und Nachhaltigkeit.

... ZEIGEN PROFIL,
denn durch den Einsatz von 80% Sekundäraluminium sowie dem Einsatz regenerativer Energie bei der Herstellung von Primäraluminium für unsere Küffner-Aluminiumprofile liegt unser CO2-Fußabdruck bei weniger als ¼ gegenüber dem globalen Durchschnitt. Mit rund 450 eigenen Werkzeugen, stellen wir stranggepresste nachhaltige Profile aus eben diesem Aluminium her.

... KONSTRUIEREN UNSERE PRODUKTE SO,
dass eine saubere Montage möglich ist. Das Zubehör unserer Zargen ist geklemmt oder verschraubt und damit lösbar. Der Einbau unserer Aluminiumzargen erfolgt ohne Montageschaum oder Zementmörtel. Sie sind somit am Ende des Lebenszyklus leicht zu demontieren und sortenrein zu trennen, ohne Verschmutzung oder Rückstände. Zeit- und ressourcensparend – für den Handwerker und den Investor.

weshalb mit unserem Aluminium alles glatt läuft. Wissen wir doch, dass in Fragen der Nachhaltigkeit, des Klimaschutzes und des ökologischen Fußabdrucks das Leichtmetall Aluminium eine hervorragende Leistungsbilanz aufzuweisen hat. Aluminium kann beliebig oft, ohne Qualitätsverlust, zu 100% recycelt werden und erfordert dabei nur 5% des ursprünglichen Energieeinsatzes. Deshalb wird unser Leichtmetall auch als grünes Metall bezeichnet.

das Beste was einem Türblatt passieren kann ist, auf eine Aluminiumzarge zu treffen. Denn Dauerhaftigkeit und Haltbarkeit sind auch Attribute für Nachhaltigkeit. Mit hochwertig veredelten, eloxierten oder pulvereinbrennlackierten Oberflächen werden unsere Aluzargen zeitgleich mit den Türblättern montiert, ganz zum Schluss, nach Fertigstellung der Wände und Böden, der Putz-, Malerund Bodenbelagsarbeiten.

... GLAUBEN AN DEN KREISLAUF.
Am Ende eines langen Lebenszyklus denken wir an die sortenreine Wiederverwendung unserer Aluminiumprofile.
Wir pflegen die Kreislaufwirtschaft und die Nutzung natürlicher Ressourcen. Aus der Kreislaufwirtschaft schaffen wir neue haltbare und nachhaltige Bauprodukte aus Aluminiumfür langlebige Türen, Zargen, Sockelprofile und Paneele. Wir sorgen uns um die Umwelt, produzieren energieeffizient mit 100% selbst erzeugtem PV-Strom oder zugekauftem Naturstrom aus Wasserkraft.

... ENTWICKELN SEIT 25 JAHREN BARRIEREFREIE PRODUKTE.
Damals hieß das nur anders - wir bauten behindertengerechte Türen. Nachhaltigkeit hat nämlich eine soziale Komponente. Heute wissen wir, dass die barrierefreie Bauweise besonders geeignet und nachhaltig im Sinne einer flexiblen und dauerhaften Nutzung ist. Insofern waren wir früh unserer Zeit voraus, mit Produkten die an ihrem Bestimmungsort funktional und langlebig sind, wie zum Beispiel unsere barrierefreien Raumspartüren für Menschen, die auf Rollator oder Rollstuhl angewiesen sind.

... FERTIGEN NACHHALTIGE PRODUKTE, die man nie mehr missen will. Als wir vor über 50 Jahren die stranggepresste Aluminiumzarge entwickelt haben, war das eine kleine Revolution. Eine Umfassungszarge aus Aluminium, die im Nassbereich eingesetzt werden kann, ohne zu rosten oder zu vermodern. Viele unserer Türzargen verrichten noch nach Jahrzehnten verlässlich ihren Dienst, sind immer noch funktionsfähig, in Schwimmbädern, Duschen, Umkleiden und Toiletten.

wohin unserer Produktionsreste aus Aluminium gehen. Wir sind Mitglied im A|U|F, einem Verband, der die Sammlung von Aluminiumschrott organisiert und dafür garantiert, dass dieser innerhalb von Deutschland wieder in die Kreislaufwirtschaft zurückgeführt wird. Seit 2015 verfügen wir über eine Ökobilanz durch eine EPD des IFT in Rosenheim. Küffner-Profile werden können damit in Gebäuden werden, die von der DGNB (Deutschen Gesellschaft für nachhaltiges Bauen) oder LEED (Leadership in Energy and Environmental Design) in Gold- oder Platin zertifiziert wurden.

wenn eine Konstruktion wirklich bis ins Detail durchdacht ist. Und manchmal erfinden wir das Rad sogar neu – wie zum Beispiel nachhaltige Lösungen für Fingerschutztüren in Kindergärten und Schulen. Mit durchdachten Konstruktionen, ohne nachträglich aufgeschraubte und anfällige Schutzprofile oder -rollos, sondern mit werkseitig integrierten Knautschzonen. Hohe Langlebigkeit, geringe Unterhaltskosten und gutes Design sind Faktoren die ein Produkt verlässlich und dauerhaft machen.

...
neben einer durchdachten Konstruktion auch eine zeitlose Form, denn gutes Design trägt zur Nachhaltigkeit bei. Durchdachte Details dienen dem Verstehen des Produktes und machen es brauchbar. Natürlich ist gutes Design ästhetisch, unterstützt die Funktion, ist haltbar und damit umweltfreundlich. Ein Produkt, das diese Vorgabe erfüllt, unterliegt nicht der Mode. Es wird über Jahrzehnte hinweg ganz selbstverständlich und gerne genutzt.
























Küffner Aluzargen GmbH & Co. OHG
