
1 minute read
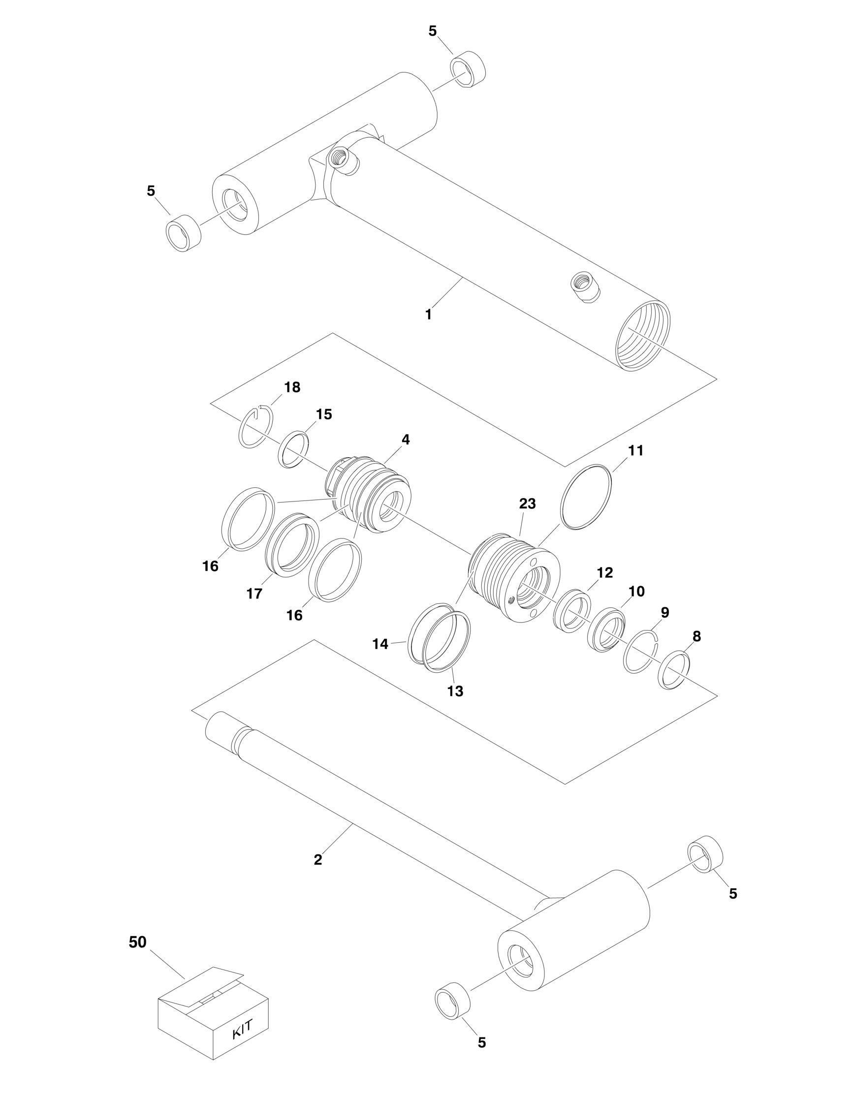
FIGURE 5-13. USA BUILT MACHINES/MASTER CYLINDER (450AJ SERIES II) (SERVICE REPLACEMENT
ITEM PART NUMBER QTY
DESCRIPTION
Ref Note: Original Equipment Cylinder may have been replaced
with Service Replacement Cylinder. Identify p/n stamped on cylinder before ordering parts.
Ref USA Built Machines use SNs 03xxxxxxxx. Ref Belgium Built Machines use SNs 13xxxxxxxx. Ref Romanian Built Machines use SNs E3xxxxxxxx. 1001140278 Ref MASTER CYLINDER ASSEMBLY (450AJ SERIES II) (SERVICE
REPLACEMENT)
1 70003843 1 Barrel 2 70003844 1 Rod 4 70003819 1 Piston 5 0961951 4 Bushing 8 7026084 1 O-Ring 9 70002217 1 Ring, Retaining 10 70003845 1 Wiper 11 70003845 1 O-Ring 12 70003845 1 Seal 13 70003845 1 Ring, Back-up 14 70003845 1 O-Ring 15 70003845 1 O-Ring 16 70003845 2 Ring, Wear 17 70003845 1 Seal 18 70002216 1 Retainer 23 7026082 1 Head 50 70003845 1 Seal Kit (Includes Items 10-17)
REV
A






