
2 minute read
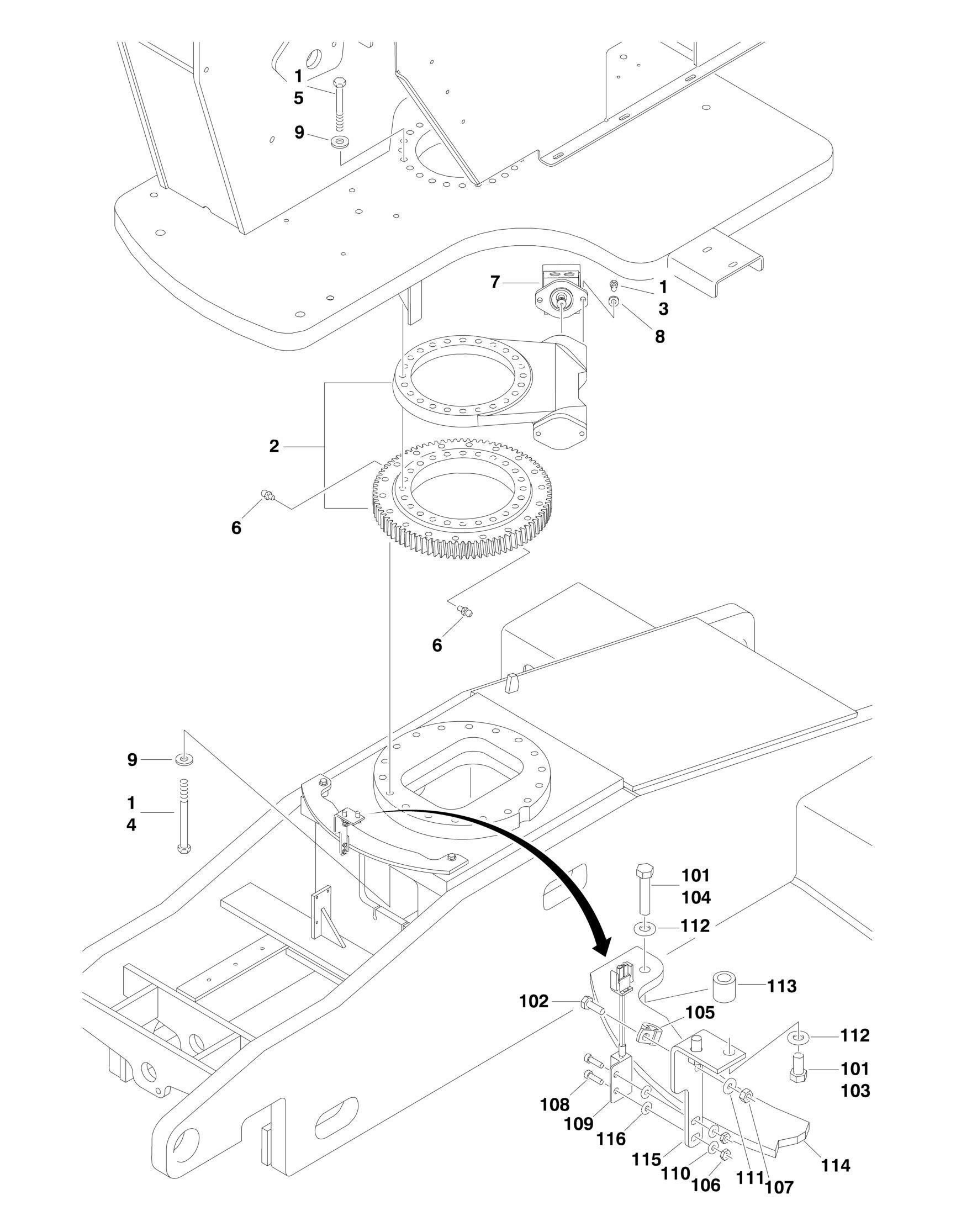
FIGURE 2-3. TURNTABLE AND SWING DRIVE INSTALLATIONS
ITEM PART NUMBER QTY DESCRIPTION REV
Ref USA Built Machines use SNs 03xxxxxxxx Ref Belgium Built Machines use SNs 13xxxxxxxx Ref Romanian Built Machines use SNs E3xxxxxxxx Ref SWING DRIVE INSTALLATIONS 0273358 Ref SWING DRIVE INSTALLATION (DOHI) 1001153365 Ref SWING DRIVE INSTALLATION (JING WEI) 1 0100019 AR Compound, Locking 2 Ref Swing Bearing and Rotation Box Assembly Options (See SWING BEARING AND ROTATION BOX ASSEMBLY for Breakdown): 2 0440272 NLA Swing Bearing and Rotation Box Assembly (DOHI) (use p/n 1001231278) 2 1001153016 NLA Swing Bearing and Rotation Box Assembly (JING WEI) (use p/n 1001231278) D A
3 Ref Bolt 1/2in-13NC Options: 3 0641818 2 2-1/4in Length (USA Built Machines) (SN 0300124000 through
0300137174)
3 0641818 1 2-1/4in Length (Belgium Built Machines) (SN 1300006000
through 1300006700)
3 3931832 2 2in Length (USA Built Machines) (SN 0300137175 through
0300160834)
3 3931832 2 2in Length (Belgium Built Machines) (SN 1300006701 to
Present)
3 3931832 2 2in Length (Romanian Built Machines) (SN E300000001
through E300001114)
4 0682040 18 Bolt 5/8in-11NC x 5in (Grade 8) 5 0682048 24 Bolt 5/8in-11NC x 6in (Grade 8) 6 2160001 2 Fitting, Grease 7 Ref Swing Motor Assembly Options (See SWING MOTOR ASSEMBLY for Breakdown): 7 3160287 1 Motor for USA Built Machines (SN 0300124000 through
0300137174)
7 3160287 1 Motor for Belgium Built Machines (SN 1300006000 through
1300006700)
7 1001104850 1 Motor for USA Built Machines (SN 0300137175 through
0300160834)
7 1001104850 1 Motor for Belgium Built Machines (SN 1300006701 to Present) 7 1001104850 1 Motor for Romanian Built Machines (SN E300000001 through
E300001114)
8 Ref Flatwasher 1/2in Options: 8 4891800 2 Hardened - USA Built Machines (SN 0300124000 through
0300137174)
8 4891800 2 Hardened -Belgium Built Machines (SN 1300006000 through
1300006700)
8 4740171 2 Special - USA Built Machines (SN 0300137175 through
0300160834)
4740171 1 Special -Belgium Built Machines (SN 1300006701 to Present) 4740171 1 Special -Romanian Built Machines (SN E300000001 through
E300001114)
9 4892000 42 Flatwasher 5/8in 9 1001102695 Ref DRIVE ORIENTATION INSTALLATION (USA BUILT MACHINES)
(SN 0300137906 through 0300160834)
9 1001102695 Ref DRIVE ORIENTATION INSTALLATION (BELGIUM BUILT
MACHINES) (SN 1300006701 to Present)
D
D
ITEM PART NUMBER QTY
DESCRIPTION MACHINES) (SN E300000001 through E300001114)
101 0100011 AR Compound, Locking 102 0641406 1 Bolt 1/4in-20NC x 3/4in 103 0641606 2 Bolt 3/8in-16NC x 3/4in 104 Ref Fastener Options: 104 0641614 2 Hex Bolt 3/8in-16NC x 1-3/4in 104 88261039 2 Button Head Screw 3/8in-16NC x 2in 105 1320041 1 Clamp 106 3311005 2 Locknut #10 107 3311405 1 Locknut 1/4in-20NC 108 3931010 2 Screw #10-24 x 5/8in 109 4360517 1 Switch, Proximity 109 4460320 1 Connector, Male 109 4460227 2 Pin, Male 110 4711000 2 Flatwasher #10 Regular 111 4711400 1 Flatwasher 1/4in Thin 112 4711600 4 Flatwasher 3/8in Thin 113 1001145163 2 Spacer (was p/n 7116691 & 1001114757) 114 1001102526 1 Cam 115 1001102527 1 Bracket, Switch 116 4740120 2 Flatwasher, Special






