
2 minute read
Installation levier commande
from CNH KG1BP514-00 - Multi-Purpose Circuit Proportional Control Kit CX300D Installation Instructions
Dépose
levier commande (côté droit)
Relever souf flet (*1) levier commande ser tournevis cruciforme une clé polygonale pour déposer les 2 vis (*2) situées sur vercle supérieur
SMIL14II00167AB 1
Utiliser tournevis cruciforme pour déposer les 2 vis (*3) , puis déposer poignée levier (*4)


SMIL14II00168AB 2
Utiliser tournevis cruciforme pour déposer les 2 vis (*5) couvercle supérieur
SMIL14II00169AB 3
Déposer les connecteurs (*6) couvercle supérieur console (*7) .

A tournevis cruciforme clé nale , déposer les 5 vis (*8) , puis couvercle (*9)

SMIL14II00175AB 5
Relever souf flet (*10) levier commande, ser connecteur (*1 commutateur levier , puis couper bracelet (*12)
SMIL14II00171AB 6
T out serrant (*13) avec une clé , utiliser une clé pour déposer contre - écrou (*14) levier commande (*15)



SMIL14II00172AB 7
Installation levier commande (côté droit)
Après avoir installé bouton (droit) (1) , utiliser une clé pour installer contre - écrou (*14) , tout serrant (*13) avec une clé . Couple serrage contre - écrou : - N·m ( 28.2532.53 )
Monter connecteur commutateur nore (*1 , nouer à bracelet (*12) , puis vrir souf flet levier commande (*10) .
SMIL14II00174AB 9
A tournevis cruciforme clé nale , poser couvercle (*9) avec 5 vis (*8)

SMIL14II00175AB

Monter les connecteurs (*6) couvercle supérieur console (*7)


SMIL14II00176AB 1 1
Utiliser tournevis cruciforme pour poser les 2 vis (*5) couvercle supérieur
SMIL14II00177AB
A tournevis cruciforme, installer poignée levier (*4) avec les 2 vis (*3)

A tournevis cruciforme clé nale , poser les 2 vis (*2) couvercle rieur console recouvrir souf flet levier commande (*1)

Installation capteur témoin réservoir (avertissement colmatage filtre)
SMIL15CEX8951FB 1
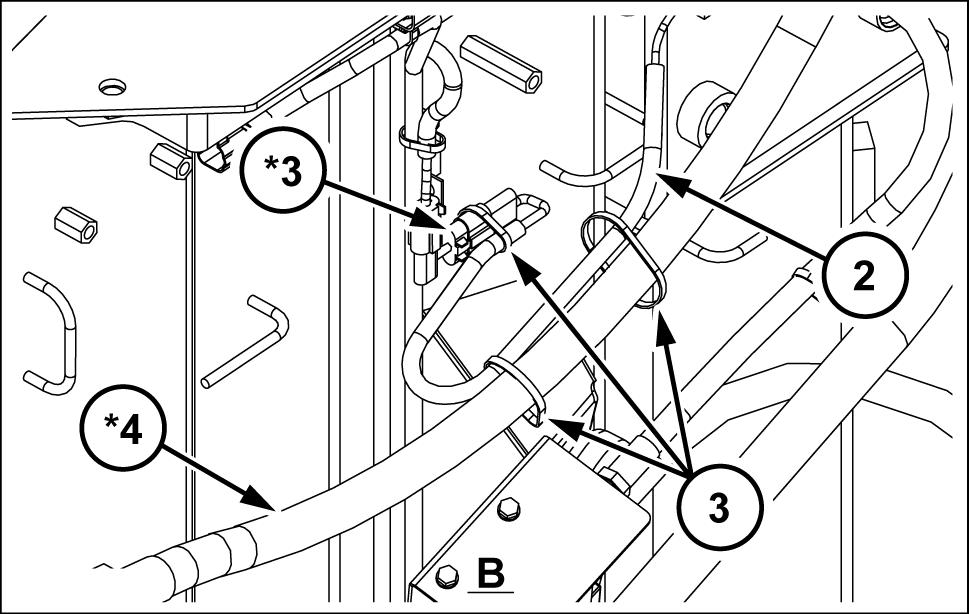
Installer capteur pression (1) sur réservoir draulique (*1) niveau raccord T (*2) Brancher faisceau électrique capteur (2) sur capteur pression (1)

Connecter faisceau électrique capteur (2) sur faisceau châssis principal (*3) fixer à trois bracelets (3)
• Serrer deux des trois bracelets (3) avec conduite principale circuit marteau (*4)



Contenu kit 1 - 1
F
Fixation plaque signalétique à cabine 3I
Installation capteur témoin réservoir (avertissement colmatage filtre) 3Installation levier commande . . . . . . . . . . . . . . . . . . . . . . . . . . . . . . . . . 3 -
M
Mise place conduite supérieure principale . . . . . . . . . . . . . . . . . . . . . . . . . . 3 - 5
P
Pose conduite pilotage - Commande proportionnelle 3 - 1 1
Pose des conduites flèche 3 - 1
Pose faisceau - Commande proportionnelle 3Préparation . . . . . . . . . . . . . . . . . . . . . . . . . . . . . . . . . . . . . . . . . . . 2 - 1
SER VICE - T echnical Publications & T ools
T ous droits réservés. Aucune partie texte des illustrations cette publication peut être reproduite.
CNH Industrial poursuit une politique permanente ses produits réserve droit modifier les les spécifications techniques les versions à tout sans
T outes les données qui figurent dans cette publication sont sujettes à des modifications Les dimensions les poids sont fournis à titre indicatif les figures correspondent pas nécessairement à une machine type Pour obtenir des informations plus précises sur votre veuillez consulter votre concessionnaire CNH Industrial.


Pre
Assemblaggio Operazioni Preliminari Per Mont Aggio
Preparazione . . . . . . . . . . . . . . . . . . . . . . . . . . . . . . . . . . . . . . . . . . . . . . . . . . . . . . . . . . . . . . . . . . . . . . . . . . .