THIIS June 2023

Page 1

Also inside...

ARB Mobility in Somerset opens its doors for business

Top clothing and footwear expert recommendations

Etac embraces a new age in mobility and seating

Walking on sunshine

Mobility retailers gear up for the summer with innovative independent living aids

ISSUE 297 JUNE 2023 TRADE MAGAZINE

AVAILABLE IN: Black

Based on the design of our popular Lithilite & Alumina models, the Airscape is aimed at retailers who want to start their offering with a lithium product at a competitive price

The Airscape gives users the opportunity to benefit from the advantages of owning a Lithium mobility scooter without breaking the bank.

Li Lithium-Ion Battery Technology Available on W A R R A N T Y W A R R A N T Y W A R R A N T Y 5 Y E A R W A R R A N T Y W A R R A N T Y
Lithium-Ion
O U T N O W SOFT GRIP & DUAL CONTROLS ROTATING PADDED SEAT SUPER SOFT TYRES LONG FLAT FLOOR PAN FOR EXTRA LEG ROOM 21 Stone Weight Limit 9 Mile Range Lithium Air Safe Battery
Travel friendly
battery!
V I S I T w w w . m o t i o n h e a l t h c a r e . c o . u k C A L L 0 8 4 4 2 5 7 8 1 5 0

From the editor Welcome!

The summer months promise to be busy for mobility retailers with customers keen to stock up on products that will help them retain their independence. This month, we meet one of these, ARB Mobility in Taunton, which opened its doors last year. Its owner, Alex Boon, shares his thoughts on supplying high specification products alongside exceptional customer service (p20).

One event which promises to be popular is the Disability Expo, taking place in London’s Docklands from 6-7 July 2023. Europe's largest event for disabled people, hundreds of exhibitors from the mobility sector will showcase the latest innovations, alongside a busy programme of activities and performances. Find out more about the event on page 28.

This month, THIIS meets Ryan Hirst, European Sales Manager for Etac, a Swedish firm which has been manufacturing mobility equipment for 50 years now (p32). Meanwhile, Paul Stockdill, UK Sales & Marketing Director for Handicare, discusses the latest additions to its stairlift portfolio (p14).

Following the news that Driving Mobility (p5) is launching a customer assessment and safety training scheme for retailers of mobility scooters and powered wheelchairs, we seek thoughts from some retailers about whether such guidance should become mandatory (p40).

Find out the latest accessible clothing and footwear recommendations in the Buyers’ Guide (p46) and Retailers’ Choice (p8) features.

If you’re a retailer with any news to share about your business then don’t hesitate to get in touch with me at the contact details below. Enjoy the issue!

www.thiis.co.uk / 3 WELCOME Stay up to date... @wwwthiiscouk facebook.com/THIIS.Magazine linkedin.com/company/thiis-magazine THIIS is produced by BHTA Engage, Office 404, Tower Bridge Business Centre, 46-48 E Smithfield, Whitechapel, London E1W 1AW BHTA Engage Ltd. All rights reserved. No part of this publication may be reproduced or used in any way without the written permission of the publisher. The views expressed in this publication are not necessarily those of the publisher and although every effort has been made to ensure that the information is accurate, the publishers take no responsibility for errors or omissions. Inside... Trade Talk: Handicare Guest article: Guide to Supplier Spotlight: Etac Regulars 04 News, deals and people 08 Retailers’ Choice: Clothing and footwear 42 Let’s Get It Clear: Seating measurements 46 Buyers' Guide: Clothing and footwear 07917 784929 / liane@thiis.co.uk 07384 258 372 / joe.fahy@bhtaengage.com TRADE MAGAZINE
48
Editor

News, deals & people

A round-up of the key trade stories for business leaders to digest

Medequip acquires

Ross Care

Complete Care Shop launches the Grab and Go

Online daily living aids provider Complete Care Shop has announced the launch of the Freestyle Grab and Go, which it claims is the UK’s first dual-purpose walking stick with grabber.

Robust, durable, and manufactured using high quality materials, the Grab and Go is a unique walking stick with a built-in grabbing mechanism that enables the user to pick up small, commonly-dropped items inside and outside of the home such as gloves, pens, keys, cutlery, pill box, wallet, bus pass, Blue Badge, dog lead or glasses and even larger items of clothing, including coats or jumpers, without the need to bend down. It is available in three lengths, 32”, 34” and 36”. mobility retailers interested in stocking the Grab and Go can e-mail customerservice@completecareshop.co.uk.

Community equipment services provider Medequip has announced the acquisition of wheelchair specialists Ross Care from Millbrook Healthcare Group. According to Medequip, the move is designed to enhance the scope and range of services across its community equipment contracts nationwide, with the in-house ability to provide total solutions.

The synergy between the two organisations is already proven as Medequip and Ross Care have existing partnerships in place. The two organisations have already worked together to offer combined community equipment and wheelchair service contracts for some years.

In these localities, Ross Care provides the wheelchair element of the contracts, enabling Medequip to deliver a comprehensive offering to people, social prescribers, councils, and NHS Trusts.

ABLEWORLD READING STORE RELOTES

Mobility and stairlift retailer Ableworld has announced the relocation of its Reading store to a new larger premises which enables it to provide an expanded range of equipment to the area. The new Ableworld store opened at 31 Boulton Road, Reading, RG2 0NH, opposite B&M and Pets at Home on 5 June 2023. The larger space will allow Ableworld to showcase a broader range of products including mobility scooters, wheelchairs, riser recliner chairs, stairlifts, daily living aids and much more.

BHTA PRODUCT SHOWCASE TARGETS RETAILERS

A free webinar hosted by the British Healthcare Trades Association (BHTA) will enable mobility retailers to connect with manufacturers and distributors with new or innovative products to share.

The ‘BHTA Member Product Showcase’ webinar takes place on 28th June 2023 from 2.30pm-4pm. Suppliers excited to showcasing their latest products will include Drive DeVilbiss Healthcare, eFOLDi, Electric Mobility, Motion Healthcare and Monarch Mobility. Interested participants can visit www.bhta.com/bhta-member-productshowcase/ to register.

4 / www.thiis.co.uk NEWS, DEALS & PEOPLE
in brief...

Driving Mobility launches customer assessment and safety training scheme

Supported by the Department for Transport, the national charity Driving Mobility is introducing a new customer assessment and safety training scheme for retailers of mobility scooters and powered wheelchairs.

The Powered Wheelchair and Mobility Scooter (PWMS) Retailer Training Scheme will be officially launched at an event in Westminster this month. Attendees will include mobility product retailers, manufacturers and stakeholders from across the industry who will meet with ministers and dignitaries to launch the nationwide roll-out of the new scheme.

Following a successful pilot, this voluntary training scheme aims to improve how retailers assess the needs and capabilities of customers so that the most appropriate mobility scooters and powerchairs are supplied.

In addition, suppliers will learn how to provide suitable on and off-road safety guidance with a view to vehicle owners driving more considerately and competently. Currently there is no standardised process for assessing customer needs and coupled with grey areas of legislation regarding use of Class 2 and 3 mobility vehicles, the need for a consistent approach is more evident than ever before. Find out more about what retailers think about this topic on page 40.

Uccello Designs gets itself into hot water

Daily living aids supplier Uccello Designs has launched its newest daily living aid, the Liquid Level Indicator.

When the liquid reaches the lowest prongs the device, which is equipped with a two-stage alarm, will beep and vibrate telling the user that their cup is nearly full.

Once the liquid reaches the highest prong, both the sound and the vibrations intensify signaling to stop pouring. It is splash-proof and easily cleaned with adjustable prongs to fit any vessel.

The product is designed to help those of us with limited visibility, the elderly or wheelchair users, to pour any liquid into their cup/glass without risk of overfilling, scalding, or spilling.

EFOLDI ROLLS OUT SMART PACKAGING SCHEME

Portable mobility specialist eFOLDi has launched a new product labelling concept that uses QR barcode technology to support its growing network of mobility retailers and help drive best-practice for field training and product awareness. By integrating smart packaging technology eFOLDi hopes to enhance levels of awareness for its products. Each new product shipped will include a unique QR Code label that will enable the retailer, with the aid of a smart phone, to access a URL link to a ‘Quick-Guide’ tutorial video, helping consumers to get up and running more quickly.

WHEELCHAIR-ACCESSIBLE GARDEN AWARD

RHS Chelsea Flower Show last month awarded the coveted ‘Best in Show’ award to Harris Bugg Studio for Horatio’s Garden, a wheelchair accessible garden for patients recovering from spinal injury. Horatio’s Garden was the first fully accessible garden to win ‘Best in Show’ with wheelchair access being fundamental to the whole design. The winning display had a non-slip surface on one level, made out of recycled building site waste. There was also a shelter with a hospital bed for a spinal patient to rest. The garden will be relocated for the enjoyment of patients at the Princess Royal Spinal Injuries Centre in Sheffield.

www.thiis.co.uk / 5

Inclusive art trail supported by Sunrise Medical

Wheelchair manufacturer Sunrise Medical has announced that it is sponsoring Morph’s Epic Art Adventure, the UK’s first step-free art trail, taking place from 19 June – 20 August 2023 in London.

Over 60 uniquely designed, super-sized sculptures of much-loved children’s TV character, Morph, are shapeshifting their way through central London to form an extraordinary, free public art trail alongside iconic London landmarks.

As part of Morph’s Epic Art Adventure in London, the charity Whizz-Kidz will use the art trail to encourage the public to envision what a more inclusive world might look like for young wheelchair users. At the end of the trail, the Morphs will be auctioned off to raise funds for the charity as it continues its efforts to provide wheelchairs, equipment and support.

Care Sector Supplier Awards launches

Drive DeVilbiss Healthcare beds down

Mobility equipment supplier Drive DeVilbiss Healthcare has launched the Solite Pro Ultra Low profiling bed, expanding its range of home care beds for those most vulnerable to falls.

The Solite Pro Ultra Low bed is a four-section electrical profiling bed, offering its lowest minimum platform height yet at just 7.5cm, enabling the bed platform to be lowered even closer to the floor and reducing the risk of a fall from height for vulnerable occupants.

Its patented Dual Actuator System (DAS) allows the mattress platform to rise to 80.3cm, to ensure that a carer’s posture is closer to neutral for the moving and handling of bed occupants.

Featuring an auto regressing backrest, the bed is designed to maximise occupant comfort. The backrest section of the profiling bed raises and regresses away from the pivot point based around the

The Care Sector Supplier Awards is partnering with THIIS Magazine in recognising the hard work and innovative practices of healthcare and assistive technology companies.

Matt MacNamara, Development Director for the Care Sector Supplier Awards, said: “After seeing some strong winning entries in 2022 from the likes of Tunstall Healthcare, FaultFixers and Haigh Engineering, we look forward to seeing more examples of excellence for 2023.”

Providers of products and services to the care sector in the UK are invited to submit their entries by 30th June 2023. Visit the website at cssawards.co.uk to find out more about the awards and enter.

The awards will be presented at a lunchtime event in Kensington, London, on Friday 17th November 2023.

6 / www.thiis.co.uk NEWS, DEALS & PEOPLE

Seat Adjustments Widths 12” - 18”

Easily Dismantle into Four Pieces for Transport Powered Seat

Seat Adjustments Widths 10” - 14”

Seat Adjustments Depths 12” - 18”

CRASHED TESTED

Seat Adjustments Depths 10” - 14” Weight Capacity

Tilt 0o to 30o
17
12 lbs (113 kg)
8.9 st (56.7 kg) quantumrehab.co.uk
st
Weight Capacity
PORTABLE

Clothing and footwear

Retailer’s Choice: Bra Angel Dressing Aid from Buckingham Healthcare

“The difficulties associated with putting on a bra independently when someone has mild to moderate upper limb restrictions or limited hand dexterity, are very frustrating for women who have weakness following a stroke, arthritis, or a broken limb in a cast, finding it exceedingly difficult to bring both ends of a bra together and can often require help to dress.

“The Buckingham Bra Angel Dressing Aid was designed by occupational therapist Chris Clarke. It allows you to put on a bra using just one hand so if you have lost the use of one hand it means you can put the bra on by yourself and not have to rely on someone to dress you. The device holds one end of the bra securely while you bring the other end around your body to secure the hooks and eyes. The clever soft chin pad helps you to keep the bra angel in position whilst allowing you to see the fastenings for the bra.

“The device combines simplicity with innovation. It is versatile and designed to fit most bra types and easily adjusts to a wide variety of sizes. The telescopic action allows it to be compacted, making it easy to carry. It is also latex free, for anyone with sensitive skin. It promotes independence among less mobile users and is a very useful aid for women.”

www.peoplefirstmobility.com

Wondering which clothing and footwear are grabbing mobility companies’ attention? Each month, retailers in the mobility industry highlight one product that is standing out for them and why…

Dunlop Slippers from Able2

“Clothing and footwear is such a broad topic to cover, and let's face it, there are complete shops full of lots of choices.

“However, rather than fill our entire store with every conceivable wearable item, we have chosen to just offer a range of practical, comfortable footwear solutions that are not widely available in mainstream stores.

“Our preferred supplier is Able2 with their range of Dunlop male and female slippers. They come with antislip hard-wearing soles and wide openings with hook & loop fastenings. There are a number of choices in both the slipper and bootie styles and a selection of colours.

“We find them ultra reliable and extremely comfortable, which often means customers return for more.”

www.tpg-disableaids.co.uk

8 / www.thiis.co.uk
RETAILERS’ CHOICE
Best Extra Wide Fitting Footwear Brand 2020 & 2021 (SME News UK Enterprise Awards) discover real comfort footwear for extra wide or swollen feet | MMOCER E N D ED BY 10 0 0s OFPRO F E SLANOISS Good for Feet!  “Most comfortable shoes I’ve purchased!” Mrs K – Cheshire BECOME A STOCKIST IN 2023 FOR THESE BENEFITS AND MORE... STOCK OUR POPULAR STYLES & COLOURS THIS SUMMER! SUMMER STYLES AND COLOURS IN STOCK NOW... ADD THEM TO YOUR DISPLAY FREE Rapid Delivery FREE Display Installation FREE Seasonal Brochures FREE Marketing Support         PLUS! NO MINIMUM ORDERS For footwear HEALTHY MARGINS For stockists DIRECT DROP-SHIP Service available ONLINE TRADE PORTAL Order 24/7 01295 277377 sales@sandpipershoes.co.uk CALL US TODAY to discuss all stockist benefits EXTRA WIDE & ULTRA WIDE SHOES | BOOTS | SANDALS | SLIPPERS FOR LADIES & MEN CHLOE SANDALS Lilac (6E) NEW COLOUR BELLA SHOES Sandy (4E) NEW FILTON SHOES Grey/Mosaic (4E-6E) NEW COLOUR DORA HOUSE SHOES Denim (6E) CHERYL SANDALS Rose/Mosaic (6E) NEW COLOUR TRACY
HOUSE SHOES Beige
(4E-6E)

Retailer’s Choice: Walford Ladies Shoes from Sandpiper Shoes

“As an occupational therapist at Complete Care Shop, I am often asked by customers to recommend suitable footwear.

“It is especially important that footwear fits well to avoid developing deformities in the feet as well as being comfortable.

“We have a range of men’s and ladies’ footwear for people who may suffer with foot problems and need additional support for their feet but I highly recommend the soft and comfortable Sandpiper Walford

Ladies’ Shoes.

“I particularly favour the Walford shoes because they have a stretchy elastane front section which moulds and stretches to the shape of the foot comfortably, without rubbing.

“There are no internal seams in the front section, preventing rubbing and discomfort around the toes and they have padding and support around the ankles.

“I also like the single strap touch fastening of the shoe to assist with easy dressing, and the soft breathable

lining that reduces sweating allowing the foot to breath. The footwear has an ultra-wide adjustable 4E-6E fit, and the leather rear quarters, and the padded top allows for correct ankle support.

“Sandpiper footwear is ideal for people experiencing foot problems and I often recommend its range of products to customers with diabetes, swollen feet, or deformities such as bunions or hammertoes.”

www.completecareshop.co.uk

Retailer’s Choice: Deluxe Wheely Cosy by Ability Superstore

“This deluxe wheelchair cosy is a favourite of ours at Ability Superstore. The Cosy has an extremely warm quilted thermal fleece lining with a waterproof outer to protect against the rain.

“What makes this product so popular with our customers is how the front panel can be removed and stored when it is not needed, making it suitable for all types of weather, including British summers!

“The quilted lining makes it comfortable to sit on and helps to stop draughts getting to the back of the legs. The removable front panel, coupled with the waterproof outer and quilted lining, make this a must-have for anyone needing a wheelchair cosy.

“Easy to store, this wheelchair cosy will help to make life easier, whatever the weather.”

www.abilitysuperstore.com

10 / www.thiis.co.uk RETAILERS’ CHOICE

Peace of mind for all

To give you greater peace of mind, we’re offering an extended 5-year warranty on all our stairlifts. This means you now get FIVE years instead of the standard three-year warranty, on all products in our stairlifts range.

The offer is effective for all approved orders from 22nd May to 31st August 2023.

The offer of a lifetime... Standard warranty EXTENDED for a limited period 1100 1000 4000 Freecurve
www.handicare-stairlifts.co.uk 0844 225 3121
to your BDM to learn more or call TPS
Speak
on

Retailer’s Choice: Wide Fitting Footwear from Cosyfeet

“We have been selling wide fitting footwear in our showrooms for many years now and Cosyfeet shoes and slippers is our most popular range.

“Our customers often come in wearing ill-fitting shoes, struggling to get footwear to suit them, due to having swollen feet and other medical conditions.

“The range of Cosyfeet shoes and slippers are specially designed to fit and flatter swollen feet. The range is much roomier than the wide fitting footwear available on the high street. All styles have the same extra roomy width fitting, (6E for women and 3H for men) and they can be adjusted to fit a range of swelling.

“Our customers find them easy to get on and off and you can get adjustable fastenings if you need extra room. The shoes are also

suitable if you have bunions, problem toes and bandaging.

“Gone are the days when you could only buy black or brown wide-fitting shoes. Cosyfeet offer a wide selection of shoes and slippers in a great range of colours to suit everyone’s taste and style. We are finding the more casual styles are popular this year like the men’s Angus trainers and the women’s Gigi trainers. Both come with velcro fastenings.

“The Cosyfeet footwear range is recommended by UK healthcare professionals nationwide which gives customers peace of mind they are buying good quality shoes. Our showroom advisors also recommend Cosyfeet to our customers when they visit our showrooms.”

thistlehelp.co.uk

Strident - a name you can trust for high performance batteries

RETAILERS’ CHOICE
MOTIVATION THROUGH INNOVATION TM Strident Innovations Head office address: 50 Turbine Way Ecotech Business & Innovation Park Swaffham PE37 7XD T: +44 (0)1362 300102 | F: +44 (0)1362 300103 | sales@strident uk com www.stridentbatteries.com
With over 20 years experience, Strident are perfectly placed to offer the widest range of high quality battery products to the mobility and medical industries. Careful selection of only the highest quality raw materials consistent quality control throughout the entire production process and painstaking attention to every detail gives the Strident range its unique properties that can be trusted and relied upon in many vital mobility and medical applications To find out more about the Strident range of Mobility and Medical focused power products please contact our salesteam now. STRIDENT BATTERIES THIIS ADVERT DEC 2021_Layout 1 07/12/2021 10:42 Page 1

Trade Talk

Q&A with Paul Stockdill, UK Sales & Marketing Director at Handicare

The latest addition to Handicare’s stairlift portfolio is a new twin-rail curved lift, as well as Garaventa Lift inclined platform lifts, and the straight X3 and curved Artira.

UK Sales & Marketing Director Paul Stockdill shares more detail about the lifts and related services designed to make life easier for Handicare’s partner network…

WHAT ARE THE MAIN DIFFERENCES BETWEEN THE PREVIOUS TWIN-RAIL DESIGN AND THE NEW 4000 CURVED STAIRLIFT?

“A huge focus for the R&D team during the design process has been on improvements to the ease of installation and maintenance, as well as ride performance and aesthetics on the stairs. But there’s much more to the design of the 4000 than first meets the eye.

“Making sure our stairlift is fit for the future was a key objective for the project team responsible for the new twin-rail design. We’ve taken the elements that made our previous twin-rail design unique in the market

and improved them to make the lift more reliable and sustainable, and to improve fitability; plus, it more than complies with the higher EN81-40 safety standards.

“Increasing the weight capacity was an important feature that makes the 4000 perfect for installations where this is a priority. The standard model now offers a 136kg capacity. The heavy-duty model at 160kg is a first for a Handicare curved lift, and even more reason to choose Handicare as the automatic choice of partner for dealers.

“Under the cover there’s a simplified electrical scheme, reductions in the number of loom connectors and trunnions, improved trunnion guards, a re-designed seat stem bracket, a lighter powerpack, an independent OSG, more safety edges, a new slow/ soft stop feature, a pre-installed footrest (choice of three: large, small and offset) and fewer stronger stanchions (on the standard model).

“All this adds up to a significant improvement that goes beyond styling; although, with new modern powerpack covers, and a choice of seats, upholstery and rail colours the 4000 is definitely better-looking than its predecessor.”

WHAT KIND OF FEEDBACK HAVE YOU HAD FROM INSTALLERS AND USERS?

“By putting the end user at the heart of what we do, we’re able to create products and services that meet their needs. We ask for feedback from installers and users so that we can make sure our products are meeting their expectations and providing them with the best possible experience.

Engineers and partners who have already installed the new 4000 are

One of the world’s largest manufacturers and installers of stairlifts, Handicare prides itself on acting on both positive and negative feedback on its products and how they perform from its own engineers and commercial partners, as well as health professionals and of course the users themselves.

excited to offer it to their customers, while users have praised its smooth ride and good looks.

“Feedback from engineers completing the 4000 training included comments: “Looks like it’s built with engineers in mind,” and “much easier to work on”. Stairlift users have praised the ride quality and the lift’s ability to “blend in with the décor”.”

HAVE YOU MADE ANY UPDATES TO ANY OF YOUR EXISTING BESTSELLING PRODUCTS?

“Handicare’s best-in-class photo measurement tool, PS4D, now includes the 4000 and the Garaventa Lift curved platform lift, the Artira.

“Adding the Artira to the measurement tool makes life easier for partners quoting and installing inclined platform lifts for stairs with multiple landings or turns. The development is part of our ‘Sell Serve Support’ initiative launched earlier this year. Partners now have access to Garaventa Lift products through their existing stairlift sales, service and support teams and, with some of the industry’s shortest lead times,

14 / www.thiis.co.uk
TRADE TALK
The 4000 Curved Stairlift comes with a choice of upholstery and rail colours The Artira curved platform lift
Trust TOPRO indoors or outdoors - keep on moving See the quality, feel the quality 0115 846 5406 info@topro.co.uk www.topromobility.co.uk Call us on 0115 846 5406 TOPRO Troja 5G TOPRO Olypos ATR

they’re already seeing the benefits of sourcing platform lifts via Handicare.

“Soon we will include 4000 and Freecurve stairlift prices in PS4D so partners can give their customers an accurate quote at their first appointment.”

WHAT TYPES OF SUPPORT AND ONLINE TRAINING ARE AVAILABLE FOR LIFTS?

“Technology has revolutionised the way engineers work and troubleshoot problems. Our Technical Support team are highly respected, but also very busy, so to make it easier for partners’ teams to get help when they most need it our online TechTool troubleshooter gives engineers 24/7 access to solutions including the new 4000 lift if they need them.

“For experienced engineers installing and servicing the 4000 stairlift, a new online training course, available since the end of 2022, makes it quick and easy for them to gain the knowledge they need when it’s convenient for them. There’s also an online course about the changes we’ve made to our single rail Freecurve lift, available later this year.”

HOW IS HANDICARE ADAPTING ITS PRODUCTS TO FIT NEW EU STAIRLIFT REGULATIONS?

“Handicare’s R&D teams have been conducting development and testing, using custom-designed new rigs, to monitor performance not just against the latest revision of the European Standard, but also the wide range of international standards our products comply with.

“Careful analysis and development

of all our products has been ongoing. All Handicare stairlifts (1000, 1100, 4000 and Freecurve) meet the requirements of the Machinery Directive 2006/42/EC and where appropriate are additionally certified to EN81-40 and other standards.

“Detailed information about product updates has been shared with our partners and our new two-way voice communication device will be available for all stairlifts soon.”

CAN YOU TELL US ANYTHING NEW THAT HANDICARE IS DOING IN RELATION TO ITS PARTNER NETWORK?

“Shopping for a new lift can be an overwhelming experience, especially if customers aren’t able to see the product in person. We’re making it easier for customers to have access to all the information they need in order to make an informed decision without leaving their homes. With the introduction of the 4000, comes a new package of marketing materials including demonstration videos

Meet the 4000 Curved Stairlift

The 4000 Curved Stairlift comes with four modern seat options and a choice of upholstery and rail colours. It can be easily upgraded with a powered seat swivel and footrest options to suit the user’s needs. Compact, the stairlift folds to leave more room on the stairs when not in use. A hinged rail allows clear access on the lower level. Safety features include seatbelt options, an emergency stop and safety sensors. It also comes with improved UV protection and a water-resistant cover (IP44 rated). Energy efficienct, its low running costs and batteries enable it to remain operational if there’s a power cut.

highlighting key features of the lift.

“Our new product demo films give customers a look at how easy it is to use the lift, as well as features including the safety edges, manual and powered seat swivel and footrest.

“A selection of lifts from our Savaria portfolio are on display at our Kingswinford showroom, and we’re welcoming more partners, and in some cases, their customers, for product demonstrations in person. The new films give that showroom experience without the inconvenience of travel.

“Until the end of August, we’re also offering an extended warranty on approved orders of 1000, 1100, 4000 and Freecurve lifts. We want to give partners peace of mind about the products they’re choosing to buy from us, and to say thank you for their continued loyalty.”

For more information on the Handicare 4000 stairlift visit www.handicare-stairlifts.co.uk or www.handicarepartners.com

16 / www.thiis.co.uk
TRADE TALK
Lifts from the Savaria portfolio are on display at Handicare’s Kingswinford showroom
Veo Sport SR VelumiLi Veo Sport Airline Compliant VelumiLi & Veo Sport with British Made, 12.4Ah Lithium FerroPhosphate Battery Vippi 01460 258120 sales@electricmobility.co.uk electricmobility.co.uk products enrich the quality of freedom. O er the lifelong suppot & enjoyment they provide Exclusive Working in harmony, let be a part of your customer’s journey this Summertime... Call today!

THE WORLD’S LIGHTEST GENUINE FOUR WHEEL MOBILITY SCOOTER.

• Premium build quality

• Lightweight

• 8” PU wheels, solid front and back

• Maximum weight capacity 125kg

• 120W brushless motor

• Maximum speed 7km/h

• Frame made from magnesium

Weighs only 14.75kg!

Excluding battery & seat cover.

CALL CHRIS OR IAN ON 01422 323 888
is dependent upon user weight, terrain, incline, temperature and battery conditions. Introducing...
*Range
TRADE@MONARCHMOBILITY.COM WWW.MONARCHMOBILITY.COM
as seen

ARB Mobility: Helping customers live independently

ARB Mobility is a mobility shop and healthcare equipment retailer that provides a wide range of equipment including power chairs, manual and powered wheelchairs, mobility scooters, power add-ons and trikes for children and young adults with disabilities, as well as offering servicing and repairs.

Alex Boon, the owner and director of ARB Mobility, opened the showroom in Ruishton, a small village on the outskirts of Taunton, Somerset, nine months ago. He had previously worked for a large mobility company in the area, starting out as delivery driver before going on to sell equipment, working his way up

After 14 years working in the mobility industry, Alex Boon decided to take the leap and open his own showroom, ARB Mobility, on the outskirts of Taunton nine months ago. THIIS catches up with Alex to find out more about his new business in the South... West…

to becoming prescriptive mobility product specialist.

FINDING THE PERFECT PREMISES

After 14 years’ experience in the industry, Alex decided to take the leap and open his own business.

Says Alex: “Having started out as a delivery driver all those years ago at

20 / www.thiis.co.uk
RETAILER
Alex outside the showroom in Ruishton
SPOTLIGHT
Now live on Tailored foot mat Flip down armrests Impact bar Remote control operation Comfortable wide armrests Twin LED headlights & Rear LED light

the previous company I worked for I never imagined I would be running my own business within the sector.”

ARB Mobility is family run, with Alex working alongside his partner Hayley, who had previously worked as a carer for 10 years.

Discussing how he came about the premises for his showroom Alex comments: “We looked at a few places in the town centre but although they were good locations for passing trade they didn’t have the space we needed.

“We looked for three months before coming across our current premises. It had previously been a car garage so needed a lot of work before we could start trading. We fitted new double doors for easier accessibility and built a workshop.”

It’s a great location, says Alex, as there is plenty of parking and room for customers to sample products which you might not necessarily get in a town centre location. It’s also handily just off the motorway.

ARB Mobility has enjoyed plenty of footfall from customers with a large

multimedia ad campaign and the local newspaper helping to get the word out, as well as great reviews and word-of-mouth recommendations from happy clients.

EXCEPTIONAL SERVICE

As ARB Mobility’s director and product specialist, Alex prides himself on supplying highspecification products alongside exceptional customer service and great value. He says: “My focus is on ensuring a client is matched to the right product. I have teamed up with the industry’s best manufacturers to ensure I can offer a range of solutions in order to get the right fit.”

As is his background, Alex specialises in prescriptive products, working closely with different manufacturers such as Sunrise Medical, Ki Mobility, Permobil and Quantum Rehab, regularly partaking in training on their products to ensure he can prescribe their products confidently.

He comments: “I have handpicked

products for the shop that I feel are the best for functionality as well as being aesthetically pleasing. We don’t stock anything that is poor quality as that would mean unhappy clients.”

The showroom itself is light, bright and spacious inside. Alex explains: “We particularly wanted to steer away from the typical drab, cluttered mobility store interior and make the store welcoming to clients all ages.”

It was also very important to Alex to not only sell high-quality products but also to effectively maintain, repair and carry out any servicing required for these as well. “Building

22 / www.thiis.co.uk
RETAILER SPOTLIGHT
We particularly wanted to steer away from the typical drab, cluttered mobility store interior and make the store welcoming to clients all ages”
ARB Mobility specialises in high-specification powerchairs

Safety First

Our products are designed and manufactured with the utmost care and attention to detail, ensuring they meet the highest safety standards.

EN 81-40:2020 sets out safety rules for the construction and installation of stairlifts and inclined platform lifts, and we are proud to say that our products meet these standards.

With Access BDD you can have absolute confidence and peace of mind, knowing that our products are fully compliant for you and your customer. Speak to the team to learn more.

accessbdd.com

relationships and having somewhere friendly and local to go to is so important to many of our customers,” he says.

Alex is currently carrying out servicing and repairs himself, as he has done in the past, but he says that he will be looking at employing an engineer in the future as things get busier.

Tired of the busy, target-focused mentality of working for a large retailer, Alex opened ARB Mobility, he says, because he wanted to “do things better”. He adds: “I can now spend more time with clients and do things in a way which puts the clients first, which is how it should be.”

INNOVATIVE PRODUCTS

Alex is looking forward to showcasing some of the newer mobility products to come onto the market this summer. One of the products he has had a lot of interest in, and which he expects to do well, is the Q50R Carbon, a lightweight folding powerchair by Sunrise Medical.

He comments: “I think it will be a game-changer for people wanting to get out and explore further afield this summer as its lightweight enough to be easily popped in the boot and its batteries are IATA-approved for air travel.”

The new smart powerchairs are fantastic, he says, such as the

Permobil F5 and the Sunrise Q300. “Their ability to collect information on how a client drives and interacts with their environment will be a great help for both therapists and prescribers, as well as helping to increase a client’s confidence, and in turn, their independence.

“Anything that can help a client feel more confident and self-sufficient has got to be a good thing.”

ARB Mobility also stocks Theraplay trikes for children and young adults with disabilities. Theraplay is a family run company based in Scotland, explains Alex. “We share their belief that everyone should get the opportunity to enjoy the thrill of cycling. It’s a pleasure to be exclusive dealers for the south-west of England, they are a fantastic company.”

Assessments for the Theraplay trikes take place either at the showroom or the child’s home or school. Alex says that he particularly enjoys handover day.

“The excitement and joy on the

children’s faces when they receive their trike is amazing, it’s really rewarding. We’ve had a positive response so far and think they will continue to sell well, especially with everyone beginning to think about getting out and about enjoying the sunnier weather.”

Aside from trikes, Alex is also exploring other product categories and has recently started working with two fantastic companies, Lavoro and Mercado Medic.

Lavaro, he says, make Swedish engineered, Scandinavian-style height-adjustable office tables, while Mercado Medic provide manual and

24 / www.thiis.co.uk RETAILER SPOTLIGHT
“Building relationships and having somewhere friendly and local to go is so important to many of our customers”
A range of rise & recline chairs are available

The Most Powerful Battery On The Market

The EX Range – 26% More Power

Haze have a unique AGM range which off ers more power in the same box size. There are fi ve higher capacity part numbers to choose from.

A True Gel Battery

Not only do Haze off er an outstanding AGM and EX range, they manufacture a complete range of true 100% Gel batteries.

01 53 6 20 30 30
sales@easystartbatteries.co.uk easystartbatteries.co.uk

powered adjustable office chairs.

“We are excited to be able to offer innovative solutions to help people live independently,” says Alex.

EMBRACING E-COMMERCE

ARB Mobility also showcases mobility stocks on its website, which is a work in progress, with more products being added to it all the time.

With the rise of ecommerce affecting all retail, including the mobility sector, it was inevitable that his business would need to embrace this aspect, Alex says, although he

states that his focus is on “more faceto-face service.”

As for how his business competes with online firms offering cheaper prices, he insists that providing a quality offering will always win out.

Alex adds: “It was a difficult decision to start a new venture, but I believe if we focus on the right products, keep our prices fair and form trusted relationships with our clients, with great aftercare we can compete.

“You can’t get a person-centred approach from a box arriving in the

post, can you?”

As a new business ARB Mobility has had a positive start with some great feedback and support from clients and suppliers, Alex enthuses, and he is looking forward to continuing this growth into the future.

“As we are only new, we don’t have any plans to open any further showrooms and we would like to really establish ourselves where we are first. But who knows where the future will lead…”

arbmobility.co.uk

26 / www.thiis.co.uk
RETAILER SPOTLIGHT
Lightweight wheelchairs are selected for their functionality and aesthetic appeal

Putting the ‘I’ in d sability

Disability Expo is an attendee focused two-day event, putting the ‘I’ in disability. Timed for the beginning of Disability Pride Month, it is set to be Europe’s largest event for disabled people, by disabled people...

Hundreds of exhibitors will be showcasing the latest innovations in independent living and mobility aids, technologies, services and advice from a variety of charities and organisations at the upcoming Disability Expo, taking place on 6th and 7th July 2023 at the ExCeL exhibition centre in the heart of London’s Royal Docks.

There will also be a full event programme comprising inclusive activities, performances and presentations from engaging relatable people sharing their experiences, skills and expertise.

28 / www.thiis.co.uk
GUEST ARTICLE
Disability Expo will take place at ExCeL London from 6-7 July 2023 The event offers the chance to make key connections with manufacturers

THE PEOPLE BEHIND DISABILITY EXPO

Made2Aid have 10 years of experience in successful disability events, including RISE Expo and RISE@ THIIS. Its experience, both personally and commercially, has allowed the organisation to grow organically.

It has established working relationships with leading organisations including charities, equipment manufacturers, health and social care providers, as well as personally delivering services and support to those that require it, giving it a genuine understanding of the unique needs of both audience and exhibitors alike.

Made2Aid states that it is passionate about providing a platform that sees each person as an individual rather than a consumer or service user, and involves all parties to source the most suitable solution to meet their unique needs and objectives.

WHAT’S HAPPENING AT DISABILITY EXPO?

The People’s Panel will be a forum-style theatre where pressing issues and key topics will be discussed by influential and knowledgeable panellists. These will include Baroness Tanni Grey-Thompson, Shani Dhanda, Mik Scarlet, Jordan Jarrett-Bryan and many more.

The Centre Stage will deliver entertaining and inclusive content from a variety of acts including Britain’s Got Talent finalist Eva Abley and a live podcast from The Grumpy Gits, the world’s most listened to disability podcast.

It is also working with number of fashion brands, designers and agencies for an inclusive fashion show in which everyone feels represented.

The Have-A-Go zone in partnership with the charity Phab offers inclusive sports and activities for people of all abilities to enjoy together. Phab’s Co-CEO’s Mik Scarlet and Dawn Vickers, comments:

“Phab are proud to announce our partnership with Disability Expo on the Have-A-Go Zone, where everyone can try an activity. Our joint ethos of inclusion and equality while having fun will be embodied at the Have-AGo zone, where the sky’s the limit... come along and try something amazing!”

The EmployAble zone, sponsored by Amazon and in partnership with Evenbreak, allows delegates to discover the latest products and software that can assist with their work, connect with DEI leads from inclusive companies and attend talks on flexible working, selling their skills, building their career and more.

www.thiis.co.uk / 29
Phab’s Co-CEO’s Mik Scarlet and Dawn Vickers will champion inclusive sports Visitors can discover how adaptive yoga can promote mindfulness in the Zensory Zone

The Gaming Zone, powered by Adapt-IT, allows delegates to trial the latest assistive gaming technology, with multiple gaming areas to support differing levels and types of disability. Delegates can enter competitions, watch Twitch streamers and test their skills against the best retro games or modern titles. The Community Clinic will enhance access to care in the community through a dedicated Clinic and Charity Zone. Delegates can speak to a health professional free of charge, receive advice and start or speed up the process of care services.

The Manage At Home area, in partnership with Medequip, will feature off-the-shelf products and specialist equipment for delegates to try out in a realistic home environment. It will showcase examples of creative and accessible design tailored to the unique needs of those who live there, with live demonstrations throughout the day. The Zensory Zone, in partnership with Pods Play, will offer a tranquil, accessible quiet sensory space for all ages and abilities. There will also be scheduled activities to support mindfulness and relaxation.

The Mobility MOT is being co-ordinated by Access

Your Life and Celtic Mobility. In a bid to help with the cost-of-living crisis the firms will provide wheelchair users with a free five-point check that includes wheels, brakes, footplates, seat cushions, and backrests. Delegates can also replace, repair, or modify certain parts for an additional cost.

TRADE EVENING

A dedicated Trade Evening in partnership with the BHTA will take place at the close of the first day of the event, on Thursday 6th July. This exclusive gathering for the mobility, access and independent living sector offers the opportunity to network and make key connections with manufacturers and distributors in the leading city for trade and business.

There will also be relevant topics of discussion and recognition of the exceptional work taking place in our industry.

Register your interest in attending at www.thedisabilityexpo.com/ disability-expo-trade-evening.

WORKING WITH DISABILITY EXPO

The ethos of Disability Expo is for people with a lived experience of disability to engage with businesses and healthcare professionals from all disciplines to interact and learn, whilst working together to create an inclusive and accessible movement of change.

This will in turn provide opportunities for sales, brand recognition, research and development and relationship building with your target market.

BHTA members receive an exclusive 10 per cent discount on stand prices if they quote BHTA when speaking to the sales team on the details below – be quick and don’t miss your last chance to be involved.

Contact Kerry Hosker at kerry.hosker@thedisabilityexpo.com or call 020 4552 3576 to find out more. Alternatively, register to attend as a trade visitor and find out what Disability Expo is all about.

www.thedisabilityexpo.com

30 / www.thiis.co.uk
GUEST ARTICLE
The ethos of Disability Expo is for people with a lived experience of disability

Handicare Freecurve

A custom-designed curved stairlift, shipped in just 5 days!

Space-saving, sleek and single-rail design

Choice of seat and rail colours

Active seat option to assist standing up

Powered options available for accessibility

Multiple charge points to park on landings

A life-changing lift surveyed, quoted and installed in record time

We know how important it is for you to be able to provide a stairlift for your customers quickly. Our team is committed to making sure the lead time on our made-to-measure Freecurve lifts is hard to beat!

www.handicare-stairlifts.co.uk

Speak to your BDM to learn more or call TPS on

0844 225 3121

Etac: Embracing a new age in mobility and seating

A Swedish developer of innovative assistive devices and patient handling equipment, Etac has been manufacturing wheelchairs for 50 years. With the addition of Ki Mobility, Star and Convaid in recent years, it now has a renewed focus on developing its mobility and seating offering to the UK dealer network and NHS wheelchair services. THIIS chats to Ryan Hirst, European Sales Manager at Etac, to find out more…

CAN YOU TELL US A LITTLE BIT ABOUT WHAT YOUR ROLE AS EUROPEAN SALES MANAGER AT ETAC INVOLVES?

“I joined Etac to further develop the wheelchairs and seating business. Etac acquired Ki Mobility around 18 months ago. This strengthened our product portfolio in the mobility sector, building on fantastic Etac fleet products from Sweden, the US Convaid brand which was acquired back in 2015 and specialist paediatric products from R82.

“Initially my goal is to consolidate the full portfolio under the Etac brand and then we will grow the business! We are building a new sales team, adding customer service resource and supporting our European teams with their integration projects.”

WHAT WAS YOUR EXPERIENCE IN THE MOBILITY INDUSTRY PRIOR TO JOINING ETAC?

“I came into the mobility market as a

product manager and from day one I was hooked! The intricacies and prescriptive nature of a wheelchair to an individual’s needs is unlike anything I had seen before and the level of detail you can go into is immense.

“Coming from a rather dull IT background, I relished the thought of actually contributing toward someone’s wellbeing – this has always given me an extra push of motivation. After a tenure at Sunrise Medical working up to a senior UK

32 / www.thiis.co.uk SUPPLIER SPOTLIGHT
The Little Wave Clik wheelchair

(without battery)

• Max speed 6km/h

• Max drive distance 15km

• Max capacity 125kg

• Max Gradient 12 degrees

• Gyration radius 1.4m

• Driving system Rear wheel drive

• Solid Tires

• Brush motor

• Lithium Battery 24 10AH

• Charger: 25.9V 2A

(Output:25.9V 2A)

• Approved *Range

CALL CHRIS OR IAN ON 01422 323 888 TRADE@MONARCHMOBILITY.COM WWW.MONARCHMOBILITY.COM Weighs Only 19KG
Folds in 5 seconds! 4mph 9 miles range 18 stone capacity FREE
is dependent upon user weight, terrain, incline, temperature and battery conditions.

post, I took the plunge into direct provision and launched my own mini dealership.

“My timing was, of course, impeccable and the month after this we went into lockdown! Despite this we enjoyed some priceless months with the family and gained even more experience at the coal face but it wasn’t without its challenges.

“I have certainly gained a lot of empathy for our dealers through this experience, the level of service that is required and how important it is to buy quality products. My business was geared toward single supply, and I have learned first-hand how important it is to offer choice for our customers but also for the business owners.

“I never thought that I would return to corporate but the culture at Etac was instantly welcoming and the opportunity to build a fresh team with great products from Ki, Convaid, R82, Star and the Etac range is really my dream job.”

ETAC HAS BEEN GOING FOR OVER 50 YEARS; WHAT DO YOU THINK IS THE SECRET TO ITS LONGEVITY?

“Etac was founded in Sweden in 1973. Sverker Göthberg had the vision to provide a new range of assistive devices with innovation, functionality and design in mind. These principles continue to underpin everything we do – nowhere is this more visible than in our wheelchair business. Development has been run by Bosse Lindqvist who saw a need for better wheelchairs after having gained a spinal injury in a tractor accident.

“Etac is perhaps best known in the UK for its R82 paediatric brand. The UK company was established more than 20 years ago and is now the leading brand for children’s assistive products. This year we celebrate the launch of our most advanced seating system yet – the x:panda Shape.

“We have a highly experienced Patient Handling and Bathroom Aids team that already deal with a lot of the dealers we cross over with mobility product on. This team has constantly adapted their approach and offer fantastic solutions in both mobile & overhead hoists as well as ADLs.

“Now we are entering into a new age of focus on mobility and seating products from world-class brands. So the secret? Aside from the awesome products and people in the business, we have a slightly different ownership setup than I have experienced before.

“Our owners, which have been around for more than a century, operate with the aim of providing a better quality of life and more jobs for as many as they can in a sustainable and ethical way. I think when your goal is making the world a better place, a 50-year milestone becomes more than achievable!”

CAN YOU DESCRIBE ANY NEW PRODUCTS WHICH ETAC ARE LAUNCHING THIS YEAR?

“From the mobility side of the business we have the opportunity to treat our range as a host of new products. Our customers may have seen things before but we have more resources now and want to offer a higher level of education on these.

34 / www.thiis.co.uk SUPPLIER SPOTLIGHT
“We are building a new sales team, adding customer service resource and supporting our European teams with their integration projects”
StarLock cushions offer high-level pressure care The R82 x:panda Shape The newly launched Rogue2 wheelchair

• The foam and ecological microfibre fabric give the pads a uniquely pleasant and soft feel.

• This product is suitable for children aged approximately 8 months to 3/4 years.

• We are convinced that the aesthetics of the product are just as important as the technical features. The design of “Tarta Kid” system has been carefully designed to be essential and at the same time eye-catching.

• Tarta Kid is designed to be used in a variety of situations throughout the day. From the highchair to the pushchair, from the sofa at home to the table in the restaurant.

• Tarta Kid is parent-friendly! The adjustments are very quick and easy allowing immediate product handling for anyone.

• Available in two sizes: 3 - 6 years and 5 - 8 years.

• We are convinced that the aesthetics of the product are just as important as the technical features. The Kid Pro system design has been studied to be essential and neutral so that it can easily be matched with any base.

• The possibility to adjust the flexibility of the backrest favours carrying out the daily activities of the child in absolute freedom guaranteeing postural needs.

• Easy to interface with multiple brands of wheelchairs (with and without fabric), tilting bases, pushchairs, and indoor bases in the market.

Contact our Tarta specialist on: 07731 999192

“We have recently launched the Rogue2 which comes with some insane mechanical enhancements that work great with powered add-on devices and has a low transfer weight. We have worked hard to inject more value into that wheelchair for the end-user.

“The Rogue2 isn’t just another offering in that segment, it is able to future-proof changes for the client and a higher level of service for our dealerships through intuitive adjustments.

“We also have the re-release of the Star cushion range to dealers who get involved in high-level pressure care which can be married up with our exceptional tilt-in-space wheelchairs. These cushions are perfect for those at high risk of skin breakdown or have had pressure sores previously.

“The StarLock cushions enable individual cells to be locked off meaning that at risk pressure areas can be completely isolated and allowed crucial time to heal. We have some outstanding testimonials around this and actual cases where clients have avoided expensive surgeries and months bed bound!

“We also have a tonne of other products just around the corner so watch this space!”

WHAT DO YOU THINK IS THE BESTSELLING PRODUCT FOR ETAC AT THE MOMENT, AND WHY DO YOU THINK THIS IS SUCCESSFUL?

“We have exceptional active paediatric wheelchairs that lead

the way in efficiency, aesthetics and stability. Children’s wheelchairs have always presented manufacturers with a challenge due to high cost and a lower client base, which has limited development.

“Ki Mobility’s motivations have always been a little different to the standard commercial argument and they have created some very exceptional wheelchairs. They are not only functional in a range of specifications through very small children, teen and young adult but they look great and they deliver masses of growth.

“In addition to this we include some unique features like our Dynamic 5th Wheel which offers the safety of an anti-tip whilst allowing flex so that children can start to lift their front wheels without the risk of tipping out the back and develop their skills and confidence. Ki have also completely re-designed the wheels and caster wheels we use for increased endurance and efficiency but I could really talk about that all day!”

CAN YOU TELL US A BIT MORE ABOUT HOW YOUR PRODUCTS ARE DISTRIBUTED IN THE UK?

“Everything from our Ki site is direct shipped to our dealers using FedEx, which is not cheap! But it’s very quick; we deliver within three weeks on most wheelchairs and FedEx send update emails regularly, so once it leaves our factory the recipient is kept up-to-date every step of the way and knows exactly when that wheelchair is going to arrive.

“We also have a state-of-the-art, purpose-built site in Hartlebury, just outside Kidderminster, that we ship into from other global sites, hold stock of run-rate items and assemble some of our paediatric products.”

ARE YOU LOOKING TO EXPAND YOUR DEALER NETWORK, AND IF SO, WHAT KIND OF DEALERS ARE YOU LOOKING FOR? AND WHAT CAN ETAC OFFER DEALERS WHO COME ONBOARD?

“Absolutely. We are lucky to have an established dealer network from the work that has been done over the years but there is always space to grow! Dealers that want to increase their active chair offering, have a demand for paediatric chairs/buggies or offer more advanced seating then please get in touch. We would love to have a chat and see how we can support you.

“During my time in direct provision, I really began to understand the consequence of product failures and faults, and the overarching cost this has on a business. We are able to offer highquality solutions that withstand everyday use. I know how important this is for our customers and dealers alike.

36 / www.thiis.co.uk SUPPLIER SPOTLIGHT
“We have recently launched the Rogue2 which comes with some insane mechanical enhancements”
Staff from Etac UK's operations, warehouse, customer services and finance divisions The Rogue2 can future-proof changes
INSURANCE WA R RA N T Y & ROADSIDE Excellent commission & simple claims process GROUP 01582 840 067 dealer.support@firstsenior.com www.firstsenior.com First Senior insurance is authorised and regulated by the financial Conduct Authority Firm Reference Number 308478 First Senior Insurance Services Ltd is registered in England and Wales Company Registration Number 3504591 Registered Office: Unit 2 Cotswold Business Park, Millfield Lane, Caddington Bedfordshire, LU1 4AR First Senior Finance is authorised and regulated by the financial Conduct Authority Firm Reference Number 726510 First Senior Finance Ltd is registered in England and Wales Company Registration Number 3120962 Registered Office: Unit 2 Cotswold Business Park, Millfield Lane, Caddington Bedfordshire, LU1 4AR igh ptance Rates ...AND READ THIS: FIRST SENIOR are THE ONLY finance and insurance house that solely trade in the mobility industry. We have no charges on our finance! ONE STOP SHOPMEANS: ✓ONE set of complianceregulations ✓ONE account manager ✓ONE training package ✓ONE NUMBER TO CALL TODAY 01582 840 067 IT’S EASY... ONE SHOP

“Any interested retailers are invited to please get in touch with Gavin Hosking (Territory Sales Manager South) on 07483933122 or email gavin.hosking@etac.com, or Noel Brennan (Territory Sales Manager Midlands & North) on 07484069416 or by emailing noel.brennan@etac.com. I can be contacted on 07843933058 or via email on ryan.hirst@etac.com

CAN YOU TELL US MORE ABOUT THE NEW UK FACILITY?

“The UK site is gorgeous! This has been purpose built to the specification of the UK business with a huge investment from the group. The UK team were very much involved in the set-up and functionality of the building and persevered for many years in the old building before this was ready.

“Etac are a green company with a genuine drive towards a more sustainable future and this is reflected in the features that have been worked into the building. For example, the warehouse hosts a solar panel roof and light windows linked to

sophisticated LED lighting system that operates when required, and similar heating.

“Our operations team have also created an exceptional refurbishment space so that we can offer this service to our customers and cater for ongoing fleet management contracts.

“In terms of what this offers the UK business, the sky is the limit. The UK outfit has delivered exceptional results year-on-year in the previous facility, so now there is even more space to grow…”

WHAT ARE ETAC’S PLANS GOING FORWARD IN THE INDUSTRY?

“Across the business there are some fantastic opportunities, particularly in the mobility and seating team as the breadth of customers we offer our products and services to continues to expand.

“We are about to bring another head into our customer service team and a new salesperson, with plans to recruit another salesperson later this year. This alone would have seen the team double in the last 12 months!”

www.etac.com/en-gb/uk/

38 / www.thiis.co.uk SUPPLIER SPOTLIGHT
“We are lucky to have an established dealer network from the work that has been done over the years but there is always space to grow”
Gavin Hosking (TSM South) with a Rogue ALX at last year's OT Show The front of Etac’s premises Ryan in the lobby of Etac’s new building

Trade Thoughts

Should the assessment and training of new powered wheelchair and mobility scooter users be mandatory?

This month, THIIS asks mobility retailers whether they think the national industry scheme for the assessment and training of new powered wheelchair and mobility scooter users should be a legal requirement for new customers. THIIS also asks for their thoughts about the importance of an industry-recognised qualification for mobility retailers assessing end users.

To ensure improved safe use of powered mobility products, I would like to see user assessment and training become a legal requirement, in the same way a driving licence is required for a car. Currently Complete Care Shop already offers training and assessments to clients, but if we advise that they’re not safe to use a product, they can go and buy a product elsewhere therefore still becoming a safety risk to themselves and other members of the public.

“In terms of retailers, several questions arise around the implementation of the national industry scheme to make sure there is a benefit to the end user and it’s not just a marketing exercise for retailers.

“There should be a robust roadmap in place to ensure consistent assessments and training. The process needs to help users improve their skills to the point of passing… If not, dealers must offer guarantees of a full refund to users where the product is clearly not safe to be used.

“Should the scheme be chargeable? If it is, clients likely won’t want to pay for it unless it becomes mandatory. If it isn’t, retailers may not want to incur the time and cost, particularly since mobility scooter prices and margins have become almost untenable in recent years.

“With powered mobility products used on our roads and pavements, we have a duty of care to ensure users are safe to do so. The market needs regulating for the safety of its users. A national industry scheme for the assessment and training of new powered wheelchair and mobility scooter users is a wise step.

Mobility retailers/assessors should definitely hold an industry recognised qualification/ certificate to carry out assessment and training of PWS users. It is a practical way of demonstrating the assessors’ competency in the field they work in and establishes good practice across the industry.

“There should also be a way of assessing existing users routinely on their capacity to use a product for either pavement only or road and pavement use, a bit like categories on a driving licence. Including information about the maximum speeds of each product will also alert users to products that may be illegal to use in the UK.

“And, like a driving licence, the frequency of testing should be more often if their age or health condition merits it. This testing/ assessing process could naturally sit with the retailer, although paying commission on a sale may lead to the assessor/retailer losing sight of these additional considerations. Or, maybe assessing the user needs to happen through an independent role.

“Being assessed and trained to use a product is only half the story. Keeping the product safe for use on roads and pavements and for fire safety is also necessary, with annual servicing etc. reducing risk.

“I participated in the Driving Mobility consultation carried out on behalf of the Department of Transport along with others in the industry, which was very worthwhile.

“I don’t know what the final version of the Scheme looks like, but I am keen that all our relevant staff take part in the Scheme, as they do with our own internal training.

www.completecareshop.co.uk

www.city-mobility.co.uk

40 / www.thiis.co.uk

Without doubt the mobility sector is in a position of great power to influence the behaviour of scooter and power chair users whilst out and about in public spaces.

“I believe it is the only responsible thing to do to ensure not only the safety of the mobility device user, but also the safety of other road users and pedestrians that use the same space.

“To offer, and deliver, practical training and coaching in the use of a scooter or power chair is as basic as ensuring its suitability for that client.

“I am fully supportive of the Driving Mobility scheme and would encourage all retailers to consider adopting a more formal approach for the handover of products to new users.

“If just one accident or injury were avoided, it would be time well spent. It also demonstrates to future possible customers that you have their best interests at heart.

“Added to this, it would be the right thing to do to train staff appropriately to be more competent and skilled in their role.

“It would be unfair to put a salesperson in a position where they did not have sufficient practical and theoretical knowledge to competently train customers as well as assess customers correctly for the mobility product.

“A well trained and skilled representative is going to be happier in their role and, as a consequence, almost certainly more effective.

I believe the introduction of a national industry scheme for the assessment and training of new powered wheelchair and mobility scooter users is an excellent idea. Personally, Thistle Help always encourages the customer to try the equipment both inside and outside our showrooms to ensure they can operate it satisfactorily.

“In my opinion, there are too many users who are sold this type of equipment that really should not be. I was recently in Glasgow and saw for myself an elderly gentleman who could not climb kerbs properly with his scooter and the scooter toppled onto a busy road with a car just missing him as the scooter toppled.

“Undoubtedly, this would give dealers a little more work when selling such equipment, but if it benefits both the industry and the safety of the public as a whole, then I see no reason why a scheme should not be implemented as soon as possible.

“Customers purchasing vehicles like cars have to pass a driving test, so why should it not be the same for scooters and powerchairs?

“Far too often, I see pedestrians nearly being run over by users of powerchairs and scooters. On the other hand, pedestrians can also walk into the drivers of this equipment by not watching where they are going.

“All in all, I don’t see any negatives with the introduction of such a scheme and it may also reduce insurance claims from personal injury. The sooner the scheme is introduced, the better for everyone involved.

I have offered a few driving training courses and assessments inviting people to come and try a scooter and have a go for free. The uptake on this was quite slim. Some customers think they know what they need to know and don’t think they need assessing or training.

“Last year I had a gentleman who crashed into scooters outside my shop and then drove off without stopping. It was an 8mph scooter. We saw him later and he said he didn’t know how to use the scooter; he had bought it online with no one showing him how to slow it down. The tyres were also very bald. He wasn’t even fully aware what he had done.

“I think there should be a National industry scheme for the assessment and training of scooters and powerchair users, which should be mandatory for all those who sell mobility scooters and powerchairs, giving a recognised qualification. This would prevent a lot of unnecessary accidents. I know of people who are registered blind buying a scooter online and of people who are 26 stone buying a scooter only capable of 18 stone user weight.

“Certification should be given to the shop to show that they are reputable and to each staff member who is selling the products.

“There are too many box shifters selling online with no customer care, after care, or concern about the end user.

“Hopefully a recognised industry standard training can stop the man who is selling them on his drive from his garage, being able to sell them, which is putting the end user at risk.

www.tpg-disableaids.co.uk

www.thistlehelp.co.uk

www.peoplefirstmobility.co.uk

www.thiis.co.uk / 41

Measurements in seating

4. Absolute angles in seating system measures

Absolute angle measures of the components of a wheelchair and its seating system help to ensure the seating system meets the needs of the occupant, and have their value for an engineer who is setting up the individual components of a seating system prior to its delivery.

Absolute angle measures relate to the outside world, where our references in normal life are gravitational, i.e. to the vertical and, at right angles to the vertical, to the horizontal. Each component of a seating system has the potential to have its angles set up for the client’s positioning needs, and frequently can be adjusted 3-dimensionally in each of the sagittal (side view), frontal, and transverse (viewed from above) planes.

For measuring the angles of any wheelchair seating component in any of these planes, each component

will refer back to the wheelchair set-up assuming that it’s standing on a horizontal surface. One horizontal axis is established by the line through the centres of the main wheel axles. The other horizontal axis is at right angles to the first one. The third axis is the vertical. Measuring angles follows the same Right Hand Rules that we use for measuring absolute angles of the body.

RIGHT HAND RULES

There are two ‘Right Hand Rules’ involved, and are detailed in a downloadable Clinical Application Guide (CAG)1 to the standard written to cover body and seating measures2. The first Right Hand Rule relates to the axes described above, and is depicted by using the thumb and the first two fingers of the right hand, with each digit at right angles to each other (see Figure 1). In a wheelchair,

In the previous articles we looked at how parts of the body and a seating system are measured in relation to each other and at how parts of the body are measured in relation to the outside world. In this article we cover the standardised ways of measuring the angles of components of a person’s seating system as these measures relate to the outside world.

the half way point between the two main wheel axles is the zero starting point for this rule. From this point there’s the vertical (y) axis (the middle finger), and the two horizontal axes. The first of the latter (the z axis) goes off to the right (the thumb), and the other (the x axis), at right angles, to the front (the forefinger).

The rules for measuring the direction and amount of rotation come from a second Right Hand

42 / www.thiis.co.uk
LET’S GET IT CLEAR
Let the Powerpack do the pushing Incredibly easy to fit and simple to remove Designed and made in the UK Range of up to 10 miles
Figure 1. The Right Hand Rule for describing the three gravitational axes (Fig 1.2 in the CAG1)

Rule. There is a clockwise direction of rotation which is designated as a negative angle, and an anti-clockwise which is a positive angle. To know which is which, place the thumb of your right hand pointing outwards along the axis in question, and curl your fingers. The fingers point in the positive (anti-clockwise direction) (Figure 2).

WHAT ARE THE LINES WE ARE MEASURING?

To start with, it’s relatively easy to describe the absolute angles of the solid (metal or plastic, usually) components of a wheelchair. Flat even-thicknessed components of a seating system placed parallel with each or any of the reference planes are straight forward. The top surfaces of an inferior support, such as a seat cushion, will be parallel with the bottom surfaces of the component, and so one could use either surface for measuring any deviation from the horizontal, though the measurement standard references the surface which is closest to the body – see the examples below.

It’s the upholstered or padded parts of the attached seating system components that can be more challenging, especially where there is shaping involved. For the clinician,

it will be the surface of a postural support device (PSD) (such as a seat cushion, back support, lateral thigh pad, etc.) where it interfaces with the body that is of most interest. (Whereas, for the wheelchair technician, it will be the surface of the PSD where it interfaces with the wheelchair structure that is more relevant.) For a contoured surface, the centreline of the part of the surface in contact with the body of the seated occupant is used for the measures.

SEAT CUSHIONS

In practice, a wheelchair seat cushion’s upper surface is seldom horizontal as viewed from the side. The front is usually higher than the back: this will be a positive angle (Figure 3). If

the cushion is thicker at the front than at the back, then the angle of the top surface would be greater than the lower surface.

In some instances, from the frontal view, while the base is likely to be horizontal to attach to the horizontal seat rails of the wheelchair, the top surface may be higher on one side than the other to accommodate or compensate for a pelvic obliquity. If the latter is higher on the left, this will be a positive angle, whereas if higher on the right this will be a negative angle (Figure 4).

Commonly, the seat cushion is parallel with the chair seat rails when

www.thiis.co.uk / 43
Call to find out more 01787 888 106 or email trade.sales@tgamobility.co.uk www.tgamobility.co.uk QUOTE: THS20 Attaches in seconds
Figure 3. Seat cushion sagittal angle (Fig 3.12 in the CAG1) Figure 4. Seat cushion frontal angle (Fig 3.14 in the CAG1) Figure 2. The Right Hand Rule for indicating the direction of positive or negative rotation around an axis (Fig 1.23 in the CAG1)

viewed from above, but if the cushion’s centreline is rotated to accommodate, for example, windswept thighs, then this degree of rotation can also be measured using the Right Hand rule with clockwise rotation being a negative angle (Figure 5).

POSITIONING SUPPORTS

Secondary positioning supports, such as lateral trunk supports, lateral thigh supports, inferior foot supports, etc., often need to follow the wheelchair occupant’s body surfaces more closely in all three dimensions than the primary supports of the seat cushion and back support (which are more likely to follow the fixed components of the wheelchair frame). To be effective, these secondary supports need to be readily adjustable in all three planes, and it’s essential for the clinical outcomes requiring their prescription that they are adjusted accurately.

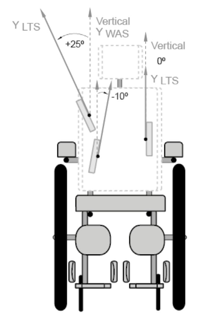
Here, as an example, we will

look at lateral trunk supports, but these measures are no different in application than for any other lateral supports. First, we will look at the sagittal (side) view (Figure 6). This angle can be measured where there is at least one straight edge of the support. If the pad were circular, then there would not be a relevant sagittal angle for the pad, but there could be for its mount. In the illustration, the support is mounted to the back support, and therefore this lateral support absolute angle would change if the seat back were reclined: the clinical implications to the changed position of the support to the trunk should be considered.

From the frontal view, in this illustration there’s three supports, each of which is at a different angle from the vertical (Figure 7). This scenario could arise when managing the positioning needs of a person with a scoliotic spine. This example shows that the supports can commonly range from being at a positive to a negative angle.

Finally, we have the transverse view from above which reflects the prescribed angle in the third dimension (Figure 8).

SUMMARY

The two Right Hand Rules give us a standardised means to measure the

angular position of different elements of a wheelchair seating system as measured against the gravitational axes of a wheelchair and against the outside world. As with previous articles in this series, the reader should consult the Clinical Application Guide (CAG)1 from which the images in this article have been sourced. The CAG gives worked examples for many more inferior, posterior, anterior, medial, and lateral supports, together with detailed guidance as how to make the measures, the clinical importance of each measure, and how they link to, and compare with, related body absolute angles.

REFERENCES

1. Waugh, K and Crane, B (2013) A clinical application guide to standardized wheelchair seating measures of the body and seating support surfaces. Accessible as BPG3 from https://www.pmguk.co.uk/resources/ best-practice-guidelines/bpg-archive

2. ISO 16840-1:2006 Wheelchair Seating, Part 1 - Vocabulary, reference axis convention and measures for body posture and postural support surfaces

Get it Clear’ by Dr Barend ter Haar

Further items can be found at www.beshealthcare.net

Dr ter Haar has been involved in seating and mobility for over 30 years, including lecturing internationally, and developing international seating standards.

44 / www.thiis.co.uk
LET’S GET IT CLEAR
Figure 5. Seat cushion transverse angle (Fig 3.15 in the CAG1) Figure 7. Absolute frontal angles of three lateral trunk supports (Fig 3.35 in the CAG1) Figure 8. Absolute transverse angle of a lateral trunk support (Fig 3.36 in the CAG1) Figure 6. Absolute sagittal angle of a lateral trunk support (Fig 3.34 in the CAG1)
‘Let’s
For more information, please contact Kevin Windram – +44 (0) 7500 999 202 For sale Specialist retailer of mobility products A well-established family run business specialising in the sale of mobility products. A scalable platform ready for further growth. An excellent reputation for delivering first class products and expert knowledge in the mobility field. Highly experienced staff group who work together to operate the business. Profitable business achieving maintainable EBITDA of £812k from turnover of £2.2m. High quality earnings, with growing and recurring customer base. Operating from two excellent leasehold locations. Growing target market, with 64.1% of the industry’s total revenue derived from over 65’s. DELIVERY l Nationwide delivery & installation l Removal & disposal of old products l Manufacturers warranties honoured l Owned & operated fleet of vehicles SERVICING l Annual equipment servicing l LOLER testing & inspection l Bed inspections & servicing l Engineer call-outs for repairs STORAGE l 35,000 Square foot warehouse l Short term storage solutions Experts in Healthcare Logistics Your Promises. Delivered. 0330 445 0099 info@hdd-ltd.com www.hdd-ltd.com CONTACT US TODAY

Buyers’ guide to clothing and footwear

Each month, discover key products from a different segment of the mobility market to consider offering to customers

Aubrey Pull-On Elasticated

Waist Trousers from The Able Label

These everyday trousers have a classic straight leg and an easy-care cotton blend fabric but most importantly, have an elasticated waistband, making these trousers not only more comfortable but easier to pull on.

The fully opening zip fly with Velcro top button allows for easier access, especially when toileting. Pull cords inside the waistband allow the trousers to be made tighter if needed. Belt loops on the trousers help with pulling them up and down.

Available in navy, sand and grey, they also have convenient side and back pockets. The trousers are available in a regular 31” leg length.

www.theablelabel.com

Dunlop Slippers from Able2

Practical, comfortable, and durable, the rubber slipresistant soles make these slippers ideal for walking around the house or popping out to the bin. Easy-toopen and close Velcro fasteners mean the slippers fit well making each step sure-footed, and the wide opening means they are easy to get on and off.

Once on, the slippers are comfortable thanks to the soft outer and ultra-soft inner with cushioned sole. Machine washable, these slippers keep in great condition wear after wear.

able2.uk

46 / www.thiis.co.uk RETAILERS’ BUYING GUIDE

The Care Sector Supplier Awards will tease out and reward the very best suppliers of products and services to the UK care sector. There are 21 categories to enter and one glorious Grand Prix for the star of the entries. Start thinking about those entries now, and make sure you put the key dates on your calendar.

Closing date for entries: June 30

Shortlist of finalist companies: July 20

Final stage judging: August

Awards presentation in London: November 17

Royal Garden Hotel, London W8 4PT

cssawards.co.uk

Contact Rose Freeman for more information. rose@spl.events or 0330 635 5005 (UK local call rate)

Time to enter

Joint headline sponsors Media Partners Association Partner

Tabatha SS Velcro Tee from The Able Label

Made from a breathable and comfy pure cotton jersey fabric, the Tabatha t-shirt combines style and comfort.

The versatile tee has a front-opening design to avoid overhead dressing and fastens discretely with Velcro. Raglan sleeves that are colour co-ordinated inside with lime for left and red for right prompts make it easier to take on and off.

Available in five colours – navy, white, hibiscus, cobalt, floral –it comes in short or long sleeve.

www.theablelabel.com

Long Handled

from Drive DeVilbiss Healthcare

The Flat Hem Poncho is designed to provide wheelchair users with some weather protection from unexpected showers. It features a hood, zipper and has a tie point to fasten it to a wheelchair frame for extra security.

The poncho features slots to accommodate the wheelchair pushing handles. It also features nylon fabric with reflective strip for added safety. Lightweight and easily stored, the poncho has universal sizing with zip closure and a drawstring hood. It folds up into its own bag with carry handle.

drivedevilbiss.co.uk

48 / www.thiis.co.uk RETAILERS’ BUYING GUIDE

A FIXED RATE INSURANCE PACKAGE

RETAILER ESSENTIALS

Exclusive to Retail Members of the BHTA

COVER INCLUDES

✔ Material Damage

✔ Business Interruption

✔ Employers, Public & Products Liability

Option 1: Excluding Employers Liability

- £224 including 12% Insurance Premium Tax

Option 2: Including Employers Liability

- £280 including 12% Insurance Premium Tax

REQUEST INFORMATION

For more information on our insurance packages, please contact Stephen Aldridge - our Client Director who has worked with BHTA’s members for many years.

E: stephen.aldridge@verlingue.co.uk

T: +44 (0) 208 282 8595

W: www.verlingue.co.uk

Cover provided by Markel (UK) Ltd

ABOUT US

Verlingue is the approved insurance broker for the BHTA insurance scheme, which is available exclusively to BHTA Members. We are part of the Verlingue Group, one of Europe’s largest independent insurance brokers, employing over 1,100 people and placing premiums in excess of €2 billion.

Authorised and regulated by the Financial Conduct Authority

Splash wet weather wear from Able2

When out and about on a scooter or in a wheelchair getting caught in a shower is no fun for the end user.

From cosies and ponchos to capes and macs this range of wet weather wear is both wind and rain resistant. Fleece-lined options provide that extra level of protection in the colder months. With garments specifically designed for use in a wheelchair, on a scooter, and in a powerchair, each is designed to facilitate comfort and range of movement for the user.

able2.uk

Jade Back Opening Nightdress from The Able Label

The pretty but practical nightdress is helpful for anyone with incontinence problems, making going to the toilet and hospital visits a more dignified experience.

The short-sleeved, relaxed fit nightdress is back opening with a fixed back yoke and generous overlapping fabric at the back designed to make self or assisted dressing easier. Available in pink and blue it is made from an easy-care fabric with a pretty all-over print. It launders well and is available in dual sizes, making fitting easier.

www.theablelabel.com

Excursion Trainer from Friendly Shoes

The Excursion is Friendly Shoes’ deepest, most supportive shoe. Created by an occupational therapist, this wide-fit trainer is designed to help people put their shoes on independently.

The wide back zip opening makes it easy to slide the shoe on and off. There are laces to set the tension for optimum fit, and then just use the zip. The large zip toggle works with a dressing stick.

The memory foam insole is removable to accommodate orthotics or AFOs, or if extra depth is required. Lightweight, cushioned and virtually seamless, the trainer has antislip tested soles and a wide toe box. A variety of colours are available for men and women, sizes 3-13.

www.friendlyshoes.co.uk

50 / www.thiis.co.uk RETAILERS’ BUYING GUIDE

ALT-R006

FOUR-WHEEL

ALUMINIUM ROLLATOR

Patented folding mechanism

World’s easiest to fold rollator

Independently adjustable backrest

Spacious storage bag

ALT-R014

THREE-WHEEL LIGHTWEIGHT

WALKER WITH SEAT & BAG

Lightweight & foldable

Seat with backrest

Handle lock safety feature

Storage pockets

Contact

ALT-R004

THREE-WHEEL LIGHTWEIGHT

WALKER WITH BASKET, TRAY & BAG

Spacious storage basket & bag

Lightweight & foldable

Handle lock safety feature

Includes tray with raised edges

+44 (0)3452 088 097 | www.alertamedical.com | sales@alertamedical.com
SCAN TO VIEW PRODUCT VIDEO NEW WALKING AID RANGE
the Alerta Medical team for attractive trade prices, technical information and marketing support.

Padded Leg Cosy from Drive DeVilbiss Healthcare

The Padded Leg Cosy is a great wheelchair accessory to help keep the user warm when they’re out and about in the colder months. It’s suitable for use with most manual and transit wheelchairs, and it affixes easily and securely to the chair’s frame with its adjustable straps.

Its elasticated bottom and waist provides waterproofing and retains heat at the same time as preventing draughts. A soft brushed cotton inner with an attractive patterned lining provides additional warmth and comfort.

drivedevilbiss.co.uk

Voyage Shoe from Friendly Shoes

Ideal for people who struggle to put on shoes or have reduced mobility, the Voyage trainer is extremely easy to slide on thanks to a deep side zip.

The cushioned memory foam insole is removable to accommodate custom orthotics or AFOs, or for extra depth. Wide fit with a generous toe box, the shoe is virtually seamless and extremely lightweight, with an average adult pair weighing 450g. The wearer can set the tension with the laces on first wear, and then just use the zip. There are a variety of colours to choose from, including classic black. Available for men and women in sizes 3-12.

friendlyshoes.co.uk

Girl's Flipflop Tankini and Period Swim Briefs from Kes-Vir Swimwear

This fun and bright swimsuit is for girls with incontinence.

It features a fully lined tip with a contrasting frill on the front that overlaps the swim briefs so the back is not revealed when sitting down. It offers an easy ‘peel, pull and press’ adjustment system on the leg and an elasticated waistband with drawstring.

The girl’s and women’s period swim briefs offer light absorption in the gusset place to avoid leakage. Its outer fabric is waterproofed at front and back with a further waterproof pocket

integrated in the briefs and mesh lining to provide a feeling of dryness, when out of the water. Available in black or red.

kesvir.co.uk

52 / www.thiis.co.uk RETAILERS’ BUYING GUIDE
Showcase your product or service at an event created for Disabled People, by Disabled People. Scan the QR code to fill in our short interest form and we will be in touch with more information. Or contact: Kerry.Hosker@thedisabilityexpo.com 020 4552 3576 Lisa.Attawia@thedisabilityexpo.com 020 4552 2286 10% discount on stand prices for BHTA members Reach 7-10k delegates through a trusted platform Conduct market research and demonstrations Mobility shops are encouraged to enquire Be part of our year-round movement for change Dedicated networking at our trade evening

Bella Ladies Extra Wide Summer Shoes from Sandpiper Shoes

New this season, Bella is the first style in the brand-new Sandpiper 4E collection.

These stylish and modern shoes have a fixed 4E (EEEE) width fitting and include comfortable features such as soft leather uppers, a padded, seam-free interior and fully supportive, lightweight soles.

The removable insole is fully washable and can be replaced with an orthotic insole if required.

Available in two fantastic pastel shades for Spring, Bella is recommended for stockists have on their display this summer.

www.sandpipershoes.com

Button Hook with Zip Pull from Shine International

This Button Hook with Zip Pull is an effective dressing aid that makes life easier for those with reduced hand function or arthritis.

The hook is ideal for buttons while the zip pull makes zipping or unzipping less of a chore and promotes independence. Available in black, blue and red, it is suitable for either left or right-handed use and is compact enough to fit into a bag or handbag.

www.shine international.co.uk

Ezy-On Tall Stocking Aid from The Helping Hand Company

A strong robust metal frame designed to keep pressure stockings open makes it easier to get the stocking on while reducing hand stress caused by pulling the stockings open.

Suitable for above- and below-the-knee support stockings, class I and II compression tights and open toe medical TED stockings, it enables the wearer to confidently put on compression garments lying down or sitting, increasing circulation and treating conditions such as DVT and lipoedema.

Compression stocking applicators help wearers, or their carers, to apply compression tights quickly and easily. Chunky foam handles are easy to hold, and non-slip feet ensure safety.

www.hhadlessentials.co.uk

54 / www.thiis.co.uk RETAILERS’ BUYING GUIDE
For more information on our range go to... www.primacare.co.uk Tel 01685 845900 Need a chair quickly? Introducing the new Supreme Adjusta New for 2023

Dressing Stick from Shine International

The Dressing Stick is an extremely versatile dressing aid that has been designed to help those with limited, painful or restricted movement dress themselves thus promoting confidence and helping users to maintain an independent lifestyle.

The Dressing Stick is a strong wooden handle that is fitted with three different end attachments, all of which can be used to assist the user with dressing. The three different end fittings can be used to pull up or push down items of clothing that cannot otherwise be reached.

Simply hook a shirt, trousers, jacket or any other garment of clothing and manoeuver into the required position.

Shoe Helper from The Helping Hand Company

This combined reacher and shoe horn is designed for easy use by those who are recovering from surgery or have limited mobility and struggle to bend or reach their feet. The long-handled grabber can be used to retrieve items around the home while the integral shoe horn can help with all types of footwear. Extra-long in length, it reduces the need to bend, enabling the user to enjoy an independent

Smooth and round edges are gentle against the skin. This two-in-one aid is cost effective and a much more versatile

www.shineinternational.co.uk

Poly Stocking Aid from Drive DeVilbiss Healthcare

The Poly Stocking Aid helps users to put on socks/stockings whilst reducing the need to bend over.

The curved cut-out on the sides will hold the sock or stocking open, which allows the user to easily pull it over their leg. This great dressing aid features long webbing straps, which enable a wide range of users to be able to utilise this handy aid.

drivedevilbiss.co.uk

Slippers from Sandpiper Shoes

Since the navy spot colour option was introduced, the Sophie slippers are a firm customer favourite, according to Sandpiper Shoes.

Sophie is specially constructed to give a deep, wide and seam-free toe box. They are ideal for diabetics and those with sensitive feet due to their soft padding whilst the deep and wide toe box give plenty of space to accommodate bunions or hammertoes.

Like all of its extra-wide slippers, Sophie is fully washable at low temperature and includes a removable insole to adjust the fit or to accommodate custom orthotic insoles.

Also featuring a slip-resistant, outdoor sole, Sophie can be used for moderate outdoor use.

www.sandpipershoes.com

56 / www.thiis.co.uk
RETAILERS’ BUYING GUIDE

CLINICAL WHEELCHAIR AND SEATING ASSESSOR

THE COMPANY

Wheelfreedom are a Chessington-based provider of specialist wheelchairs and complex seating solutions. We have revolutionised the industry, combining expert knowledge to provide bespoke mobility and seating solutions with a modern spacious showroom within our Chessington headquarters.

We are passionate about the level of service we provide our customers and we always strive to go above and beyond our customers’ expectations. Our service makes a transformative di erence to people’s lives, and we get to develop a real rapport with our customers, many of whom are with us for decades.

Wheelfreedom are a growing company of over 30 employees, and we prioritise a friendly and supportive culture amongst our sta

THE ROLE

The position is within our team of specialist Assessors, carrying out assessments for prescriptive wheelchairs and healthcare chairs, with a focus on clients who have clinical postural requirements or who are at particular risk of skin breakdown and pressure sores. Assessments include range of motion and the use of pressure mapping to provide detailed recommendations and reports for clients. We prescribe a vast range of bespoke and semibespoke seating products, as well as custom moulded seating.

Assessments are carried out both at our Chessington Headquarters in our showroom

and dedicated private assessment facilities, and also at clients’ addresses, and you will be provided with a company vehicle for these, which can be used for commuting as well. We also host Continuing Professional Development courses for fellow healthcare professionals, and there is the potential to be involved in presenting and further developing these courses.

THE PERSON

You should have a passion for delivering positive outcomes and building a rapport with clients, demonstrated through your work. The ideal candidate has a clinical background, for example as an Occupational Therapist, Physiotherapist or Rehab Engineer. While direct experience with wheelchairs is not essential, experience in assessing individuals with complex postural seating requirements is crucial. We would also welcome applicants without clinical qualifications but who have industry experience of prescribing specialist seating.

Ideally you will be based within a reasonable commute of our Chessington headquarters, where the role is based.

Please send your CV to giles.donald@wheelfreedom.com

National Product Specialist

As part of its continued expansion, Rehasense UK, one of the UK’s leading suppliers of mobility solutions is looking to recruit a National Product Specialist.

CANDIDATE REQUIREMENTS

The successful candidate will be expected to manage their own diary through our CRM system, identifying new markets and business opportunities, carry out assessments, demonstrate the range of Rehasense products to dealers and prescribe equipment to end users through the retail and NHS sectors. Occasional overnight stays will be required when carrying out long distance visits.

JOB ROLE

• Conduct Power Assisted Wheelchair System (Paws) assessments, training, and dealer presentations.

• Conduct ICON 60 assessments, training, and dealer presentations.

• Manage Trackwheel sales and support.

• This is a national sales role and will involve occasional trips within

For more information contact Jordan Day, UK Sales Manager on 07395 790884 or jordan.day@rehasense.com www.rehasense.com

the EU to support exhibitions and attend further training events.

SKILLS AND EXPERIENCE REQUIRED

• Proven customer service and communication skills.

• Driving licence essential.

• The ability to establish and grow new business opportunities.

• Proven success in reaching targets and producing results.

• Excellent IT skills to include Microsoft O ice, Word, Excel and PowerPoint.

• A comprehensive level of industry knowledge is highly desirable.

PACKAGE INCLUDES

• Company van

• Laptop and company phone provided

• Competitive salary and bonus package

MOTIVATION THROUGH INNOVATION TM Strident Innovations Head office address: 50 Turbine Way Ecotech Business & Innovation Park Swaffham PE37 7XD T: +44 (0)1362 300102 | F: +44 (0)1362 300103 | sales@strident uk com www.stridenttyres.com Strident - a name you can rely on
tyres and tubes With over 20 years experience in the mobility tyre industry, Strident are perfectly placed to offer the widest range of high quality mobility tyres. Our range of solid tyres, air filled tyres and inner tubes are designed to offer excellent levels of grip longevity and reliability This comprehensive range is suitable for a wide range of mobility scooters and equipment To find out more about the Strident range of Mobility Tyre products please contact our salesteam now STRIDENT TYRES THIIS ADVERT DEC 2021_Layout 1 07/12/2021 10:40 Page 1
for

Ladies Indigo Wave Tankini from Kes-Vir Swimwear

A two-piece vest and waterproof briefs for ladies suffering from incontinence.

The top has cross-over adjustable shoulder straps and the front of the top is lined with a drape effect.

The high-waisted short has leg cuffs that are adjustable by a ‘peel, pull and press’ system and a pull tie cord. Available in nine sizes.

kesvir.co.uk

Able Label

Hugo LS Velcro Shirt from The

This men's long sleeve, easy-care shirt is perfect for a smart-casual look.

Available in blue and white, the non-iron shirt is a classic fitting wardrobe staple featuring touch-close fastenings for ease of dressing in place of buttons.

www.theablelabel.com

Cheryl Ladies Ultra Wide Sandals from Sandpiper Shoes

The Cheryl has been given a fantastic new look this season with the new rose/mosaic colour option. This classic twin-strap sandal has been a mainstay of the Sandpiper ladies range for many years and is still going strong.

Featuring padded ankle support, extra-long straps and lightweight construction this style will tick all of

Soxon Sock/Stocking Aid from The Helping Hand Company

The Soxon is an ideal dressing aid for anyone recovering from surgery, has back hip or knee problems, limited movement or reduced joint mobility. Easy to use and kind to the skin, the bestselling Soxon can be used with everyday socks and stockings. Its bamboo fabric is naturally hypoallergenic, anti-bacterial and breathable. Hand loops enable independent dressing, avoiding painful bending, stretching, or twisting. The item could be an excellent add-on to compliment any mobility sale, supporting a need that affects a wide range of customers.

www.hhadlessentials.co.uk

the boxes for customers with swollen feet or ankles this summer.

Suitable for diabetics, Cheryl sandals includes a removable, washable insole to accommodate custom orthotic insoles for those customers that require them.

www.sandpipershoes.com

58 / www.thiis.co.uk RETAILERS’ BUYING GUIDE
This organisation is a member of the British Healthcare Trades Association.

Karma mobility ltd

Unit 6 target ParK, redditch

Worcestershire b98 8yn

T: 0845 630 3436

E: info@karmamobiliTy.co.uk

www.karmamobiliTy.co.uk

The Ergo Lite 2 transit weighs just 8.5kg complete and the self-propel breaks down to 6kg making them among the very lightest wheelchairs available on the market.

Ergo Lite 2 Transit Wheelchair Ergo Lite 2 Self Propel Wheelchair THE ERGO LITE 2, PROUD WINNER OF

Breeze Midi

The compact mid-sized version of our flagship Breeze S range

The Breeze Midi range has all the key elements of the Breeze S models but packaged in two nimble and easy to handle scooters, available in three and four wheel versions.

With full suspension and a range of up to 35 miles, the Midi is ideal for anyone looking for a compact scooter that is equally at home in urban or more rural environments.

tgamobility.co.uk | trade.sales@tgamobility.co.uk | 01787 888 106 FEEL MOVED

Turn static files into dynamic content formats.

Create a flipbook
Issuu converts static files into: digital portfolios, online yearbooks, online catalogs, digital photo albums and more. Sign up and create your flipbook.