Lackender Skid Steer Attachment Catalog

Page 1

AMERICAN-MADE SKID STEER ATTACHMENTS LACKENDER BY

GRAPPLES

CONTENTS
EXTREME ANGLE BROOM ������������������������������������������������������������������ 2 PICKUP BROOM ������������������������������������������������������������������������������������ 2 BUCKETS STANDARD DUTY 4-IN-1 BUCKET ���������������������������������������������������� 3 HEAVY DUTY 4-IN-1 BUCKET ������������������������������������������������������������ 3 EXTREME DUTY 4-IN-1 BUCKET ������������������������������������������������������� 4 CONCRETE BUCKET ����������������������������������������������������������������������������� 5 HEAVY DUTY GRAPPLE BUCKET ������������������������������������������������������ 6 EXTREME DUTY GRAPPLE BUCKET ������������������������������������������������� 6 HIGH DUMP BUCKET��������������������������������������������������������������������������� 7 LONG BOTTOM BUCKET ��������������������������������������������������������������������� 7 EXTREME TRACKLOADER BUCKET �������������������������������������������������� 8 EXTREME DUTY ROCK BUCKET �������������������������������������������������������� 8 SNOW & LITTER BUCKET ������������������������������������������������������������������� 9 HIGH CAPACITY SNOW & LITTER BUCKET ������������������������������������ 9 TURKEY LITTER BUCKET ������������������������������������������������������������������ 10 DIGGING & EXCAVATING HEAVY DUTY HEX AUGER ����������������������������������������������������������������� 11 EXTREME BOOMER 2000 BACKHOE ��������������������������������������������� 11 EXTREME HYDRA-SWING BACKHOE �������������������������������������������� 12 EXTREME DOZER BLADE ������������������������������������������������������������������ 13 EXTREME TRENCHER ������������������������������������������������������������������������ 13 HEAVY DUTY DEMO DOZER ������������������������������������������������������������� 14 EXTREME DUTY DEMO DOZER ������������������������������������������������������� 14
TABLE OF
BROOMS
EXTREME DUTY ROCK GRAPPLE BUCKET ����������������������������������� 15 STANDARD DUTY GRAPPLE RAKE ������������������������������������������������� 15 HEAVY DUTY GRAPPLE RAKE ��������������������������������������������������������� 16 EXTREME DUTY GRAPPLE RAKE ���������������������������������������������������� 16 COMPACT TRACTOR & SKID STEER ROOT GRAPPLE ������������������17 STANDARD DUTY ROOT GRAPPLE ��������������������������������������������������17 HEAVY DUTY ROOT GRAPPLE ��������������������������������������������������������� 18 EXTREME DUTY ROOT GRAPPLE ���������������������������������������������������� 18 HAY EQUIPMENT BALE ACCUMULATOR ����������������������������������������������������������������������� 19 HAY BALE GRAPPLE BUCKET ���������������������������������������������������������� 19 HEAVY DUTY HAY BALE SQUEEZE ������������������������������������������������ 20 EXTREME DUTY HAY BALE SQUEEZE ������������������������������������������� 20 HAY FORKS ������������������������������������������������������������������������������������������ 21 HIGH BACK HAY FORKS ��������������������������������������������������������������������22 LAND CLEARING & MANAGEMENT MULCHERS & BRUSH CUTTERS STANDARD DUTY BRUSH CUTTER ������������������������������������������������ 23 EXTREME DUTY BRUSH CUTTER �������������������������������������������������� 23 SEVERE DUTY BENT AXIS PISTON BRUSH CUTTER ������������������24 SWING BOOM CUTTER �������������������������������������������������������������������� 25 PISTON MOTOR SWING BOOM CUTTER �������������������������������������� 25 STANDARD DUTY EXCAVATOR BRUSH CUTTER������������������������� 26 EXTREME DUTY EXCAVATOR BRUSH CUTTER ��������������������������� 26 44″ FORESTRY DISC MULCHER ����������������������������������������������������� 27 60″ FORESTRY DISC MULCHER ����������������������������������������������������� 27 SOIL CONDITIONING RIPPER ������������������������������������������������������������������������������������������������� 28 BOX SCRAPER RIPPER ��������������������������������������������������������������������� 28 EXTREME ROTO TILLER ������������������������������������������������������������������� 29 LAND LEVELER ���������������������������������������������������������������������������������� 30 EXTREME POWER RAKE ������������������������������������������������������������������ 30 MULTI-PURPOSE POWER RAKE ����������������������������������������������������� 31 EXTREME ROOT RAKE ����������������������������������������������������������������������� 31 TREE, STUMP & ROOT REMOVAL HEAVY DUTY STUMP BUCKET ������������������������������������������������������� 32 EXTREME DUTY STUMP BUCKET �������������������������������������������������� 32 EXTREME STUMP GRAPPLE ����������������������������������������������������������� 33 STUMP SPADE ����������������������������������������������������������������������������������� 33 EXTREME TREE & POST PULLER ��������������������������������������������������� 34 TREE SHARK ��������������������������������������������������������������������������������������� 34 EXTREME FIXED TREE SAW ������������������������������������������������������������ 35 EXTREME MANUAL ROTATING TREE SAW ���������������������������������� 35 EXTREME FIXED TREE SHEAR �������������������������������������������������������� 36 EXTREME ROTATING TREE SHEAR ������������������������������������������������ 36 MANURE HANDLING COMPACT TRACTOR & SKID LOADER MANURE FORKS �����������37 EXTREME MANURE FORKS �������������������������������������������������������������37 EXTREME MANURE FORK GRAPPLE �������������������������������������������� 38 PALLET FORKS COMPACT TRACTOR & SKID STEER PALLET FORKS ����������������� 39 HEAVY DUTY PALLET FORKS���������������������������������������������������������� 39 HEAVY DUTY WALK-THRU PALLET FORKS ��������������������������������� 40 HEAVY DUTY HYDRA-ADJUST PALLET FORKS ���������������������������� 41 EXTREME FORK GRAPPLE �������������������������������������������������������������� 42 EXTREME MAT GRAPPLE ���������������������������������������������������������������� 42
SNOW REMOVAL EXTREME SNOW BLOWER�������������������������������������������������������������� 43 COMPACT TRACTOR & SKID STEER SNOW PLOW �������������������� 44 HEAVY DUTY SNOW PLOW ������������������������������������������������������������ 44 EXTREME DUTY SNOW PLOW ������������������������������������������������������� 45 EXTREME SNOW PUSHER �������������������������������������������������������������� 46 SPECIALTY ATTACHMENTS EXTREME BOOM POLE ���������������������������������������������������������������������47 TELESCOPIC BOOM POLE �����������������������������������������������������������������47 LOG SPLITTER ������������������������������������������������������������������������������������ 48 EXTREME CONCRETE CLAW ����������������������������������������������������������� 48 HYDRAULIC BREAKER���������������������������������������������������������������������� 49 SOD ROLLER ��������������������������������������������������������������������������������������� 50 MINI ATTACHMENTS MINI 4-IN-1-BUCKET ������������������������������������������������������������������������� 51 MINI AUGER DRIVE���������������������������������������������������������������������������� 51 MINI BOOM POLE ����������������������������������������������������������������������������� 52 MINI BRUSH CUTTER ����������������������������������������������������������������������� 52 MINI CONCRETE BUCKET ���������������������������������������������������������������� 53 MINI GRAPPLE BUCKET ������������������������������������������������������������������ 53 MINI GRAPPLE RAKE ����������������������������������������������������������������������� 54 MINI LAND LEVELER ������������������������������������������������������������������������ 54 MINI LOW PROFILE BUCKET ���������������������������������������������������������� 55 MINI MULTI-PURPOSE POWER RAKE ������������������������������������������ 55 MINI PALLET FORKS������������������������������������������������������������������������� 56 MINI ROCK BUCKET�������������������������������������������������������������������������� 56 MINI ROOT GRAPPLE ������������������������������������������������������������������������57 MINI ROTO TILLER �����������������������������������������������������������������������������57 MINI SNOW & LITTER BUCKET������������������������������������������������������ 58 MINI SNOW PUSHER ����������������������������������������������������������������������� 58 MINI STUMP GRAPPLE �������������������������������������������������������������������� 59 MINI TRENCHER �������������������������������������������������������������������������������� 59 ACCESSORIES QUICK-ATTACH CONVERSION �������������������������������������������������������� 60 QUICK-ATTACH PLATE ���������������������������������������������������������������������� 60 QUICK-ATTACH RECEIVER HITCH �������������������������������������������������� 60 HOOK-UP OPTIONS SKID STEER ����������������������������������������������������������������������������������������� 62 GLOBAL/EURO ����������������������������������������������������������������������������������� 62 JOHN DEERE 200-400��������������������������������������������������������������������� 62 JOHN DEERE 600-700 ��������������������������������������������������������������������� 62 @ECSATTACHMENTS
BALE ACCUMULATOR | SEE MORE INFO ON PAGE 19

EXTREME ANGLE BROOM

Effectively sweep away dirt, light snow and other debris with the Lackender by ECS Extreme Angle Broom skid steer attachment. The broom angles left and right and is powered by a reversible hightorque motor. The Extreme Angle Broom is available in multiple sizes and a choice of either a hydraulic or manual angle.

SPECIFICATIONS

» 2”x6” Cylinder

» Available in Manual or Hydraulic Angle

» 8” Core and 26” Poly, Steel or Mixed Wafers

» Available with Universal, 8 or 14 Pin Wiring Harness

» Powder-Coated Finish

» Protective Sleeve on Hydraulic Hoses

» John Deere and Euro Mounts Available

» Optional: 32” Wafers with 10” Core

SIZE OPTIONS

Available as Manual or Hydraulic Angle 48” | 60” | 72” | 84”

PICKUP BROOM

Whether sweeping dirt, light snow or other debris, our Pickup Broom skid loader attachment efficiently sweeps material into the bucket with the 26” poly, wire or mixed wafers. Once collected, the manual hinging broom allows for easy transfer and disposal.

SPECIFICATIONS

» 8” Core and 26” Poly, Steel or Mixed Wafers

» Adjustable Height

» Replacement Bolt-On Edge Included

» Powder-Coated Finish

» Protective Sleeve on Hydraulic Hoses

» John Deere and Euro Mounts Available

» Optional: Rubber Edge

SIZE OPTIONS 72” | 84” 89” 88” 104” 25” 57”
2
BROOMS

STANDARD DUTY 4-IN-1 BUCKET

Grapple, doze, backfill, load or dig with our Standard Duty 4-in-1 Bucket. This skid steer attachment, also known as a combination bucket, is equipped with a 21/2” bore cylinder and ½”x6” cutting edge. The Standard Duty 4-in-1 Bucket is rated for use with 40-50HP machines.

SPECIFICATIONS

» 21/2” Bore Cylinders

» Grease Fittings at Every Pivot Point

» ½”x6” Cutting Edge

» Powder-Coated Finish

» Protective Sleeve on Hydraulic Hoses

» John Deere and Euro Mounts Available

» Optional: Weld-On Teeth

REQUIREMENTS

40-50HP

HEAVY DUTY 4-IN-1 BUCKET

The versatility that comes with the Lackender by ECS Heavy Duty 4-in-1 Bucket tackles grappling, dozing, backfilling, loading, digging and fine grading. Also known as a combination bucket, our Heavy Duty 4-in-1 Bucket skid steer attachment is equipped with a 21/2” bore cylinder, ½”x6” cutting edge, and ½”x4” at all other ground engaging points.

SPECIFICATIONS

» 21/2” Bore Cylinders

» Grease Fittings at Every Pivot Point

» ½”x6” Cutting Edge

» Powder-Coated Finish

» Protective Sleeve on Hydraulic Hoses

» John Deere and Euro Mounts Available

» Optional: Weld-On Teeth

» Optional: Bolt-On Edge

» Optional: Side Cutter

SIZE OPTIONS | CAPACITIES 60” | 8.43 cu. ft. 66” | 11.84 cu. ft. 72” | 12.92 cu. ft. SIZE OPTIONS | CAPACITIES 63” | 11.30 cu. ft. 66” | 11.84 cu. ft. 72” | 12.92 cu. ft.
3
REQUIREMENTS 50-65HP
BUCKETS

EXTREME DUTY 4-IN-1 BUCKET

Our Extreme Duty 4-in-1 Bucket skid loader attachment is equipped with a 3” bore cylinder, 1”x8” cutting edge, and ¾”x6” at all other ground engaging points. The versatility that comes with the Lackender by ECS 4-in-1 Bucket tackles grappling, dozing, backfilling, loading, digging and fine grading.

SPECIFICATIONS

» 3” Bore Cylinders

» Grease Fittings at Every Pivot Point

» 1”x8” Cutting Edge

» Powder-Coated Finish

» Protective Sleeve on Hydraulic Hoses

» John Deere and Euro Mounts Available

» Optional: Weld-On Teeth

» Optional: Bolt-On Edge

» Optional: Side Cutter

REQUIREMENTS

65-80HP

SIZE OPTIONS | CAPACITIES

72” | 16.98 cu. ft.

78” | 18.39 cu. ft.

81” | 19.10 cu. ft.

84” | 19.81 cu. ft.

4

BUCKETS

CONCRETE BUCKET

Accurately place concrete for sidewalks, driveways or setting fence posts with our Concrete Bucket skid steer attachment. The Lackender by ECS Concrete Bucket is designed to carry and place concrete in areas inaccessible to trucks without any waste. With an optional hydraulic gate, you can quickly open and close the gate without having to get in and out.

SPECIFICATIONS

» 3/16” Material

» Chute Extender

» Powder-Coated Finish

» Protective Sleeve on Hydraulic Hoses

» John Deere and Euro Mounts Available

» Optional: Hydraulic Gate

SIZE OPTIONS

Hydraulic Chute Option Available in All Sizes 1/2 yd. | 3/4 yd. | 1 yd.

1 YARD

5

HEAVY DUTY GRAPPLE BUCKET

The Lackender by ECS Heavy Duty Grapple Bucket’s versatility allows you to scoop but also grab branches, rocks and other materials. Equipped with 2” bore by 10” stroke cylinders, the Heavy Duty Grapple Bucket exceeds the lifting capacity of the machine using it. Like all of the Lackender by ECS grapple skid steer attachments, the hydraulic lines are routed inside the tubing to prevent tears.

SPECIFICATIONS

» 2” Bore by 10” Stroke Cylinders, Rated at 4000 PSI

» Grease Fittings at Every Pivot Point

» Bolt-On Sides Included

» Powder-Coated Finish

» Protective Sleeve on Hydraulic Hoses

» John Deere and Euro Mounts Available

» Optional: Weld-On Teeth

REQUIREMENTS

Up to 65HP Machine

SIZE OPTIONS

63” | 66” | 72” | 78”

EXTREME DUTY GRAPPLE BUCKET

From logs to building supplies, the Lackender by ECS Extreme Duty Grapple Bucket can handle more material and is intended for larger machines than our Heavy Duty Grapple Bucket skid loader attachment. The two 2” bore by 10” stroke cylinders and cylinder shafts are fully enclosed, protecting them from falling debris while the hydraulic lines are routed inside the tubing to prevent tears.

SPECIFICATIONS

» 2” Bore by 10” Stroke Cylinders, Rated at 4000 PSI

» 5/8” Top Tines

» Hydraulic Lines on Top and Routed Inside the Tubing to Prevent Tears

» Grease Fittings at Every Pivot Point

» 1”x8” Cutting Edge on Bucket

» Bolt-On Sides Included

» Powder-Coated Finish

» Protective Sleeve on Hydraulic Hoses

» John Deere and Euro Mounts Available

» Optional: Weld-On Teeth

» Optional: Bolt-On Edge

REQUIREMENTS

65HP+ Machine

SIZE OPTIONS

72” | 78” | 84”

6

BUCKETS

HIGH DUMP BUCKET

Our High Dump Bucket skid steer attachment makes your clean-up jobs go quickly with extra tall sides to handle everything from construction debris to poultry litter. With an extra three feet of dumping height, you can easily load dump trucks or other high-sided trailers to capacity. The design of the Lackender by ECS High Dump Bucket also protects the cylinders on the sides and makes sure space isn’t lost inside the bucket. This also makes clean out much quicker.

SPECIFICATIONS

» Extra 3’ of Dumping Height

» Cylinders Protected on the Sides

» 2”x10” Twin Cylinders

» 3/4”x6” Edge

» 3/16” Bucket Wrap

» Powder-Coated Finish

» Protective Sleeve on Hydraulic Hoses

» John Deere and Euro Mounts Available

LONG BOTTOM BUCKET

The Long Bottom Bucket skid loader attachment was built to have better visibility of the cutting edge for your moving, digging and grading projects.

SPECIFICATIONS

» 3/16” Bucket Wrap

» 3/4”x6” Edge

» 3/8” Wear Bars & Side Edge

» Powder-Coated Finish

» John Deere and Euro Mounts Available

» Optional: Bolt-On Edge

» Optional: Weld-On Teeth

REQUIREMENTS

Rated for Track Machines Up to 65HP and Wheel Machines Up to 70HP

SIZE OPTIONS | CAPACITIES
| 25.86 cu. ft. 84” | 30.96 cu. ft. 96” | 36.07 cu. ft.
72”
SIZE OPTIONS | CAPACITIES 63” | 14.42 cu. ft. 66” | 15.11 cu. ft. 72” | 16.48 cu. ft. 78” | 17.86 cu. ft. 84” | 19.23 cu. ft. 7

EXTREME

TRACKLOADER BUCKET

An upgrade to your OEM bucket, the Lackender by ECS Extreme Trackloader Bucket is built with 1”x8” cutting edge to give you more strength and an extra 2” of cutting edge. Easy cleanout is not a problem with our Extreme Trackloader Bucket’s rolled back. Its low profile design offers better visibility.

SPECIFICATIONS

» Rolled Back

» 1”x8” Cutting Edge

» ½” Wear Bars

» Powder-Coated Finish

» John Deere and Euro Mounts Available

» Optional: Weld-On Teeth

» Optional: Side Cutting Edge

SIZE OPTIONS | CAPACITIES

72” | 18.16 cu. ft.

78” | 19.67 cu. ft.

84” | 21.19 cu. ft.

96” | 21.86 cu. ft

EXTREME DUTY ROCK BUCKET

Easily sieve through loose soil to remove unwanted rock and debris with the Lackender by ECS Extreme Duty Rock Bucket. With fully-welded front tines in place of a cutting edge, it is perfect for sifting large rocks out of pastures, lawns and construction sites.

SPECIFICATIONS

» Fully Welded Front Teeth

» 3” Tine Spacing

» Dual 1¼” Rods to Reinforce the 5” Tall Rock Dam

» Powder-Coated Finish

» John Deere and Euro Mounts Available

SIZE OPTIONS | CAPACITIES

66” | 16.85 cu. ft.

72” | 19.42 cu. ft.

78” | 21.04 cu. ft.

84” | 22.66 cu. ft.

8

BUCKETS

SNOW & LITTER BUCKET

The Lackender by ECS Snow & Litter Bucket is designed to be a versatile tool to tackle large-volume, lighter-weight jobs like snow, mulch, manure, sawdust, shavings and other loose materials.

SPECIFICATIONS

» Designed for Large-Volume, Low-Weight Material

» 3/16” Bucket Wrap

» 3/4”x6” Edge

» 3/8” Wear Bars and Side Edge

» Powder-Coated Finish

» John Deere and Euro Mounts Available

» Optional: Bolt-On Edge

REQUIREMENTS

Rated for Track Machines Up to 65HP and Wheel Machines Up to 70HP

SIZE OPTIONS | CAPACITIES

63” | 20.66 cu. ft.

66” | 21.64 cu. ft.

72” | 23.61 cu. ft.

78” | 25.59 cu. ft.

84” | 27.56 cu. ft.

96” | 31.50 cu. ft.

HIGH CAPACITY SNOW & LITTER BUCKET

Move, scoop and haul more material with fewer trips with our High Capacity Snow & Litter Bucket skid loader attachment. Beyond the increased capacity with the larger bucket size, the Lackender by ECS High Capacity Snow & Litter Bucket features back viewing slots to boost visibility of the ¾”x6” cutting edge.

SPECIFICATIONS

» Slotted Back Plate for Edge View

» 3/16” Bucket Wrap

» ¾”x6” Cutting Edge

» Powder-Coated Finish

» John Deere and Euro Mounts Available

» Optional: Bolt-On Edge

REQUIREMENTS

Rated for Track Machines Up to 65HP and Wheel Machines Up to 70HP

SIZE OPTIONS

72” | 78” | 84” | 96” | 108” | 120”

9

TURKEY LITTER BUCKET

Beyond poultry litter, the Lackender by ECS Turkey Litter bucket works great when you have a large volume of lighterweight material to handle, like snow or shavings. What’s the difference between the Turkey Litter Bucket skid loader attachment and our Snow & Litter Bucket? Nothing but sheer size the turkey litter model is the oversized version!

SPECIFICATIONS

» 3/16” Bucket Wrap

» ¾”x6” Edge

» 3/8” Wear Bars and Side Edge

» Powder-Coated Finish

» John Deere and Euro Mounts Available

» Optional: Bolt-On Edges

REQUIREMENTS

Rated for Track Machines Up to 65HP and Wheel Machines Up to 70HP

SIZE OPTIONS | CAPACITIES

84” | 52.02 cu. ft.

96” | 59.47 cu. ft.

108” | 66.91 cu. ft.

10

HEAVY DUTY HEX AUGER

Whether digging holes for posts or trees, the Lackender by ECS Heavy Duty Hex Auger skid loader attachment is a great alternative to the back-breaking work of these tasks. Our Heavy Duty Hex Auger’s versatility only increases with the wide variety of bits and sizes available. Its strength and dependability effortlessly and efficiently handle the many different soil conditions in the toughest environments.

SPECIFICATIONS

» 2” Hex

» Direct Drive Through Planetary Gear

» Mounting Plate, Hoses and Couplings Included

» Various Auger Bit Sizes and Styles Available

» 24” Hex Extension Available

» Hex-to-Round and Round-to-Hex Adapters Available

» Powder-Coated Finish

» Protective Sleeve on Hydraulic Hoses

» John Deere and Euro Mounts Available

SIZE OPTIONS (AUGER BITS)

6” Bit | 9” Bit | 12” Bit | 15” Bit | 18” Bit | 24” Bit | 30” Bit | 36” Bit

EXTREME BOOMER 2000 BACKHOE

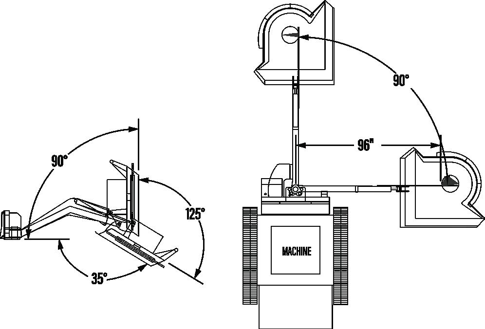
With 7’ of digging depth and 14,000 lbs of ripping force, the Extreme Boomer 2000 skid steer backhoe attachment is an aggressive digging machine. From excavating to landscaping and digging septic, water and power lines, this popular skid loader attachment is equipped with 3”x16” hydraulic cylinder, hoses and flat-face couplers. Want your backhoe to act as a grapple? Add the optional thumb feature to help move logs or chunks of cement easily.

SPECIFICATIONS

» 7’ Digging Depth

» 14,000-lbs Ripping Force

» 2,000-PSI Relief

» Powder-Coated Finish

» Protective Sleeve on Hydraulic Hoses

» John Deere and Euro Mounts Available

REQUIREMENTS

30HP or 1,200-lbs Lift Capacity 8gpm Minimum Auxiliary Hydraulics

SIZE OPTIONS

8” Bucket | 12” Bucket | 16” Bucket | 20” Bucket | 24” Bucket

11
DIGGING & EXCAVATING

EXTREME HYDRA-SWING BACKHOE

Get the same digging power as the Extreme Boomer 2000 but with excellent visibility. The Extreme Hydra-Swing skid steer backhoe attachment features 110 degrees of swing left or right and the ability to offset the backhoe for digging in tight spaces and along edges. Add the optional thumb feature to make this aggressive digging machine a grapple that can handle grabbing logs or anything else that gets in the way of your digging.

SPECIFICATIONS

» 7’ Digging Depth

» 14,000-lbs Ripping Force

» 2,000-PSI Relief

» Offset to the Right to Dig Along Edges

» Powder-Coated Finish

» Protective Sleeve on Hydraulic Hoses

» John Deere and Euro Mounts Available

REQUIREMENTS

30HP or 1,200-lbs Lift Capacity

8gpm Minimum Auxiliary Hydraulics

12V Power Source

SIZE OPTIONS

8” Bucket | 12” Bucket | 16” Bucket | 20” Bucket | 24” Bucket

12

EXTREME DOZER BLADE

Lackender by ECS 6-way and 4-way Extreme Dozer Blades are an excellent tool for grading. This skid loader attachment features a ¼” mold board and an electric over hydraulic valve to operate the tilt function of the blade. Cut a road, level ground for a building or cut a ditch easily with the Extreme Dozer Blade skid steer attachment that only needs one set of auxiliary hydraulics.

SPECIFICATIONS

» Electric Over Hydraulic Valve

» ¼” Mold Board

» 3½”x4” Cylinders

» ½” AR400 Edge

» Replaceable Cutting Edge Available

» Wire Harness Included

» Universal, 8 Pin, or 14 Pin Wiring Harness Available

» Powder-Coated Finish

» Protective Sleeve on Hydraulic Hoses

» John Deere and Euro Mounts Available

REQUIREMENTS

One Set of Auxiliary Hydraulics

SIZE OPTIONS

Available in Both 4-Way and 6-Way 72” | 84” | 96”

EXTREME TRENCHER

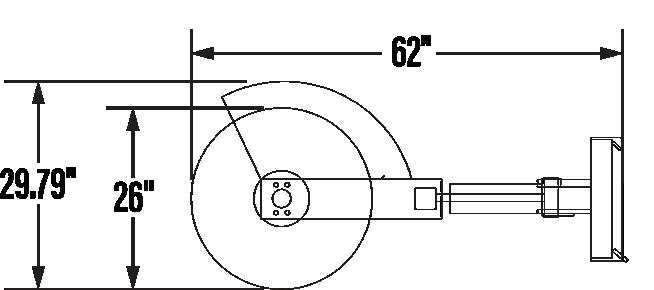
If you find yourself installing water, cable or other underground lines the Lackender by ECS Extreme Trencher is a skid steer attachment worth checking out. Not only is it equipped with a 15” auger and various chains to fit your trenching situation, but the Trencher skid loader attachment is available in two different arm sizes for varying digging depths.

SPECIFICATIONS

» 15” Auger

» Powder-Coated Finish

» Protective Sleeve on Hydraulic Hoses

SIZE OPTIONS

36”x6” | 48”x6”

13
& EXCAVATING
DIGGING

HEAVY DUTY DEMO DOZER

The Lackender by ECS Heavy Duty Demo Dozer gives you the functionality of a dozer blade, bucket and grapple in one skid steer attachment. Remove the bolt-on sides to haul logs and posts or tear out concrete with the 1”x8” cutting edge. Push material with the ½” grapple tines that are also equipped with receivers and chain hooks.

SPECIFICATIONS

» 2” Bore by 10” Stroke Cylinders Rated at 4,000 PSI

» Cylinders Operate Independently

» Hydraulic Lines on Top and Routed Inside the Tubing to Prevent Tears

» Protective Covers on Cylinders

» Bolt-On Sides Included

» 1”x8” Bucket Cutting Edge

» Powder-Coated Finish

» Protective Sleeve on Hydraulic Hoses

» John Deere and Euro Mounts Available

» Optional: Bolt-On Edge

» Optional: Rod Covers

REQUIREMENTS

Designed for 45-65HP Machines

72” | 78”

EXTREME DUTY DEMO DOZER

The Lackender by ECS Extreme Duty Demo Dozer packs the functionality of a bucket, grapple, dozer and more, all within one skid steer attachment. Not only can you handle more material than the heavy-duty grapple bucket but the 5/8” grapple tines and the 1”x8” cutting edge make tearing out and hauling broken concrete easy. The Extreme Duty Demo Dozer skid steer attachment gives you flexibility with tool receivers, chain hooks and bolt-on edges while still having the performance of a dozer blade and bucket.

SPECIFICATIONS

» 2” Bore by 10” Stroke Cylinders Rated at 4,000 PSI

» Cylinders Operate Independently

» Hydraulic Lines on Top and Routed Inside the Tubing to Prevent Tears

» Protective Covers on Cylinders and Rods

» Bolt-On Sides Included

» 1”x8” Bucket Cutting Edge

» Powder-Coated Finish

» Protective Sleeve on Hydraulic Hoses

» John Deere and Euro Mounts Available

» Optional: Bolt-On Edge

REQUIREMENTS

Designed for 65HP+ Machines

SIZE OPTIONS
SIZE OPTIONS 72” | 78” | 84”
14

GRAPPLES

EXTREME DUTY ROCK GRAPPLE BUCKET STANDARD DUTY GRAPPLE RAKE

Our Extreme Duty Rock Grapple Bucket skid steer attachment gives you the power to grab rocks, logs and brush without taking dirt along. To adjust for uneven loads, the 2” bore by 10” stroke cylinders operate independently. The hydraulic cylinder shaft is fully enclosed to protect from falling debris while the hydraulic lines are routed inside the tubing to prevent tears.

SPECIFICATIONS

» Fully Welded Front Teeth

» 3” Tine Spacing

» 2” Bore by 10” Stroke Cylinders Rated at 4000 PSI

» 5/8” Top Tines

» Grease Fittings at Every Pivot Point

» Bolt-On Sides Included

» Powder-Coated Finish

» Protective Sleeve on Hydraulic Hoses

» John Deere and Euro Mounts Available

66” | 72” | 78” | 84”

Quickly rake, roll or load debris into tight piles with the Lackender by ECS Standard Duty Grapple Rake. Rated for use with 35-60HP machines, the Standard Duty Grapple Rake skid loader attachment is made with 3/8” AR400 steel that provides the strength needed but with a lower weight to maximize grappling power.

SPECIFICATIONS

» 3/8” AR400 Steel

» 4,000 PSI-Rated Cylinders

» Powder-Coated Finish

» Protective Sleeve on Hydraulic Hoses

» John Deere and Euro Mounts Available

REQUIREMENTS

Rated for 35-50HP Machines

63” | 66” | 72”

SIZE OPTIONS
SIZE OPTIONS
15

HEAVY DUTY GRAPPLE RAKE

The shape of the Lackender by ECS Heavy Duty Grapple Rake makes it easy to rake, pile or load debris. The Heavy Duty Grapple Rake skid steer attachment is rated for use with 50-70HP machines and is available as a single grapple or two independent grapples. The twin 2” bore by 10” stroke cylinders are rated at 4,000 PSI to handle the toughest jobs.

SPECIFICATIONS

» Twin 2” Bore by 10” Stroke Cylinders Rated at 4,000 PSI

» Built with 1/2” Top-Quality Steel

» Full 51” Grapple Opening

» Available as Single Grapple or Two Independent Grapples

» John Deere and Euro Mounts Available

REQUIREMENTS

Rated for 45-65HP Machines

SIZE OPTIONS

66” | 72” | 78”

EXTREME DUTY GRAPPLE RAKE

Our Extreme Duty Grapple Rake skid loader attachment is made to handle the toughest jobs from raking, piling or loading debris. The Lackender by ECS Extreme Duty Grapple Rake is rated for machines that have 65HP or more. The shape of the Extreme Duty Grapple Rake has a full 51” open and is available as a single grapple or two independent grapples. Tough jobs are no problem with the twin 2” bore by 10” stroke cylinders rated at 4,000 PSI.

SPECIFICATIONS

» Twin 2” Bore by 10” Stroke Cylinders Rated at 4,000 PSI

» Built with 1/2” Top-Quality Steel

» Full 51” Grapple Opening

» Available as Single Grapple or Two Independent Grapples

» 23 Series Teeth Standard

» John Deere and Euro Mounts Available

REQUIREMENTS

Rated for 65HP+ Machines

SIZE OPTIONS

72” | 84” | 96”

16

GRAPPLES

COMPACT TRACTOR & SKID STEER ROOT GRAPPLE

This model of Lackender by ECS root grapple is ideal for moving logs, brush, rocks or any type of debris with a compact tractor or lower horsepower skid steer. With independently-operated cylinders, our Compact Tractor & Skid Loader Root Grapple will adjust for uneven loads.

SPECIFICATIONS

» 2” Bore by 10” Single Cylinder

» Grease Fittings at Every Pivot Point

» Powder-Coated Finish

» Protective Sleeve on Hydraulic Hoses

» John Deere and Euro Mounts Available

REQUIREMENTS

Rated for Machines Under 35HP

SIZE OPTIONS

60” | 66” | 72”

STANDARD DUTY ROOT GRAPPLE

No matter if you’re moving logs, brush, rocks or a wide assortment of materials, our Standard Duty Root Grapple skid loader attachment is built tough with a 3/8” thick steel plate on the top and bottom. While the 2” bore by 10” stroke cylinders operate independently to adjust for uneven loads, cylinder rod covers are available to further protect the cylinder shafts. Hydraulic lines are also protected inside the 3” square tubing to prevent tears.

SPECIFICATIONS

» 3/8” Thick Steel

» 2” Bore by 10” Stroke Cylinder

» Grease Fittings at Every Pivot Point

» Hydraulic Lines Routed Inside Tubing

» Powder-Coated Finish

» Protective Sleeve on Hydraulic Hoses

» John Deere and Euro Mounts Available

» Optional: Spacer Tines

» Optional: Bolt-On Cylinder Rod Covers

REQUIREMENTS

Rated for Machines 35-45HP and Under

SIZE OPTIONS

63” | 66” | 72”

17

HEAVY DUTY ROOT GRAPPLE

The Lackender by ECS Heavy Duty Root Grapple skid steer attachment is built tough with a 1/2” thick steel plate on the top and bottom to efficiently move logs, brush, rocks or any debris. Our Heavy Duty Root Grapple skid loader attachment easily adjusts for uneven loads with independently-operated, twin 2” bore by 10” stroke cylinders. While hydraulic lines are routed inside the 3” tubing to prevent tears, cylinder shafts can further be protected with optional rod covers.

SPECIFICATIONS

» ½” Thick Steel

» 2” Bore by 10” Stroke Cylinder

» Grease Fittings at Every Pivot Point

» Hydraulic Lines Routed Inside 3” Tubing

» Powder-Coated Finish

» Protective Sleeve on Hydraulic Hoses

» John Deere and Euro Mounts Available

» Optional: Spacer Tines

» Optional: Bolt-On Cylinder Rod Covers

REQUIREMENTS

Rated for Machines 45-65HP and Under

SIZE OPTIONS

63” | 66” | 72” | 78”

EXTREME DUTY ROOT GRAPPLE

Our Extreme Duty Root Grapple can handle more material and is more rugged than other Lackender by ECS grapples. Made with a 5/8” thick steel plate on top and 1/2” thick steel plate on the bottom, our Extreme Duty Root Grapple skid steer attachment is tough enough for the most severe applications. The hydraulic lines are routed inside the 4” tubing to prevent tears and the hydraulic cylinders and shafts are closed, protecting them from falling debris.

SPECIFICATIONS

» 5/8” Thick Plate on Top

» 1/2” Thick Plate on Bottom

» 2” Bore by 10” Stroke Cylinder

» Grease Fittings at Every Pivot Point

» Hydraulic Lines Routed Inside 4” Tubing

» Powder-Coated Finish

» Protective Sleeve on Hydraulic Hoses

» John Deere and Euro Mounts Available

» Optional: Spacer Tines

REQUIREMENTS

Rated for 65HP+ Machines

SIZE OPTIONS

66” | 72” | 78” | 84”

18

BALE ACCUMULATOR

Quickly stack hay bales in the field and load on a trailer with the Bale Accumulator skid steer attachment. It allows one person in a skid loader to gather up to 10 bales of hay and then use the grapple to lift and load onto a trailer. You can also use it to easily stack hay in big barns or buildings. With the Lackender by ECS Bale Accumulator, there’s no need for multiple attachments or additional labor as everything can be done from the comfort of your skid steer cab, saving you time and money.

SPECIFICATIONS

» 2”x6” Cylinder

» 9-inch Hooks

» Radial Bearings

» Able to carry 8-10 square bales

» Adjustable Width Sides

» Powder-Coated Finish

» Protective Sleeve on Hydraulic Hoses

» John Deere and Euro Mounts Available

SIZE OPTIONS

10-Bale

HAY BALE GRAPPLE BUCKET

From gathering broken bales of hay or straw to carrying a bale of hay, the Lackender by ECS Hay Bale Grapple Bucket is a large capacity bucket with a grapple that opens to 59”.

SPECIFICATIONS

» ¼” Wrap, ¾” Cutting Edge

» 2”x10” Cylinders with Grease Fittings at Every Hinge Point

» Powder-Coated Finish

» Protective Sleeve on Hydraulic Hoses

» John Deere and Euro Mounts Available

» Optional: Bolt-On Edge

SIZE OPTIONS

84” | 96”

19 HAY
EQUIPMENT

HEAVY DUTY HAY BALE SQUEEZE

Pick up and move round hay bales effortlessly with the Heavy Duty Hay Bale Squeeze skid steer attachment. Bales can be easily grabbed whether they’re sitting flat or on their side. There’s no need to worry about wrapped bales tearing with the tubular design of the Lackender by ECS Heavy Duty Hay Bale Squeeze.

SPECIFICATIONS

» Single Cylinder

» 1,800-lbs Capacity

» Powder-Coated Finish

» Protective Sleeve on Hydraulic Hoses

» John Deere and Euro Mounts Available

REQUIREMENTS

Rated for 65HP and Lower Machines

EXTREME DUTY HAY BALE SQUEEZE

With a 2,800-lb holding capacity and the twin 2½”x8” cylinders, you can easily move a large quantity of hay bales with the Lackender by ECS Extreme Duty Hay Bale Squeeze. This skid loader attachment can stack two bales at a time and handle 4-, 5-, or 6-foot bales.

SPECIFICATIONS

» Twin 2½”x8” Cylinders

» 2,800-lbs Capacity

» Powder-Coated Finish

» Protective Sleeve on Hydraulic Hoses

» John Deere and Euro Mounts Available

REQUIREMENTS

Rated for 65HP and Lower Machines

20

HAY EQUIPMENT

HAY FORKS

Easily move bales of hay with our Hay Forks skid loader attachment. Each Lackender by ECS Hay Fork is rated at 2,800 lbs. Choose from single, double or triple prongs with non-adjustable, fixed spacing between prongs.

SPECIFICATIONS

» 49” Prong Length

» Each fork rated for 2,800 lbs

» Euro Style and John Deere Mounts Available

» Powder-Coated Finish

» 32” Prong Fixed Spacing Standard on 2-Prong; 36” or 40” Available Custom

SIZE OPTIONS

1-Prong | 2-Prong | 3-Prong

1-PRONG 2-PRONG
21
3-PRONG

HIGH BACK HAY FORKS

Designed with an additional 13” of height, our High Back Hay Forks give you more leverage and control while increasing safety when rolling bales back towards the cab. Similar to the Lackender by ECS Hay Forks, each fork is rated at 2,800 lbs and is 49” long.

SPECIFICATIONS

» 49” Fork Length

» Each Fork Rated for 2,800 lbs

» 32” Prong Fixed Spacing Standard on 2-Prong; 36” or 40” Available Custom

» Powder-Coated Finish

» Protective Sleeve on Hydraulic Hoses

» John Deere and Euro Mounts Available

SIZE OPTIONS

1-Prong | 2-Prong | 3-Prong

1-PRONG 2-PRONG 3-PRONG
22

MULCHERS & BRUSH CUTTERS

STANDARD DUTY BRUSH CUTTER

The Lackender by ECS Standard Duty Brush Cutter is perfect for tackling light brush or lightweight land clearing jobs. Available in a 60” or 72” deck, this skid loader brush cutter features a 40HP gearbox and stump jumper.

SPECIFICATIONS

» 3” Cutting Capacity

» 3/16” Deck with 3/8” A36 Reinforced Sides

» 40HP Right Angle Gearbox

» 2 Blades with Stump Jumper

» High Torque Motor with 3000-PSI Relief Valve

» Powder-Coated Finish

» Protective Sleeve on Hydraulic Hoses

» Available as Open or Closed Front Design

» Optional: Mesh Grill Available on Open Front

» Optional: Mulching Teeth

REQUIREMENTS

14-20gpm Minimum Aux. Hydraulics

SIZE OPTIONS

60” 14-20gpm | 72” 14-20gpm

EXTREME DUTY BRUSH CUTTER

Tougher land clearing jobs? Our Extreme Duty Brush Cutter skid steer attachment with bi-directional blades powered by a high torque motor is ready for the job! This skid loader brush cutter features a 100HP Omni gearbox and does not require a case drain. Available in flows of 14-20gpm and 16-26gpm.

SPECIFICATIONS

» 6” Cutting Capacity

» 3/16” Deck with 3/8” AR400 Reinforced Sides

» High Torque Motor with 3000-PSI Relief Valve

» 3 Bi-directional Blades Made with 5/8” AR400

» 3/8” Double Clover Leaf Shaped Blade Holder

» Does Not Require a Case Drain

» 100HP Right Angle Omni Gearbox with 6-Bolt Flange

» Powder-Coated Finish

» Protective Sleeve on Hydraulic Hoses

» Optional: 1/4” Deck Upgrade

» Optional: Mulching Teeth

SIZE OPTIONS

60” 14-20gpm | 60” 16-26gpm | 72” 16-26gpm |

72” 14-20gpm | 78” 16-26gpm

23
| LAND CLEARING & MANAGEMENT

SEVERE DUTY BENT AXIS PISTON BRUSH CUTTER

The four 5/8” bi-directional blades on the Lackender by ECS Severe Duty Bent Axis Piston Cutter make quick work of your next brush clearing project. The AR400 blades are held in a round blade holder and have a continuous cutting capacity of 10”. Mulching teeth come standard on this skid steer attachment that is offered in both a high-flow and low-flow model.

SPECIFICATIONS

» 10” Cutting Capacity

» Four 5/8” AR400 Bi-Directional Blades

» AR400 Replaceable Skid Shoes

» ½” Double Round Blade Carrier

» ¼” Deck with 3/8” AR400 Reinforced Sides

» Parker Bent Axis Motor

» Mulching Teeth Come Standard

» Powder-Coated Finish

» Protective Sleeve on Hydraulic Hoses

REQUIREMENTS

Case Drain Required

SIZE OPTIONS 72” 20-30gpm | 72” 30-50gpm | 78” 20-30gpm | 78” 30-50gpm
24

MULCHERS & BRUSH CUTTERS

SWING BOOM CUTTER

The Lackender by ECS Swing Boom Cutter is designed for cutting banks, fence lines and right of ways along with cutting trails. With a reach of 96” when extended horizontally and a vertical reach of 16’, this skid steer attachment easily tackles trimming tree limbs. The Swing Boom Cutter can also swing to the right to be used as a side cutter. Powered by a high torque motor with built-in relief valve and maximum supply pressure of 4,000 PSI, this cutter has a significant reach advantage over our typical cutter.

SPECIFICATIONS

» Maximum Supply Pressure of 4,000 PSI

» 3”x16” Tilt Cylinders

» 5/8” AR400 Blades

» 44” Cut

» 3” Cutting Capacity

» Does Not Require Case Drain

» Universal, 7 Pin, 8 Pin, and 14 Pin Wiring Harnesses

Available

» John Deere and Euro Mounts Available

» Powder-Coated Finish

» Protective Sleeve on

PISTON MOTOR SWING BOOM CUTTER

Powered by a direct drive piston motor, the Lackender by ECS Piston Motor Swing Boom Cutter tackles cutting banks, trails, fence lines and right of ways easily with the 96” horizontal reach. When extended vertically, you can clear unwanted tree limbs up to 16’ high, or use as a side cutter with the attachment’s ability to swing to the right.

SPECIFICATIONS

» Direct Drive Piston Motor with Maximum 4,000 PSI

» 3”x16” Tilt Cylinders

» 5/8” AR400 Blades

» 44” Cut

» 4” Cutting Capacity

» Requires Case Drain

» Universal, 7 Pin, 8 Pin, and 14 Pin Wiring Harnesses

Available

» Powder-Coated Finish

» Protective Sleeve on Hydraulic Hoses

» John Deere and Euro Mounts Available

REQUIREMENTS

17-27gpm and Case Drain Required

25
| LAND CLEARING & MANAGEMENT

STANDARD DUTY EXCAVATOR BRUSH CUTTER

Easily clear dense brush from tight spaces with the Lackender by ECS Standard Duty Excavator Brush Cutter. The two high-tempered and long-lasting blades maintain a tip speed to tackle dense brush and small trees up to 2” in diameter.

SPECIFICATIONS

» Cuts Trees Up to 2” in Diameter

» 2 High-Tempered Steel Blades with Stump Jumper

» Powder-Coated Finish

» Protective Sleeve on Hydraulic Hoses

» John Deere and Euro Mounts Available

» Optional: Debris Chain

» Optional: 12-29gpm Piston Star Motor (No Case Drain Required)

REQUIREMENTS

For Mini Excavators with a Weight of Less Than 12,000 lbs

SIZE OPTIONS

9-15gpm | 14-20gpm | 12-29gpm Piston Star Motor

EXTREME DUTY EXCAVATOR BRUSH CUTTER

Equipped with AR400 steel blades, the Lackender by ECS Extreme Duty Excavator Brush Cutter allows you to use your mini excavator to clear dense brush and trees up to 3” in diameter. With three different gearbox-motor combinations, you’ll be able to get the highest torque while maintaining an ideal blade tip speed for your machine.

SPECIFICATIONS

» Cuts Trees Up to 3” in Diameter

» AR400 Steel Blades

» Powder-Coated Finish

» Protective Sleeve on Hydraulic Hoses

» John Deere and Euro Mounts Available

» Optional: Debris Chains

» Optional: 12-29gpm Piston Star Motor (No Case Drain Required)

REQUIREMENTS

For Mini Excavators with a Weight of More Than 12,000 lbs

SIZE OPTIONS

14-20gpm | 20-26gpm | 24-30gpm | 12-29gpm Piston Star Motor

26

MULCHERS & BRUSH CUTTERS

44″ FORESTRY DISC MULCHER

Mulch 4” materials with the Lackender by ECS 44” Forestry Disc Mulcher. Available in two motor combinations, this skid steer attachment has a 44” diameter cutting area and a machined and statically-balanced disc with 30 mulching teeth. Our 44” Forestry Disc Mulcher provides you the power you need to take care of the toughest clearing jobs including vertically mulching larger trees.

SPECIFICATIONS

» Fully Machined Disc – No Welding on Disc

» 3/8” Thick Deck and Reinforced Sides

» Teeth on All Surfaces, Deck and Sides

» 1” Hinged Deflector Plate

» Easy Maneuverability

» Powder-Coated Finish

» Protective Sleeve on Hydraulic Hoses

» John Deere and Euro Mounts Available

60″ FORESTRY DISC MULCHER

Mulch 6” materials or cut 14” diameter trees with the Lackender by ECS 60” Forestry Disc Mulcher. The 60” diameter disc is fully machined and ready for your toughest project. You can also back drag across the cut area to mulch up material and grind down stumps flush with the surface.

SPECIFICATIONS

» Fully Machined Disc – No Welding on Disc

» 3/8” Thick Deck and Reinforced Sides

» Teeth on Top, Sides and Bottom of Blade

» 1” Hinged Deflector Plate

» Throws Material Away from Machine

» Below-Ground Cutting

» Powder-Coated Finish

» Protective Sleeve on Hydraulic Hoses

» John Deere and Euro Mounts Available

SIZE OPTIONS
Motor
150cc Motor
SIZE OPTIONS
Motor
200cc Motor
REQUIREMENTS
Motor Requires
150cc Motor Requires
REQUIREMENTS
Motor
200cc Motor
27
100cc
20-30gpm |
30-44gpm
150cc
32-44gpm |
45-60gpm
100cc
20-30gpm
30-44gpm
150cc
Requires 32-44gpm and 3,200-5,000 PSI
Requires 45-60gpm and 3,200-5,000 PSI
| LAND CLEARING & MANAGEMENT

RIPPER

If tilling or breaking up hard-packed soils is on your to-do list, the Lackender by ECS Ripper skid steer attachment is something to have in your shed. Plus, the adjustable ripper tines give you the flexibility to increase and decrease your ripping depth.

SPECIFICATIONS

» Adjustable Tines

» Powder-Coated Finish

» John Deere and Euro Mounts Available

» Optional: Finishing Rake

SIZE OPTIONS

60” | 72” | 84”

BOX SCRAPER RIPPER

Restore and recondition settling gravel drives with our Box Scraper Ripper skid loader attachment. While the ripper tines resurface buried gravel, the cutting edges smooth and level the surface. Depending on your preference, you can choose to use the Lackender by ECS Box Scraper Ripper driving forward or backward; simply adjust the direction of the ripper tines accordingly.

SPECIFICATIONS

» Replaceable Cutting Edges

» Replaceable Ripper Shanks

» Powder-Coated Finish

» John Deere and Euro Mounts Available

SIZE OPTIONS

60” | 72” | 84” | 96”

28 | SOIL CONDITIONING LAND CLEARING & MANAGEMENT

SOIL CONDITIONING

EXTREME ROTO TILLER

From gardens to small fields and food plots, our Extreme Roto Tiller skid steer attachment is perfect for preparing seed beds. The bi-directional rotation can till ground up to 6” deep and is available in both low-flow and high-flow models.

SPECIFICATIONS

» ¼” Plate, Rolled Housing

» 3/8” Sides with 3/8” Thick Shoes

» Bolt-On Replaceable Tines

» Low Flow (14-20gpm): Single Parker Motor with Internal Relief Valve

» High Flow (20-40gpm): Dual Parker Motors with Internal Relief Valves and ¾” Machine Hose

» Powder-Coated Finish

» Protective Sleeve on Hydraulic Hoses

» John Deere and Euro Mounts Available

SIZE OPTIONS

72” 14-20gpm | 72” 20-40gpm | 84” 20-40gpm

LOW FLOW
FLOW
FLOW 29
72" HIGH
84" HIGH
| LAND CLEARING & MANAGEMENT

LAND LEVELER

As the name says, our Land Leveler skid loader attachment is made for leveling land but can also be used to cultivate, grade and cut too. While not designed to transfer large amounts of dirt, it does a great job tackling leveling jobs like dirt roads, gravel driveways, ball fields or dirt drag strips.

SPECIFICATIONS

» Dual-Sided, Bolt-On Cutting Edge

» Powder-Coated Finish

» John Deere and Euro Mounts Available

SIZE OPTIONS

72” | 78” | 84”

EXTREME POWER RAKE

The Lackender by ECS Extreme Power Rake’s floating design keeps the rake level while grading, reconditioning or leveling surfaces, like seedbed preparation. To protect the 16-26gpm motor from getting hit or caught on any obstructions, it is set within the drum and doesn’t extend past the width of the rake.

SPECIFICATIONS

» Inset Direct Drive 16-26gpm Motor within the Drum

» Bi-Directional Drum

» Drum Uses Carbide Teeth

» Removable Side Plates

» Solid Foam-Filled Tires

» Available in Manual or Hydraulic Angle

» Front/Back Debris Curtain

» Available with Universal, 7 Pin, 8 Pin, or 14 Pin Wiring Harness

» Powder-Coated Finish

» Protective Sleeve on Hydraulic Hoses

» John Deere and Euro Mounts Available

SIZE OPTIONS

72” | 90”

30

SOIL CONDITIONING

MULTI-PURPOSE POWER RAKE

When you want one attachment that has the capabilities of a bucket but finishes the soil bed like a rake, you need our Multi-Purpose Power Rake skid steer attachment. The design combines the back dragging, digging and grappling functionality of the Lackender by ECS 4-in-1 bucket with the leveling and reconditioning power that comes from the 71/2” drum with carbide roller tips.

SPECIFICATIONS

» Dual 2½”x8” Cylinders

» 1¼” Pivot Pins

» Carbide Roller Tips

» 7½” Diameter Drum

» Side Cutters Standard

» Direct Drive Motor

» Available with Universal, 7 Pin, 8 Pin, or 14 Pin Wiring Harness

» Powder-Coated Finish

» Protective Sleeve on Hydraulic Hoses

» John Deere and Euro Mounts Available

REQUIREMENTS

15-25gpm Flow Rate Required

SIZE OPTIONS

66” | 72” | 78” | 84”

EXTREME ROOT RAKE

Not only does our Extreme Root Rake skid loader attachment easily remove large rocks, roots and other objects on or below the soil surface but is also great for tightly rolling debris into piles for burning or pick up. Rated for machines with 75HP or less, the 5/8” steel tines are placed on 6” centers.

SPECIFICATIONS

» Tines Spaced on 6” Centers

» 5/8” Steel Tines

» Powder-Coated Finish

» John Deere and Euro Mounts Available

REQUIREMENTS

Rated for Machines with 75HP or Less

SIZE OPTIONS

66” | 72” | 84”

31
| LAND CLEARING & MANAGEMENT

HEAVY DUTY STUMP BUCKET

The Lackender by ECS Heavy Duty Stump Bucket is a great skid steer attachment for tree stump removal enthusiasts. Beyond digging out tree stumps, some operators also find the Heavy Duty Stump Bucket handy for digging footings.

SPECIFICATIONS

» 3/8” Sides

» 3/4”x6” Edge

» 3”x3/8” Wear Bars

» Powder-Coated Finish

» John Deere and Euro Mounts Available

REQUIREMENTS

Rated for Machines with 65HP or Less

EXTREME DUTY STUMP BUCKET

The Extreme Duty Stump Bucket skid loader attachment is 12” longer than the heavy-duty model not only increasing the digging depth but overall, giving you more leverage to pop out stubborn rocks or stumps. Built with 1/2” top-quality steel plate and a 1” cutting edge with replaceable teeth, the Lackender by ECS Extreme Duty Stump Bucket can help you tackle the toughest landscaping and tree clearing jobs.

SPECIFICATIONS

» 4”x4” Square Tube Frame

» Made from 1/2” Top-Quality Plate

» 1” Cutting Edge

» Replaceable Teeth

» 3”x3/8” Wear Bars

» Powder-Coated Finish

» John Deere and Euro Mounts Available

32 | TREE, STUMP & ROOT REMOVAL LAND CLEARING & MANAGEMENT

EXTREME STUMP GRAPPLE

The Extreme Stump Grapple skid steer attachment combines the stump digging power of the Lackender by ECS Heavy Duty Stump Bucket with the gripping and carrying functionality of a grapple all in one handy tool.

SPECIFICATIONS

» Made from ½” Top-Quality Plate

» 1” Cutting Edge

» Replaceable Cutting Edge

» 2”x10” Cylinder

» 3”x3/8” Wear Bars

» Powder-Coated Finish

» Protective Sleeve on Hydraulic Hoses

» John Deere and Euro Mounts Available

REQUIREMENTS

Rated for Machines with 65HP or Less

STUMP SPADE

The Lackender by ECS Stump Spade is an essential skid steer attachment in the landscaping and nursery industry. The beveled front edge easily penetrates the ground while the abrasion-resistant 1/4” AR400 material provides the strength to tackle stubborn stumps and roots.

SPECIFICATIONS

» ¼” AR400 Material

» Front Beveled Edge

» Powder-Coated Finish

» John Deere and Euro Mounts Available

SIZE OPTIONS

40” | 48”

33 TREE, STUMP & ROOT REMOVAL | LAND CLEARING & MANAGEMENT

EXTREME TREE & POST PULLER

The Lackender by ECS Extreme Tree & Post Puller isn’t just great for pulling trees up to 6” in diameter but also for pulling posts up to 8” in diameter. This skid loader attachment easily rips out trees and shrubs without having to spend time digging around the roots.

SPECIFICATIONS

» 2½”x8” Cylinder

» Pull Posts up to 8” in Diameter

» Remove Trees up to 6” in Diameter

» Powder-Coated Finish

» Protective Sleeve on Hydraulic Hoses

» John Deere and Euro Mounts Available

REQUIREMENTS

Rated for Machines with 65HP or Less

TREE SHARK

With 29,000 lbs of clamping force, the Tree Shark skid steer attachment takes tree pulling to the next level. The Lackender by ECS Tree Shark can rip out up to 12” in diameter trees and remove any size tree stump. Made with 34, 5/8” AR400 vertical teeth and 32, 1” AR400 horizontal teeth, this skid loader attachment is a powerful addition to your landscaping arsenal.

SPECIFICATIONS

» Dual 31/2”x4” Cylinders

» 11/4” Pins

» 1”x8” Cutting Edge

» Replacement Cutting Edge Available

» 5/8” AR400 Vertical Teeth

» 1” AR400 Horizontal Teeth

» Clamping Force of 29,000 lbs

» Powder-Coated Finish

» Protective Sleeve on Hydraulic Hoses

» John Deere and Euro Mounts Available

34

EXTREME FIXED TREE SAW

The Lackender by ECS Extreme Fixed Tree Saw skid loader attachment is for those land-clearing, volunteer-tree cuttin’ fanatics. With two flow models available, all hydraulics are contained within the boom for protection, leaving plenty of room for the 15, four-sided toothed blade to do its job. To give the skid loader operator peace of mind, the push bar helps steer trees from falling back on the cab.

SPECIFICATIONS

» ½” AR400 Blade Holder

» 15 High-Strength, Four-Sided Cutting Teeth

» Cuts Trees Up to 8” in Diameter

» Powder-Coated Finish

» Protective Sleeve on Hydraulic Hoses

» John Deere and Euro Mounts Available

20-30gpm Requires a Case Drain

17-23gpm | 20-30gpm

EXTREME MANUAL ROTATING TREE SAW

Not only can you easily cut down trees with the Lackender by ECS Extreme Manual Rotating Tree Saw, but once they are down, you can rotate the saw 90 degrees to cut the downed trees into more manageable logs. Similar to our Extreme Fixed Tree Saw, the Extreme Manual Rotating Tree Saw is available in two flow models. The hydraulics are routed through the boom, and the blade has 15, four-sided cutting teeth.

SPECIFICATIONS

» ½” AR400 Blade Holder

» 15 High-Strength, Four-Sided Cutting Teeth

» Powder-Coated Finish

» Protective Sleeve on Hydraulic Hoses

» John Deere and Euro Mounts Available

20-30gpm Requires a Case Drain

| 20-30gpm

REQUIREMENTS
REQUIREMENTS
SIZE OPTIONS
SIZE OPTIONS
17-23gpm
35
REMOVAL | LAND CLEARING & MANAGEMENT
TREE, STUMP & ROOT

EXTREME FIXED TREE SHEAR

Packed with 40 tons of shearing force and a 1” thick AR400 blade, the Lackender by ECS Extreme Fixed Tree Shear is the go-to skid loader attachment for cutting down trees or logs up to 12” in diameter. The Extreme Fixed Tree Shear is built to guide trees to fall to the right for skid steer operator safety and planning purposes. After all the cutting is done, the tree sheer doubles as a skidder to move logs to their next destination.

SPECIFICATIONS

» 5” Bore Cylinder

» 1” Thick AR400 Blade

» 40 Tons of Shearing Force

» Capable of Cutting Trees Up to 12” in Diameter

» Powered by a 5”x12” Cylinder

» Powder-Coated Finish

» Protective Sleeve on Hydraulic Hoses

EXTREME ROTATING TREE SHEAR

Our Extreme Rotating Tree Shear skid steer attachment offers the same 40-ton sheering force to conquer 12” in diameter trees as the Extreme Fixed Tree Shear but with the ability to rotate 90 degrees to cut already fell trees to length. The rotation feature is available in manual or hydraulic; if you go the manual route, this does require two people to adjust. Just as the fixed, non-rotating model, the Lackender by ECS Extreme Rotating Tree Shear is built to have trees fall to the right.

SPECIFICATIONS

» 5” Bore Cylinder

» 1” Thick AR400 Blade

» 40 Tons of Shearing Force

» Capable of Cutting Trees Up to 12” in Diameter

» Powered by a 5”x12” Cylinder

» 90-Degree Rotation

» Manual or Hydraulic Options Available

» Powder-Coated Finish

» Protective Sleeve on Hydraulic Hoses

» John Deere and Euro Mounts Available

» Optional: 8 Pin or 14 Pin Wiring Harness Available

36

MANURE HANDLING

COMPACT TRACTOR & SKID LOADER MANURE FORKS

The Lackender by ECS Compact Tractor & Skid Loader Manure Forks attachment is designed to pick up manure, loose hay and other general materials where you only want the item and not the surrounding soil picked up.

SPECIFICATIONS

» 1½” Cold-Rolled Steel Tines

» Powder-Coated Finish

» John Deere and Euro Mounts Available

EXTREME MANURE FORKS

When you want to only pick up manure, loose hay or other general materials, the Lackender by ECS Extreme Manure Forks will pick up what you want and leave the surrounding soil. Rated for machines over 55HP, our Extreme Manure Forks skid steer attachment has larger tines than the compact tractor model.

SPECIFICATIONS

» 2” Cold-Rolled Steel Tines

» Powder-Coated Finish

» John Deere and Euro Mounts Available

SIZE OPTIONS 60” | 66” | 72” SIZE OPTIONS 63” | 66” | 72” | 78” | 81” | 84”
Machines
55HP
Rated
55HP+ Machines 37
REQUIREMENTS Rated for
Under
REQUIREMENTS
for

EXTREME MANURE FORK GRAPPLE

From moving hay bales and cleaning pens to picking up debris, the Extreme Manure Fork Grapple skid steer attachment is much more versatile than what the name indicates. The Lackender by ECS Extreme Manure Fork Grapple allows you to grab the materials you want while avoiding the soil and surface underneath. The versatility of the manure fork grapple is only complemented by the strong 2” cold-rolled steel tines and twin cylinders on the grapple.

SPECIFICATIONS

» Strong 2” Cold-Rolled Steel Tines

» 2”x10” Twin Cylinders

» Powder-Coated Finish

» Protective Sleeve on Hydraulic Hoses

» John Deere and Euro Mounts Available

REQUIREMENTS

Recommended for 55HP+ Machines

SIZE OPTIONS

66” | 72” | 78” | 84”

38

COMPACT TRACTOR & SKID STEER PALLET FORKS

Lift pallets or load lumber with your compact tractor and lower horsepower skid loader with the Lackender by ECS Compact Tractor & Skid Steer Pallet Forks. The lightweight frame has a load capacity of 2,000 lbs while the 42-inch forks can be placed easily with the see-through frame.

SPECIFICATIONS

» 2,000-lb Load Capacity

» 3” Wide, 13/16” Thick Fork Tines

» 42” Fork Length

» Heat-Treated Forks

» John Deere and Euro Mounts Available

» Powder-Coated Finish

» Other Fork Lengths Available

HEAVY DUTY PALLET FORKS

With heat-treated forks that are rated for 4,000 lb or 5,500 lb, you can easily load lumber or lift pallets with our Heavy Duty Pallet Forks skid steer attachment. Our American-made pallet forks are 4” wide and 48” long and made to handle just about any task. With a step on both sides of the frame, you can easily get in and out of the skid steer cab.

SPECIFICATIONS

» 4,000-lb Carrying Capacity with 4” Wide, 11/4” Thick Fork Tines

» 5,500-lb Carrying Capacity with 4” Wide, 11/2” Thick Fork Tines

» 48” Fork Length

» Heat-Treated Forks

» Steps on Both Sides of Frame

» John Deere and Euro Mounts Available

» Other Fork Lengths Available

39
PALLET FORKS

HEAVY DUTY WALK-THROUGH PALLET FORKS

Lackender by ECS Heavy Duty Walk-Through Pallet Forks offers the convenience of being able to quickly step through rather than climb around or over the back frame. More efficiently tackle lifting and moving pallets with our Heavy Duty Walk-Through Pallet Forks.

SPECIFICATIONS

» 4,000-lb Carrying Capacity with 4” Wide, 11/4” Thick Fork Tines

» 5,500-lb Carrying Capacity with 4” Wide, 11/2” Thick Fork Tines

» 48” Fork Length

» Heat-Treated Forks

» Steps on Both Sides of Frame

» John Deere and Euro Mounts Available

» Powder-Coated Finish

» Other Fork Lengths Available

40

PALLET FORKS

HEAVY DUTY HYDRA-ADJUST PALLET FORKS

If you’re constantly having to adjust your tines on your pallet fork skid loader attachment, the Lackender by ECS Heavy Duty Hydra-Adjust Pallet Forks are worth a look. Instead of hopping out of the skid steer to adjust, you can change your fork width hydraulically from inside the cab.

SPECIFICATIONS

» 4,000-lb Carrying Capacity with 4” Wide, 11/4” Thick Fork Tines

» 5,500-lb Carrying Capacity with 4” Wide, 11/2” Thick Fork Tines

» 48” Fork Length

» Heat-Treated Forks

» Steps on Both Sides of Frame

» John Deere and Euro Mounts Available

» Powder-Coated Finish

» Protective Sleeve on Hydraulic Hoses

» Other Fork Lengths Available

41

EXTREME FORK GRAPPLE

EXTREME MAT GRAPPLE

The Extreme Fork Grapple is a versatile skid steer attachment that is handy regardless of industry. Transport fence posts around the farm, move logs from the timber or lumberyard, or transfer bricks and lumber across a jobsite with the standard class II 4,000-lb fork tines. Fork tines can be upgraded to class II 5,500 lb or for the heavier duty projects, go with the class III 8,000 lb.

SPECIFICATIONS

» Heat-Treated, American-Made Forks

» Adjustable Top Tine to Handle Any Size Load

» 2”x10” Cylinder

» Available with 48”, 60” or 72” Fork Tines

» Class II 4,000-lb Fork Tines Standard

» Class II 5,500-lb or Class III 8,000-lb Fork Tines Available

» Powder-Coated Finish

» Protective Sleeve on Hydraulic Hoses

» John Deere and Euro Mounts Available

With a lifting capacity of 8,000 lbs and teeth on the grapple, you can move and place equipment mats easily with the Lackender by ECS Extreme Mat Grapple. While it was built to securely grip and move mats, the Extreme Mat Grapple can also be used to move logs, poles, pipes and pallets.

SPECIFICATIONS

» 60” Forks Standard

» 48” and 72” Forks Available

» Teeth on the Grapple for Added Grip

» Powder-Coated Finish

» Protective Sleeve on Hydraulic Hoses

» John Deere and Euro Mounts Available

42

SNOW REMOVAL

EXTREME SNOW BLOWER

When it comes to moving snow, the Lackender by ECS Extreme Snow Blower skid steer attachment features a 14” auger and single-stage hydraulic blower. With the electric-controlled gear drive chute and deflector that rotates 180 degrees, an operator can change directions on the fly.

SPECIFICATIONS

» 14” Auger

» Chute Rotates 180 Degrees

» Available with Universal, 7 Pin, 8 Pin or 14 Pin Wiring Harness

» Powder-Coated Finish

» Protective Sleeve on Hydraulic Hoses

» John Deere and Euro Mounts Available

» Optional: Chute Actuator

REQUIREMENTS

15-25gpm Flow Rate

SIZE OPTIONS

60” | 72” | 78” | 84”

43

COMPACT TRACTOR & SKID STEER SNOW PLOW

Conquer snow-covered driveways and parking lots with the Lackender by ECS Compact Tractor & Skid Loader Snow Plow attachment. Designed for compact tractors and lower horsepower skid steers, you can easily angle the plow up to 30 degrees both ways with the 2”x6” hydraulic cylinder. It also comes with a replaceable cutting edge.

SPECIFICATIONS

» Designed for Compact Tractors and Skid Loaders

» Manual Angle Option Available

» 2”x6” Hydraulic Cylinder

» ½” AR400 Bolt on Cutting Edge

» Angle 30 Degrees Both Ways

» Powder-Coated Finish

» Protective Sleeve on Hydraulic Hoses

» John Deere and Euro Mounts Available

REQUIREMENTS

Designed for Machines Under 45HP

HEAVY DUTY SNOW PLOW

Easily clear driveways and parking lots with our Heavy Duty Snow Plow skid loader attachment. Unlike the extreme model, the Heavy Duty Snow Plow attachment is built without the additional roll top to boost operator visibility. Adjust the blade angle 30 degrees left or right from within the cab with the 3”x6” hydraulic cylinder. Or if you prefer, manual angle is an available option.

SPECIFICATIONS

» 3”x6” Hydraulic Cylinder

» Manual Angle Option Available

» ½” AR400 Bolt on Cutting Edge

» Adjustable Skid Shoe

» Angle 30 Degrees Both Ways

» Powder-Coated Finish

» Protective Sleeve on Hydraulic Hoses

» John Deere and Euro Mounts Available

SIZE OPTIONS 72” | 84” | 96” | 108” | 120” SIZE OPTIONS
| 72” | 84”
60”
44

EXTREME DUTY SNOW PLOW

For the snow-pushing enthusiasts that have no time for snow rolling over the top of the blade, the Extreme Duty Snow Plow is right up your alley. Although similar to the heavy duty model, the rolled top prevents snow from coming back towards the skid loader cab. Thanks to the 3”x6” hydraulic cylinder, the blade angle can be adjusted 30 degrees left or right from the comfort of your cab.

SPECIFICATIONS

» 3”x6” Hydraulic Cylinder

» Manual Angle Option Available

» ½” AR400 Bolt on Cutting Edge

» Adjustable Skid Shoe

» Angle 30 Degrees Both Ways

» Powder-Coated Finish

» Protective Sleeve on Hydraulic Hoses

» John Deere and Euro Mounts Available

SIZE OPTIONS

72” | 84” | 96” | 108” | 120”

45
SNOW REMOVAL

SHOWN WITH OPTIONAL PULLBACK MOUNT

EXTREME SNOW PUSHER

If you’re looking for faster parking lot clean-ups without damaging pavement, the Extreme Snow Pusher skid steer attachment has the upper hand over the traditional Lackender by ECS snow plows. The pavement protection comes from the snow pusher’s 1½” thick and 8” wide, adjustable, reversible and replaceable rubber edge. The Lackender by ECS Extreme Snow Pusher features a ¼” moldboard and 3/8” thick sides for extra support to efficiently move snow forward while the optional pullback mount allows you to easily pull snow away from buildings, sidewalks, landscaping, etc.

SPECIFICATIONS

» 1½” Thick x 8” Wide Replaceable Rubber Edge

Protects Pavement

» 1” Thick AR400 Skid Shoe

» 3/8” Thick Sides for Added Support

» Pullback Mount Option Available

» Powder-Coated Finish

» John Deere and Euro Mounts Available

SIZE OPTIONS

72” | 84” | 96” | 108” | 120”

46

SPECIALTY ATTACHMENTS

EXTREME BOOM POLE

TELESCOPIC BOOM POLE

Our Extreme Boom Pole skid loader attachment comes in handy loading and unloading beams, posts, rolled-up fencing and other implements. It’s also useful in the landscaping and nursery industry to pick up trees, shrubs and bushes to be planted, transported or loaded and unloaded.

SPECIFICATIONS

» Constructed from ¼” Thick Tubing

» Rated to Carry 3,000 lbs

» Powder-Coated Finish

» John Deere and Euro Mounts Available

» Optional: 4”x4” Tubing Upgrade

SIZE OPTIONS

3”x3” | 4”x4”

Easily extend your height by 72” with the Lackender by ECS Telescopic Boom Pole. This hydraulicallydriven boom pole allows for easy transport of items. The manual extension arm can be positioned at either 12” or 24”.

SPECIFICATIONS

» 4”x4” Base with 3/8” Thick Tubing

» 3”x3” Hydraulic Extension Arm

» 2”x2” Manual Extension Arm

» Rated to Carry 1,200 lbs

» Up to 72” Height Extension

» 21/2”x48” Hydraulic Cylinder

» 16” Extended Arm Set at 40 Degrees

» 21/2” Hole in Bracket for Strapping Chains, Hooks

» Powder-Coated Finish 148" 220"

14"

47

LOG SPLITTER

The Lackender by ECS inverted Log Splitter attachment is built to split logs from the security of your skid steer cab. The Log Splitter splits logs straight out instead of at the right-hand side of the machine while the cutting wedge deflects to throw the wood both ways. With a fully-enclosed cylinder along with a double-reinforced pushing ram, the Lackender by ECS Log Splitter is designed with longevity and productivity in mind. Additionally, the Log Splitter runs on a greaseable track with greaseable fittings.

SPECIFICATIONS

» 40-Ton 5”x30” Cylinder

» 10” I-Beam

» Two Quick-Attach Positions Available

» Removable Cutting Heads

» Powder-Coated Finish

» Protective Sleeve on Hydraulic Hoses

» John Deere and Euro Mounts Available

» Optional: 4-Way Head

EXTREME CONCRETE CLAW

Break up and remove damaged concrete from driveways, sidewalks or other jobsites with the Lackender by ECS Extreme Concrete Claw. This skid steer attachment is strong enough to pick up big slabs of broken concrete, dig up tree stumps or shrubs, and remove large rocks. From replacing a jackhammer to using like a stump bucket, the Extreme Concrete Claw skid loader attachment provides versatility across industries.

SPECIFICATIONS

» 5/8” AR400 Sides

» 3/8” Bottom and Top Plates

» 4” Square Tube on Top

» 1”x8” Edge with 23 Series Teeth

» Powder-Coated Finish

» John Deere and Euro Mounts Available

48

HYDRAULIC BREAKER

The operator-friendly design of our Hydraulic Breaker makes it the perfect skid steer attachment for the demolition of rock, asphalt and concrete. The longer chisel point and larger through bolt improve the Lackender by ECS Hydraulic Breaker’s durability. The attachment’s strong impact is complemented with lower noise and vibration. Each Hydraulic Breaker comes with two working tools (moil point and blunt point), adequate length hydraulic hoses and fittings, hose set and gas charging kit, and a repair tool box.

SPECIFICATIONS

» Added Durability with Longer Chisel Point and Larger Through Bolt

» Stronger Impact Power

» Low-Noise Design

» Replaceable Control Valve

» Easy Maintenance

» Mount, Hoses, Moil Point, Blunt Point, Tool Kit, Nitrogen Gauge Included

» Auto Greasing System Standard on LCBR1000 and Above

» Powder-Coated Finish

» Protective Sleeve on Hydraulic Hoses

» Additional Tool Tips Available

» John Deere and Euro Mounts Available

SIZE OPTIONS

650 ft-lb | 850 ft-lb | 1000 ft-lb | 1200 ft-lb | 2200 ft-lb 49
SPECIALTY ATTACHMENTS

SOD ROLLER

Make your skid steer do the heavy work while laying sod during a lawn renovation or around new construction. The Lackender by ECS Sod Roller skid steer attachment handles fiber- or plastic-cored rolls of sod up to 48” wide and 60” in diameter.

SPECIFICATIONS

» Rolls of Sod Up to 48” Wide and 60” in Diameter

» Requires Fiber- or Plastic-Cored Rolls

» Powder-Coated Finish

» John Deere and Euro Mounts Available

50

MINI 4-IN-1-BUCKET

Equipped with a 3/8”x3” cutting edge and built with top-quality steel, the Lackender by ECS Mini Skid Steer 4-in-1 Bucket is ideal for grappling, dozing, backfilling, loading, digging and fine grading.

SPECIFICATIONS

» 2” Bore x 6” Stroke Cylinders

» Grease Fittings at Every Pivot Point

» 3/8”x6” Cutting Edge

» Powder-Coated Finish

» Protective Sleeve on Hydraulic Hoses

» Optional: Weld-On Teeth

REQUIREMENTS

For Use with Dingo, Boxer, Ramrod, Ditch Witch, Thomas, MT50, MT52, MT55 or Bobcat 463 Machines

SIZE OPTIONS

44”

MINI AUGER DRIVE

Complete with mounting plate, hoses and couplings, the Lackender by ECS Mini Skid Steer Auger has a continuous pressure of 3,000 PSI to dig holes for posts, trees or shrubs. With the motor mounted directly to the planetary gearbox, there are no chains to break or come loose on this mini skid steer attachment.

SPECIFICATIONS

» Continuous 3,000 PSI and 4,000 PSI Intermittent Pressure

» 2” Hex or 2 9/16” Round Drive

» Direct Drive Through Planetary Gear

» Mounting Plate, Hoses and Couplings Included

» Various Auger Bit Sizes and Styles Available

» Heavy Duty Output Shaft

» Capable of Driving Up to 36” Bit

» Hex-to-Round and Round-to-Hex Adapters Available

» Powder-Coated Finish

» Protective Sleeve on Hydraulic Hoses

REQUIREMENTS

For Use with Dingo, Boxer, Ramrod, Ditch Witch, Thomas, MT50, MT52, MT55 or Bobcat 463 Machines

SIZE OPTIONS 4” | 6” | 9” | 12” | 16” | 18” | 24” | 30” | 36”
51 MINI
ATTACHMENTS

MINI BOOM POLE

From trees to fencing, our Mini Skid Steer Boom Pole easily picks up to 3,000 lbs to plant, transport or load. Made with ¼” thick 3”x3” tubing, your landscaping projects can get done faster with the help of your mini skid steer and this Lackender by ECS attachment.

SPECIFICATIONS

» Constructed from ¼” Thick, 3”x3” Tubing

» Rated to Carry 3,000 lbs

» Powder-Coated Finish

REQUIREMENTS

For Use with Dingo, Boxer, Ramrod, Ditch Witch, Thomas, MT50, MT52, MT55 or Bobcat 463 Machines

MINI BRUSH CUTTER

Our Mini Skid Steer Brush Cutter has the strength of the other Lackender by ECS brush cutters but in a smaller, 44” attachment. Powered by a Parker motor and Omni gearbox, the 5/8” AR400 steel blades have a 3” cutting capacity that will clear brush and downed trees in a single pass.

SPECIFICATIONS

» 44” Cutting Width

» 3” Cutting Capacity

» 5/8” AR400 Steel Blades

» Parker Motor

» Omni Gearbox

» Powder-Coated Finish

» Protective Sleeve on Hydraulic Hoses

REQUIREMENTS

For Use with Dingo, Boxer, Ramrod, Ditch Witch, Thomas, MT50, MT52, MT55 or Bobcat 463 Machines with a Flow Rate of 10-15gpm

52

MINI CONCRETE BUCKET

Efficiently lay concrete for sidewalks and driveways with our Mini Skid Steer Concrete Bucket. With the ¼-yard capacity and high back design, every ounce of concrete is utilized and precision is maximized.

SPECIFICATIONS

» ¼-Yard Capacity

» Chute Extender

» Powder-Coated Finish

» Protective Sleeve on Hydraulic Hoses

REQUIREMENTS

For Use with Dingo, Boxer, Ramrod, Ditch Witch, Thomas, MT50, MT52, MT55 or Bobcat 463 Machines

MINI GRAPPLE BUCKET

Securely hold and transport rock, logs, brush and other debris in our Mini Skid Steer Grapple Bucket. The unique design provides the versatility, precision, and strength to tackle landscaping, construction, agricultural and other jobs, even in confined areas.

SPECIFICATIONS

» 2” Bore by 10” Stroke Cylinders Rated at 3,000 PSI

» Grease Fittings at Every Pivot Point

» Oversized Pins and Bushings

» Bolt-On Sides Included

» Powder-Coated Finish

» Protective Sleeve on Hydraulic Hoses

» Optional: Weld-On Teeth

REQUIREMENTS

For Use with Dingo, Boxer, Ramrod, Ditch Witch, Thomas, MT50, MT52, MT55 or Bobcat 463 Machines

SIZE OPTIONS

|

|

36”
42”
44”
| 54”
53 MINI ATTACHMENTS

MINI GRAPPLE RAKE

The Lackender by ECS Mini Skid Steer Grapple Rake makes it easy to rake and roll material into tight piles to be moved and loaded. This raking/rolling functionality works great for cleaning up and moving brush debris to the burn pile.

SPECIFICATIONS

» Twin 2” Bore by 6” Stroke Cylinders

» 3/8” Top-Quality Steel

» 3,000 PSI-Rated Cylinders

» Powder-Coated Finish

» Protective Sleeve on Hydraulic Hoses

REQUIREMENTS

For Use with Dingo, Boxer, Ramrod, Ditch Witch, Thomas, MT50, MT52, MT55 or Bobcat 463 Machines

SIZE OPTIONS

44” | 48”

MINI LAND LEVELER

Level, grade and cut, even in those tighter spaces, with the Lackender by ECS Mini Skid Steer Land Leveler. This mini skid steer attachment works great for leveling gravel or dirt driveways.

SPECIFICATIONS

» Powder-Coated Finish

» Protective Sleeve on Hydraulic Hoses

REQUIREMENTS

For Use with Dingo, Boxer, Ramrod, Ditch Witch, Thomas, MT50, MT52, MT55 or Bobcat 463 Machines

SIZE OPTIONS

36” | 44” | 48”

54

MINI LOW PROFILE BUCKET

Handle heavy material with confidence in our Mini Skid Steer Low Profile Bucket. From rock to debris, the Lackender by ECS Mini Skid Steer Low Profile Bucket features a 1”x6” cutting edge and 3/16” bucket wrap ensuring you’ll be able to dig and haul whatever material your job needs. Choose from a 15” or 20” high back and for tougher projects, weld-on bucket teeth are also an option.

SPECIFICATIONS

» 3/16” Bucket Wrap

» 1”x6” Cutting Edge

» Powder-Coated Finish

» Back Heights of 15” or 20”

» Optional: Weld-On Teeth

REQUIREMENTS

For Use with Dingo, Boxer, Ramrod, Ditch Witch, Thomas, MT50, MT52, MT55 or Bobcat 463 Machines

SIZE OPTIONS

34” | 36” | 42” | 44” | 48” | 52” | 54”

MINI MULTI-PURPOSE POWER RAKE

Our Mini Skid Steer Multi-Purpose Power Rake gives you the ability to grapple, dig and back drag like the Lackender by ECS 4-in-1 bucket. However, with the carbide roller tips on the 7½” drum, you’re also able to level and condition the soil bed without having to change attachments.

SPECIFICATIONS

» Dual 2½”x8” Cylinders

» 1¼” Pivot Pins

» Carbide Roller Tips

» 7½” Diameter Drum

» Side Cutters Standard

» Direct Drive Motor

» Powder-Coated Finish

» Protective Sleeve on Hydraulic Hoses

REQUIREMENTS

For Use with Dingo, Boxer, Ramrod, Ditch Witch, Thomas, MT50, MT52, MT55 or Bobcat 463 Machines

SIZE OPTIONS

36” | 44” | 48”

55
MINI ATTACHMENTS

MINI PALLET FORKS

Rated at 2,800 lbs, the Lackender by ECS Mini Skid Steer Pallet Forks make it easy to load pallets or move lumber. Choose the length of heat-treated tines that work best for your application.

SPECIFICATIONS

» 2,800-lb Load Capacity

» 4-inch Wide, 11/4” Thick Fork Tines

» Class 1 Heat-Treated Forks

» 36” or 42” Tine Length

» Powder-Coated Finish

REQUIREMENTS

For Use with Dingo, Boxer, Ramrod, Ditch Witch, Thomas, MT50, MT52, MT55 or Bobcat 463 Machines

SIZE OPTIONS

36” Forks | 42” Forks

MINI ROCK BUCKET

From lawns and gardens to construction sites and pastures, our Mini Skid Steer Rock Bucket easily sifts out larger rocks with the 23/8” tine spacing. Use the ½”x4” cutting edge to loosen larger rocks from soil then transport them effortlessly with this Lackender by ECS mini skid loader attachment.

SPECIFICATIONS

» 23/8” Tine Spacing

» 5/16” Tines

» ½”x4” Cutting Edge

» Powder-Coated Finish

» Optional: Weld-On Teeth

REQUIREMENTS

For Use with Dingo, Boxer, Ramrod, Ditch Witch, Thomas, MT50, MT52, MT55 or Bobcat 463 Machines

SIZE OPTIONS

36” | 44” | 48”

56

MINI ROOT GRAPPLE

Conquer clean-up and debris removal with our Mini Skid Steer Root Grapple. Made of high quality 5/16” steel and a 2” bore by 10” cylinder, this Lackender by ECS attachment gives you the strength and power for even the toughest tasks.

SPECIFICATIONS

» 2” Bore by 10” Single Cylinder

» Made of 5/16” Steel

» 10” Grapple Opening

» Grease Fittings at Every Pivot Point

» Powder-Coated Finish

» Protective Sleeve on Hydraulic Hoses

REQUIREMENTS

For Use with Dingo, Boxer, Ramrod, Ditch Witch, Thomas, MT50, MT52, MT55 or Bobcat 463 Machines

SIZE OPTIONS

36” | 44” | 48”

MINI ROTO TILLER

Use your mini skid steer to till gardens and food plots or to prep soil for landscape projects with our Mini Skid Steer Roto Tiller. The 3/8” thick shoes can operate bi-directionally giving you a more aggressive till when going backwards and can also be replaced easily. This Lackender by ECS attachment can get into tighter areas with a total width of 60” and a tillage width of 42”.

SPECIFICATIONS

» Bolt-on Replaceable Tines

» ¼” Plate, Rolled Housing

» 3/8” Sides with 3/8” Thick Shoes

» 42” Tilling Width and 6” Tilling Depth

» Powder-Coated Finish

» Protective Sleeve on Hydraulic Hoses

REQUIREMENTS

For Use with Dingo, Boxer, Ramrod, Ditch Witch, Thomas, MT50, MT52, MT55 or Bobcat 463 Machines with a Flow Rate of 10-20gpm

SIZE OPTIONS

44”
57 MINI
ATTACHMENTS

MINI SNOW & LITTER BUCKET

Designed for lightweight material, the Lackender by ECS Mini Skid Steer Snow and Litter Bucket will help you efficiently clear and transport snow, litter, leaves and lightweight debris.

SPECIFICATIONS

» Designed for Large-Volume, Lightweight Material

» 3/16” Bucket Wrap

» 3/8”x3” Cutting Edge

» Powder-Coated Finish

REQUIREMENTS

For Use with Dingo, Boxer, Ramrod, Ditch Witch, Thomas, MT50, MT52, MT55 or Bobcat 463 Machines

SIZE OPTIONS

44” | 48”

MINI SNOW PUSHER

Our Mini Skid Steer Snow Pusher is designed to push snow straight ahead and stack up rather than angle like a blade attachment. Whether you’re clearing sidewalks or driveways, this Lackender by ECS attachment is effective at clearing areas of snow.

SPECIFICATIONS

» ½”x8” Replaceable Rubber Edge Protects Pavement

» ½” Thick AR400 Replaceable Skid Shoes

» 5/16” Thick Sides for Added Support

» Powder-Coated Finish

» Optional: Pullback Mount

REQUIREMENTS

For Use with Dingo, Boxer, Ramrod, Ditch Witch, Thomas, MT50, MT52, MT55 or Bobcat 463 Machines

SIZE OPTIONS

48” | 60”

58

MINI STUMP GRAPPLE

Trying to remove overgrown shrubs or unwanted stumps from your landscape? Dig up and easily transport them with our Mini Skid Steer Stump Grapple. Built like the Lackender by ECS Extreme Stump Grapple, it combines the digging power of a stump bucket and the functionality of a grapple to efficiently tackle your stump removal and digging projects.

SPECIFICATIONS

» ¾”x6” Cutting Edge

» 2”x10” Cylinder

» 23 Series Teeth

» Powder-Coated Finish

» Protective Sleeve on Hydraulic Hoses

REQUIREMENTS

For Use with Dingo, Boxer, Ramrod, Ditch Witch, Thomas, MT50, MT52, MT55 or Bobcat 463 Machines

MINI TRENCHER

Our Mini Skid Steer Trencher is perfect for digging out utility lines that a full size skid steer cannot reach. With two trenching depths and multiple chain types, this Lackender by ECS mini skid steer attachment can be catered to your project needs.

SPECIFICATIONS

» 10” Auger

» Powder-Coated Finish

» Protective Sleeve on Hydraulic Hoses

REQUIREMENTS

For Use with Dingo, Boxer, Ramrod, Ditch Witch, Thomas, MT50, MT52, MT55 or Bobcat 463 Machines

SIZE OPTIONS

36”x6” | 48”x6”

59 MINI
ATTACHMENTS

QUICK-ATTACH CONVERSION

The Lackender by ECS Quick Attach Conversion gives you the power to use skid steer attachments with your pin-on style tractor. All we need is a picture of your current pin setup to verify the correct Quick-Attach conversion model. Contact us for more information!

SPECIFICATIONS

» Various Hook-ups Available

» Powder-Coated Finish

QUICK-ATTACH PLATE

The Lackender by ECS Quick-Attach Plate converts your existing attachments to the universal skid steer hook up. Simply weld or bolt the Quick-Attach Plate to the skid loader attachment you want to convert.

SPECIFICATIONS

» ¼”, ⅜” and ½” Thicknesses Available

» Solid Back

» Powder-Coated Finish

» Protective Sleeve on Hydraulic Hoses

SIZE OPTIONS

QUICK-ATTACH RECEIVER HITCH

When you need to quickly move trailers around without the hassle of hooking up a truck, the Lackender by ECS Quick Attach Receiver Hitch is pretty handy to have on hand. The Quick-Attach Receiver Hitch skid loader attachment uses the same 2” receiver hitch as your other vehicles.

SPECIFICATIONS

» 2” Receiver Hitch

» Powder-Coated Finish

» John Deere and Euro Mounts Available

60
ACCESSORIES
1/4” | 3/8” | 1/2”
HAY FORK | SEE MORE INFO ON PAGE 21

GLOBAL/EURO

JOHN

JOHN

62
SKID STEER
(+500)
DEERE 200-400
OPTIONS
DEERE 600-700 HOOK-UP
EXTREME DUTY BRUSH CUTTER | SEE MORE INFO ON PAGE 23
HIGH DUMP BUCKET | SEE MORE INFO ON PAGE 7
LACKENDER BY ecsattachments.com | 319.679.2281

Turn static files into dynamic content formats.

Create a flipbook
Issuu converts static files into: digital portfolios, online yearbooks, online catalogs, digital photo albums and more. Sign up and create your flipbook.