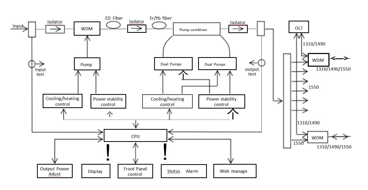
هل تبحث عن حل اقتصادي وعالي الجودة لنقل إشارات CATV لمسافات طويلة؟ صُمم مضخم الألياف EDFA الصغير رباعي المنافذ ١٥٥٠ نانومتر المُشبع بالإربيوم ليلبي معايير الاتصالات، ويضمن أداءً موثوقًا به لإشارات التلفزيون والتلفزيون الرقمي والصوت والبيانات. بفضل خرجه القابل للتعديل (٠-٥ ديسيبل ميلي واط)، ودعمه متعدد المنافذ، ومضخات ليزر JDSU/Oclaro، يُعد هذا الجهاز مثاليًا لشبكات CATV الكبيرة والمتوسطة ١٥٥٠ نانومتر. تصميمه المدمج، ومزود الطاقة المزدوج، وإمكانية الترقية عبر USB تجعله خيارًا متعدد الاستخدامات للمهندسين ومُدمجي الأنظمة. • خرج قابل للتعديل (٠-٥ ديسيبل ميلي واط) | • دعم متعدد المنافذ (١٣١٠/١٤٩٠/١٥٥٠ واط) | • مضخات ليزر JDSU/Oclaro | • مزود طاقة مزدوج (١١٠ فولت/٢٢٠ فولت تيار متردد) | • إمكانية الترقية عبر USB