













M20 LOCK NUT
500886 | OE Ref: L157600



















FRONT AXLE THRUST WASHER
500773 | OE Ref: L113978
John Deere 5M 5E 6M 6R 6020 Series

FRONT AXLE COUPLING
John Deere 6J 6M 6R Series

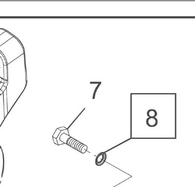
AXLE INPUT PINION O-RING







600070 | OE Ref: AL159591 1 2 3 5 4
500777 | OE Ref: L156899
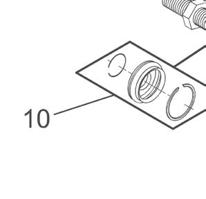
Massey Ferguson 5400 5600 5700 Series
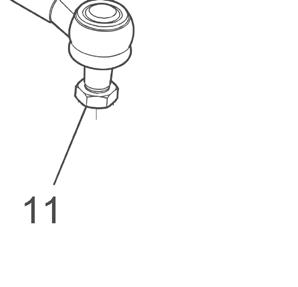
500333 | OE Ref: L156850
John Deere 6D 6J 6M 6R 6020 6030 7020 7030 Series

SHIM KIT
500887 | OE Ref: AL174434
John Deere 6M 6R 6020 Series

SHAFT SEAL

Massey Ferguson 5400 5600 5700 Series


DRIVE SHAFT BEARING
500775 | OE Ref: AL209966
John Deere 6M 6R Series

FRONT AXLE BEARING

TAPERED ROLLER BEARING
500771 | OE Ref: AL161275
John Deere 6M 6R Series

9

CROWN WHEEL & PINION
500888 | OE Ref: AL161277

SHIM KIT
500890 | OE Ref: AL160118
John Deere 6M 6R Series
500889 | OE Ref: AL235445 10 11 12
John Deere 6M 6R 6020 Series
13
15 7 8

DIFFERENTIAL CARRIER
500892 | OE Ref: AL161278
John Deere 6M 6R 6020 6030 Series
16

PIN FASTENER
500785 | OE Ref: L157602
John Deere 6M 6R 6020 6030 Series
John Deere 6M 6R Series
14

BRAKE DISC SET FRONT AXLE
500590 | OE Ref: AL160176
John Deere 6020 6R 6M 6RC Series
17

SPRING PIN
500786 | OE Ref: 34M3870
John Deere 6M 6R 7000 Series

DIFFERENTIAL HOUSING BOLT
500891 | OE Ref: L166293
John Deere 6M 6R 6020 6030 Series

FRONT AXLE THRUST WASHER
500787 | OE Ref: L156853
John Deere 6M 6R 6020 6030 Series
18

DIFFERENTIAL KIT
500784 | OE Ref: AL209970
John Deere 6M 6R Series






















2 1 3 1 9 4 8 7 5 10 6
















TRACK ROD ASSEMBLY
500894 | OE Ref: AL222370
John Deere 6M 6R Series

STEERING CYLINDER SEAL KIT

STEERING CYLINDER BOLT
500895 | OE Ref: L209650
John Deere 6M 6R Series






TRACK ROD END
500898 1 2 4 5 3

500897 | OE Ref: AL211658
John Deere 6M 6R Series

John Deere 6M 6R Series



RUBBER BOOT
STEERING CYLINDER
500900 | OE Ref: AL214094
John Deere 6M 6R Series


RUBBER BOOT
STEERING CYLINDER
500901 | OE Ref: AL214095
John Deere 6M 6R Series

TRACK ROD LOCK NUT
500902 | OE Ref: 6094451
John Deere 6M 6R Series


TRACK ROD NUT
500903 | OE Ref: L218899
John Deere 6M 6R Series






















FRONT AXLE WASHER




1

500794 | OE Ref: 84021797 4 5 Visit website for compatibility SEAL 580010 | OE Ref: AL161384
John Deere 6M 6R 6020 6030 Series
2

FRONT AXLE HOUSING SNAP RING 500908 | OE Ref: 354750A1
John Deere 6M 6R Series
3

MFWD BEARING 500315 | OE Ref: AL161285
John Deere 6005 6003 6020 6030 5E 6E 6D 6M 6R 6RC 6J 6B Series
8 6

John Deere 6M 6R 6010 6020 6030 7010 Series SNAP RING
500795 | OE Ref: 40M7166
HOUSING BOLT 500913 | OE Ref: L218665
John Deere 6M 6R Series


HOUSING NUT
500912 | OE Ref: 6053434
John Deere 6M 6R Series


KING PIN
500909 | OE Ref: L221857
John Deere 6M 6R Series

TAPERED ROLLER BEARING
500848 | OE Ref: AL161289
John Deere 6M 6R Series

KING PIN BOLT
500910 | OE Ref: L157613
John Deere 6M 6R Series


AXLE SEAL

58856 | OE Ref: AL79902
John Deere 6000 6010 6030 7020 7030 6005 6D 6003 Series
KING PIN BOLT

John Deere 6M 6R Series
500918 | OE Ref: L208687 13 14 15

KING PIN COVER
500800 | OE Ref: L208688
John Deere 6J 6M 6R Series

John Deere 6020 6030 6R 6M Series

FRONT AXLE BUSHING
500799 | OE Ref: 87472582
John Deere 6R 6020 7020 Series

KING PIN
500919 | OE Ref: L218738
John Deere 6M 6R Series

WHEEL POSITION SENSOR WITH CONNECTING ADAPTER
500798 | OE Ref: L218742
John Deere 6J 6M 6R Series

KING PIN SHIM KIT
500911 | OE Ref: AL162112
John Deere 6M 6R Series

WHEEL POSITION SENSOR CONNECTION DISC
500796 | OE Ref: L165798
John Deere 6M 6R 6020 Series















1 2 3 4 5 6 7 7 8 9 10 2






1
















2
3 1

FRONT AXLE O-RING
500769 | OE Ref: L157607
John Deere 5E 5M 6M 6R Series





FRONT AXLE HOUSING BOLT
500906 | OE Ref: L156873
John Deere 6M 6R 6020 Series


DRAIN PLUG
500843 | OE Ref: L169942
John Deere 5M 6M 6R Series
6
FRONT AXLE BUSH
500768 | OE Ref: L209640
John Deere 6M 6R Series
7





FRONT AXLE SEAL CASSETTE 55531 | OE Ref: 82013226
John Deere 6M 6RC 6R 6E 6J Series

FRONT AXLE BUSH
500917 | OE Ref: L210768
John Deere 6M 6R Series
8

UNIVERSAL JOINT
500916 | OE Ref: AL226566
John Deere 6M 6R Series



FRONT AXLE SHAFT
500905 | OE Ref: AL211693
John Deere 6M 6R Series
DOUBLE JOINTED SHAFT
500850 | OE Ref: AL211692
John Deere 6M 6R Series

GREASE NIPPLE
500821 | OE Ref: 58M5574
John Deere 6M 6R 7M 7R Series



























HUB SEAL



1 2 3 4 5 6 7 8 9 10 11 12






62716 | OE Ref: 3785511M1
Industrial John Deere Series
Case IHC CVX Maxxum MX Series

FRONT AXLE HOUSING HUB

WHEEL HUB TAPERED ROLLER BEARING
13 14 15



WHEEL HUB BOLT



500314 | OE Ref: AL161291
John Deere 6D 6E 6J 6M 6R 6020 6030 Series

HUB O-RING
500316 | OE Ref: AL159591 1 2 3 5 6 4
500921 | OE Ref: L221852
John Deere 6M 6R Series
500920 | OE Ref: L21845
John Deere 6M 6R Series
500922 | OE Ref: 84021779
John Deere 6M 6R Series

MFWD SNAP RING
John Deere 5 - 9 Series








RING GEAR
500805 | OE Ref: R271413
John Deere 5E 5M 6M 6R Series

SNAP RING MFWD
500297 | OE Ref: 2143191
John Deere Series


FRONT AXLE HOUSING BOLT
500924 | OE Ref: AL160176
John Deere 6020 6R 6M 6RC Series


PLANETARY RING GEAR PLATE
500317 | OE Ref: L174121
John Deere 6D 6E 6M 6R 6020 6030 Series

FRONT AXLE PLANET AND BEARING KIT
500926 | OE Ref: AL227338
John Deere 6M 6R Series

SEALING WASHER
PLANETARY HOUSING
500587 | OE Ref: Z104508
John Deere 6M 6R Series
RING GEAR BOLT

500923 | OE Ref: L166298
John Deere 6M 6R Series

FRONT AXLE HOUSING
500925 | OE Ref: L221854
John Deere 6M 6R Series

DRAIN PLUG
PLANETARY HOUSING
500586 | OE Ref: L156853
John Deere 6M 6R 6020 6030 Series












M20 LOCK NUT
500886 | OE Ref: L157600



















FRONT AXLE THRUST WASHER
500773 | OE Ref: L113978
John Deere 5M 5E 6M 6R 6020 Series

FRONT AXLE COUPLING
John Deere 6J 6M 6R Series

AXLE INPUT PINION O-RING







600070 | OE Ref: AL159591 1 2 3 5 4
500777 | OE Ref: L156899
John Deere 6M 6R 6020 Series
500333 | OE Ref: L156850
John Deere 6D 6J 6M 6R 6020 6030 7020 7030 Series

SHIM KIT
500887 | OE Ref: AL174434
John Deere 6M 6R 6020 Series

SHAFT SEAL

Massey Ferguson 5400 5600 5700 Series


DRIVE SHAFT BEARING
500775 | OE Ref: AL209966
John Deere 6M 6R Series

FRONT AXLE BEARING
John Deere 6M 6R 6020 Series

TAPERED ROLLER BEARING
500771 | OE Ref: AL161275
John Deere 6M 6R Series
500889 | OE Ref: AL235445 10 11 13 14


CROWN WHEEL & PINION
500888 | OE Ref: AL161277
John Deere 6M 6R Series

DIFFERENTIAL CARRIER
500892 | OE Ref: AL161278
John Deere 6M 6R 6020 6030 Series
16

PIN FASTENER
500785 | OE Ref: L157602
John Deere 6M 6R 6020 6030 Series
15 7 8

BRAKE DISC SET FRONT AXLE
500590 | OE Ref: AL160176
John Deere 6020 6R 6M 6RC Series
17

SPRING PIN
500786 | OE Ref: 34M3870
John Deere 6M 6R 7000 Series

SHIM KIT
500890 | OE Ref: AL160118
John Deere 6M 6R Series

John Deere 6M 6R 6020 6030 Series

FRONT AXLE THRUST WASHER
500787 | OE Ref: L156853
John Deere 6M 6R 6020 6030 Series
18 9
DIFFERENTIAL KIT

500784 | OE Ref: AL209970
John Deere 6M 6R Series








4 8 7 5 10 6















2 1 3 1 9















TRACK ROD ASSEMBLY
500894 | OE Ref: AL222370
John Deere 6M 6R Series

STEERING CYLINDER SEAL KIT

STEERING CYLINDER BOLT
500895 | OE Ref: L209650
John Deere 6M 6R Series







TRACK ROD END
500898 | OE Ref: AL222371 1 2 4 5 3

PISTON ROD STEERING CYLINDER
500897 | OE Ref: AL211658
John Deere 6M 6R Series
John Deere 6M 6R Series



RUBBER BOOT
STEERING CYLINDER
500900 | OE Ref: AL214094
John Deere 6M 6R Series


RUBBER BOOT
STEERING CYLINDER
500901 | OE Ref: AL214095
John Deere 6M 6R Series

TRACK ROD LOCK NUT
500902 | OE Ref: 6094451
John Deere 6M 6R Series


TRACK ROD NUT
500903 | OE Ref: L218899
John Deere 6M 6R Series
















FRONT AXLE WASHER










1

500794 | OE Ref: 84021797 4 5 Visit website for compatibility SEAL 580010 | OE Ref: AL161384
John Deere 6M 6R 6020 6030 Series
2

FRONT AXLE HOUSING SNAP RING 500908 | OE Ref: 354750A1
John Deere 6M 6R Series
3

MFWD BEARING 500315 | OE Ref: AL161285
John Deere 6005 6003 6020 6030 5E 6E 6D 6M 6R 6RC 6J 6B Series
8 6

John Deere 6M 6R 6010 6020 6030 7010 Series SNAP RING
500795 | OE Ref: 40M7166
HOUSING BOLT 500913 | OE Ref: L218665
John Deere 6M 6R Series


HOUSING NUT
500912 | OE Ref: 6053434
John Deere 6M 6R Series


KING PIN
500909 | OE Ref: L221857
John Deere 6M 6R Series

TAPERED ROLLER BEARING
500848 | OE Ref: AL161289
John Deere 6M 6R Series

KING PIN BOLT
500910 | OE Ref: L157613
John Deere 6M 6R Series


AXLE SEAL
58856 | OE Ref: AL79902
KING PIN BOLT

KING PIN COVER
500800 | OE Ref: L208688
John Deere 6J 6M 6R Series

KING PIN

FRONT AXLE BUSHING
500799 | OE Ref: 87472582
John Deere 6R 6020 7020 Series

500919 | OE Ref: L218738
John Deere 6M 6R Series
500798 | OE Ref: L218742 12 9

John Deere 6000 6010 6030 7020 7030 6005 6D 6003 Series

John Deere 6M 6R Series
500918 | OE Ref: L208687 13 14 15

WHEEL POSITION SENSOR WITH CONNECTING ADAPTER
John Deere 6J 6M 6R Series

KING PIN SHIM KIT
500911 | OE Ref: AL162112
John Deere 6M 6R Series

WHEEL POSITION SENSOR CONNECTION DISC
500796 | OE Ref: L165798
John Deere 6M 6R 6020 Series























1 2 3 4 5 6 7 7 8 9 10 2 1














2
3 1

FRONT AXLE O-RING
500769 | OE Ref: L157607
John Deere 5E 5M 6M 6R Series





FRONT AXLE HOUSING BOLT
500906 | OE Ref: L156873
John Deere 6M 6R 6020 Series


DRAIN PLUG
500843 | OE Ref: L169942
John Deere 5M 6M 6R Series
6
FRONT AXLE BUSH
500768 | OE Ref: L209640
John Deere 6M 6R Series
7





FRONT AXLE SEAL CASSETTE 55531 | OE Ref: 82013226
John Deere 6M 6RC 6R 6E 6J Series

FRONT AXLE BUSH
500917 | OE Ref: L210768
John Deere 6M 6R Series
8

UNIVERSAL JOINT
500916 | OE Ref: AL226566
John Deere 6M 6R Series



FRONT AXLE SHAFT
500905 | OE Ref: AL211693
John Deere 6M 6R Series
DOUBLE JOINTED SHAFT
500850 | OE Ref: AL211692
John Deere 6M 6R Series

GREASE NIPPLE
500821 | OE Ref: 58M5574
John Deere 6M 6R 7M 7R Series


















1 2 3 4 5 6 7 8 9 10 11 12 13 14 15









HUB SEAL









62716 | OE Ref: 3785511M1
Industrial John Deere Series
Case IHC CVX Maxxum MX Series

FRONT AXLE HOUSING HUB

WHEEL HUB TAPERED ROLLER BEARING



WHEEL HUB BOLT



500314 | OE Ref: AL161291
John Deere 6D 6E 6J 6M 6R 6020 6030 Series

HUB O-RING
John Deere 6M 6R Series
500921 | OE Ref: L221852
John Deere 6M 6R Series
500920 | OE Ref: L21845
John Deere 6M 6R Series
500922 | OE Ref: 84021779

MFWD SNAP RING
500316 | OE Ref: AL159591 1 2 3 5 6 4
John Deere 5 - 9 Series








RING GEAR
500805 | OE Ref: R271413
John Deere 5E 5M 6M 6R Series

SNAP RING MFWD
500297 | OE Ref: 2143191
John Deere Series
13


FRONT AXLE HOUSING BOLT
500924 | OE Ref: L157625
John Deere 5M 6M 6R Series



PLANETARY RING GEAR PLATE
500317 | OE Ref: L174121
John Deere 6D 6E 6M 6R 6020 6030 Series

FRONT AXLE PLANET AND BEARING KIT
500926 | OE Ref: AL227338
John Deere 6M 6R Series

SEALING WASHER
PLANETARY HOUSING
500587 | OE Ref: AL209970
John Deere 6M 6R Series
RING GEAR BOLT
500923 | OE Ref: L166298
John Deere 6M 6R Series
12

FRONT AXLE HOUSING
500925 | OE Ref: L221854
John Deere 6M 6R Series

DRAIN PLUG
PLANETARY HOUSING
500586 | OE Ref: L156853
John Deere 6M 6R 6020 6030 Series












M20 LOCK NUT
500886 | OE Ref: L157600



















FRONT AXLE THRUST WASHER
500773 | OE Ref: L113978
John Deere 5M 5E 6M 6R 6020 Series

FRONT AXLE COUPLING
John Deere 6J 6M 6R Series

AXLE INPUT PINION O-RING







600070 | OE Ref: AL159591 1 2 3 5 4
500777 | OE Ref: L156899
John Deere 6M 6R 6020 Series
500333 | OE Ref: L156850
John Deere 6D 6J 6M 6R 6020 6030 7020 7030 Series

SHIM KIT
500887 | OE Ref: AL174434
John Deere 6M 6R 6020 Series


SHAFT SEAL
Massey Ferguson 5400 5600 5700 Series


DRIVE SHAFT BEARING
500775 | OE Ref: AL209966
John Deere 6M 6R Series

FRONT AXLE BEARING
John Deere 6M 6R Series

TAPERED ROLLER BEARING
500771 | OE Ref: AL161275
John Deere 6M 6R Series

9

CROWN WHEEL & PINION
500888 | OE Ref: AL161277
John Deere 6M 6R Series
15 7 8

SHIM KIT
500890 | OE Ref: AL160118
John Deere 6M 6R Series
500889 | OE Ref: AL235445 10 11 12 13 14

DIFFERENTIAL CARRIER
500892 | OE Ref: AL161278
John Deere 6M 6R 6020 6030 Series
16

PIN FASTENER
500785 | OE Ref: L157602
John Deere 6M 6R 6020 6030 Series

BRAKE DISC SET FRONT AXLE
500590 | OE Ref: AL160176
John Deere 6020 6R 6M 6RC Series
17

SPRING PIN
500786 | OE Ref: 34M3870
John Deere 6M 6R 7000 Series

DIFFERENTIAL HOUSING BOLT
500891 | OE Ref: L166293
John Deere 6M 6R 6020 6030 Series

FRONT AXLE THRUST WASHER
500787 | OE Ref: L156853
John Deere 6M 6R 6020 6030 Series
18
DIFFERENTIAL KIT

500784 | OE Ref: AL209970
John Deere 6M 6R Series
























John Deere 6M 6R 6020 6030 Series
John Deere 6M 6R 6010 6020 6030 7010

FRONT AXLE HOUSING SNAP RING 500908 | OE Ref: 354750A1 1

John Deere 6M 6R Series

John Deere 6005 6003 6020 6030 5E 6E 6D 6M 6R 6RC 6J 6B Series MFWD BEARING 500315 | OE Ref: AL161285

HOUSING BOLT 500913 | OE Ref: L218665
John Deere 6M 6R Series



HOUSING NUT
500912 | OE Ref: 6053434
John Deere 6M 6R Series


KING PIN
500909 | OE Ref: L221857
John Deere 6M 6R Series

KING PIN COVER
500800 | OE Ref: L208688
John Deere 6J 6M 6R Series


TAPERED ROLLER BEARING
500848 | OE Ref: AL161289
John Deere 6M 6R Series

KING PIN BOLT
500910 | OE Ref: L157613
John Deere 6M 6R Series

FRONT AXLE BUSHING
500799 | OE Ref: 87472582


AXLE SEAL

58856 | OE Ref: AL79902
John Deere 6000 6010 6030 7020 7030 6005 6D 6003 Series
John Deere 6R 6020 7020 Series

KING PIN
500919 | OE Ref: L218738
John Deere 6M 6R Series
KING PIN BOLT

500918 | OE Ref: L208687
John Deere 6M 6R Series

WHEEL POSITION SENSOR WITH CONNECTING ADAPTER
500798 | OE Ref: L218742
John Deere 6J 6M 6R Series

KING PIN SHIM KIT
500911 | OE Ref: AL162112
John Deere 6M 6R Series

WHEEL POSITION SENSOR CONNECTION DISC
500796 | OE Ref: L165798
John Deere 6M 6R 6020 Series























1 2 3 4 5 6 7 7 8 9 10 2 1














2
3 1

FRONT AXLE O-RING
500769 | OE Ref: L157607
John Deere 5E 5M 6M 6R Series





FRONT AXLE HOUSING BOLT
500906 | OE Ref: L156873
John Deere 6M 6R 6020 Series


DRAIN PLUG
500843 | OE Ref: L169942
John Deere 5M 6M 6R Series
6
FRONT AXLE BUSH
500768 | OE Ref: L209640
John Deere 6M 6R Series
7





FRONT AXLE SEAL CASSETTE 55531 | OE Ref: 82013226
John Deere 6M 6RC 6R 6E 6J Series

FRONT AXLE BUSH
500917 | OE Ref: L210768
John Deere 6M 6R Series
8

UNIVERSAL JOINT
500916 | OE Ref: AL226566
John Deere 6M 6R Series



FRONT AXLE SHAFT
500905 | OE Ref: AL211693
John Deere 6M 6R Series
DOUBLE JOINTED SHAFT
500850 | OE Ref: AL211692
John Deere 6M 6R Series

GREASE NIPPLE
500821 | OE Ref: 58M5574
John Deere 6M 6R 7M 7R Series




























HUB SEAL



1 2 3 4 5 6 7 8 9 10 11 12 13







62716 | OE Ref: 3785511M1
Industrial John Deere Series
Case IHC CVX Maxxum MX Series

FRONT AXLE HOUSING HUB
500316 | OE Ref: L157620 1 2 3 5 6 4
500921 | OE Ref: L221852
John Deere 6M 6R Series

14 15

WHEEL HUB TAPERED ROLLER BEARING
500314 | OE Ref: AL161291
John Deere 6D 6E 6J 6M 6R 6020 6030 Series

HUB O-RING
500920 | OE Ref: L21845
John Deere 6M 6R Series



WHEEL HUB BOLT
500922 | OE Ref: 84021779
John Deere 6M 6R Series

MFWD SNAP RING
John Deere 5 - 9 Series









RING GEAR
500805 | OE Ref: R271413
John Deere 5E 5M 6M 6R Series

SNAP RING MFWD
500297 | OE Ref: 2143191
John Deere Series


FRONT AXLE HOUSING BOLT
500924 | OE Ref: L157625
John Deere 5M 6M 6R Series


PLANETARY RING GEAR PLATE
500317 | OE Ref: L174121
John Deere 6D 6E 6M 6R 6020 6030 Series

FRONT AXLE PLANET AND BEARING KIT
500926 | OE Ref: AL227338
John Deere 6M 6R Series

SEALING WASHER
PLANETARY HOUSING
500587 | OE Ref: AL209970
John Deere 6M 6R Series
RING GEAR BOLT

500923 | OE Ref: L166298
John Deere 6M 6R Series
12

FRONT AXLE HOUSING
500925 | OE Ref: L221854
John Deere 6M 6R Series

DRAIN PLUG PLANETARY HOUSING
500586 | OE Ref: L169940
John Deere 6M 6R Series








4 8 7 5 10 6















2 1 3 1 9















TRACK ROD ASSEMBLY
500894 | OE Ref: AL222370
John Deere 6M 6R Series

STEERING CYLINDER BOLT
500895 | OE Ref: L209650
John Deere 6M 6R Series




1 2 4 5 3

STEERING CYLINDER SEAL KIT
500897 | OE Ref: AL211658
John Deere 6M 6R Series




TRACK ROD END
500898 | OE Ref: AL222371
John Deere 6M 6R Series



RUBBER BOOT
STEERING CYLINDER
500900 | OE Ref: AL214094
John Deere 6M 6R Series


RUBBER BOOT
STEERING CYLINDER
500901 | OE Ref: AL214095
John Deere 6M 6R Series

TRACK ROD LOCK NUT
500902 | OE Ref: 6094451
John Deere 6M 6R Series


TRACK ROD NUT
500903 | OE Ref: L218899
John Deere 6M 6R Series
















3 4 5


























FRONT AXLE THRUST WASHER
500773 | OE Ref: L113978
John Deere 6J 6M 6R Series

AXLE INPUT PINION O-RING

FRONT AXLE SHIM KIT

500770 | OE Ref: AL174434
John Deere 6M 6R Series


500333 | OE Ref: L156850
SHAFT SEAL 600070 | OE Ref: 36696500 1 2 4 3 5 13 9 10
John Deere 6D 6J 6M 6R
6020 6030 7020 7030 Series
Massey Ferguson 5400 5600 5700 Series


FRONT AXLE COUPLING
500777 | OE Ref: L156899
John Deere 6M 6R 6020 Series
6

BEARING CROWN WHEEL & PINION
500591 | OE Ref: AL166518
John Deere 04 6003 6B 6D 6E Series





MFWD SHIM KIT
500321 | OE Ref: AL160114
John Deere 6J 6M 6R
6020 7020 7030 Series
10

TAPERED ROLLER BEARING
43791G | OE Ref: 76086014
John Deere 6M 6R 6010 6020 Series
13

DIFFERENTIAL CARRIER

TAPERED ROLLER BEARING
500835 | OE Ref: 005103697
John Deere 6M 6R Series

9
11

DIFFERENTIAL HOUSING BOLT
500891 | OE Ref: L166293
John Deere 6M 6R 6020 6030 Series
14

BRAKE DISC SET FRONT AXLE
500590 | OE Ref: L166293

FRONT AXLE SHIM KIT
500778 | OE Ref: AL160118
John Deere 6J 6M 6R Series

CROWN WHEEL & PINION
500329 | OE Ref: AL160170
John Deere 6J 6M 6R
6020 6030 7020 Series
15
500330 | OE Ref: AL160210 8 7 12
John Deere 6J 6M 6R 6020
6030 7020 7050 7080 9000 Series
John Deere 6M 6R 6020 6030 Series
16 17

PIN FASTENER
500842 | OE Ref: L114209
John Deere 6M 6R
6010 6020 7030 Series

DIFFERENTIAL KIT
500589 | OE Ref: AL208846
John Deere 6R 6M Series

FRONT AXLE THRUST WASHER
500787 | OE Ref: L156853
John Deere 6M 6R 6020 6030 Series













9 8 6 11 1 2 3 1 4 5 10 7












































1

TRACK ROD ASSEMBLY
500940 | OE Ref: AL224138











John Deere 6M 6R Series

STEERING CYLINDER ROD
500943 | OE Ref: AL228338
John Deere 6M 6R Series

500946 | OE Ref: AL224140
John Deere 6M 6R Series


5

STEERING CYLINDER O-RING KIT
500944 | OE Ref: AL228339
John Deere 6M 6R Series

TRACK ROD END BOOT SEAL
500947 | OE Ref: AL209609
John Deere 6M 6R Series

TRACK ROD NUT
500949 | OE Ref: L171642
John Deere 6M 6R Series

TRACK ROD BALL JOINT NUT
500950 | OE Ref: L217271
John Deere 6M 6R Series

STEERING CYLINDER SHIM
500942 | OE Ref: L216924
John Deere 6M 6R Series
6

TRACK ROD END
500945 | OE Ref: AL224139
John Deere 6M 6R Series
9
7 8 10 11 3 4

TRACK ROD END BOOT
500948 | OE Ref: AL209610
John Deere 6M 6R Series






























































RING 500339 | OE Ref: 40M1872
John Deere 6E 6M 6R 6020 8000 Series













John Deere 6J 6M 6R 6020 6030 7020 7030












FRONT AXLE


500964 | OE Ref: L220019 7 8 9


KNUCKLE HOUSING RH



STUB AXLE BEARING
500322 | OE Ref: VLA9316
John Deere 6M 6R 6020 6030 7020 7030 Series

WHEEL POSITION SENSOR CONNECTING ADAPTER

HOUSING BOLT
500913 | OE Ref: L218665
John Deere 6M 6R Series

KING PIN
500828 | OE Ref: L218739

KNUCKLE HOUSING NUT
500955 | OE Ref: 14M7276
John Deere 6M 6R Series

KING PIN SEAL 580000 | OE Ref: AL110924 12 11
John Deere 6J 6M 6R 6020 Series

SHIM FRONT AXLE
KNUCKLE HOUSING
500610 | OE Ref: AL160138
John Deere 6J 6M 6R 6020 6030 7020 7030 Series

KING PIN COVER
500800 | OE Ref: L208688
John Deere 6J 6M 6R Series

500918 | OE Ref: L208687
John Deere 6M 6R Series

FRONT AXLE
John Deere 6000 7000 10 20 30 Series
500796 | OE Ref: L165798 14 15 17 18 20 21
500798 | OE Ref: L165796
John Deere 6M 6R 7R Series

6020 7020 Series

KING PIN
500834 | OE Ref: L218742
John Deere 6J 6M 6R 6020 Series

FRONT AXLE BUSHING
500799 | OE Ref: L166758
John Deere 6R 6020 7020 Series

WHEEL POSITION SENSOR CONNECTION DISC
John Deere 6M 6R 6020 Series




























1 2 3 4 5 6 7 8 9 10 11 12 13 14 15 16 17 18 19 6 1



HUB SEAL
62716 | OE Ref: 3785511M1
Industrial John Deere Series
Case IHC CVX Maxxum MX Series

O-RING FRONT AXLE WHEEL HUB
500606 | OE Ref: L113950
John Deere 6J 6M 6R 6020
6030 7020 7030 Series


FRONT AXLE
KNUCKLE HOUSING HUB
500829 | OE Ref: L217078
John Deere 6M 6R Series

TAPERED ROLLER BEARING
500283 | OE Ref: AL81844
John Deere 6M 6R 6010
6020 6030 7030 Series






500313 | OE Ref: L156870 2 5 4

SNAP RING MFWD
John Deere 6J 6M 6R 6020 6030 7020 7030 Series









RING GEAR SUPPORT


500827 | OE Ref: L217115
John Deere 6M 6R Series



NUT PLANETARY RING GEAR

500593 | OE Ref: L220017
John Deere 6R 6M Series
500585 | OE Ref: L216839 11
John Deere 6R 6M Series


PLANETARY RING GEAR
500826 | OE Ref: L217116
John Deere 6M 6R Series
18 20 19 17 18 14

15 7

SEALING WASHER
PLANETARY HOUSING
John Deere 6M 6R Series

500587 | OE Ref: Z104508
John Deere 6M 6R Series


PLANETARY DRIVE LOCK PLATE
500309 | OE Ref: L216840
John Deere 6M 6R Series
12

PLANETARY GEAR CARRIER
500825 | OE Ref: L218745
John Deere 6M 6R Series

DRAIN PLUG
PLANETARY HOUSING
500586 | OE Ref: L156853 9
John Deere 6M 6R Series
21 19






1 2 3 4 5 6 7 8 9 10 10 11 12 13



MFWD O-RING
500332 | OE Ref: L113937
John Deere 6J 6M 6R 6020 6030 7020 7030 Series
4

SEALING WASHER
PLANETARY HOUSING
500587 | OE Ref: Z104508
John Deere 6R 6M Series

FRONT MFWD AXLE BUSHING
500286 | OE Ref: L114652
John Deere Series

FRONT AXLE HOUSING BOLT
500951 | OE Ref: L216824
John Deere 6M 6R Series
5

MFWD THRUST BUSHING
500337 | OE Ref: L113966
John Deere Series
8
7 1 2

3

DRAIN PLUG
500843 | OE Ref: L169942
John Deere 5M 6M 6R Series
6

DRIVE SHAFT
500962 | OE Ref: AL220210
John Deere 6M 6R Series


MFWD SEAL
500335 | OE Ref: AL227049
John Deere Series

John Deere 6M 6R Series
18 19 20 21 10 11 13

UNIVERSAL JOINT
500750 | OE Ref: AL220306
John Deere 6R 6M Series
GREASE NIPPLE
500821 | OE Ref: 58M5574
John Deere 6M 6R 7M 7R Series

UNIVERSAL JOINT YOKE
500960 | OE Ref: AL220304
John Deere 6M 6R Series

DOUBLE JOINTED PINION SHAFT
500965 | OE Ref: L217178
John Deere 6M 6R Series













2 3 4 5

























FRONT AXLE PINION NUT
500937 | OE Ref: L113979
John Deere 6M 6R Series

FRONT AXLE COUPLING




FRONT AXLE THRUST WASHER
500773 | OE Ref: L113978
John Deere 6J 6M 6R Series

AXLE INPUT PINION O-RING
FRONT AXLE SHIM KIT
500770 | OE Ref: AL174434
John Deere 6M 6R Series


SHAFT SEAL
600070 | OE Ref: AL159591 1 2 3 5 4 6 15 10 11
500777 | OE Ref: L156899
John Deere 6M 6R 6020 Series
500333 | OE Ref: L156850
John Deere 6D 6J 6M 6R
6020 6030 7020 7030 Series

Massey Ferguson 5400 5600 5700 Series





BEARING CROWN WHEEL & PINION
500591 | OE Ref: AL166518
John Deere 04 6003 6B 6D 6E Series

FRONT AXLE SHIM KIT


MFWD SHIM KIT
500321 | OE Ref: AL160114
John Deere 6J 6M 6R
6020 7020 7030 Series
500778 | OE Ref: AL160118 10 11
John Deere 6J 6M 6R Series
13 7

DIFFERENTIAL HOUSING BOLT
500938 | OE Ref: L166394
John Deere 6M 6R Series

BRAKE DISC

TAPERED ROLLER BEARING
43791G | OE Ref: 76086014
John Deere 6M 6R 6010 6020 Series

CROWN WHEEL & PINION
500329 | OE Ref: AL160170
John Deere 6J 6M 6R
6020 6030 7020 Series

FRONT AXLE
500589 | OE Ref: AL208846 19 20 21 18 19 8 14 18 15
SET FRONT AXLE
500590 | OE Ref: AL160176
John Deere 6020 6R 6M 6RC Series
THRUST WASHER
500787 | OE Ref: L156853
John Deere 6M 6R
6020 6030 Series

TAPERED ROLLER BEARING
500835 | OE Ref: 005103697
John Deere 6M 6R Series

John Deere 6M 6R 6020 6030 Series

DIFFERENTIAL CARRIER
500330 | OE Ref: AL160210 9
John Deere 6J 6M 6R 6020 6030 7020 7050 7080 9000 Series

PIN FASTENER
500842 | OE Ref: L114209
John Deere 6M 6R 6010 6020 7030 Series

DIFFERENTIAL KIT
John Deere 6R 6M Series













9 8 6 11 2 2 3 1 2 4 5 10 7













































TRACK ROD ASSEMBLY











500940 | OE Ref: AL224138 1
John Deere 6M 6R Series



STEERING CYLINDER SHIM
500942 | OE Ref: L216924
John Deere 6M 6R Series

STEERING CYLINDER ROD
500943 | OE Ref: AL228338
John Deere 6M 6R Series

BALL JOINT
500946 | OE Ref: AL224140
John Deere 6M 6R Series

TRACK ROD NUT
500949 | OE Ref: L171642
John Deere 6M 6R Series

STEERING CYLINDER O-RING KIT
500944 | OE Ref: AL228339
John Deere 6M 6R Series

TRACK ROD END BOOT SEAL
500947 | OE Ref: AL209609
John Deere 6M 6R Series

TRACK ROD BALL JOINT NUT
500950 | OE Ref: L217271 5
John Deere 6M 6R Series

TRACK ROD END
John Deere 6M 6R Series
500945 | OE Ref: AL224139 6 7 8 9 10 11 4

TRACK ROD END BOOT
500948 | OE Ref: AL209610
John Deere 6M 6R Series












































SPACER FRONT AXLE KNUCKLE HOUSING
500607 | OE Ref: L216820
John Deere 6M 6R Series





FRONT AXLE HUB SEAL 59854 | OE Ref: AL160535 2


Visit website for compatibility











SNAP RING 500339 | OE Ref: 354750A1 1








John Deere 6J 6M




John Deere 6E 6M 6R 6020 8000 Series

John Deere 6J 6M 6R 6020 6030 7020 7030 Series




MFWD CYLINDRICAL BALL BEARING 500282 | OE Ref: AL159599

John Deere 6M 6R Series


FRONT AXLE KNUCKLE HOUSING LH 500963 | OE Ref: L220018






8 9
FRONT AXLE


500964 | OE Ref: L220019 7 8 9


KNUCKLE HOUSING RH



HOUSING BOLT
500913 | OE Ref: L218665
John Deere 6M 6R Series

KING PIN
500828 | OE Ref: L218739

STUB AXLE BEARING
500322 | OE Ref: 5103860
John Deere 6M 6R 6020 6030 7020 7030 Series


KNUCKLE HOUSING NUT
500955 | OE Ref: 14M7276
John Deere 6M 6R Series

KING PIN SEAL 580000 | OE Ref: AL110924 11
John Deere 6J 6M 6R 6020 Series

SHIM FRONT AXLE KNUCKLE HOUSING
500610 | OE Ref: AL160138
John Deere 6J 6M 6R 6020 6030 7020 7030 Series

KING PIN COVER
500800 | OE Ref: L208688
John Deere 6J 6M 6R Series

KING PIN BOLT
500918 | OE Ref: L208687
John Deere 6M 6R Series

FRONT AXLE
John Deere 6000 7000 10 20 30 Series
500796 | OE Ref: L165798 14 15 16 17 18 20 21
WHEEL POSITION SENSOR WITH CONNECTING ADAPTER
500798 | OE Ref: L206295
John Deere 6M 6R 7R Series

John Deere 6M 6R 6020 7020 Series

KING PIN
500834 | OE Ref: L218742
John Deere 6J 6M 6R 6020 Series

FRONT AXLE BUSHING
500799 | OE Ref: 87472582
John Deere 6R 6020 7020 Series

WHEEL POSITION SENSOR CONNECTION DISC
John Deere 6M 6R 6020 Series


























HUB SEAL
62716 | OE Ref: 3785511M1
Industrial John Deere Series
Case IHC CVX Maxxum MX Series



1 2 3 4 5 6 7 8 9 10 11 12 13 14 15 16 17 18 19 6



O-RING FRONT AXLE WHEEL HUB
500606 | OE Ref: L113950
John Deere 6J 6M 6R 6020
6030 7020 7030 Series


FRONT AXLE
KNUCKLE HOUSING HUB
500829 | OE Ref: L217078
John Deere 6M 6R Series

TAPERED ROLLER BEARING
500283 | OE Ref: AL81844
John Deere 6M 6R 6010
6020 6030 7030 Series






500313 | OE Ref: L156870 1 2 5 4

MFWD SNAP RING
John Deere 6J 6M 6R 6020 6030 7020 7030 Series









RING GEAR SUPPORT


500827 | OE Ref: L217115
John Deere 6M 6R Series



NUT PLANETARY RING GEAR
500585 | OE Ref: L216839
John Deere 6R 6M Series

John Deere 6M 6R Series

500593 | OE Ref: L220017
John Deere 6R 6M Series

PLANETARY RING GEAR
500826 | OE Ref: L217116
John Deere 6M 6R Series

SEALING WASHER PLANETARY HOUSING
500587 | OE Ref: Z104508
John Deere 6M 6R Series


PLANETARY DRIVE LOCK PLATE
500309 | OE Ref: L216840
John Deere 6M 6R Series

PLANETARY GEAR CARRIER
500825 | OE Ref: L218745
John Deere 6M 6R Series
500586 | OE Ref: L169940 9

DRAIN PLUG PLANETARY HOUSING
John Deere 6M 6R Series
18 19 20 21 17 18 19

PLANETARY


500287 | OE Ref: L156866 John Deere 6J
John Deere 6J 6R 6M Series

PINION BEARING CONE 500285 | OE Ref: AL160139
John Deere 6J 6M 6R




1 2 3 4 5 6 7 8 9 10 10 11 12 13



MFWD O-RING
500332 | OE Ref: L113937
John Deere 6J 6M 6R 6020 6030 7020 7030 Series
4

SEALING WASHER PLANETARY HOUSING
500587 | OE Ref: Z104508
John Deere 6R 6M Series

FRONT MFWD AXLE BUSHING
500286 | OE Ref: L114652
John Deere Series

FRONT AXLE HOUSING BOLT
500951 | OE Ref: L216824
John Deere 6M 6R Series
5

MFWD THRUST BUSHING
500337 | OE Ref: L113966
John Deere Series
8
7 1 2

3

DRAIN PLUG
500843 | OE Ref: L169942
John Deere 5M 6M 6R Series
6

DRIVE SHAFT
500962 | OE Ref: AL220210
John Deere 6M 6R Series


MFWD SEAL
500335 | OE Ref: AL227049
John Deere Series

18 19 20 21 10 11 13

UNIVERSAL JOINT
500750 | OE Ref: AL220306
John Deere 6R 6M Series
GREASE NIPPLE
500821 | OE Ref: 58M5574
John Deere 6M 6R 7M 7R Series

UNIVERSAL JOINT YOKE
500961 | OE Ref: AL220304
John Deere 6M 6R Series

DOUBLE JOINTED
PINION SHAFT
500965 | OE Ref: L217178
John Deere 6M 6R Series



1 2 3 4 5 6 7 8 11 12 13 9 10


BLEED VALVE

MFWD O-RING

500617 | OE Ref: L208685 2 3 1

FRONT BRAKE SEAL
500802 | OE Ref: L156879
John Deere 6M 6R 6020 6030 Series
500311 | OE Ref: L156880
John Deere 6M 6R 6020 6030 7030 Series
4 5

FRONT BRAKE SEAL
500616 | OE Ref: L208686
John Deere 6R Series


BRAKE PISTON
500618 | OE Ref: L208684
John Deere 6R Series

8
PLANETARY RING GEAR PLATE
500300 | OE Ref: L172015
John Deere 6R Series


John Deere 6R Series
6

SPRING FOR PLANETARY HUB
500592 | OE Ref: L156885
John Deere 6R 6M Series
9

MFWD DISC WITH INNER SPLINE 500301 | OE Ref: L166562
John Deere 6M 6R 6020 6030 Series
500305 | OE Ref: L156891 18 19 20 21 10 11 13
MFWD DISC WITH OUTER SPLINE
500302 | OE Ref: L156889
John Deere 6M 6R
6020 6030 Series
SNAP RING MFWD
500313 | OE Ref: L156870
John Deere 6J 6M 6R 6020
6030 7020 7030 Series

O-RING BRAKE PISTON
500306 | OE Ref: T74694
John Deere 6M 6R Series

MFWD O-RING
John Deere 6M 6R 6020
6030 7030 Series


5 6 7 8 9 10 8 9 11 12 13 15 16 17 18 19 20 21 13 14
1 2 3






PINION GEAR NUT
500967 | OE Ref: L171981
John Deere 6M 6R Series

PINION GEAR WASHER
500968 | OE Ref: L171982
John Deere 6M 6R Series
3 2

FRONT AXLE SHIM KIT
500770 | OE Ref: AL174434
John Deere 6M 6R Series
6 1

4 5

COUPLING
500974 | OE Ref: L208669
John Deere 6M 6R Series

BEARING CROWN WHEEL & PINION
500591 | OE Ref: AL166518
John Deere 04 6003 6B 6D 6E Series

PINION GEAR O-RING
500969 | OE Ref: L208667
John Deere 6M 6R Series

FRONT AXLE SHIM
500971 | OE Ref: AL220033
John Deere 6M 6R Series


SHAFT SEAL
600070 | OE Ref: H524300020121
Massey Ferguson 5400 5600 5700 Series

TAPERED ROLLER BEARING
500972 | OE Ref: AL175761
John Deere 6M 6R Series




CROWN WHEEL & PINION
500973 | OE Ref: AL221776
John Deere 6M 6R Series

FRONT AXLE HOUSING BOLT
500975 | OE Ref: L166310
John Deere 6M 6R Series
DIFFERENTIAL DISC KIT
500982 | OE Ref: L216946 14 15 16 17 18 19 20 21 7 8 9 10 11 14
DIFFERENTIAL HOUSING BOLT
500938 | OE Ref: L166394
John Deere 6M 6R Series
500981 | OE Ref: AL222133
John Deere 6M 6R Series
FRONT AXLE FLANGE
John Deere 6M 6R Series


FRONT AXLE SNAP RING
500983 | OE Ref: L216947
John Deere 6M 6R Series

FRONT AXLE PISTON
500986 | OE Ref: L216950 18 20 15
John Deere 6M 6R Series

BALL BEARING


FRONT AXLE SNAP RING

500985 | OE Ref: L216949
John Deere 6M 6R Series

FRONT AXLE O-RING
500987 | OE Ref: AL220041
John Deere 6M 6R Series

FRONT AXLE O-RING
500988 | OE Ref: AL220042
John Deere 6M 6R Series

FRONT AXLE HOUSING
500976 | OE Ref: AL224452
John Deere 6M 6R Series
21 24 19 26

DIFFERENTIAL KIT

DIFFERENTIAL DISC KIT
500977 | OE Ref: AL115652
John Deere 6M 6R Series
500980 | OE Ref: AL220039 14 15 16 18 20 21 21 22 23 25 27 28
500978 | OE Ref: AL220037
John Deere 6M 6R Series


TAPERED ROLLER BEARING
500979 | OE Ref: AL220034
John Deere 6M 6R Series

FRONT AXLE THRUST WASHER
500787 | OE Ref: L156853
John Deere 6M 6R 6020 6030 Series

FRONT AXLE SHIM KIT
John Deere 6M 6R Series

5 12 1 3 2 3 4 3 3 2 11 10 7 6 8 9




POWER STEERING CYLINDER


TRACK ROD ASSEMBLY

STEERING CYLINDER BOLT
500990 | OE Ref: AL224308
500941 | OE Ref: L216835 2 3 1
John Deere 6M 6R Series
500991 | OE Ref: AL224311
John Deere 6M 6R Series
John Deere 6M 6R Series
6

STEERING CYLINDER SHIM
John Deere 6M 6R Series

STEERING CYLINDER ASSEMBLY
500993 | OE Ref: AL224310
John Deere 6M 6R Series


TRACK ROD RUBBER BOOT
500996 | OE Ref: AL220296
John Deere 6M 6R Series
500942 | OE Ref: L216924 8 9 10 11 12 4 5

TRACK ROD BALL JOINT NUT
500950 | OE Ref: L217271
John Deere 6M 6R Series

TRACK ROD NUT
500949 | OE Ref: L171642
John Deere 6M 6R Series

TRACK ROD END
500994 | OE Ref: AL224312
John Deere 6M 6R Series

TRACK ROD END BOOT
500948 | OE Ref: AL209610
John Deere 6M 6R Series

POWER STEERING CYLINDER SEAL KIT
500997 | OE Ref: AL224303
John Deere 6M 6R Series



1


FRONT AXLE HUB SEAL 59854 | OE Ref: AL160535
John Deere 6005 6010 6020 6030 7030 Series
2

SNAP RING FRONT AXLE
KNUCKLE HOUSING
500609 | OE Ref: L171986
John Deere 6J 6M 6R Series
4 5

SPACER FRONT AXLE
KNUCKLE HOUSING
500607 | OE Ref: L216820
John Deere 6M 6R Series
7

FRONT AXLE
KNUCKLE HOUSING RH
501005 | OE Ref: L220318
John Deere 6M 6R Series

SNAP RING
500338 | OE Ref: L156859
John Deere 6J 6M 6R
6020 6030 7030 Series
8

DRAIN PLUG
500803 | OE Ref: 15M7020
John Deere 6M 6R 6010 6030 7020 Series

3

BALL BEARING
501001 | OE Ref: AL175771
John Deere 6M 6R Series
6

FRONT AXLE
KNUCKLE HOUSING LH
501004 | OE Ref: L220317
John Deere 6M 6R Series
9

SEALING RING
500804 | OE Ref: 51M4236
John Deere 6M 6R 6020 6030 7030 Series
18 19 11 20 12 21 13

HOUSING BOLT
500913 | OE Ref: L218665
John Deere 6M 6R Series

HOUSING NUT
500912 | OE Ref: 6053434
John Deere 6M 6R Series

TAPERED ROLLER BEARING
501014 | OE Ref: AL175783
John Deere 6M 6R Series

KING PIN SEAL 56636 | OE Ref: AL175778
John Deere 6M 6R 7030
8000 9000 Series

14

KING PIN
501015 | OE Ref: L218740
John Deere 6M 6R Series
17

KING PIN SHIM
501003 | OE Ref: AL160138
John Deere 6M 6R Series
20

KING PIN COVER
500800 | OE Ref: L208688
John Deere 6J 6M 6R Series
16 15

KINGPIN BOLT
500954 | OE Ref: 19M6332
John Deere 6M 6R Series
18


FRONT AXLE KING PIN SEAL
580000 | OE Ref: AL110924
John Deere 6000 7000 10 20 30 Series
21

KING PIN BOLT
500918 | OE Ref: L208687
John Deere 6M 6R Series

KING PIN 57140 | OE Ref: AL172488
John Deere 6M 6R Series
19

STUB AXLE BEARING 500322 | OE Ref: AL172489
John Deere 6M 6R 6020 6030 7020 7030 Series
22

FRONT AXLE BUSHING 500799 | OE Ref: L166758
John Deere 6R 6020 7020 Series
18 19 20 21 23 24 26

WHEEL POSITION SENSOR CONNECTING ADAPTER
500798 | OE Ref: L165796
John Deere 6M 6R 7R Series

John Deere 6M 6R 6020 7020 Series

KING PIN
500834 | OE Ref: L218742
John Deere 6J 6M 6R 6020 Series

WHEEL POSITION SENSOR CONNECTION DISC
500796 | OE Ref: L165798
John Deere 6M 6R 6020 Series






1 2 3 4 5 6 7 8 9 10 11 12 13 14 15 16 17 18 19 20

HUB SEAL FRONT AXLE
500612 | OE Ref: AL237903
John Deere 6M 6R Series

1 2 3 5 6

TAPERED ROLLER BEARING
501007 | OE Ref: 3907228M1
John Deere 6J 6M 6R Series

O-RING FRONT AXLE WHEEL HUB
500606 | OE Ref: L113950

FRONT AXLE WHEEL HUB
501008 | OE Ref: L216838
John Deere 6M 6R Series

TAPERED ROLLER BEARING 500283 | OE Ref: AL81844
John Deere 6M 6R Series
John Deere 6J 6M 6R 6020
6030 7020 7030 Series
John Deere 6M 6R 6010
6020 6030 7030 Series


7

MFWD SNAP RING
500313 | OE Ref: L156870
John Deere 6J 6M 6R 6020 6030 7020 7030 Series

PLANETARY DRIVE LOCK PLATE

RING GEAR SUPPORT
500603 | OE Ref: AL224299
John Deere 6R Series
500309 | OE Ref: L216840 10 11
John Deere 6M 6R Series

SNAP RING FRONT AXLE PINION
501006 | OE Ref: L220320
John Deere 6M 6R Series

PLANET PINION CARRIER
501009 | OE Ref: L220324



NUT PLANETARY RING GEAR
500585 | OE Ref: L216839
John Deere 6M 6R Series

FRONT AXLE DRIVE
PINION BEARING CONE
500595 | OE Ref: AL224530
John Deere 6R Series

AXLE CARRIER BOLT
500959 | OE Ref: 19M5039
John Deere 6R 6M Series
STUD FOR PLANETARY HUB
500593 | OE Ref: L220017
John Deere 6R 6M Series

RING GEAR FRONT AXLE
500604 | OE Ref: L220167 8
John Deere 6R Series

FRONT AXLE DRIVE PINION
56830 | OE Ref: L220322
John Deere 6R Series
500586 | OE Ref: L169940 14 15 16 17 18 19 20 21 18 20
John Deere 6M 6R Series

SEALING WASHER PLANETARY HOUSING
500587 | OE Ref: Z104508
John Deere 6M 6R Series

FRONT AXLE DRIVE PINION BEARING CONE
500594 | OE Ref: AL224529
John Deere 6R Series

DRAIN PLUG PLANETARY HOUSING
John Deere 6M 6R Series







AXLE HOUSING O-RING
500998 | OE Ref: L208672
John Deere 6M 6R Series

4
FRONT AXLE HOUSING RH

500999 | OE Ref: AL224524
John Deere 6M 6R Series
6 1
FRONT AXLE HOUSING LH
501002 | OE Ref: AL224526
John Deere 6M 6R Series

MFWD SEAL
500335 | OE Ref: AL227049
John Deere Series

UNIVERSAL JOINT
3 2


FRONT AXLE HOUSING BOLT
500951 | OE Ref: L216824
John Deere 6M 6R Series

SEALING WASHER
PLANETARY HOUSING
500587 | OE Ref: Z104508
John Deere 6R 6M Series

FRONT MFWD AXLE BUSHING
500286 | OE Ref: L114652
John Deere Series

DRAIN PLUG
500843 | OE Ref: L169942
John Deere 5M 6M 6R Series


GREASE NIPPLE
501013 | OE Ref: L220165 14 15 16 18 19
501011 | OE Ref: AL224298
John Deere 6M 6R Series
500821 | OE Ref: 58M5574
John Deere 6M 6R 7M 7R Series
DRIVESHAFT ASSEMBLY 501000 | OE Ref: AL224295
John Deere 6M 6R Series


UNIVERSAL JOINT YOKE
501012 | OE Ref: AL224297
John Deere 6M 6R Series

AXLE SHAFT
John Deere 6M 6R Series



1 2 3 4 5 6 7 8 11 12 13 9 10


BLEED VALVE

MFWD O-RING

500602 | OE Ref: L220326 2 3 1

PLANETARY GEAR O-RING
500802 | OE Ref: L156879
John Deere 6M 6R 6020 6030 Series

RING GEAR BACKUP O-RING
500601 | OE Ref: L220327
John Deere 6R Series
500311 | OE Ref: L156880
John Deere 6M 6R 6020 6030 7030 Series

BRAKE PISTON
500600 | OE Ref: L220325
John Deere 6R Series

John Deere 6R Series
9 4 5
8

PLANETARY CARRIER DISC WITH OUTER SPLINE
500599 | OE Ref: L172015
John Deere 6R Series


6

SPRING FOR PLANETARY HUB
500592 | OE Ref: L156885
John Deere 6R 6M Series

BRAKE DISC
500598 | OE Ref: L172016
John Deere 6R Series
500305 | OE Ref: L156891 18 19 20 21 10 11 13
BRAKE DISC WITH OUTER SPLINE
500597 | OE Ref: L172017
John Deere 6R Series
SNAP RING MFWD
500313 | OE Ref: L156870
John Deere 6J 6M 6R 6020 6030 7020 7030 Series

O-RING BRAKE PISTON
500306 | OE Ref: T74694
John Deere 6M 6R Series

MFWD O-RING
John Deere 6M 6R 6020 6030 7030 Series



FRONT AXLE PINION NUT
500937 | OE Ref: L113979
John Deere 6M 6R Series

FRONT AXLE COUPLING

FRONT AXLE THRUST WASHER
500773 | OE Ref: L113978
John Deere 6J 6M 6R Series

AXLE INPUT PINION O-RING

FRONT AXLE SHIM KIT
500770 | OE Ref: AL174434
John Deere 6M 6R Series
SHAFT SEAL 600070 | OE Ref: AL159591 1 2 3 5 4 6
500777 | OE Ref: L156899
John Deere 6M 6R 6020 Series


500333 | OE Ref: L156850 Massey Ferguson 5400 5600 5700 Series
John Deere 6D 6J 6M 6R 6020 6030 7020 7030 Series


BEARING CROWN WHEEL & PINION
500591 | OE Ref: AL166518
John Deere 04 6003 6B 6D 6E Series

FRONT AXLE SHIM KIT
500778 | OE Ref: AL160118
John Deere 6J 6M 6R Series

DIFFERENTIAL HOUSING BOLT
500938 | OE Ref: L166394
John Deere 6M 6R Series


MFWD SHIM KIT
500321 | OE Ref: AL160114
John Deere 6J 6M 6R
6020 7020 7030 Series

TAPERED ROLLER BEARING
43791G | OE Ref: AL235445
John Deere 6M 6R 6010 6020 Series

CROWN WHEEL & PINION
500329 | OE Ref: AL160170
John Deere 6J 6M 6R
6020 6030 7020 Series

FRONT AXLE

FRONT AXLE
BRAKE DISC SET
500590 | OE Ref: AL160176
John Deere 6020 6R 6M 6RC Series
THRUST WASHER
500787 | OE Ref: L156853
John Deere 6M 6R
6020 6030 Series
PIN FASTENER

TAPERED ROLLER BEARING
500835 | OE Ref: AL160115
John Deere 6M 6R Series

500891 | OE Ref: L166293
BOLT DIFFERENTIAL HOUSING
John Deere 6M 6R 6020 6030 Series
DIFFERENTIAL CARRIER
500330 | OE Ref: AL160210 9

500589 | OE Ref: AL208846 19 20 21 18 19 8 14 18 15
John Deere 6J 6M 6R 6020 6030 7020 7050 7080 9000 Series

500842 | OE Ref: L114209
John Deere 6M 6R 6010 6020 7030 Series

DIFFERENTIAL KIT
John Deere 6R 6M Series


























































TRACK ROD ASSEMBLY











500940 | OE Ref: AL224138 1
John Deere 6M 6R Series



STEERING CYLINDER SHIM
500942 | OE Ref: L216924
John Deere 6M 6R Series

STEERING CYLINDER ROD
500943 | OE Ref: AL228338
John Deere 6M 6R Series

500946 | OE Ref: AL224140
John Deere 6M 6R Series

TRACK ROD NUT
500949 | OE Ref: L171642
John Deere 6M 6R Series

STEERING CYLINDER O-RING KIT
500944 | OE Ref: AL228339
John Deere 6M 6R Series

TRACK ROD END BOOT SEAL
500947 | OE Ref: AL209609
John Deere 6M 6R Series

TRACK ROD BALL JOINT NUT
500950 | OE Ref: L217271 5
John Deere 6M 6R Series

TRACK ROD END
John Deere 6M 6R Series
500945 | OE Ref: AL224139 6 7 8 9 10 11 4

TRACK ROD END BOOT
500948 | OE Ref: AL209610
John Deere 6M 6R Series
















FRONT AXLE HUB SEAL
59854 | OE Ref: AL160535
John Deere 6005 6010 6020 6030 7030 Series
4

SPACER FRONT AXLE
KNUCKLE HOUSING
500607 | OE Ref: L216820
John Deere 6M 6R Series
7

FRONT AXLE
KNUCKLE HOUSING RH
501005 | OE Ref: L220318
John Deere 6M 6R Series
2
3 1

SNAP RING FRONT AXLE
KNUCKLE HOUSING
500609 | OE Ref: L171986
John Deere 6J 6M 6R Series
5

SNAP RING
500338 | OE Ref: L156859
John Deere 6J 6M 6R
6020 6030 7030 Series
8

DRAIN PLUG
500803 | OE Ref: 15M7020
John Deere 6M 6R 6010 6030 7020 Series


BALL BEARING
501001 | OE Ref: AL175771
John Deere 6M 6R Series
6

FRONT AXLE
KNUCKLE HOUSING LH
501004 | OE Ref: L220317
John Deere 6M 6R Series
9

SEALING RING
500804 | OE Ref: 51M4236
John Deere 6M 6R 6020 6030 7030 Series
18
19 10 11

HOUSING BOLT
500913 | OE Ref: L218665
John Deere 6M 6R Series

HOUSING NUT
500912 | OE Ref: 6053434
John Deere 6M 6R Series
20 12

TAPERED ROLLER BEARING
501014 | OE Ref: AL175783
John Deere 6M 6R Series
21 13

KING PIN SEAL
56636 | OE Ref: AL175778
John Deere 6M 6R 7030
8000 9000 Series


KING PIN
501015 | OE Ref: L218740
John Deere 6M 6R Series

KING PIN SHIM
501003 | OE Ref: AL160138
John Deere 6M 6R Series



FRONT AXLE KING PIN SEAL 580000 | OE Ref: 76086014
John Deere 6000 7000 10 20 30 Series

KING PIN 57140 | OE Ref: AL172488
John Deere 6M 6R Series

STUB AXLE BEARING 500322 | OE Ref: AL172489 16
John Deere 6M 6R 6020 6030 7020 7030 Series

KING PIN COVER
500800 | OE Ref: L208688 20
John Deere 6J 6M 6R Series

22

FRONT AXLE BUSHING 500799 | OE Ref: L166758
John Deere 6R 6020 7020 Series
18 19 20 21 23 24 26

WHEEL POSITION SENSOR CONNECTING ADAPTER
500798 | OE Ref: L165796
John Deere 6M 6R 7R Series

John Deere 6M 6R 6020 7020 Series

KING PIN 500834 | OE Ref: L218742
John Deere 6J 6M 6R 6020 Series

WHEEL POSITION SENSOR CONNECTION DISC
500796 | OE Ref: L165798
John Deere 6M 6R 6020 Series






























HUB SEAL
62716 | OE Ref: 3785511M1
Industrial John Deere Series
Case IHC CVX Maxxum MX Series

O-RING FRONT AXLE WHEEL HUB


500313 | OE Ref: L156870 1 2 5 6 4 1 2 3 4 5 6 7 8 9 10 11 12 13 14 15 16 17 18 19
500606 | OE Ref: L113950
John Deere 6J 6M 6R 6020
6030 7020 7030 Series





FRONT AXLE
KNUCKLE HOUSING HUB
500829 | OE Ref: L217078
John Deere 6M 6R Series

TAPERED ROLLER BEARING
500283 | OE Ref: AL81844
John Deere 6M 6R 6010
6020 6030 7030 Series







MFWD SNAP RING
John Deere 6J 6M 6R 6020
6030 7020 7030 Series









RING GEAR SUPPORT


500827 | OE Ref: L217115
John Deere 6M 6R Series



NUT PLANETARY RING GEAR

500593 | OE Ref: L220017
John Deere 6R 6M Series

PLANETARY RING GEAR


PLANETARY DRIVE LOCK PLATE
500309 | OE Ref: L216840
John Deere 6M 6R Series
500585 | OE Ref: L216839 11 12
John Deere 6R 6M Series

500826 | OE Ref: L217116
John Deere 6M 6R Series

DIFFERENTIAL KIT
500587 | OE Ref: AL209970
John Deere 6M 6R Series



PLANETARY GEAR CARRIER
500825 | OE Ref: L218745
John Deere 6M 6R Series
500586 | OE Ref: L156853 9

FRONT AXLE THRUST WASHER
John Deere 6M 6R 6020 6030 Series
18 19 20 21 17 18 19






1 3 2 4 5 6 7 8 9 10 11 12 12 13 14 15



AXLE HOUSING O-RING
500998 | OE Ref: L208672 7 8 9
John Deere 6M 6R Series

SHORT AXLE HOUSING LH
501023 | OE Ref: AL224325
John Deere 6M 6R Series

MFWD SEAL
500335 | OE Ref: AL227049
John Deere Series


FRONT AXLE HOUSING BOLT
500951 | OE Ref: L216824
John Deere 6M 6R Series

DRAIN PLUG
500843 | OE Ref: L169942
John Deere 5M 6M 6R Series

SHORT AXLE HOUSING RH 501021 | OE Ref: AL224323
John Deere 6M 6R Series

SEALING WASHER PLANETARY HOUSING
500587 | OE Ref: Z104508
John Deere 6R 6M Series

FRONT MFWD AXLE BUSHING
500286 | OE Ref: L114652
John Deere Series
500337 | OE Ref: L113966 10 13 11 2 8 9 10 13 14 15 4 7 5 12 6

UNIVERSAL JOINT
500820 | OE Ref: AL219976

GREASE NIPPLE
500821 | OE Ref: 58M5574

DOUBLE JOINT UNIVERSAL DRIVESHAFT
501022 | OE Ref: AL219747
John Deere 6M 6R Series

UNIVERSAL JOINT
500822 | OE Ref: AL219975

MFWD THRUST BUSHING
John Deere 50 6000 7000 8000 9000 6M 6R 6D 6E 6J 6B Series
501031 | OE Ref: L216963 14 15 16 18 19 20 21
John Deere 6R 6M Series
John Deere 6M 6R 7M 7R Series
John Deere 6M 6R Series


DOUBLE JOINTED PINION SHAFT
John Deere 6M 6R Series


