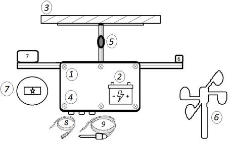
Meteohub - ръководство за инсталация

Page 1


Стъпки

Поддръжка

Turn static files into dynamic content formats.

Create a flipbook
Issuu converts static files into: digital portfolios, online yearbooks, online catalogs, digital photo albums and more. Sign up and create your flipbook.