

LASER CUT COLLECTION

Laser Cut Patterns
100% manufactured in the USA.
Solid-core 3/16” Aluminum in 4’ x 8’ standard sizes.
LEED Credits available. Learn more mozdesigns.com/sustainability
More Patterns Available Online













Flight Series, White Sand
![]()



100% manufactured in the USA.
Solid-core 3/16” Aluminum in 4’ x 8’ standard sizes.
LEED Credits available. Learn more mozdesigns.com/sustainability
More Patterns Available Online













Flight Series, White Sand
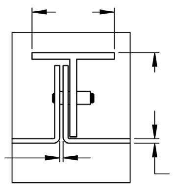
Hat Channel mounts to the wall
Panels mount to Hat Channel (Includes fastening screws in finish to match)

Standard: 3”
Standard: 1 1/2” - 2”
1/8” gap

1 1/2” on center
Mounting screws and anchors by others
.090” Aluminum (Minimum thickness)


Stream Pattern, Snow

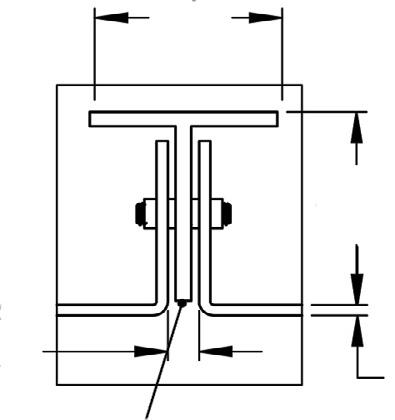
Option 1 Option 2
(GAP)

Panel KeySlot hooks onto pins (Requires 1” spacing at top of panel for installation) 1 1/2”
11/16”
(GAP)
1/2”

Visible accent edge
11/16”



Panel Gripper
Panel
Panels include posts with brackets and grippers for a complete room divider kit ready for installation.




Superior Durable finishes available for interior and exterior applications.
Additional colors with extended warranties of 10-20 years are available for exterior applications.

More Colors Available Online







