Cocinas
Fecha de elaboración
Fecha de revisión

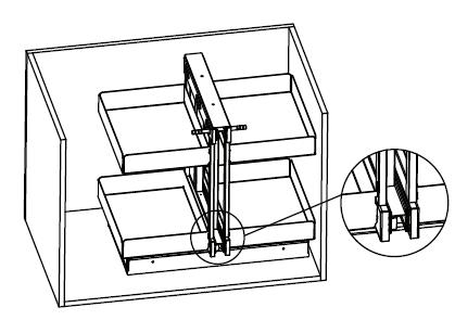
Seguir detalladamente el Instructivo de instalación para su montaje
IZQUIERDA Y DERECHA EN UNO
24 10 25
*Puerta minima 45 cm
*Medidas del módulo basadas en tableros de 15 y 18 mm.

Máximo 5 kg por canasta
ESQUINA MAGICA EN GRIS GRAFITO, MODULO DE 900mm IZQUIERDA Y DERECHA

Funciona como módulo derecho e izquierdo
Acero
Pintura electrostática graffito mate
Suministro: 1 Esquina Mágica de cuatro bandejas
(Medidas de referencia para su instalación. Se puede generar cambios a la información publicada en este documento sin previo aviso)





