Rustler MIG EM 350C PRO Synergic

Page 1

Rustler

EM 280C PRO, EM 350C PRO, EM 350C PRO SYNERGIC, EM 350C PRO MV SYNERGIC

Sparepartslist

0448320001 GB 20240216 Validfor:OP250YY-,OP316YY-XXXXXX

Orderingno. Denomination Notes

0448280880 Rustler EM 280CPRO WithExeorTorch315,Remote4 m

0448350881 Rustler EM 350CPRO WithExeorTorch315,Remote4 m

0448350882 Rustler EM 350C PROSynergic WithExeorTorch315,Remote4 m

0448350883 Rustler EM 350C PRO MV Synergic

0448280890 Rustler EM 280CPRO

0448350891 Rustler EM 350CPRO

0448350892 Rustler EM 350CPRO Synergic

0448350893 Rustler EM 350C PRO MV Synergic

WithExeorTorch315,Remote4 m

0463930* Rustler EMPRO Instructionmanual

0463932001 Rustler EMPRO Servicemanual

SparepartsmaybeorderedthroughyournearestESABdealer,see esab.com.Whenordering, pleasestateproducttype,serialnumber,denominationsandorderingnumbersaccordingtothespare partslist.Thisfacilitatesdispatchandensurescorrectdelivery.

Maintenanceandrepairworkshouldbeperformedbyanexperiencedperson,andelectricalworkonly byatrainedelectrician.Useonlyrecommendedspareparts.

Foraccessoriestotheproduct,seetheinstructionmanual.

Thethreelastdigitsinthedocumentnumberofthemanualshowtheversionofthemanual.Therefore theyarereplacedwith*here.Makesuretouseamanualwithaserialnumberorsoftwareversionthat correspondswiththeproduct,seethefrontpageofthemanual.

TABLEOFCONTENTS 0448320001 -3- ©ESABAB2024 1 SPAREPARTS 4 1.1 Chassismodule........................................................................................................... 4 1.2 Housingmodule .......................................................................................................... 6 1.3 Supportingmodule...................................................................................................... 8 1.4 Frontpanel 10 1.5 Rearpanel 12 1.6 IGBTmoduleRustlerEM280CPRO.......................................................................... 14 1.7 IGBTmoduleRustlerEM350CPRO,350C PRO Synergic ...................................... 16 1.8 IGBTmoduleRustler EM 350C PRO MV Synergic ................................................... 18 1.9 Rectifiermodule .......................................................................................................... 20 1.10 Mountingplatemodule,RustlerEM 280C PRO,350C PRO,350C PRO Synergic 22 1.11 Mountingplatemodule,Rustler 350C PRO MV Synergic 25

1.1 Chassismodule

C=Componentdesignationinthecircuitdiagram

1 SPAREPARTS 0448320001 -4- ©ESABAB2024
1 SPAREPARTS
Item Qty Orderingno. Denomination Notes C 1 1 Basemetalcaseassy 2 2 0349309845 Wheel SR200,alsoorderpos.11 3 1 Gascylindershelf 4 2 0455467001 Castorwheel D100H125 5 1 Frontwheelsbracket 6 15 Screw MRTcombi,M6×16 7 4 Screw MRT,M6×16black 8 2 Reinforcementassy 9 2 ReinforcementRHS 10 2 Plainwasher 20-200HV-A2K 11 2 0192859026 Lockingwasher TypeP
1 SPAREPARTS 0448320001 -5- ©ESABAB2024
1 SPAREPARTS 0448320001 -6- ©ESABAB2024
Item Qty Orderingno. Denomination Notes C 1 1 0448206001 Frontmetalshield 2 1 0448352780 Frontwaterproofplate complete 3 1 Sidepanellabel Rustler,seeitem202 4 1 Weldparameterlabel Rustler,seeitem202 5 1 0448381001 Topmetaltrimstrip1 6 1 0448382001 Topmetaltrimstrip2 7 1 Capforstrip Left,seeitem201 8 1 Capforstrip Right,seeitem201 9 1 0448380780 Topmetalcase 10 1 Metaldoor Left,seeitem202 11 1 0448209001 Sidepanel Right 12 1 0448154001 Cableholder 13 1 0448155001 Torchholder 15 1 Lowermetalcover Left,seeitem202 16 1 Windowcover Seeitem202 17 2 0448433780 Hinge Seeitem202 18 2 0448406001 Doorhatch Seeitem202 19 5 Screw MRTM4×12 20 5 Springwasher 21 10 Plainwasher 4-200HV-A2K,seeitem202 22 18 Washerlock AZ4.3×8ST,seeitem202 23 37 Screw MRTM5×12black,seeitem 202 24 1 Screw MRTM6×16black,seeitem 202 25 1 Chain L=700 26 1 Hexagonnutwithflange 27 8 Screw MRTM4×8black,seeitem 202 29 1 Washer 30 1 Groundcableharnesses 31 4 Screw MRTM5×20 32 4 Springwasher 33 4 Plainwasher 5-200HV-A2K
1.2 Housingmodule C=Componentdesignationinthecircuitdiagram

C=Componentdesignationinthecircuitdiagram

0448320001 -7- ©ESABAB2024
1 SPAREPARTS
Item Qty Orderingno. Denomination Notes C 34 5 Nutcap M3,DIN1587,seeitem202 35 1 Sealingstrip Notinillustration,seeitem 202 Item Orderingno. Denomination Notes 201 0464751071 Capkit Includingitems7and8 202 0464751086 Leftpanelkit Includingitems3,4,10,15,16,17, 18,21,22,23,27,34and35

1.3 Supportingmodule

C=Componentdesignationinthecircuitdiagram

1 SPAREPARTS 0448320001 -8- ©ESABAB2024
Item Qty Orderingno. Denomination Notes C 1 1 Bracketofcontrolboard Left 2 33 Screw M5×10 3 1 Metalbarupperside Left 4 1 Bracketofcontrolboard Right 5 1 Metalbarupperside Right 6 1 Metalbardownside Left 7 1 Metalbardownside Right
1 SPAREPARTS 0448320001 -9- ©ESABAB2024

1.4 Frontpanel

C=Componentdesignationinthecircuitdiagram

1 SPAREPARTS 0448320001 -10- ©ESABAB2024
Item Qty Orderingno. Denomination Notes C 1 1 0464663191 Handle Left 2 1 0464663158 Handle Right 3 4 Screw M5×25 4 1 Frontusecontrolmetal panel Seeitem301,302,303and 304 5 4 Screw M3×8,seeitem301,302,303 and304 6 1 Frontmetalpanel Seeitem305 7 16 Screw M5×10 8 2 0321475893 Knob D36-1/4in.AristoFeed 9 7 Blackrubber 10 2 Rubberforencoder Seeitem301,302,303and 304 11 1 CottonshadingofLED Seeitem301,302,303and 304 12 1 FrontpanelPCB Seeitem301,302,303and 304 1AP1 13 1 0448207002 Frontmetaltrimstrip 14 1 0448207001 Frontmetaltrimstrip 15 1 0448355781 Polaritychangecable 35 mm2,Rustler EM 280C PRO 0448355780 50 mm2 , Rustler EM 350C PRO, 350C PROSynergic and 350C PROMV Synergic 16 2 0160362881 OKCwithrubberseal 18 1 Frontlouverinside 19 1 Label Frontpanel,seeitem301, 302,303and304 20 1 Label Rustler PROfront,seeitem 305 21 1 Decal ESABlogo,seeitem305 22 1 Label Rustler PRO Item Orderingno. Denomination Notes 301 0464751038 HMIkit,Frontpanel,EM 280C PRO Includingitems4,5,10,11,12and 19 302 0464663192 HMIkit,Frontpanel,EM 350C PRO Includingitems4,5,10,11,12and 19 303 0464751072 HMIkit,Frontpanel,EM 350C PROSynergic Includingitems4,5,10,11,12and 19
1 SPAREPARTS 0448320001 -11- ©ESABAB2024 Item Orderingno. Denomination Notes 304 0464751073 HMIkit,Frontpanel,EM 350C PRO MV Synergic Includingitems4,5,10,11,12and 19 305 0464751074 Frontmetalpanelkit Includingitems6,20and21

1.5 Rearpanel

C=Componentdesignationinthecircuitdiagram

1 SPAREPARTS 0448320001 -12- ©ESABAB2024
Item Qty Orderingno. Denomination Notes C 1 1 0464751075 Rearpanel Rustler EM 280C PRO, 350C PRO, 350C PRO Synergic 0464751076 Rustler EM 350C PRO MV Synergic 2 1 0464663277 Inletfitting 3 1 0464663175 Mainsswitch 2SW1 4 1 0464663174 Mainscable Rustler EM 280C PRO, 350C PRO, 350C PRO Synergic 0464751077 Rustler EM 350C PRO MV Synergic 5 1 Gastube 6 1 0464663308 Quickconnectionfitting 7 1 0464663177 Solenoidvalve 8 1 0464663309 Washer 9 2 Screw M4×16,seeitem401 10 2 Pressurelockforcord Seeitem401 11 2 Nut M4,seeitem401 12 4 Screw M5×10 13 1 Cover Wirefeeder 14 1 Cover Socketofheater 15 1 0464663176 Cablegland Rustler EM 280C PRO, 350C PRO, 350C PRO Synergic 0464663278 Rustler EM 350C PRO MV Synergic 16 1 0464663279 Coolingfan 20EV1 17 1 Fanbracket 18 4 Screw ST5.0×20 19 1 Label Mainswitch,PRO 20 1 0349484713 Plug16A Rustler EM 280C PRO, 350C PRO, 350C PRO Synergic 0349484716 Rustler EM 350C PRO MV Synergic Item Orderingno. Denomination Notes 401 0464751055 Pressurelockit Includingitems9,10and11
1 SPAREPARTS 0448320001 -13- ©ESABAB2024

C=Componentdesignationinthecircuitdiagram

1 SPAREPARTS 0448320001 -14- ©ESABAB2024 1.6 IGBTmoduleRustlerEM280CPRO
Item Qty Orderingno. Denomination Notes C 1 1 HeatsinkofIGBT Upper 2 1 HeatsinkofIGBT Lowerright 3 1 Thermalprotection Seeitem501 4 1 Cover Thermalprotection,seeitem 501 5 3 Screw M3×8,seeitem501 6 1 HeatsinkofIGBT 7 2 Copperbolt 8 1 0464751036 InverterPCBkit 1Q5 9 2 Screw M5×16 10 6 Screw M4×16 11 1 Insulationpadofheatsink ofIGBT 12 12 Screw 13 2 0464663275 Cablecover 14 1 Bracket 15 1 0464751037 Bridgemodule Withthermalpaste 16 1 Heatsinkofbridgemodule 17 4 Screw M5×10 18 1 0464663170 Capacitor Item Orderingno. Denomination Notes 501 0464663302 Thermalprotectionkit Includingitems3,4and5
1 SPAREPARTS 0448320001 -15- ©ESABAB2024
1 SPAREPARTS 0448320001 -16- ©ESABAB2024 1.7 IGBTmoduleRustlerEM350CPRO, 350C PRO Synergic C=Componentdesignationinthecircuitdiagram Item Qty Orderingno. Denomination Notes C 1 1 HeatsinkofIGBT 2 1 Insulationrodofheatsink ofIGBT Right 3 1 0464663196 Thermalprotection 4 2 Screw M3×8 5 8 0464663310 Insulationpad 6 8 Screw M5×30 7 1 0464663168 Bridgemodule Withthermalpaste 8 6 Screw M6×16 9 1 Insulationrodofheatsink ofIGBT Vertical 10 2 Insulationrodofheatsink ofIGBT Horizontal 11 2 0464663198 Capacitor 12 2 IGBTmodule Seeitem601 13 1 Copperrod 14 1 Bracketforheatsinkof IGBT 15 4 Screw M5×10 16 4 Washer Ø6 17 4 Washer Ø6 18 4 Nut M6 19 4 Screw M5×12 20 4 Washer Ø6 21 1 Copperrod 22 4 Screw M4×8 23 1 DrivePCB Seeitem601 24 2 Screw M4×10 25 2 Cablecover Item Orderingno. Denomination Notes 601 0464663197 IGBTandPCBAssy Includingitems12and23
1 SPAREPARTS 0448320001 -17- ©ESABAB2024
1 SPAREPARTS 0448320001 -18- ©ESABAB2024
Item Qty Orderingno. Denomination Notes C 1 4 Screw M5×12 2 1 0464751037 Bridgemodule Withthermalpaste 3 10 Screw M6×16 4 2 Screw M3×8 5 1 0464663196 Thermalprotection 6 1 HeatsinkofIGBT 7 1 CopperbarofIGBT Upperleft 8 1 CopperbarofIGBT Middleleft 9 2 IGBTmodule Seeitem701 10 3 0464663198 Capacitor 11 1 Bracketforheatsinkof IGBT 12 2 Insulationrodforheatsink ofIGBT Upperright 13 1 Insulationrodforheatsink ofIGBT Left 14 1 Insulationrodforheatsink ofIGBT Upper 15 1 Copperbar Left 16 4 Screw M6×10 17 9 Screw M5×30 18 9 0464663310 Insulationpad 19 4 0464663275 Cablecover 20 4 DrivePCB Seeitem701 13AP1 21 1 Nut M6 22 6 Washer Ø6 23 6 Washer Ø6 24 1 CopperbarofIGBT Downleft 25 1 Copperbarofcapacitor Down 26 1 Copperbarofbridge Down 27 1 Copperbarofcapacitor Middle 28 6 Washer Ø6 29 3 Screw M4×8 30 2 Screw M4×10 31 1 Insulationrodforheatsink ofIGBT Down
1.8 IGBTmodule Rustler EM 350C PRO MV Synergic C=Componentdesignationinthecircuitdiagram

C=Componentdesignationinthecircuitdiagram

0448320001 -19- ©ESABAB2024
1 SPAREPARTS
Item Qty Orderingno. Denomination Notes C 32 1 Insulationrodforheatsink ofIGBT Right 33 4 Screw M3×12 34 1 0464751079 Relay Item Orderingno. Denomination Notes 701 0464751078 IGBTandPCBAssy,with thermalpaste,350MV Includingitems9and20

1.9 Rectifiermodule

C=Componentdesignationinthecircuitdiagram

1 SPAREPARTS 0448320001 -20- ©ESABAB2024
Item Qty Orderingno. Denomination Notes C 1 1 Heatsinkofrectifier 2 2 Copperbolt 3 3 Screw M3×8 4 1 RectifierPCB 10 Diode 5 1 Copperrod 6 1 0464663280 NTC 7 4 Screw M5×10 8 2 Insulationbarforheatsink ofrectifier 9 2 Insulationbarforheatsink ofrectifier2 10 1 Bracketforheatsinkof rectifier 11 3 0464663275 Cablecover 12 8 0464663310 Insulationpad 13 8 Screw M5×30 14 2 Nut M8 15 1 Screw M8×20 16 2 Copperandaluminium plate 17 1 Screw M4×30 18 1 0464663159 Hallsensor 19 1 Insilationboardofhall 20 1 Nut M4 21 1 0464751085 Inductorfor350CMV Item Orderingno. Denomination Notes 801 0464663260 RectifierPCBkit Includingpos.4.ForRustlerEM 280C.Withthermalpaste. 802 0464663187 RectifierPCBkit Includingpos.4.ForRustlerEM 350CPROand350CPROSynergic. Withthermalpaste. 803 0464751080 RectifierPCBkit Includingpos.4.ForRustlerEM 350CPROMVSynergic.With thermalpaste.
1 SPAREPARTS 0448320001 -21- ©ESABAB2024
1 SPAREPARTS 0448320001 -22- ©ESABAB2024
Item Qty Orderingno. Denomination Notes C 1 6 Screw M3×8,seeitem701 2 1 LEDPCBinside Seeitem701 1AP3 3 1 0464663182 Spool 15 kg 4 2 Screw M5×16 5 2 Screw M5×25,seeitem702 6 2 Washer Ø5 7 2 Washer Ø5 8 13 Screw M5×10 9 1 Middlesupportplate Seeitem701 10 2 Nut M4,seeitem701 11 2 Washer Ø4,seeitem701 12 4 Washer Ø4,seeitem701 13 1 BracketofinsideLED Seeitem701 14 3 InsideLED Seeitem701 15 1 InsideLEDshading Seeitem701 16 1 Switchofsidepanel 17 1 0445774885 Wirefeeder 20M1 18 1 Bracketofwirefeeder 19 1 Wirefeederinsulation paper 20 2 0464663193 Blackrubber 21 5 0464663275 Cablecover 22 2 Nut M5 23 3 Cabletie 24 1 0464663154 SynergicPCB RustlerEM280CPROand 350CPRO 1AP2 0464663162 RustlerEM350CPRO Synergic 25 1 EMCinsulatepaper 26 1 0464663172 EMCPCB RustlerEM280CPRO,350C PROand350CPROSynergic 2AP1 27 2 Screw M4×10,seeitem702 28 1 Mountingplate 29 1 Cablelocker Upperside,seeitem702 30 1 Insulationpaperofmain PCB
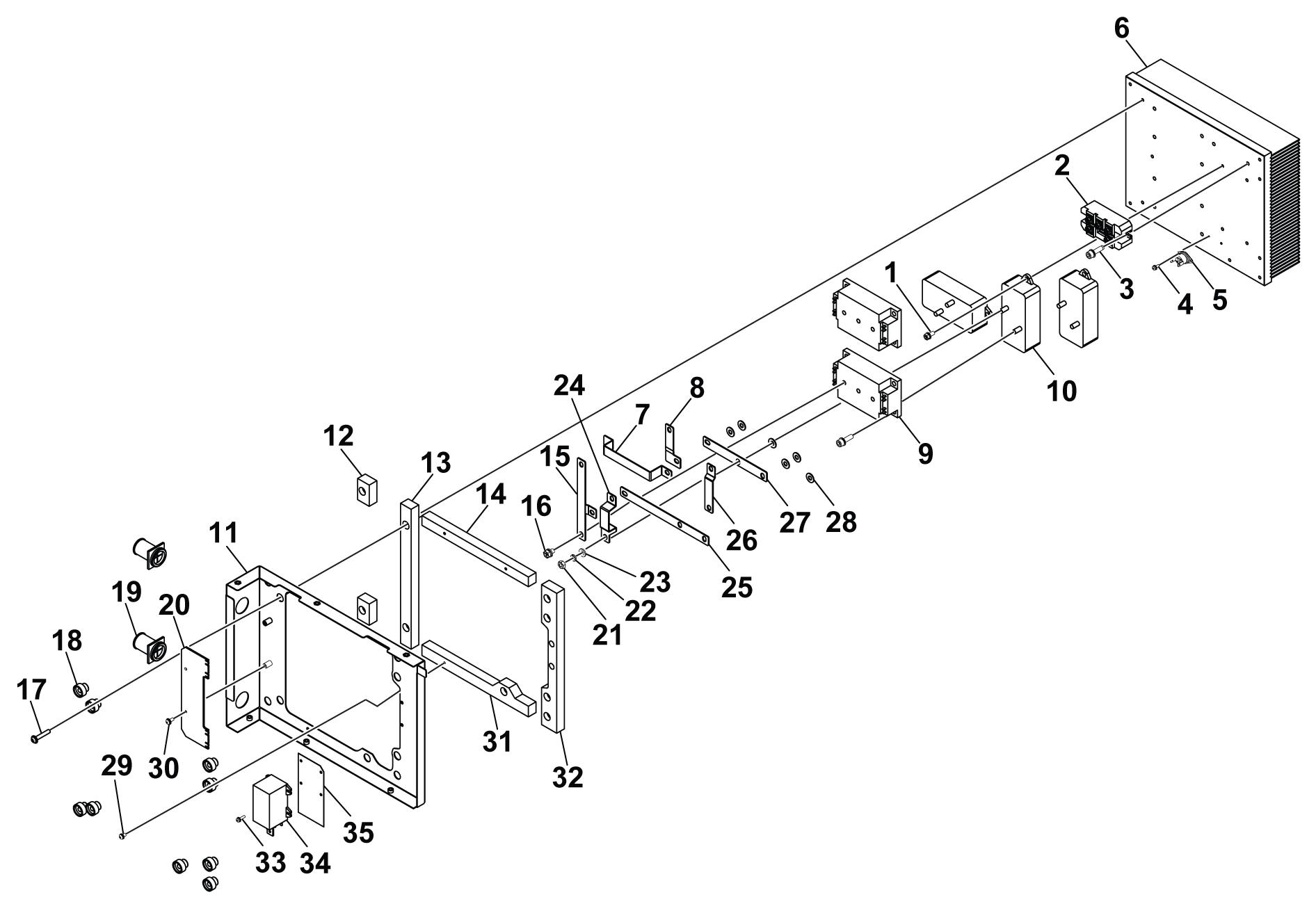
1.10 Mountingplatemodule,RustlerEM 280C PRO, 350C PRO,350C PRO Synergic C=Componentdesignationinthecircuitdiagram

C=Componentdesignationinthecircuitdiagram

1 SPAREPARTS 0448320001 -23- ©ESABAB2024
Item Qty Orderingno. Denomination Notes C 31 1 0464751081 ControlboardPCB RustlerEM280CPRO 0464663171 RustlerEM350CPRO 0464663261 RustlerEM350CPRO Synergic 32 1 Bracketofheatsink 33 1 Cablelocker Downside,seeitem702 34 2 Screw M5×20 35 1 0464663161 Frequencytransformer RustlerEM280CPRO,350C PROand350CPROSynergic 36 1 Bracketoftransformer 37 1 0464663306 Insulationpadforheatsink ofcontrolboard 38 1 0464663310 Insulationpad 39 2 Screw M4×30 40 1 0464663276 Maintransformer RustlerEM280CPRO 0464663164 RustlerEM350CPROand 350CPROSynergic 41 1 0445813001 Torchconnectorseat 42 2 Screw MRTM5×10blac 43 1 Lockingnut 5BH6 Item Orderingno. Denomination Notes 901 0464663183 LEDkit Includingitems1,2,10,11,12,13, 14and15 902 0464663304 Cablelocklit Includingitems5,27,29and33
1 SPAREPARTS 0448320001 -24- ©ESABAB2024
1 SPAREPARTS 0448320001 -25- ©ESABAB2024
C=Componentdesignationinthecircuitdiagram Item Qty Orderingno. Denomination Notes C 1 6 Screw M3×8,seeitem801 2 1 LEDPCBinside Seeitem801 1AP3 3 1 0464663182 Spool 15 kg 4 1 Screw M5×16 5 2 Screw M5×25,seeitem802 6 2 Washer Ø5 7 2 Washer Ø5 8 7 Screw M5×10 9 1 Middlesupportplate 10 2 Nut M4,seeitem801 11 2 Washer Ø4,seeitem801 12 4 Washer Ø4,seeitem801 13 1 BracketofinsideLED Seeitem801 14 3 InsideLED Seeitem801 15 1 InsideLEDshading Seeitem801 16 1 0464663184 Switchofsidepanel 17 1 0445774885 Wirefeeder 20M1 18 1 Bracketofwirefeeder 19 1 Wirefeederinsulation paper 20 7 0464663193 Blackrubber 21 6 0464663275 Cablecover 22 2 Nut M5 23 4 Cabletie 24 1 0464663162 SynergicPCB 1AP2 25 1 EMCinsulatepaper 26 1 0464751082 EMCPCB 2AP1 27 8 Screw M4×10,seeitem802 28 1 Mountingplate 29 1 Cablelocker Upperside,seeitem802 30 1 Insulationpaperofmain PCB 31 1 0464663258 ControlboardPCB 32 1 Screw M8×90 33 1 Cablelocker Downside,seeitem802
1.11 Mountingplatemodule, Rustler 350C PRO MV Synergic

C=Componentdesignationinthecircuitdiagram

0448320001 -26- ©ESABAB2024
1 SPAREPARTS
Item Qty Orderingno. Denomination Notes C 34 2 Screw M5×20 35 1 0464751083 Frequencytransformer 36 1 Nut M8 37 1 Nut M6 38 2 Washer Ø6 39 2 Bracketoftransformer 40 1 0464751084 Maintransformer 41 1 0445813001 Torchconnectorseat 42 2 Screw MRTM5×10blac 43 1 Lockingnut 5BH6 Item Orderingno. Denomination Notes 1001 0464663183 LEDkit Includingitems1,2,10,11,12,13, 14and15 1002 0464663304 Cablelocklit Includingitems5,27,29and33
1 SPAREPARTS 0448320001 -27- ©ESABAB2024

Forcontactinformationvisit http://esab.com

ESABAB,Lindholmsallén9,Box8004,40277Gothenburg,Sweden,Phone+46(0)31509000 manuals.esab.com

Turn static files into dynamic content formats.

Create a flipbook
Issuu converts static files into: digital portfolios, online yearbooks, online catalogs, digital photo albums and more. Sign up and create your flipbook.
Rustler MIG EM 350C PRO Synergic by Luneco AB - Issuu