Fire-Rated Glass Technology

• Aesthetic
• Luxury
• Canless
![]()
Fire-Rated Glass Technology

• Aesthetic
• Luxury
• Canless
• FIRE-RATED GLASS TECHNOLOGY: Exclusive UK-patented fire-rated glass delivers built-in protection without bulky housings, preserving clean ceiling lines while meeting fire safety requirements.
• DESIGNED TO FIT, FIRST TIME: Flexible cut-outs from 43mm to 100mm with bezel sizes from 55mm to 110mm make Evofire ideal for both new builds and retrofit projects.
• LIGHT, YOUR WAY: Compatible with a wide choice of replaceable GU10 lamps, offering control over colour temperature, brightness and beam angle to shape the mood of any space.
• BUILT TO LAST, BACKED BY CONFIDENCE: Engineered with fire-rated borosilicate glass and steel, and supported by a 7-year warranty for long-term reliability and peace of mind.
Blends effortlessly into the ceiling for uninterrupted lines and a refined, architectural aesthetic.

A fine-textured powder-coat finish provides a durable, premium appearance designed to suit any interior.

A lightweight loop-in/loop-out connector combined with spring-tension clips enables fast fitting and effortless removal for bulb replacement.

An open-back, fire-rated design removes the need for traditional cans or added materials, allowing heat to escape naturally for longer product life while delivering a cleaner, shallower ceiling installation.


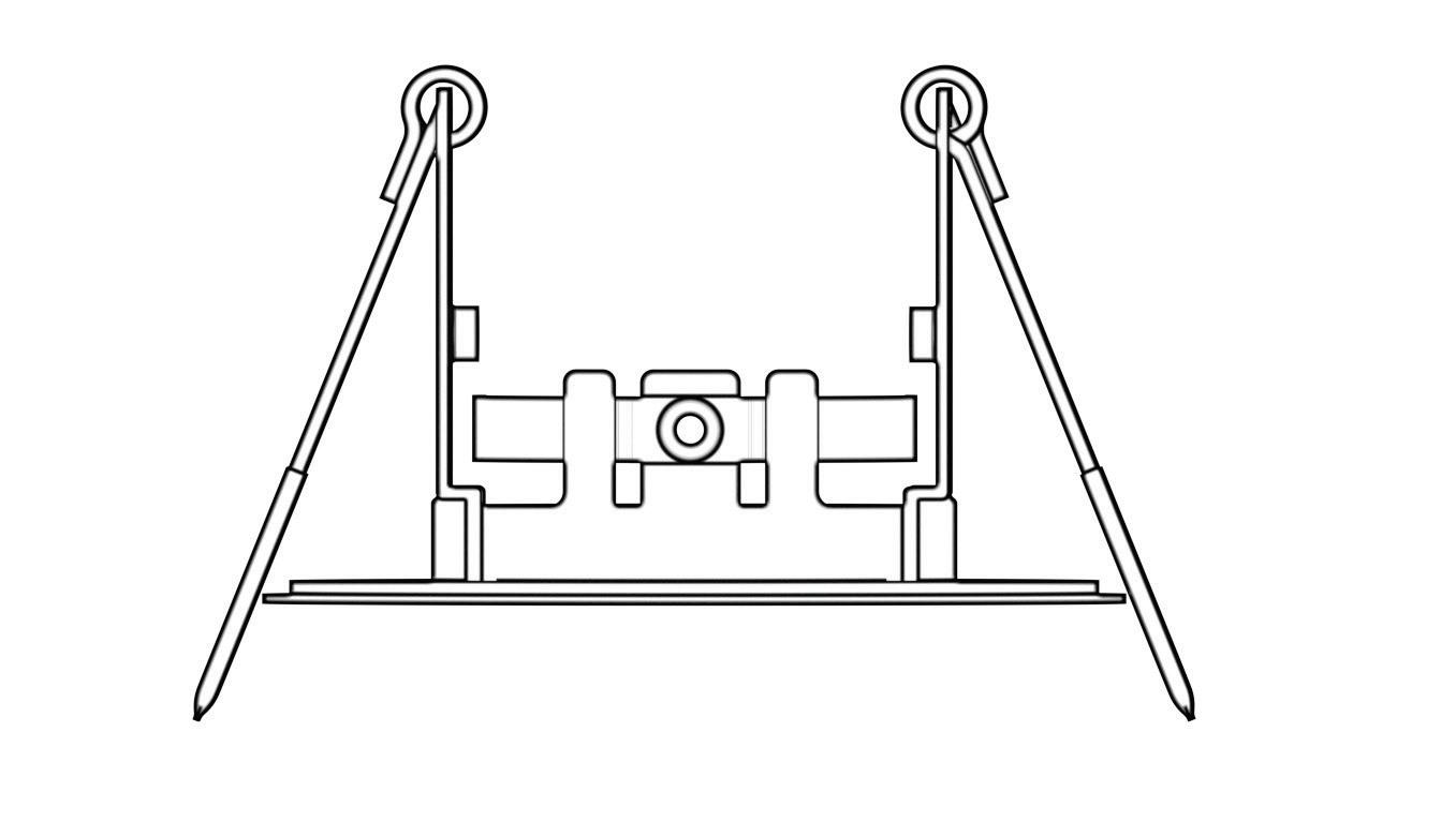
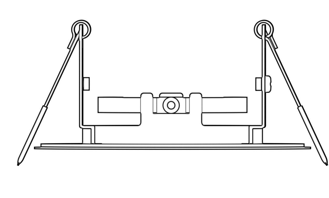
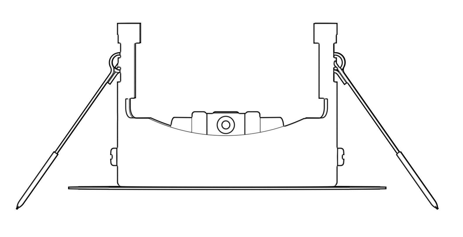
Our patented open-back design, with steel and glass construction, provides certified 30/60/90minute fire-rated protection (by a UKAS-approved 3rd-party test lab).
Evofire incorporates fire-rated protection at the front of the luminaire, rather than relying on rear-mounted cans or materials. The steel bezel and borosilicate glass assembly, tested to a proprietary formula, maintains fire integrity directly at the ceiling interface, ensuring consistent performance across ceiling types.



Fire passes the plasterboard before being stopped



and holder not included)
Our smallest, most discreet Evofire fire-rated downlight. Mini 55 features a Micro Bezel that reduces bezel size by 34%, and is suitable for MR11 and GU11 lamps.
Ι Small & Discrete Micro Bezel
Ι MR11 / GU11
Ι Great for niche lighting & general lighting Ι IP65 Ι Loop in/out connector




POLISHED CHROME ILDLFR43D062
INSULATION GUARD
ILDLFR43D074

A slender option for general lighting, Mini 64 reduces the footprint of downlights without sacrificing the GU10 base. Available in our widest range of finishes, Mini 64 is perfect for attractive interiors.
Ι Allows install flexibility for smaller-sized MR11 / GU11 downlights
Ι Ultra-thin 1mm blend-in bezel Ι IP65 Ι Loop in/out connector




SATIN NICKEL
POLISHED CHROME ILDLFR45D039
ANTIQUE BRASS




With our narrowest trim, Evofire 72 uses a Micro Bezel design to create a beautiful, seamless aesthetic. This is our most discreet GU10 downlight.
Ι 40% reduced bezel size
Ι Micro Bezel
Ι Ultra-thin 1mm blend-in bezel
Ι GU10



ILDLFR55K246

Our flagship Evofire, compatible with the most popular cut-out size, and featuring our slim bezel design.
Ι Ultra-thin 1mm blend-in bezel Ι IP65 Ι Loop in/out connector
ILDLFR70D012












ILDLFR70D004-3 3
POLISHED CHROME
ILDLFR70D017

Our flagship Evofire, compatible with the most popular cut-out size, and featuring our slim bezel design.
Ι Ultra-thin 1mm blend-in bezel
IP65
Loop in/out connector




POLISHED CHROME
INSULATION GUARD
ILDLFR70K270


Our flagship Evofire, compatible with the most popular cut-out size, and featuring our slim bezel design.
Ι Ultra-thin 1mm blend-in bezel Ι IP65 Ι Loop in/out connector




SATIN NICKEL
ILDLFR70D008

Our flagship Evofire, compatible with the most popular cut-out size, and featuring our slim bezel design. Ι Ultra-thin 1mm blend-in bezel
IP65
Loop in/out connector




SATIN NICKEL
ILDLFR70E002
ILDLFR70E004 Yes 70mm 85mm 109mm
An add-on bezel for refurbs and replacing old downlights with a range of cut-outs - reduces the need for ceiling redecoration.
Compatible with all round Evofire 85 downlights







Balancing installation flexibility with our patented bezel design for a discreet solution to retrofit downlighting.
Ι Ultra-thin 1mm blend-in bezel
IP65
Loop in/out connector




ILDLFR70K270

Balancing installation flexibility with our patented bezel design for a discreet solution to retrofit downlighting.
Ι Ultra-thin 1mm blend-in bezel
Ι IP65
Ι Loop in/out connector




POLISHED CHROME
EASY CLIP INSULATION GUARD
ILDLFR70K270

Evofire Maxi 110 maximises installation flexibility through an increased bezel size, maintaining compatibility with cut-outs from 70mm to 100mm, making it ideal for retrofit applications.
Ι Ultra-thin 1mm blend-in bezel
IP65
Loop in/out connector
SATIN NICKEL
ILDLFR70D016
ILDLFR70D014
POLISHED CHROME





With Insulation Guard With Insulation Guard With Insulation Guard


Evofire Maxi 110 maximises installation flexibility through an increased bezel size, maintaining compatibility with cut-outs from 70mm to 100mm.
Ι Ultra-thin 1mm blend-in bezel
Ι IP65
Ι Loop in/out connector



POLISHED CHROME
SATIN NICKEL
POLISHED CHROME
EASY CLIP INSULATION GUARD
ILDLFR70K270
From large-scale commercial projects to compact residential environments, the Evofire range delivers a refined aesthetic with certified protection.
EVOFIRE MINI 55 FIXED

ILDLFR43D060

NICKEL
ILDLFR43D061
EVOFIRE MINI 64 FIXED

ILDLFR45D037

POLISHED CHROME
ILDLFR43D062

ILDLFR43D065



EVOFIRE 72 FIXED

ILDLFR60D104

NICKEL
ILDLFR60D105
EVOFIRE 85 ROUND

ILDLFR70D001


ILDLFR70D003


ILDLFR60D109

SATIN NICKEL
ILDLFR70D002


ILDLFR70D004



ANTIQUE BRASS
ILDLFR45D041
ILDLFR45D038

NICKEL COPPER
ILDLFR45D043
POLISHED CHROME
ILDLFR45D039

ILDLFR45D051
ILDLFR45D040
ILDLFR70D017
POLISHED CHROME COPPER
CHROME
ILDLFR70D018

ILDLFR70D047

ILDLFR70D048
ANTIQUE BRASS
ILDLFR70D045

ILDLFR70D028
ILDLFR70D046

ILDLFR70D029
EVOFIRE 85 TILTABLE

ILDLFR70K168

ILDLFR70K169
EVOFIRE 85 SQUARE

ILDLFR70D007

POLISHED CHROME
ILDLFR70K170

ILDLFR70D009
EVOFIRE 85 RECESSED

ILDLFR70E001

SATIN NICKEL
ILDLFR70D008

ILDLFR70E003

SATIN NICKEL
ILDLFR70E002

ILDLFR70K173

ILDLFR70D010

ILDLFR70E004
EVOFIRE MIDI 92 TILTABLE

EVOFIRE MIDI 92 FIXED WHITE

ILDLFR70D051

ILDLFR70D052

POLISHED CHROME
ILDLFR70D053

ILDLFR70D054



ILDLFR70K051
EVOFIRE MAXI 110 FIXED

ILDLFR70D015

POLISHED CHROME
ILDLFR70D021
ILDLFR70K052
POLISHED CHROME
ILDLFR70K053

ILDLFR70D013

POLISHED CHROME
ILDLFR70D020
EVOFIRE MAXI 110 TILTABLE

ILDLFR70K182
SATIN NICKEL SATIN NICKEL WHITE

SATIN NICKEL
ILDLFR70D016
ILDLFR70K054


POLISHED CHROME

ILDLFR70D014
ILDLFR70K183
ILDLFR70K184
From the compact Mini 55 to the Maxi 110 for large cutouts, the six-bezel range offers flexible sizing options to suit a broad variety of installation requirements. Easily specify the right fitting for retrofits and new-builds, regardless of ceiling constraints.





RECESSED


MIDI 92 FIXED 85 TILTABLE

MIDI 92 TILTABLE


MAXI 110 FIXED

MAXI 110 TILTABLE

FIVE MILLION SOLD AND COUNTING .
The Evofire range has become the go-to product for contractors and consumers for domestic and commercial use. Our patented canless, compliant, fire-rated design offers practical benefits for installation and aesthetics.
CONSUMERS, CONTRACTORS AND DESIGNERS ALL BENEFIT.
For consumers, Evofire fire-rated downlights combine modern practicality with subtle beauty. The 1mm blend-in bezel and choice of finishes elevate home interiors in any ceiling.

Ι Attractive
Ι Cost-effective
Ι Durable steel and glass construction
Ι Energy efficient with choice of LED lamps
Ι Lightweight, easy to change lamp
Electrical contractors using Evofire will enjoy effortless installation and removal, low-profile options for tight spaces and quick wiring via push-fit or loop-in/loop-out connectors. Our entire range offers flexibility for refurbishing projects where ceiling holes already exist and is IP65 rated, making them suitable for bathrooms.

Ι Easy to fit
Ι Insulation guard option
Ι Premium look
Ι Secure
Ι Tested
Ι Trusted
As designers, the Evofire completes your vision with an attractive, sleek look that blends into the ceiling to avoid interruption and prohibit distraction. Select from a range of premium finishes and light appearances to enhance every room.

Ι Accepts GU10 lamps with CCT and brightness options
Ι High CRI
Ι Low glare (recessed options)
Ι Tilt options
Ι UK compliant
Pair 50mm GU10 lamps or low-profile Evolight modules with full-size Evofire variants, and choose 35mm GU10 lamps for Evofire Mini. Our range of light sources allows you to be flexible with every luminaire, opting for the right level of light and colour temperature for every space.






GLASS GU10
WARMTONE GU10
REAL COLOUR GU10
CLASSIC GU10 ILGU10NC102
HIGH LUMEN GU10
35MM MR11 GU10
Evolight is the low-profile, efficient alternative to GU10 Lamps, blending the optics and performance of integrated downlights with the modularity of lamps. It’s easy to install, and doesn’t need a lamp holder or external driver to seamlessly integrate into your Evofire fire-rated downlight.
MR16
Easy to connect

50mm Diameter
ledsales@integral-led.com www.integral-led.com

salesfr@integraleurope.com www.integral-led.com +31 (0) 85 13 03554 netherlands@integraleurope.com www.integral-led.com