
1 minute read
ASSEMBL Y MUL TI-PURPOSE CIRCUIT PROPORTIONAL CONTROL KIT
from CNH Multi-purpose circuit proportional control kit - CX210D Crawler excavator Manual 47844483 - PDF
Line assemblies (91) and (95)


Set the line assembly (left) (91) the
SMIL15CEX2830AB 2
Sandwich the line assembly (left) (91) two locations with two pipe clamps (86) and then fasten with two sems bolts (*1) each.
• Fasten one pipe clamp (86) a position 250 ( 9.8 ) from the rear end the line assembly (left) (91)

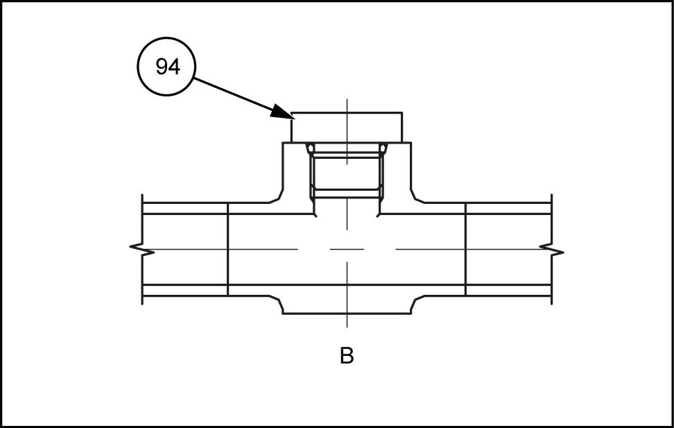
Install the plug (94) the line assembly (left) (91) .
SMIL15CEX2468AB 3
SMIL15CEX2469AB 4
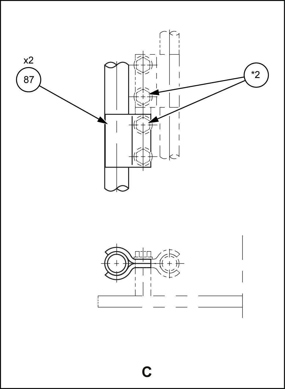
Sandwich the line assembly (left) (91) with two pipe clamps (87) , and then fasten with two sems bolts (*2)
• Fasten the pipe clamp (87) a position 285.0 ( 1 ) from the front end the line assembly (left) (91)
Install the line assembly (right) (95) the same way the line assembly (left) (91)
Line assemblies (92) and (96)

Set the line assembly (left) (92)

Fasten the line assembly (left) (92) with the one pipe clamp (89) and the two sems bolts (88)
• Fasten the pipe clamp (89) a position 1 ( ) from the front end the line assembly (left) (92)



SMIL15CEX2472AB 7
Set the O - ring (93) the rear end the line assembly (left) (92) , and then connect the line assembly (left) (91)
Set the O - ring (101) the front end the line bly (left) (92) , and then install the plug (100)
SMIL15CEX2473AB 8
SMIL15CEX2474AB 9
Install the line assembly (right) (95) the same way the line assembly (left) (91)