
1 minute read
96 50 80 42 4 Prigioniero Stud bolt Goujon prisonnier Stiftschraube
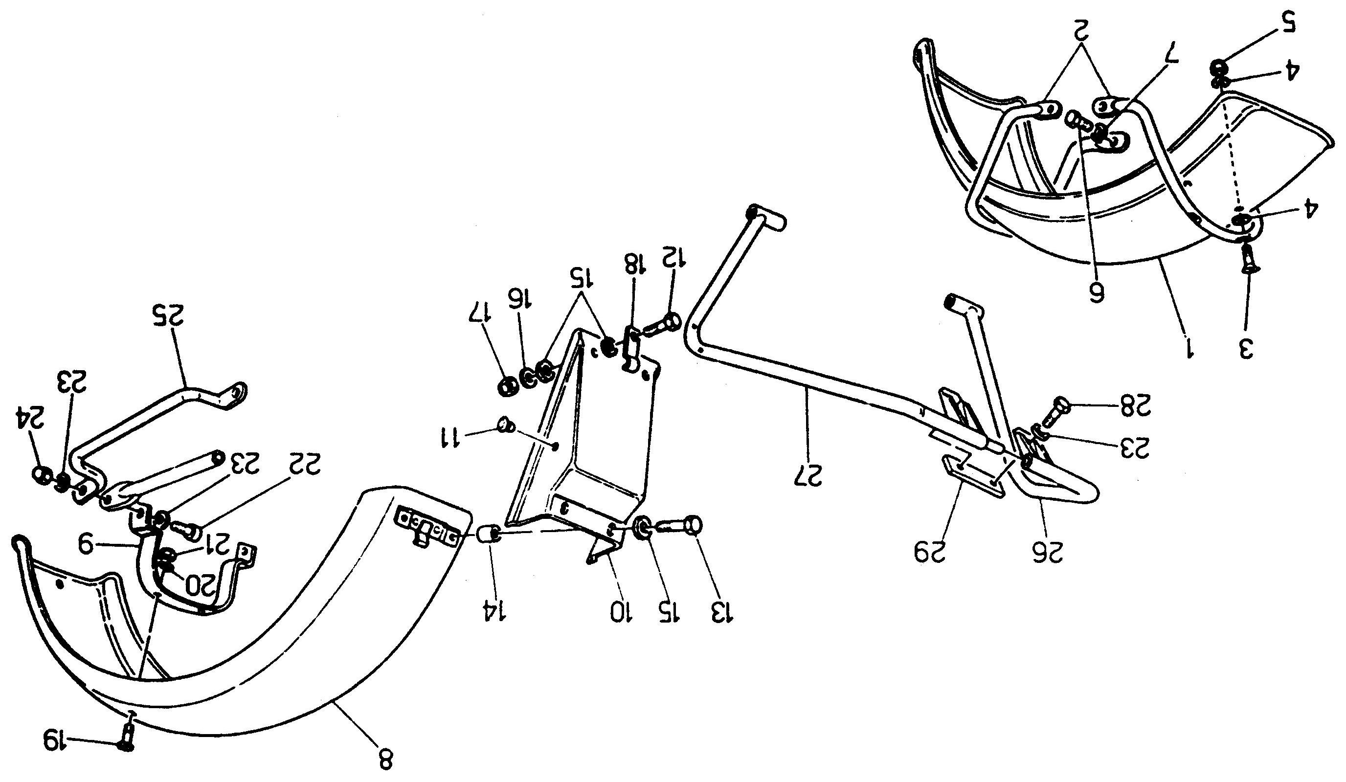
PARAFANGHI ANT E POST - PARAURTI FRONT & REAR MUDGUARD - BUMPER GARDE-BOUE AV & AR - PARE-CYLINDRES VORD. & HINT. KOTFLÜGEL STOSSDÄMPF. Tavola - Drawing Planche - Bild
NOTE N° REFERENCE QTY DENOMINAZIONE DESCRIPTION DÉSIGNATION BEZEICHNUNG
Advertisement
1 14 43 44 70 1 Parafango anteriore Front mudguard Garde boue AV Vord. Kotflügel 2 14 43 46 70 2 Braccio ant. e post. Front and rear arm Support AV et AR de garde-boue AV Vord. und Hint. Arm 3 98 27 06 25 4 Vite Screw Vis Schraube 4 95 00 02 06 8 Rondella Washer Rondelle Scheibe 5 92 63 01 06 4 Dado autobloccante Nut Écrou Mutter 6 98 05 44 18 4 Vite Screw Vis Schraube 7 95 00 02 08 4 Rondella Washer Rondelle Scheibe 8 14 43 70 70 1 Parafango posteriore Rear mudguard Garde boue AR Hint. Kotflügel 9 14 43 91 70 1 Supporto parafango Bracket Support de garde-boue AR Halter 10 14 43 87 00 1 Paraspruzzi Mudguard flap Bavette de garde-boue AR Kotflügelkoerder 11 93 18 00 80 2 Gommino Rubber Caoutchouc Gummistück 12 98 05 43 20 2 Vite Screw Vis Schraube 13 98 05 43 35 2 Vite Screw Vis Schraube » 14 91 18 07 12 2 Distanziale Spacer Entretoise Distanzstück 15 93 11 00 60 6 Spessore in gomma Rubber spacer Entretoise caoutchouc Distanzstück 16 95 10 01 41 2 Rondella Washer Rondelle Scheibe 17 92 63 01 06 2 Dado Nut Écrou Mutter 18 93 30 13 13 2 Cavallotto Cramp Cavalier Krampe 19 98 32 60 13 2 Vite Screw Vis Schraube 20 95 10 01 37 2 Rondella Washer Rondelle Scheibe 21 92 63 02 06 2 Dado Nut Écrou Mutter 22 98 82 24 25 2 Vite Screw Vis Schraube 23 95 00 42 08 6 Rondella Washer Rondelle Scheibe 24 92 78 10 81 2 Dado cieco Nut Écrou Mutter 25 14 46 43 70 2 Maniglia sollevamento Handle Poignée Griff 26 17 45 03 00 1 Paraurti destro R.H. bumper Pare-cylindre D. Stossdämpfer R. 27 17 45 04 00 1 Paraurti sinistro L.H. bumper Pare-cylindre G. Stossdämpfer L. 28 98 05 44 20 2 Vite Screw Vis Schraube 29 17 45 17 50 1 Piastrina Plate Contre-plaque Platte






