
1 minute read
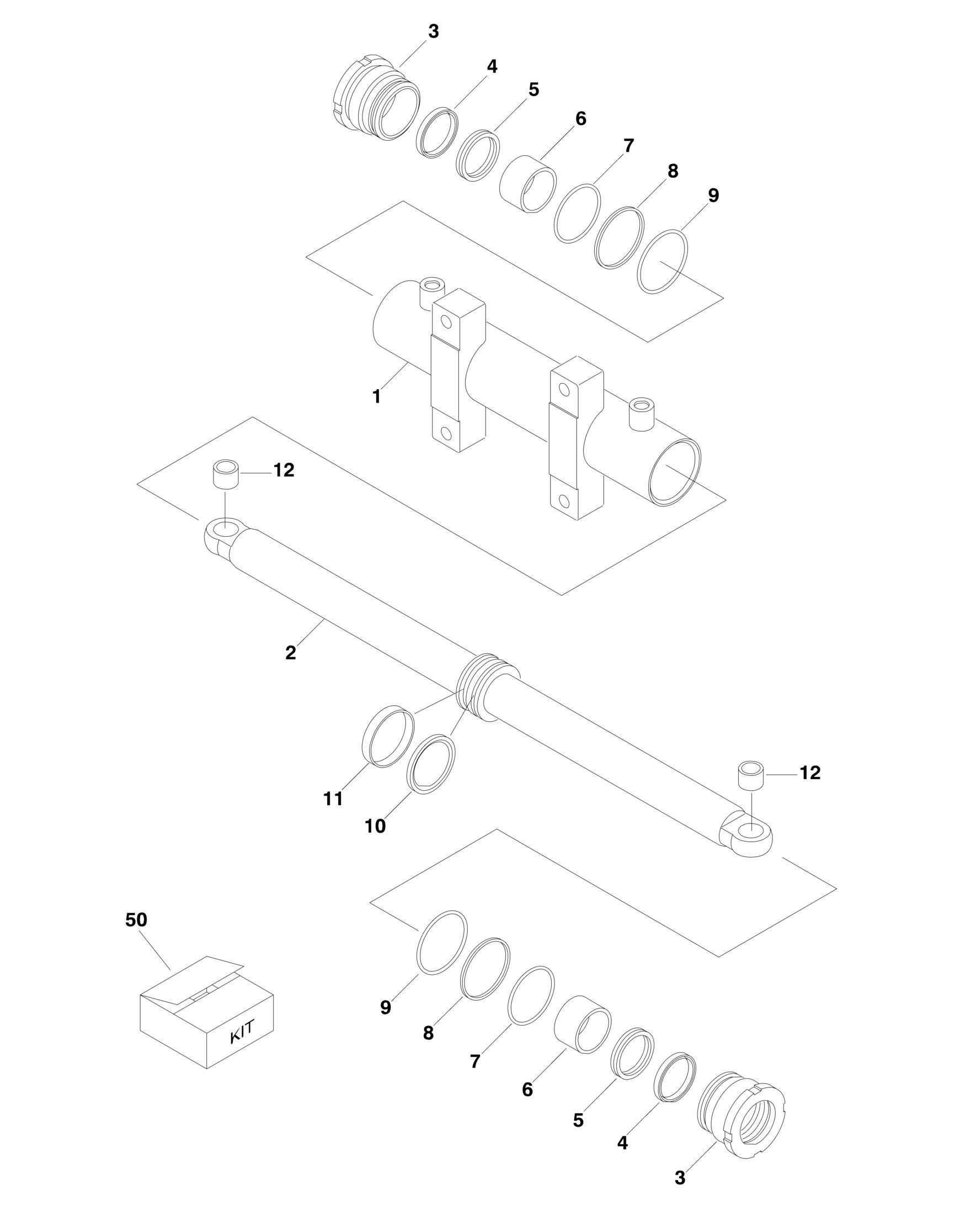
FIGURE 5-21. ROMANIAN BUILT MACHINES/STEER CYLINDER
ITEM PART NUMBER QTY
DESCRIPTION
Ref USA Built Machines use SNs 03xxxxxxxx. Ref Romanian Built Machines use SNs E3xxxxxxxx. 1001143434 Ref STEER CYLINDER ASSEMBLY 1 70003933 1 Barrel 2 70003934 1 Rod 3 70003098 2 Head 4 70003099 2 Wiper 5 70003099 2 Seal, Rod 6 70003099 2 Bearing 7 70003099 2 O-Ring 8 70003099 2 Ring, Back-up 9 70003099 2 O-Ring 10 70003099 1 Seal, Piston 11 70003099 1 Ring, Wear 12 70003099 2 Bearing 50 70003099 1 Seal Kit - 1001143434 Cylinder (includes Items 4-12)
REV
D






