
1 minute read
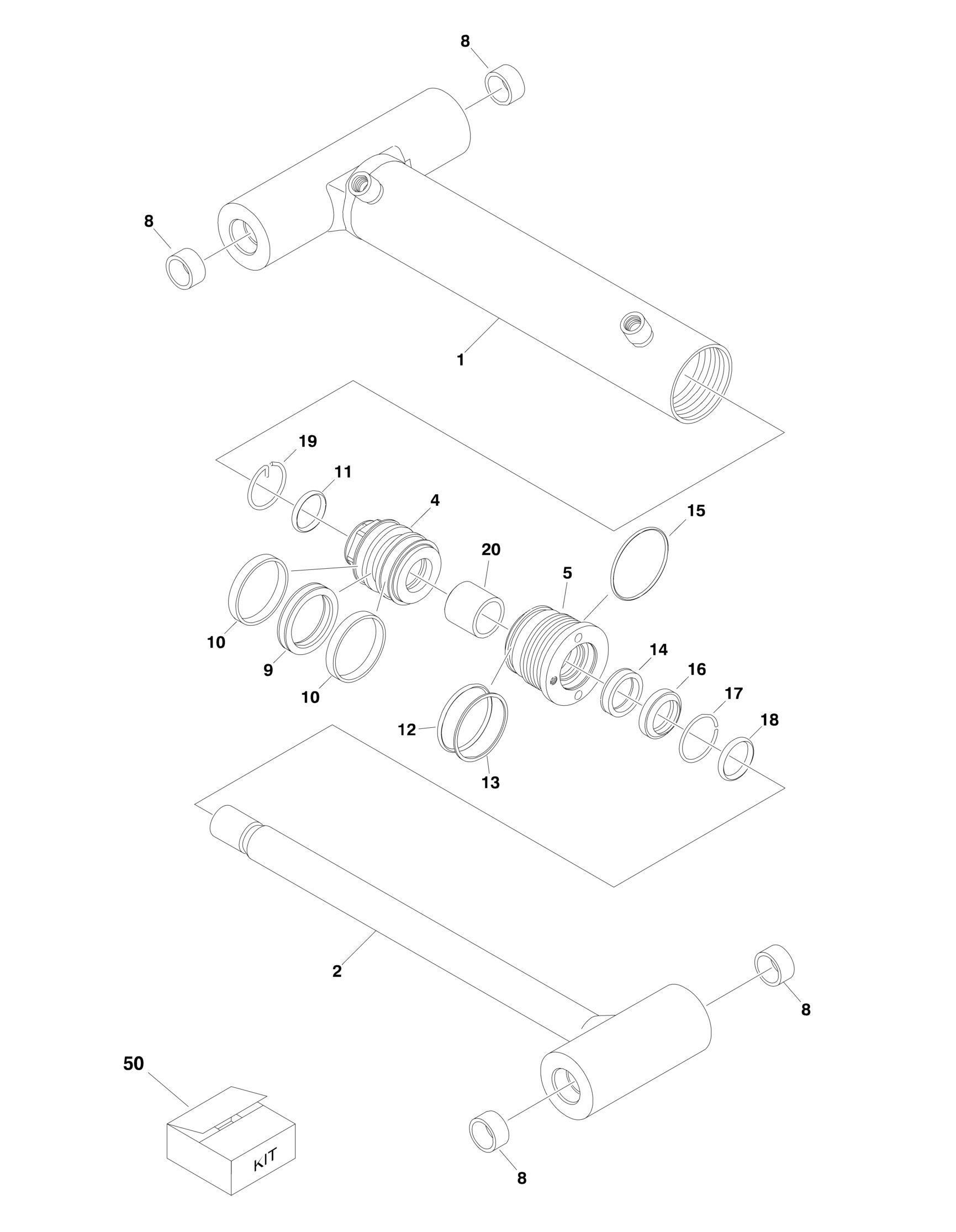
FIGURE 5-9. USA BUILT MACHINES/MASTER CYLINDER (450A SERIES II
ITEM PART NUMBER QTY
DESCRIPTION
Ref USA Built Machines use SNs 03xxxxxxxx. Ref Romanian Built Machines use SNs E3xxxxxxxx. 1001140276 Ref MASTER CYLINDER ASSEMBLY (450A SERIES II) 1 70003831 1 Barrel 2 70003832 1 Rod 4 70003810 1 Piston 5 70003809 1 Head 8 0961947 4 Bushing 9 70003814 1 Seal 10 70003814 2 Ring, Wear 11 70003814 1 O-Ring 12 70003814 1 O-Ring 13 70003814 1 Ring, Back-up 14 70003814 1 Seal 15 70003814 1 O-Ring 16 70003814 1 Wiper 17 70002217 1 Ring, Retaining 18 7026084 1 O-Ring 19 70002216 1 Retainer 20 70003830 1 Spacer 50 70003814 1 Seal Kit (Includes Items 9-16)
REV
B






