
9 minute read
5 - ASSEMBL Y
Installation the object handling kit
Installation the object handling kit
Advertisement
Installation bucket link with hook
Use a lift - crane and nylon sling secure the bucket cylinder
Remove the
Use two wrenches [ ] remove the two nuts (A) , and the bolt (B)
Remove the pin (C) from the links (D) and (E) , and the bucket cylinder (F)
NOTE: when removing the careful not damage the installed O - rings dust
Remove the bucket link (D)
Position the control rod assembly (1) with hook spondence the links (E) and the bucket cylinder (F) .

Insert the pin (C) between the links (E) and the bucket cylinder (F)
NOTE: when inserting the careful not damage the installed O - rings dust seals.
Install the bolt (B) , and then use two wrenches [ ] tighten the two nuts (A)
T ighten the nuts (A) to: – N·m ( – )
NOTICE: pay attention the direction the head the bolt (B)
- install the
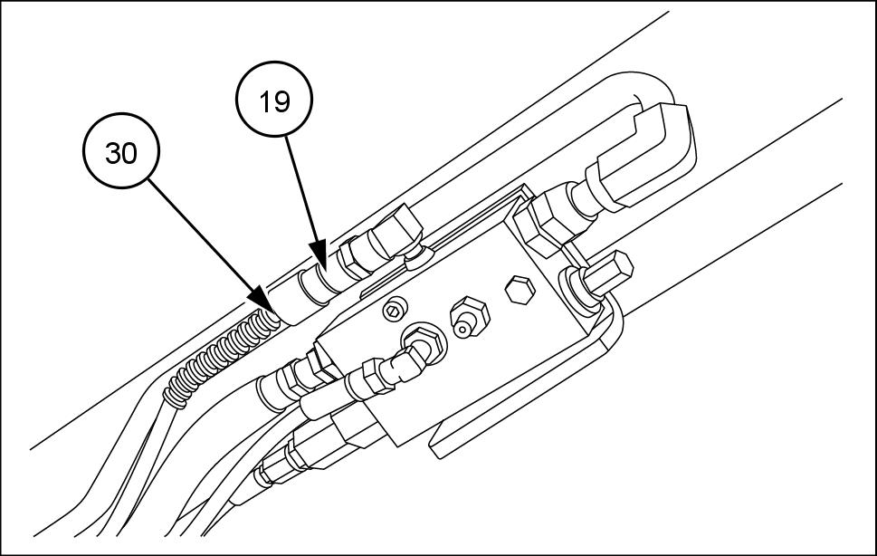
Installation dipper cylinder with holding valve
Use two wrenches [ ] remove the nuts (G) and bolt (H)
Pull out the pin (I) separate the dipper cylinder (J) from the dipper and remove the shims (K)
NOTICE: tie the cylinder rod with a wire that the dipper cylinder does not fall
Use two wrenches disconnect the hoses (L) from the bottom side the dipper cylinder (J)

• Use protective caps plugs cover the hoses and the hydraulic lines prevent any entry water , dust
• Clean the hoses and the hydraulic lines spraying them with a parts cleaner prevent scratches and prevent accumulation dirt the hydraulic
Use two wrenches [ ] remove the nuts (M) and bolt (N)
Remove the pin (O) separate the dipper cylinder (J) from the boom and remove the shims (P)
Remove the dipper cylinder (J)
Use a wrench [ ] install the (10) the port “Pil” (pressure port the holding valve) and the hydraulic connector (9) the port “T” (drain port the holding valve)



T ighten the (10) to: – N·m ( 26.6 –32.5 )
T ighten the hydraulic connector (9) to: – N·m ( 26.6 –32.5 ) SMIL17MEX2359AA
Use a wrench [ ] install the tee (16) with the relative coupling screw (17)
T ighten the tee (16) to: – N·m ( – )
T ighten the coupling screw (17) to: – N·m ( – )
Use a lift - crane and nylon sling lift the dipper cylinder with holding valve (2)
NOTICE: wrap the nylon sling the inside the hydraulic line that the dipper cylinder does not fall down.
SMIL17MEX2103AA
Align the holes the dipper cylinder with holding valve (2) and the boom. Install the pin (O) with ate shims (P)
1 Install the bolt (N) and use two wrenches [ ] install the nuts (M)
T ighten the nuts (M) to: 52.6 –81.3 N·m ( 38.8 –60.0 )
Use two wrenches connect the hoses (L) the bottom side the dipper cylinder with holding valve (2)



13. Align the holes the dipper cylinder with holding valve (2) and the dipper and install the pin (I) with priate shims (K)
Install the bolt (H) and use two wrenches [ ] install the nuts (G)
T ighten the nuts (G) to: – N·m ( – )
Installation boom cylinder with holding valve
Use a wrench [ ] remove the bolts (Q) , and then remove the cylinder protection (R)

SMIL17MEX2105AA
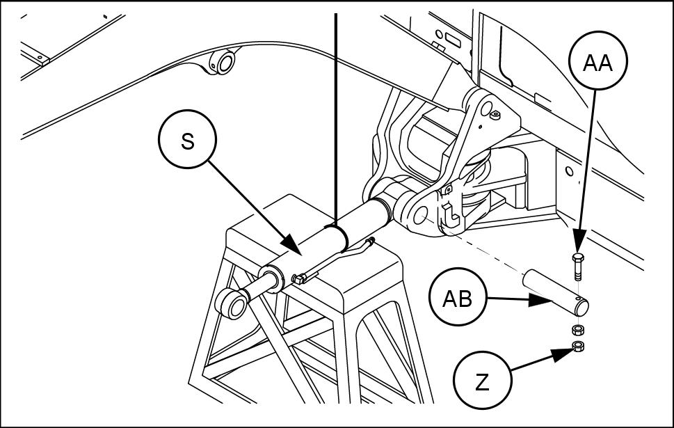
Use a lift - crane and nylon sling secure the boom cylinder (S)
NOTICE: wrap the nylon sling the inside the hydraulic line that the boom cylinder does not fall

Use two wrenches [ ] remove the two double nuts (T) and the bolt (U) , and then remove the pin (V)
NOTICE: tie the cylinder rod with a wire prevent from coming SMIL17MEX2106AA
Lower the boom cylinder (S) a
Use two wrenches disconnect the hoses (W) from the boom cylinder (S)

• Use protective caps plugs cover the hoses and the hydraulic lines prevent any entry water , dust dirt.
• Clean the hoses and the hydraulic lines spraying them with a parts cleaner prevent scratches and prevent accumulation dirt the hydraulic
Use two wrenches [ ] remove the two double nuts (Z) and the bolt (AA) , and then remove the pin (AB)

Remove the boom cylinder (S)
SMIL17MEX2107AA
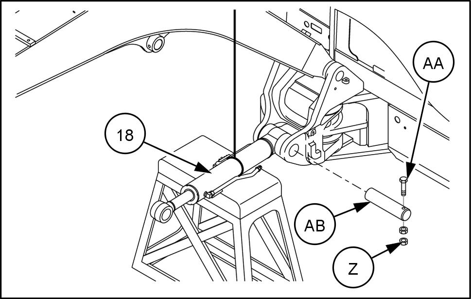
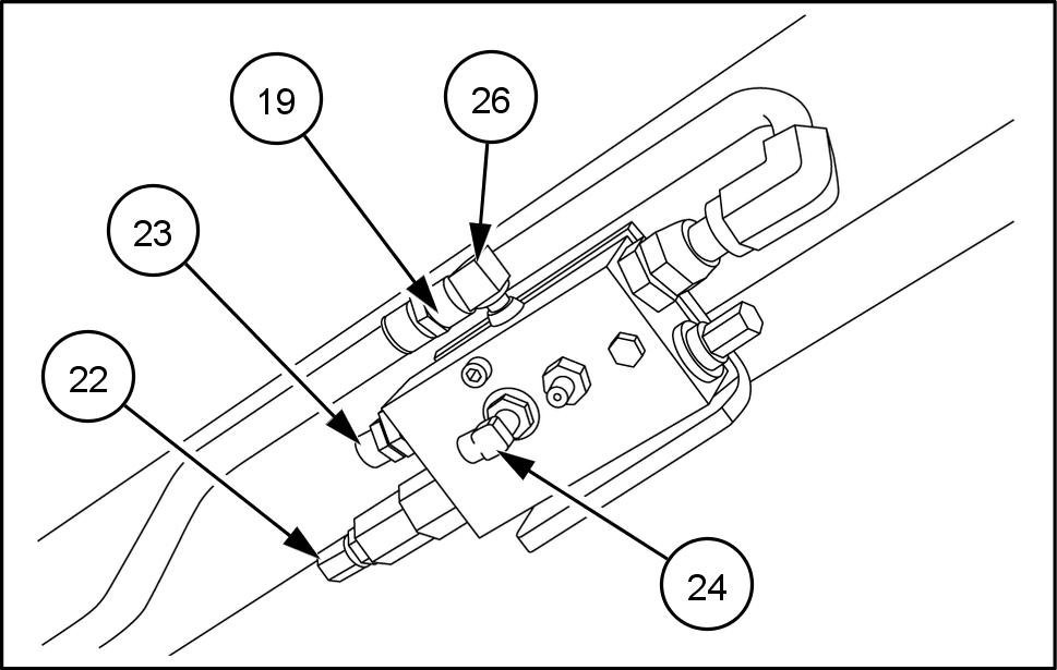
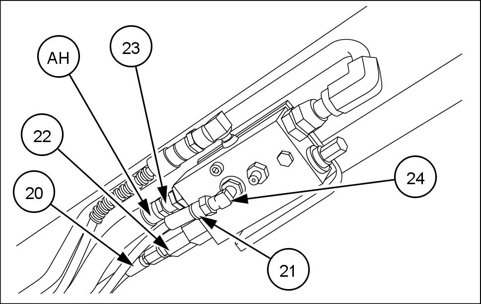
Use a wrench [ ] install the (24) , the (26) , and the hydraulic connector (22) the holding



T ighten the (24) to: – N·m ( 26.6 –32.5 )
T ighten the adapter (26) to: – N·m ( 26.6 –32.5 )
T ighten the hydraulic connector (22) to: – N·m ( – )
Use a wrench [ ] install the hydraulic connector (23) the holding valve. Use a wrench [ ] install the pressure switch (19) the 90° adapter (26)
T ighten the hydraulic connector (23) to: 85.5 –104.5 N·m ( 63.1 –77.1 )
T ighten the pressure switch (19) to: – N·m ( – )
Use a lift - crane and nylon sling lift the boom cylinder with holding valve (18)
1 Align the holes the boom cylinder with holding valve (18) and the frame and install the pin (AB) with the appropriate
NOTICE: when install the pin (AB) , assemble the polymer shims the gap between the friction surfaces. Assemble the polymer shims (thickness 1 ( ) ) both sides the bottom cylinder
Install the bolt (AA) and the nuts (Z)
13. Use two wrenches [ ] install the nuts (Z) .
T ighten the nuts (Z) to: 52.6 –81.3 ( 38.8 –60.0 )
Use two wrenches connect the hoses (W) the boom cylinder with holding valve (18) .
15. Align the holes the boom cylinder with holding valve (18) and the boom and install the pin (V) with the appropriate

NOTICE: when install the pin (V) , assemble the polymer shims the gap between the friction Assemble the polymer shims (thickness 1 ( 0.04 ) ) both sides the rod cylinder
Install the bolt (U) and the nuts (T)
Use two wrenches [ ] install the nuts (T)
T ighten the nuts (T) to: – N·m ( – ) SMIL17MEX2363AA
Install the cylinder protection (R)

Use a wrench [ ] install the bolts (Q) SMIL17MEX2105AA
Installation terminal assembly the boom
Remove the bolt located the left - hand side the bracket (AC)
Position the terminal assembly (3) the bracket (AC) .
Install the bolt secure the terminal assembly (3) the bracket (AC)

Installation hoses dipper cylinder
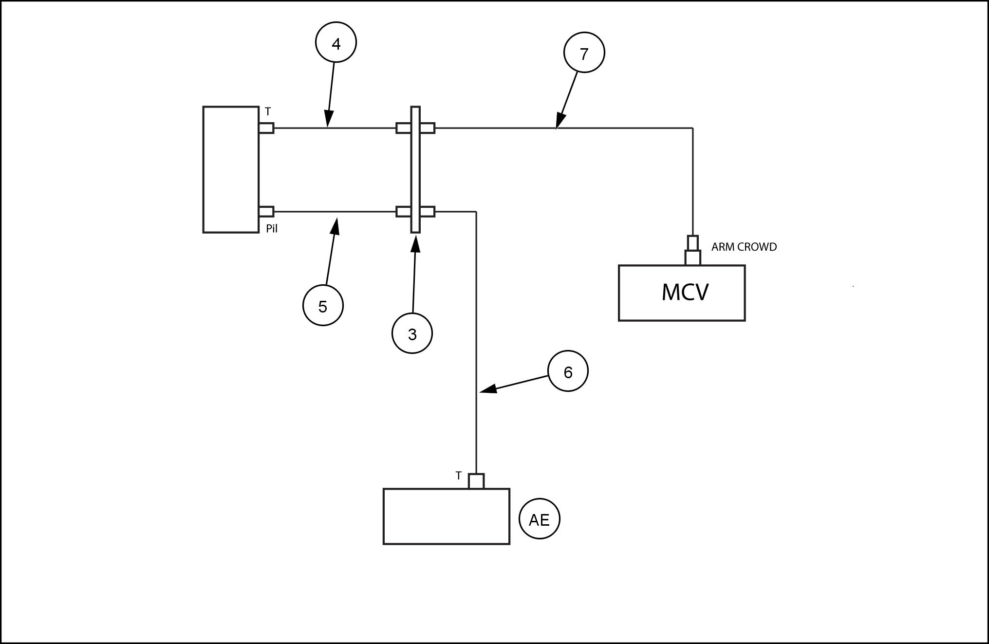
Use a wrench [ ] install the hose (4) between the hydraulic connector (9) T port holding valve and the right - hand connector the terminal assembly (3)

T ighten the hose (4) to: – N·m ( – )
Use a wrench [ ] install the hose (5) between the tee connector (16) PIL port holding valve and the left - hand connector the terminal assembly (3)
T ighten the hose (5) to: – ( 26.6 –32.5 )
Secure the hoses (4) and (5) the boom means cable ties (8)
Disconnect the hose (AD) from the “T” port the lenoid valve (AE)
Use a wrench [ ] install the tee the “T” port valve (AE)
T ighten the tee to: – N·m ( – )
Reconnect the hose (AD) the tee
T ighten the hose (AD) to: – N·m ( – )
Use a wrench [ ] install the hose (6) between the right - hand connector the terminal assembly (3) and the tee the “T” port block A valve (AE)
T ighten the hose ends (6) to: – N·m ( 26.6 –32.5 )
NOTE: after installation the hose (6) the right - hand connector the terminal assembly (3) , route through the left - hand hoses retainer (AF) located the bottom swing


SMIL17MEX2365AA

Use a wrench [ ] install the hose (7) between the left - hand connector the terminal assembly (3) and the tee (12) the port the main control
T ighten the hose ends (7) to: – ( 26.6 –32.5 )
NOTE: after installation the hose (7) the right - hand connector the terminal assembly (3) , route through the left - hand hoses retainer (AF) located the bottom swing


Disconnect the hose (AG) from the port the main control
Use a wrench [ ] install the tee (12) the port main control valve. Apply the gle orientation 10°) shown figure


T ighten the tee (12) to: – N·m ( – )
1 Reconnect the hose (AG) the tee (12)
T ighten the hose (AG) to: – N·m ( – )
Main control valve for standard version

Connection summary the hoses the dipper cylinder with holding valve From T o
Hose (4) “T” port the dipper holding valve
Hose (5) “Pil” port the dipper holding valve

Right - hand hydraulic connector the terminal (3)
Left - hand hydraulic connector the terminal (3)
Hose (7) Left - hand hydraulic connector the terminal (3) port the main control valve
Hose (6) Right - hand hydraulic connector the terminal (3) “T” port the valve
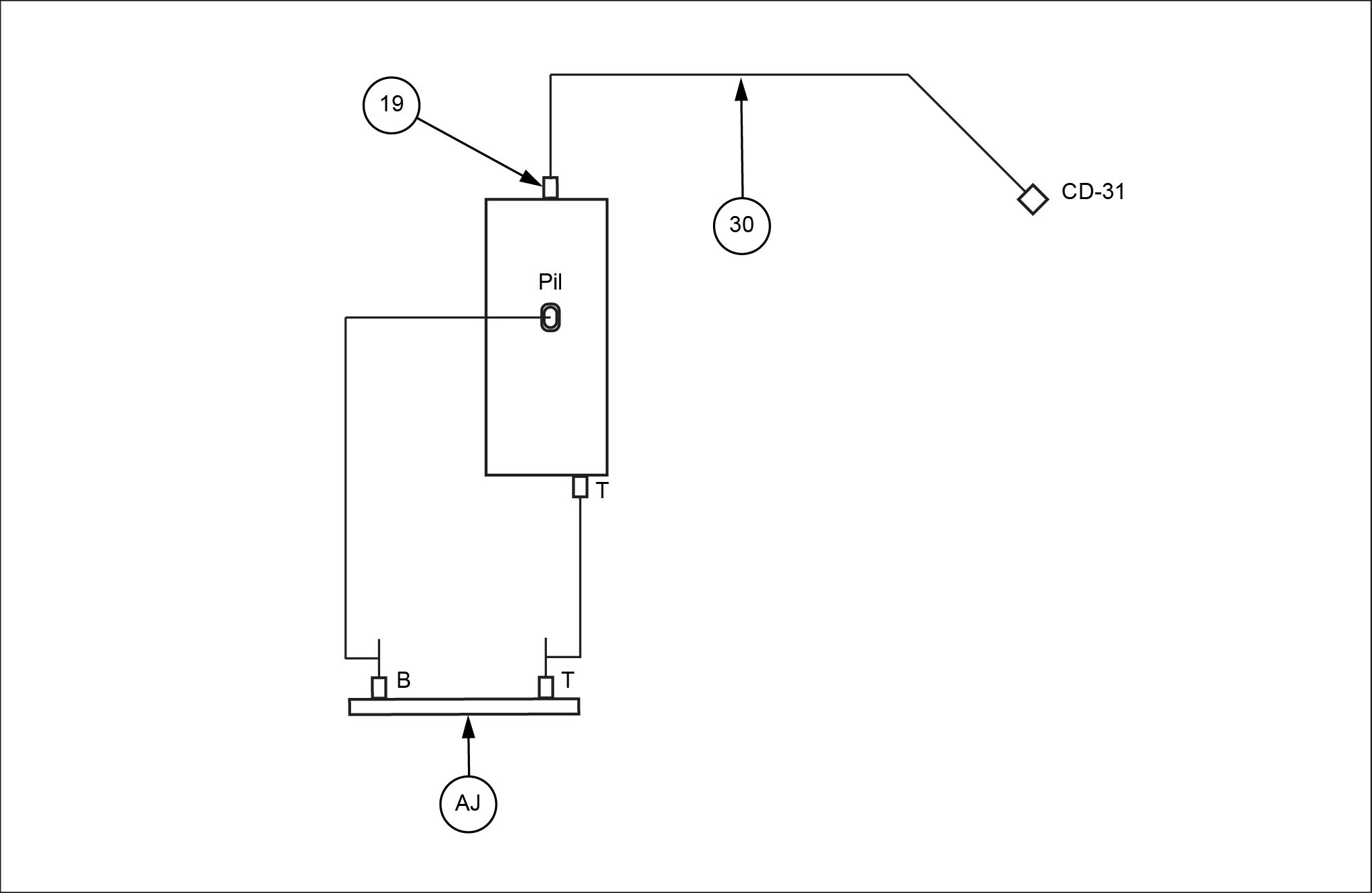
Installation hoses boom cylinder
Install the hose (20) the hydraulic connector (22) the “T” port the holding



Install the hose (21) the 90° elbow (24) the “Pil” port holding
Install the hose (AH) the hydraulic connector (23) SMIL17MEX2371AA
Connect the overload wiring harness (30) the sure switch (19) the holding SMIL17MEX2371AA
Route the hoses (20) and (21) , and the overload wiring harness (30) through the right - hand hoses retainer (AI) located the bottom swing

Connect the other end the overload wiring harness (30) the electrical connector - (see the arrow
Route the hoses (20) and (21) through the machine frame reach the terminal assembly (AJ) located the left - hand side the machine shown figure.
Disconnect the two hydraulic hoses (AK) and (AL) from the hydraulic connectors located the ports “B” and “T” the terminal assembly (AJ)

Use a wrench [ ] install the two tees (25) the two hydraulic connector located the ports “B” and “T”.
T ighten the tees (25) to: – N·m ( 26.6 –32.5 )
Reinstall the two hydraulic hoses (AK) and (AL) viously disconnected the tees (25) .
T ighten the hoses (AK) and (AL) to: – ( 26.6 –32.5 )
1 Connect the hoses (20) and (21) the hydraulic nector located the ports “T” and “B” respectively
T ighten the hoses (20) and (21) to: – N·m ( – )

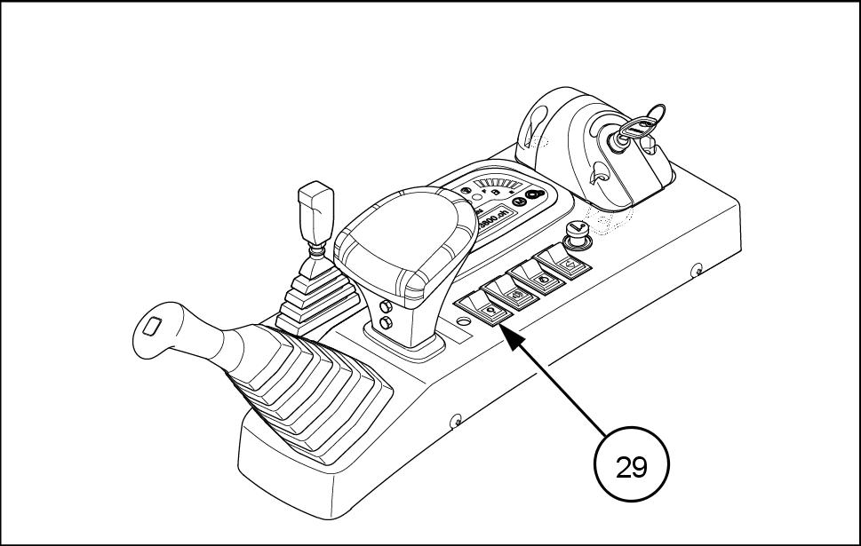
Installation overload switch
Remove the operator
Use a wrench [ ] remove the two and then remove the armrest from the right - hand
Remove the front and rear screws that fix the right - hand console.


Remove the four screws raise the starter switch
SMIL17MEX2138AA
Remove the screw indicated and raise the right - hand console.



SMIL17MEX2137AA
Raise the right - hand control lever bellow , and then tract the right - hand console from the hand control lever

From the right - hand remove the protective cap and install the overload switch (29)
SMIL17MEX21 14AA
1
Connect the electrical connector - the overload switch (29)
SMIL17MEX21 14AA
Install the right - hand console the hand control lever and refit the bellow

SMIL17MEX21 14AA
Install the rear right - hand console and tighten the screws secure it.



SMIL17MEX2137AA
Install the starter switch support and tighten the four
SMIL17MEX2138AA
12. Install the right - hand console and tighten the front and rear screws secure

13. Install the armrest and then use a wrench [ ] tighten the two - install the operator

Installation protective covers hoses and holding valves
From the left - hand and right - hand hydraulic connectors located the terminal assembly (3) , measure 300 ( 1 1.81 ) the swing post and mark the distance with a suitable removable the join together the hoses (6) and (7) and install the first protective cover (13) , then install the ond hose protective cover (13) from the end the first protective cover .


Use a wrench [ ] install the valve protective cover (14) the dipper holding valve and secure means the two hexagonal bolts with relative washers (15)
T ighten the bolts (15) to: – N·m ( – )

Use a wrench [ ] install the valve protective cover (27) the boom holding valve and secure means the two hexagonal bolts with relative washers (28)
T ighten the bolts (28) to: – N·m ( – )

Installation bottom plates and panels
Install the right - hand bottom
Use a wrench [ ] tighten the four
T ighten the bolts to: – N·m ( – )
SMIL17MEX2099AA
Install the left - hand bottom
Use a wrench [ ] tighten the six
T ighten the bolts to: –81.3 N·m ( 39.8 –60.0 )
SMIL17MEX2098AA
Install the soundproofing panels and the floor
SMIL17MEX2097AA
Install the left - hand external
Use a wrench install the bolts indicated the figure and then install the protective



SMIL16MEX1204AB

Installation lifting chart decal
NOTICE: install the correct refer the lifting chart tables located Kit overview
For the cab models install the lifting chart decal (31) inside the rear part the SMIL18MEX0845AB


For the canopy models install the lifting chart decal (31) inside the right - hand side under the right - hand sole. SMIL18MEX0846AA
Maintenance operations
Grease all pins and bushings (see the manual). Check the hydraulic oil level and supply necessary
