Custom Glass Doors

Page 1

CUSTOM GLASS DOORS

03 CUSTOM
V19 2 39 13 13 39 25 35 35 18,5 Custom Lacquer Allinea Hinge 180º
GLASS DOORS

CUSTOM GLASS DOORS

04
V20 . WOOD 2 40 29 13 13 10 35 35 20 max Custom Lacquer Allinea Hinge 180º

CUSTOM GLASS DOORS

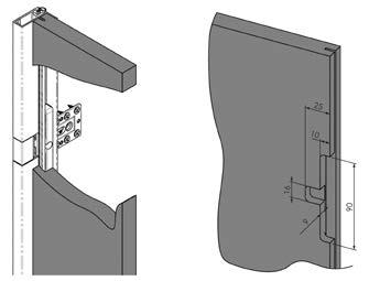
ALLINEA HINGE

05
External hinge Embedded hinge Wood

V01-52 . V01-52 WITH HANDLE

CUSTOM GLASS DOORS

06
Anodized Custom Lacquer 21,2 14,5 51,9 7,7 36 14,5 51,9 5
V01-52 V01-52 with handle
2
07 CUSTOM
Anodized Custom Lacquer 45 21,2 V02 2
GLASS DOORS

CUSTOM GLASS DOORS

08
Anodized Custom Lacquer 19 7,4 20 V03 2
Blum Hinge

CUSTOM GLASS DOORS

09
19,5 16 52 V04 2
Anodized Custom Lacquer Glossy Anod. NOTE: Finishes for glue mounted glass : intense gris, stopsol and stopsol bronze.
10 Anodized Custom Lacquer Glossy Anod. Inox 21,6 16 52 3 V06 2
11 CUSTOM
Anodized Custom Lacquer 20 20 V07 2 Blum Hinge
GLASS DOORS

CUSTOM GLASS DOORS

V08-P08 | P09 | P10

NOTE: When choosing the door in V08-P08 or V08-P09, only 1 edge of the door, of your choice, is in the handle version. The remaining edges are manufactured in the V08 profile. Finishes for glue mounted glass : intense gris, stopsol and stopsol bronze.

12
Anodized Custom Lacquer
2 V08-P08 88,9 V08 50 50 17 V08-P10 5,15 17 V08-P09 59,7 58,5 58,5 5,15 5,15 17 17
13
Anodized Custom Lacquer 21 51,9 22 15,6 V09 2
CUSTOM GLASS DOORS

CUSTOM GLASS DOORS

14
Anodized Custom Lacquer 15,2 26 49,2 28,7 V10 2
NOTE: In this model, the position of the glass changes the type of door manufactured. Finishes for glue mounted glass : intense gris, stopsol and stopsol bronze.

CUSTOM GLASS DOORS

15

CUSTOM GLASS DOORS

NOTE: Finishes for glue mounted glass : intense gris, stopsol and stopsol bronze.

16
Custom Lacquer + L08 20,7 35,2 18,9 4,5 V11 2
Mini Ellite Hinge
V12 Custom Lacquer 25 18,9 + L08 35,2 4,5 7,7 2
Ellite Hinge CUSTOM
17
Mini
GLASS DOORS

CUSTOM GLASS DOORS

18
23 25,5 34,5 19,5 23 53,5 33,5 23 33,5 L01, L02, L03 e L07 P01 BIG P02 BIG Custom Lacquer V13 2
Ellite XL2 Hinge Finishes for glue mounted glass : intense gris, stopsol and stopsol bronze.

CUSTOM GLASS DOORS

19 V18 2 21 8 30 21,5 21 8 40 21,5
Custom Lacquer
Ellite XL2 Hinge
8
Handle 37012 Metal Grey 96

CUSTOM GLASS DOORS

20
V15 22 53,7 22 22,5 5
2
Custom Lacquer

CUSTOM GLASS DOORS

21
V16 . V17 Custom Lacquer 22 9,5 26,6 22 12,7 26,6 2 V16 V17
Mini Ellite Hinge

CUSTOM GLASS DOORS

22
E01 . MIRROR 25 28,5 20 45,1
2
Anodized Custom Lacquer Glossy Anod. Finishes for glue mounted glass : intense gris, stopsol and stopsol bronze.

CUSTOM GLASS DOORS PROFILE FINISHES

23
3
Textured Bronze Textured Gold Gold Pearl Copper Gold 1534 Champagne 1035 Inox Black Anthracite Chocolate Moka Pearl White Matte Aluminum Glossy Aluminum

GLASS FINISHES 4

CUSTOM GLASS DOORS

TRANSPARENT GLASSES

Wide Fluted Glass

MIRRORS

Fluted Glass

Frosted ExtraWhite

24
Antique Grey Mirror Bronze SMOKED Intense Grey Grey Bronze Stopsol

CUSTOM GLASS DOORS

GLOSS GLASS

METALLIC

25
Moka Extra White White Pearl Anthracite Red Bordeaux Terracotta Orange Black Sage Soft Green Starlight Black Metallic Grey

CUSTOM GLASS DOORS

GLASS FINISHES 4 MATTE

NOTE: Samples are for illustrative purposes only. The colors and textures may vary from the physical product, due to photography or printing tolerances.

26
Matte Extra White Matte Black Matte Pearl Matte Grey Matte Moka Matte Clay Matte Chocolate Matte Green Sage Matte Red Matte Terracotta
27 CUSTOM
34,5 19,5 3 Matte Anod. Custom Lacquer Glossy Anod. 36 16 Matte Anod. Custom Lacquer Glossy Anod. HANDLE L01 6 HANDLE L02 6 HANDLE L03 6 36,5 25 Matte Anod. Custom Lacquer Glossy Anod.
GLASS DOORS
28 CUSTOM GLASS DOORS HANDLE L04 6 38,8 8 Matte Anod. Custom Lacquer HANDLE L05 6 36,8 11 Matte Anod. Custom Lacquer 21 HANDLE L07 6 38 19 Matte Anod. Custom Lacquer Glossy Anod. 8,5

CUSTOM GLASS DOORS HANDLE L08

Must be used in reduced measures, not to weaken the structure of the door. It cannot be applied to the following profiles: V01-52 w/ HANDLE, V08 and V10.

29
6
6 Matte Anod. Custom Lacquer Glossy Anod. Matte Anod. Custom Lacquer 37 16,3 4,08
HANDLE L06
35,2 4,5
30 CUSTOM GLASS DOORS
6 Matte Anod. Custom Lacquer
6 Matte Anod. Custom Lacquer
P01
6 19,5 Matte Anod. Custom Lacquer 30 11 19,5 11 19,5 35
HANDLE P02 . FI-007
HANDLE P04 . FI-008
HANDLE
. FI-003
31
HANDLE P05 . 757 6 37 8,9
CUSTOM GLASS DOORS
Matte Anod. Custom Lacquer Glossy Anod.

CUSTOM GLASS DOORS

HINGES NOTES 9

Let us know if you intend to drill holes to apply hinges, and this will be done according to the images below. If you want another type of drilling, please send us a plan.

DOOR HEIGHT

up to 1000mm - 2 holes

> 1000mm - 3 holes

> 1800mm - 4 holes

32
ø35 até 1000mm A/2 A/2 ø35 > 1000mm A/3 A/3 A/3 ø35 > 1800mm
2 Hinges 3 Hinges 4 Hinges

CUSTOM GLASS DOORS

33

Turn static files into dynamic content formats.

Create a flipbook
Issuu converts static files into: digital portfolios, online yearbooks, online catalogs, digital photo albums and more. Sign up and create your flipbook.