2025 Fertilizer Dealer Supply Catalog

Page 1


Table of Contents: Equipment

cusTomer,

We are proud To preseNT you WiTH our 2025 caTalog. due To raW maTerial volaTiliTy & supply cHaiN issues, prices are subJecT To cHaNge WiTHouT NoTice. We Hope you Will uNdersTaNd. THaNk you for your busiNess!

ferTilizer dealer supply, iNc.

Terms aNd coNdiTioNs of sale

free sHippiNg:

• Parts orders with a merchandise value greater than $200.00

• UPS & Speedy orders must fit in a box

• Truck Freight orders must fit on a standard pallet

• Truck Freight orders are available only to FDS home and border states

• Expedited orders including next or second day air shipments are not eligible

• Orders shipped direct from the factory are not eligible

• Poly tanks, paint, bulk pipe, shanks and Clear PVC Water Hose are not eligible

prices:

• All prices are subject to change without notice.

• All prices are FOB. shipping point, except poly tanks and capital equipment. Poly tanks are FOB. factory.

Terms:

• All accounts not paid within 30 days are considered past due, and a charge of 1.5% per month or 18% per annum will be added to the past due balance. All shipments to a past due account will be sent C.O.D. or shipment may be refused.

reTurNed goods:

• Merchandise cannot be returned without prior consent. Goods for return are to be sent freight prepaid.

• On any returns within 15 days of shipment no restocking charge will be assessed. After 15 days 15% restocking charge will apply. Absolutely no returned goods after 90 days.

• Merchandise returned for credit must be accompanied by a completed Returned Goods Authorization showing our invoice number, date shipped, and reason for return. A Returned Goods Authorization may be obtained by requesting one from the warehouse or a salesman.

• Customers are responsible for return freight if ordered incorrectly

cuT leNgTHs of Hose aNd belTiNg:

• Cut lengths of hose and belting cannot be returned.

• Be sure to order the correct size and length.

special orders:

• On any special order for an item that is not a normal in stock item we cannot accept a cancellation nor a return.

miNimum order:

• On orders for less than $10.00 worth of merchandise, a $2.00 handling charge will be added.

WarraNTy:

• Warranty items will be handled in accordance with the manufacturer’s warranty policy.

• Our liability for defective material is limited to the value of the defective material only damaged mercHaNdise:

• Check merchandise immediately upon delivery. Damages or shortages due to carrier mishandling must be claimed by the receiver with the carrier. For your protection be sure to note on the bill of lading any damages or shortages.

Anhydrous Ammonia APPLICATORs

blu-JeT: aT6020

blu-JeT: laNdruNNer 11

blu-JeT: legacy

dalToN: dW series

aNHydrous ammoNia ruNNiNg gears

dalToN: WN1300, WN1660, & WN1800

dalToN: WNdT1000-gN

b & b: Wg 1450f
b & b: gN2900

LIQUID FERTILIZER APPLICATORs

blu-JeT: aT3015

blu-JeT: aT4615

fasT: a series

blu-JeT: aT4015

dalToN: dlqHd

fasT: 8118

liTTer spreaders & coNveyor

cHaNdler: liTTer spreader WiTH WalkiNg beam

cHaNdler: liTTer coNveyor

cHaNdler: Truck bed liTTer spreader

cHaNdler: liTTer spreader

ferTilizer/lime spreaders

cHaNdler: pT-12 fss & pT-16 fss

cHaNdler: 20-pTT-fT

cHaNdler: 10-pTT-fT

cHaNdler: 35-pT-fT & 40-pT-fT

cHaNdler: 45-pTT-fT

roW crop spreaders & coNveyors

cHaNdler: 9-pT-fT

cHaNdler: aTl-fss

ray-maN: ferTilizer coNveyor

ray-maN: lime coNveyor

cHaNdler: aT-fTlH exW

ferTilizer TeNders

cHaNdler: 12-rdT & 16-rdT

cHaNdler: sdT-mH18

ray-maN: Truck mouNT TeNder ray-maN: semi TeNder

cHaNdler: sdT-mH24

liquid Nurse TaNk Trailers

ag spray: 1010, 1315

m1010, m1315, & m1610

m1010, m1315, & m1610 exT.

b & b: T14-T20
dalToN:
dalToN:
b & b: T14 - T18
b & b: T20

coNe boTTom Nurse TaNk Trailers

ag spray: siNgle coNe

dalToN: mc siNgle

ag spray: double coNe

f/s mfg: 1300

b & b: TdcsT

ag spray: Triple coNe

3 poiNT & pull-Type sprayers

Top air: 300 gal. & 600 gal.

Top air: Ta1200

Top air: Ta1600 & Ta2400

fasT: 3 poiNT sprayer

fasT: 9500

fasT: 9600N

cusTom spray Trailers & coNTaiNmeNT

cusTom sTaiNless TaNks spray Trailer

cusTom sTaiNless TaNks spray Trailer

plia: plia-liNer

plia: plia-dike

sTorage & Nurse TaNks

H NsTor sTaiNless TaNks

precisioN TaNk mild sTeel TaNks

precisioN TaNk fiberglass TaNks

NH3 coNTrol sysTems

compleTe kiTs

fds iso producT coNTrol

072-6210381 3/8” Check Valve 450-0603671 Viton Gasket for 5” Lid 077-0410470 1/2” N Serve Hose 3 450-0602016 55 Gallon Tank Saddle 3 450-0603031 55 Gallon Applicator Tank

3/4” Viton Gasket

aNHydrous ammoNia sysTem compoNeNTs

aNHydrous ammoNia sysTem compoNeNTs

ammoNia sysTem compoNeNTs

• 1200 Lbs of residue-slicing down force

• Compact design provides greater trash clearance

• Variety of blade choices to match soil & residue

1 3/8” greasable pivot point

1” x 3” adjustable shanks available in different sizes

ferTilizer coulTers

Grove

475-4031021 Grove Knife Adapter Bracket

475-4032051 Grove Injection Bracket

475-4020000 Grove Bearing Kit

sHield ag/dmi replacemeNT coulTers

yeTTer compleTe coulTers & aTTacHmeNTs

dalToN disc sealers

Side dress independent Heavy duty Independent

see breakdoWN oN page 152

The heavy independent style disc sealer covers better, lasts longer, and is more trouble free than any other on the market. The independent arm design and the 18” notched blade provides better knife track coverage and keeps the trash flowing through without build-up or plugging. It also provides better coverage in uneven terrain and allows you to be more productive. Arms are also available in offset.

duTy iNdepeNdeNT sTyle

oN page 153

Our Side-Dress Independent Style disc sealers are designed with 14 1/2 arms. These 18” notched blades are located beside the knife to reduce throwing off dirt onto young plants. This unit also pivots on a 1 1/4 shaft with non-greasable composite bushings. Arms are made so you can change the pitch of the blade.

disc sealers

034-0024821

034-0033131

034-0033141

034-0024851 JAM2485

034-0024861

034-0024871

yeTTer 2920 sealers

origiNal mole kNife

miNi mole kNife

sd mole kNife

ferTilizer kNives & accessories

replacemeNT parTs

A50-NP
Nichols side Dress KNife
Beaver Tail
DMI Liquid Knife
B.

gdi repair parTs

pump

FDS Part #

034-0026641 JCP 2664

Stuffing Box Seal Kit

034-0028731 JCP 2873 Flange Packing Kit

034-0028711 JCP 2871

Crosshead Guide Seal Kit

250-0000069 Crank Case Repair Kit

250-1128168 112816-91 Piston

250-1091136 109113-92

250-1091129 109112-92

Discharge Valve

Suction valve

034-0028391 JCP 2839 14 Tooth Pump Sprocket

sHuToff valve

FDS Part # Blu-Jet #

Description

034-0028671 JCP 2867 Shut Off Valve Seal Kit

034-0029901 JCP 2990B Primer Valve

034-0029482 JCP 2948 Diaphragm

034-0029591 JCP 2959 Inlet Tube

FDS Part # Blu-Jet #

Description

034-0032391 RT 1002 Tension Idler

034-0023821 JAP 2382 15 Tooth Idler Sprocket

034-0021901 JAP 2190 60 Tooth Ground Wheel Sprocket

034-0020211 JAM 2021 Adapter Plate with Hub - 1” Shaft

034-0022481 JAP2248 Black Roller Chain Assy.

034-0022485 Stainless Roller Chain Assy.

034-0027501 JAAM 2750 GDI Tire and Wheel

034-0027072 JAAM2707 Hub & Spindle,1 3/4” drive

FDS Part #

034-0028681 JCP2868 Heat Exchanger Seal Kit

034-0023251 JCCM2325

NH3 Hydraulic ball valve & mecHaNical meTers

NH3 Hydraulic ball valve

C4100

aNHydrous maNifolds & spliTTers

aNHydrous maNifolds

005-1115104

Hose

Hose Barb 1/4”

005-1115128 Hose

Barb

Barb

breakaWay safeTy couplers

valve & Hose accessories

w/ Chain 2 Bolt Clamp Swivel Adapter

volume & pressure gauges

Nurse TaNk floaT gauges pressure gauges

sTorage TaNk floaT gauges

bleed & relief valves

adapTers,

Nurse TaNk liquid WiTHdraWal valves

A521 P B-1206-E

fill valves & riser valves

forged pipe fiTTiNgs

sTreeT elboWs - 90

004-3050257 1/4” 004-3050501

seamless Nipples

FDS Part # Size

004-0250016 1/4” x Cl.

004-0250082 1/4” x 2”

004-0250047 1/4” x 4”

004-0501004 1/2” x Cl.

004-0501021 1/2” x 2”

004-0751005 3/4” x Cl.

004-0751029 3/4” x 2”

elboWs - 90

- 45

004-0751043 3/4” x 4”

004-1007563 3/4” x 6”

004-1001000 1” x Cl.

004-1001024 1” x 2”

004-1001048 1” x 4”

004-1001062 1” x 6”

004-1001081 1” x 8”

004-1251001 1 1/4” x Cl.

004-1251025 1 1/4” x 2”

004-1251049 1 1/4” x 4”

004-1001268 1 1/4” x 6”

004-1251080 1 1/4” x 8”

004-1501029 1 1/2” x 2”

004-1501043 1 1/2” x 4”

004-1501061 1 1/2” x 6”

004-1501207 1 1/2” x 12”

004-2001001 2” x Cl.

004-2001049 2” x 4”

004-2001063 2” x

busHiNgs

004-2040384 3/8” x 1/4”

004-2040503 1/2” x 1/4”

004-2040538 1/2” x 3/8”

004-2040754 3/4” x 1/4”

004-2040761 3/4” x 1/2”

004-2041009 1” x 1/4”

004-2041016 1” x 1/2”

004-2041023 1” x 3/4”

004-2041267 1 1/4” x 3/4”

004-2041274 1 1/4” x 1”

004-2041511 1 1/2” x 1 1/4”

004-2041528 1 1/2” x 1”

004-2042025 2” x 1”

004-2042031 2” x 1 1/4”

004-2042048 2” x 1 1/2”

004-2043001 3” x 2”

couplers

FDS Part # Size

004-3070251 1/4”

004-3070505 1/2”

004-3070756 3/4”

004-3071001 1”

004-3071252 1 1/4”

004-3071506 1 1/2”

004-3072002 2”

004-3073003 3”

riser breakaWays aNd Hose

• Retrofits most existing risers

• No accidental disconnections

• Can be mounted upside down

• Includes solid steel mounting hardware for shear unit

• Rugged stainless steel and Nylon check valves

• 5 year unconditional warranty

• Prevents twisting of the hose

• Sealed radial ball bearings make rotation torque of the swivel unaffected by pressure in the hose

• Made from

anodized

coNTiNeNTal safeTy sHears

Safety Shear
TriPod
Rotary Hose Swivel

bulk plaNT pumps, bypass valves, & flex liNes

moTors

emergeNcy sHuToff valves

excess floW & back cHeck valves

excess floW valves

back cHeck valves

bulk plaNT sTraiNers & acme

A2074S A1156S
A1176CS

safeTy accessories

WaTer coNTaiNers & safeTy kiTs

1 021-2000139

2 021-1000327

3 021-0003202

4 021-0005008

Description

Curved 4” Anhydrous Ammonia Decal - Green

Curved 4” Anhydrous Ammonia Decal - Red

Circular 6” Caution Ammonia Decal - Red 26”

Slow Moving Decal - Unmounted - Apply Direct

4 021-0005015 Slow Moving - Metal Sign

4 021-3000001 Slow Moving Decal - Extended Light SMV Emblem - Required by Law in Illinois

4 021-3000012 Slow Moving - Extended Light - Metal Sign - Required by Law in Illinois

021-0005031 Blade for Metal SMV

021-0005021

5 021-2000122

6 021-1000310

7 021-0003109

8 021-0007000

9 021-0001729

9 021-0001736

10 021-0004100

10 021-0000381

11 021-0012002

12 021-0004337

13 021-0011001

14 005-0650088

Socket for Metal SMV

Rectangle 4” Anhydrous Ammonia Decal - Green

Rectangle 4” Anhydrous Ammonia Decal - Red

Rectangle 6” Caution Ammonia Decal - Red 26” x 14”

Valve Identification Decals

Green Inhalation Safety Decal (2” Letter Size)

Green Inhalation Safety Decal (3” Letter Size)

Green Anhydrous Ammonia Decal (2” Letter Size)

Green Anhydrous Ammonia Decal (3” Letter Size)

Transfer Instruction Decal

1005 Green Diamond Decal

Safety Regulation Ammonia Decal

AA Emergency Shutoff Decal 15 005-6500971 Chock Wheels Decal

043-9864253 Decal Remover

aNHydrous ammoNia persoNal proTecTioN

aNHydrous ammoNia Hose

1. NyloN aNHydrous ammoNia Hose

2.

facTory coupled leNgTHs- 6 year. pro raTed WarraNTy

coNsTrucTioN: HigH qualiTy syNTHeTic Tube W/NyloN reiNforcemeNT & perforaTed black cover W/ greeN sTripe

Size FDS Part #

1” x 2’ 026-2100021

1” x 34” 026-2102500

1” x 3’ 026-2100031

1” x 40” 026-2100032

1” x 4’ 026-2100041

1” x 5’ 026-2100051

1” x 6’ 026-2100065

1” x 7’ 026-2100071

1” x 8’ 026-2100089

1” x 9’ 026-2100091

1” x 10’ 026-2100106

1” x 11’ 026-2100111

1” x 12’ 026-2100120

1” x 13’ 026-2100131

1” x 14’ 026-2100141

1” x 15’ 026-2100151

1” x 16’ 026-2100161

1” x 17’ 026-2100171

1” x 18’ 026-2100182

1” x 20’ 026-2100201

1” x 22’ 026-2100221

1” x 25’ 026-2100251

1” x 28’ 026-2100281

1” x 30’ 026-2100301

Size FDS Part #

1 1/4” x 2’ 026-2101021

1 1/4” x 34” 026-2105000

1 1/4” x 3’ 026-2101031

1 1/4” x 40” 026-2101040

1 1/4” x 4’ 026-2101041

1 1/4” x 54” 026-2101042

1 1/4” x 5’ 026-2101051

1 1/4” x 6’ 026-2101061

1 1/4” x 7’ 026-2101071

1 1/4” x 8’ 026-2101081

1 1/4” x 9’ 026-2101091

1 1/4” x 10’ 026-2101107

1 1/4” x 11’ 026-2101111

1 1/4” x 12’ 026-2101121

1 1/4” x 13’ 026-2101131

1 1/4” x 14’ 026-2101141

1 1/4” x 15’ 026-2101152

1 1/4” x 16’ 026-2101161

1 1/4” x 17’ 026-2101171

1 1/4” x 18’ 026-2101181

1 1/4” x 20’ 026-2101201

1 1/4” x 25’ 026-2101251

1 1/4” x 28’ 026-2101281

1 1/4” x 30’ 026-2101301

1 1/2” x 3’ 026-2101502 1 1/2” x 4’ 026-2101505 1 1/2” x 5’ 026-2101550

1 1/2” x 6’ 026-2101506

1 1/2” x 7’ 026-2101507

1 1/2” x 8’ 026-2101508

1 1/2” x 9’ 026-2101590

1 1/2” x 10’ 026-2101500

1 1/2” x 12’ 026-2101512

1 1/2” x 13’ 026-2101514

1 1/2” x 15’ 026-2101515

1 1/2” x 16’ 026-2101516

1 1/2” x 30’ 026-2101530

coNsTrucTioN: HigH qualiTy syNTHeTic Tube W/ sTaiNless sTeel reiNforcemeNT & perforaTed black cover W/ gray sTripe

ammoNia TubiNg & Hose

1. clear eva TubiNg

recommeNded for opeN eNd discHarge oNly

1/2”

3/4” 1” 026-5000756 026-5000757 026-5000759 1” 1.25” 026-5001005 026-5001003 026-5001004 coNsTrucTioN:

2. black eva TubiNg

recommeNded for opeN eNd discHarge oNly coNsTrucTioN: eTHyl viNyl aceTaTe plasTic TubiNg

3/8”

1/2”

3/4”

3. reiNforced eva TubiNg recommeNded for opeN eNd discHarge oNly

4. N-serve Hose

spray & discHarge Hose

1. epdm rubber spray & discHarge Hose

coNsTrucTioN: epdm Tube aNd cover WiTH fabric reiNforcemeNT coNsTrucTioN: eTHyleNe bleNd Tube, rubber bleNd perforaTed cover WiTH TexTile reiNforcemeNT coNsTrucTioN: pvc Tube aNd cover WiTH TexTile reiNforcemeNT

1/4” .50” 150 026-3000254 026-3000253 026-3000252

3/8” .68” 150 026-3000384 026-3000385 026-3000386

1/2” .81” 150 026-3000504 026-3000505 026-3000506

5/8” .94” 150 026-3000584 026-3000583 026-3000582

3/4” 1.125” 150 026-3000754 026-3000759 026-3000757

1” 1.375” 150 026-3001003 026-3001005 026-3001002

1 1/4” 1.78” 150 026-3001252 - 400’ 026-3001254 026-3001253

1 1/2” 2.03” 150 026-3001502 -400’

2” 2.50” 150 026-3002002 -300’ 026-3002004 026-3002003

3” Lay Flat 3.5” 85 026-3003003 026-3003001 026-3003004

4” Lay Flat 4.75” 75 026-3004003 026-3004001 026-3004005

2. Truespray- carryover reducTioN-Hose

3. pvc lay flaT discHarge Hose

4. lay flaT mill Hose

coNsTrucTioN: epdm Tube WiTH polyesTer yarN cover (WaTer & mildeW resisTaNT cover)

sucTioN & discHarge Hose

1. reiNforced ferTilizer soluTioN Hose “eNforcer

coNsTrucTioN: epdm WiTH polyeTHyleNe Helix aNd fabric reiNforcemeNT

1” *yellow* 1.375” 80 026-8001003 026-8001005 026-8001007

1 1/4” 1.70” 100 026-3901253 026-3901252 026-3901251

1 1/2” 2” 100 026-3901503 026-3901502 026-3901501

2” 2.54” 100 026-3902003 026-3902002 026-3902025 026-3902001

3” 3.62” 85 026-3903003 026-3903050 026-3903002 026-3903001

4” 4.53” 70 026-3904003 026-3904002 026-3904001

2. Wire reiNforced rubber sucTioN Hose

coNsTrucTioN: epdm Tube aNd cover WiTH Wire Helix aNd TexTile spiral

1” 1.375” 150 026-4001002 026-4001003 026-4001004

1 1/4” 1.656” 150 026-4001252 026-4001253 026-4001254

1 1/2” 1.89” 150 026-4001502 026-4001509 026-4001508

2” 2.437” 150 026-4002002 026-4002003 026-4002004

2 1/2” 3” 125 026-4002502 026-4002504 026-4002509

3” 3.5” 125 026-4003002 026-4003004 026-4003005

3 1/2” 4” 100 026-4003502 026-4003500

4” 4.569” 100 026-4004002 026-4004004 026-4004006

6” 6.523” 50 026-4006002 026-4006008

3. cross liNk polyeTHyleNe cHemical Hose

coNsTrucTioN: Tube polyeTHyleNe, reiNforcemeNT TexTile aNd Wire, cover epdm

1” 1.5” 150 026-9001005 026-9001007 026-9001001

1 1/4” 1.937” 150 026-9001255 026-9001257 026-9001251

1 1/2” 2.187” 150 026-9001505 026-9001507 026-9001503

2” 2.812” 150 026-9002005 026-9002001 026-9002009

3” 3.906” 150 026-9003005 026-9003001 026-9003000

4. polyureTHaNe maTerial HaNdliNg Hose

coNsTrucTioN: pvc cover WiTH polyureTHaNe liNer aNd rigid black pvc Helix

Hose & TubiNg

1. clear viNyl TubiNg- sigHT gauge

1/4” .50” 70 026-6000143 026-6000141

3/8” .625” 60 026-6000387 026-6000389

1/2” .750” 45 026-6000507 026-6000509

5/8” .875” 40 026-6000586 026-6000585

3/4” 1” 35 026-6000757 026-6000750 1” 1.25” 25 026-6001006 026-6001005

1 1/4” 1.75” 40 026-6001257 026-6001256

1 1/2” 2” 35 026-6001501 026-6001500 2” 2.50” 30 026-6002007 026-6002006

2. reiNforced clear viNyl TubiNg- sigHT gauge

3/8” .595” 225 026-6010385 026-6010383 026-6010381

1/2” .750” 200 026-6010505 026-6010503 026-6010501

3/4” 1.025” 150 026-6010755 026-6010753 026-6010751 1” 1.312” 125 026-6011005 026-6011003 026-6011002

3. clear pvc WaTer sucTioN Hose

3/4”

1” 1.26” 90 026-8101005 026-8101003 026-8101001

1 1/4” 1.56” 70 026-8101255 026-8101253 026-8101251

1 1/2” 1.83” 70 026-8101505 026-8101503 026-8101501

2” 2.32” 60 026-8102005 026-8102003 026-8102001

2 1/2” 2.88” 60 026-8102502 026-8102501

3” 3.43” 50 026-8103005 026-8103003 026-8103001

4” 4.50” 45 026-8104005 026-8104003 026-8104001

Hose clamps

sTaiNless sTeel poW’r gear clamp

sTaiNless

sTeel Hose barbs- mNpT x Hb

1 *029-1225391 1/4” x 3/8”

1 *029-1225511 1/4” x 1/2”

1 *150-1500255 1/4”

1 *150-1500380 3/8”

1 *150-1500507 1/2”

1 *150-1501234 1/2” x 3/4”

1 *150-1500758 3/4”

1 *150-1501003 1”

1 *150-1501254 1 1/4”

1 *150-1501508 1 1/2”

1 *150-1502004 2”

1 *150-1503005 3”

1 *150-1504006 4”

˚ elboW Hose barbs

2 *029-1325259 1/4”

2 *029-1325383 1/4” x 3/8”

2 *029-1325503 1/4” x 1/2”

2 *029-1338503 3/8” x 1/2”

2 *029-1338383 3/8”

2 *029-1350509 1/2”

2 *029-1350381 1/2” x 3/8”

2 *029-1350750 1/2” x 3/4”

2 *029-1375388 3/4” x 3/8”

2 *029-1375508 3/4” x 1/2”

2 *029-1375759 3/4”

2 *029-1375106 3/4” x 1”

2 *029-1310752 1” x 3/4”

2 *029-1310109 1”

2 *029-1311251 1” x 1 1/4”

2 *029-1313133 1 1/4” x 1”

2 *029-1312151 1 1/4” x 1 1/2”

2 *029-1312125 1 1/4”

2 *050-4001503 1 1/2” x 1 1/4”

2 *050-4001550 1 1/2”

2 *050-4002056 2”

2 *050-4002061 2” x 1 1/2”

2 *050-4003051 3”

*029-1250506 1/2”

*029-1250623 1/2” x 5/8”

*029-1250757 1/2” x 3/4”

*044-8400385 11/16” x 3/8” 3 *007-7033812 11/16” x 1/2” 3 *029-1275385 3/4” x 3/8”

*029-1275505 3/4” x 1/2” 3 *029-1275622 3/4” x 5/8”

*029-1275756 3/4”

*029-1275103 3/4” x 1”

*029-1210106 1” 3 *029-1210759 1” x 3/4” 3 *029-1210120

Hose meNder elboWs

poly. Hose barbs - mNpT x Hb

polypropyleNe pipe fiTTiNgs

pipe Nipples

pipe plugs

029-1825003 1/4”

reducer coupliNgs

reducer busHiNgs

3”

elboWs -

202-0140382 3/8”

202-0140501

2” x 1 1/2”

Tees

4” x 3”

202-0120250 1/4”

202-0120380 3/8”

202-0120508 1/2” 202-0120759 3/4” 202-0121004 1” 202-0121255 1 1/4”

304 sTaiNless sTeel pipe fiTTiNgs

elboWs - 90 ˚

004-3610257 1/4”

004-3610381 3/8”

004-3610501 1/2”

004-3610752 3/4”

004-3611007 1”

004-3611258 1 1/4”

004-3611502 1 1/2”

004-3612008 2”

004-3613009 3”

004-3614003 4”

004-3670259 1/4”

004-3670503 1/2”

004-3670754

004-3660181 1/8”

004-3660253 1/4”

004-3660386 3/8”

004-3660506 1/2”

004-3660757 3/4”

004-3661002 1”

004-3600181 1/8” x Cl.

004-3600250 1/4” x Cl.

004-3600271 1/4” x 2”

004-3600281 1/4” x 4”

004-3600289 1/4” x 6”

004-3600188 3/8” x Cl.

004-3600384 3/8” x 2”

004-3600385 3/8” x 4”

004-3600504 1/2” x Cl.

004-3600511 1/2” x 2”

004-3600528 1/2” x 4”

004-3600566 1/2” x 6”

004-3600700 3/4” x Cl.

004-3600755 3/4” x 2”

004-3600803 3/4” x 4”

004-3600861 3/4” x 6”

004-3601103 1” x Cl.

004-3601000 1” x 2”

004-3601048 1” x 4”

004-3601062 1” x 6”

004-3601206 1 1/4” x Cl.

004-3601251 1 1/4” x 4”

004-3601505 1 1/2” x Cl.

004-3601529 1 1/2” x 2”

004-3601543 1 1/2” x 4”

004-3601567 1 1/2” x 6”

004-3602025 2” x Cl.

004-3602049 2” x 4”

004-3602063 2” x 6”

004-3602084 2” x 8”

004-3602101 2” x 10”

004-3602128 2” x 12”

004-3603002 3” x Cl.”

004-3603040 3” x 4”

004-3603064 3” x 6”

004-3603088 3” x 8”

004-3603101 3” x 10”

004-3603129

004-3604003

004-3604041

004-3604065

004-3680256 1/4” x 1/8”

004-3680380 3/8” x 1/4”

004-3680500 1/2” x 1/4”

004-3680517 1/2” x 3/8”

004-3680751 3/4” x 1/4”

004-3680768 3/4” x 3/8”

004-3680775 3/4” x 1/2”

004-3681021 1” x 1/4”

004-3680991 1” x 3/8”

004-3681006 1” x 1/2”

004-3681013 1” x 3/4”

004-3681257 1 1/4” x 1”

004-3681515 1 1/2” x 3/4”

004-3681518 1 1/2” x 1”

004-3681525 1 1/2” x 1 1/4”

004-3682021 2” x 1”

004-3682007 2” x 1 1/4”

004-3682014 2” x 1 1/2”

004-3682502 2 1/2” x 2”

004-3683008 3” x 2”

004-3684016 4” x 2”

004-3684009 4” x 3”

004-3630181 1/8”

004-3630251 1/4”

004-3630385 3/8”

004-3630505 1/2”

004-3630756 3/4”

004-3631001 1”

004-3631252 1 1/4”

004-3631506 1 1/2”

004-3632002 2”

004-3633003 3”

004-3640186 1/8”

004-3640258 1/4”

004-3640382 3/8”

004-3640502 1/2”

004-3640753 3/4”

004-3641008 1”

004-3641259 1 1/4”

004-3641503 1 1/2”

004-3642009 2” 004-3643000 3”

004-3643062 4”

004-3620254 1/4”

004-3620381 3/8”

004-3620508 1/2”

004-3620759 3/4” 004-3621004 1”

004-3621255 1 1/4”

004-3621509 1 1/2”

004-3622005 2”

004-3623006 3”

004-3624007 4” FDS Part # Size

004-3634004 4” FDS Part # Size

Nipples

malleable iroN pipe fiTTiNgs

elboWs - 90 ˚

004-6011507

004-6012003

004-6013004

004-6014005

004-6201506

004-1841507 1

004-6131504

004-6132000

004-6133001

004-6134002

Tees

004-6311506

004-6312002

004-6313003

004-6314004

reducer coupliNgs

004-6781507

004-6782010

004-6783004

004-6784005

004-6611505 1 1/2” 004-6612001

004-9900500 1/2”

004-9900750 3/4”

004-9901000 1”

004-9901250 1 1/4”

004-9901500 1 1/2”

004-9902000 2”

004-9903000 3”

004-9904000 4”

004-9800500

004-9803000

004-9400500 1/2”

004-9400700 3/4”

004-9401001

004-9401250

004-9401500

004-9402000 2”

004-9403000 3”

004-9404000

sTaiNless sTeel Weld fiTTiNgs

-

sTaiNless sTeel cam lever coupliNgs

Part A

polypropyleNe cam lever coupliNgs

Part B

Part F

polypropyleNe cam lever coupliNgs

bolTed polypropyleNe valves

4 bolT valves

polypropyleNe sTubby valves

sTubby valves - NpT

sTubby valves - maNifold flaNge

2” Flange x male adapter

3 Way polypropyleNe valves

valves & accessories

uNioN valves

micro valves

sTeel valves & accessories

sTaiNless sTeel ball valves W/ lockiNg HaNdle

sTeel ball valves W/ air acTuaTor mouNTed

buTTerfly valves W/ epdm seaT

050-0301301

050-0301501

050-0303001

050-0002004

050-0002161

polypropyleNe “y”

Stainless Screen

y sTraiNers & caps - add screeN To compleTe

screeNs - y sTraiNer

6 050-2200209 3/4” 20 Beige

6 050-2200405 3/4” 40 Brown

6 050-2200807 3/4” 80 Yellow

6 050-2100206 1” & 1 1/4” 20 Beige

6 050-2100402 1” & 1 1/4” 40 Brown

6 050-2100804 1” & 1 1/4” 80 Yellow

6 050-2002061 1 1/2” & 2” 6 White

6 050-2002126 1 1/2” & 2” 12 Black

6 050-2002205 1 1/2” & 2” 20 Beige

6 050-2002301 1 1/2”

1 1/2” & 2” 100 Green 6 050-2002900 1 1/2” & 2” 120 Black 050-2002141 1 1/2” & 2” Screen O-Ring

050-0003049 3” 4 Stainless

polypropyleNe “T” sTraiNers

Banjo Screen

baNJo T sTraiNers - add screeN To compleTe

screeNs - baNJo T sTraiNer

1 1/4”, 1 1/2”, & 2” 30 Red 4 050-0000321 1 1/4”, 1 1/2”, & 2” 50 Blue 4 050-0000331 1 1/4”, 1

baNJo T sTraiNer parTs

TeeJeT

TeeJeT T sTraiNer parTs

polypropyleNe maNifold

flaNged y sTraiNers aNd caps - add screeN To compleTe

screeNs - flaNged y sTraiNer

5 050-2100206 1” Flanged 20 Beige

5 050-2100402 1” Flanged 40 Brown

5 050-2100804 1” Flanged 80 Yellow

5 050-2002061 2” Flanged 6 White

5 050-2002126 2” Flanged 12 Black

5 050-2002205 2” Flanged 20 Beige

5 050-2002301 2” Flanged 30 Red

5 050-2002504 2” Flanged 50 Blue

5 050-2002803 2” Flanged 80 Yellow

5 050-2002851 2” Flanged 100 Green

5 050-2002900 2” Flanged 120 Black

5 050-0002101 2”

050-0002801 2”

Flanged 80 Stainless 5 050-0002001 2” FP Flanged 100 Stainless

050-0003049 3” Flanged 4 Stainless

050-0003080 3” Flanged 8 Stainless

050-0003126 3” Flanged 12 Stainless

050-0003205

x flaNge coupliNgs

x flaNge 90 ˚ coupliNgs

050-8162202

050-8153002

050-8153001

2” TraNsfer pumps - gas

2” self primiNg ceNTrifugal pumps & eNgiNes

3” TraNsfer pumps - gas

3” self primiNg ceNTrifugal pumps & eNgiNes

Banjo m300PH13W
John Blue SP-3350-G13H-FLG
Banjo 300ph-6
Banjo 300Pih13

TraNsfer pumps - elecTric, pedesTal, & Hydraulic

2” & 3” self primiNg ceNTrifugal pumps

elecTric moTors

2” & 3” pedesTal pumps

sump pumps, Hose reel, & pump accessories

Tefc elecTric moTors-3450 rpm

pisToN pumps

JoHN blue pisToN pumps - 450

pisToN pump

dura producTs quick caddy sysTems & pumps

Bulk Mixer Motor

cHemical & WaTer meTers

miNi bulk valves & accessories

educTors, iNducTors, & veNTuris

f/s Tru-kleeN iNJecTor kiTs

Hypro cleaNload max large capaciTy educTioN sysTem

HaNdler iNducTor sysTems

educTors, iNducTors, & veNTuris

HorizoNTal TaNks

Elliptical Leg Tank **Available in Black**

draiNable leg TaNks

HorizoNTal leg TaNks

Horizontal Tanks that Require bands require full length support

All Norwesco Drainable Tanks require Full Bottom Support & Support Bands

Elliptical Tanks that Require bands require full length support

verTical sTorage TaNks

450-0402247

applicaTor TaNks

WaTer TaNks

sTaNdiNg WaTer TaNks

TaNk fiTTiNgs & accessories

polypropyleNe double THreaded bulkHead & bolTed fiTTiNgs

2

2

050-8202202 2” Flanged Bolted Fitting- SS Bolts, EPDM Gasket

050-8203003 3” Flanged Bolted Fitting- SS Bolts, EPDM Gasket 050-7203045 050-7203046

TaNk mix & riNse Nozzles

aNTi-vorTex veNT caps & poly TaNk

diapHragm pumps & ferTilizer placemeNT aTTacHmeNTs

remco diapHragm pumps

oN/off Wireless remoTe coNTrol

3

3

3

3

pusH lock Tube fiTTiNgs

female sTraigHT coNNecTors

diapHragm cHeck bodies

elboW couplers

elboW coNNecTors

Tee couplers

sTraigHT couplers

sTem adapTers

Elbow Coupler

floW iNdicaTors & blockage moNiTor sysTems

floW divider

JoHN blue accessories

250-7000007 SMPT-0007 Viton O Ring

250-0000857 SMPT-0057 Orange Low Flow Magnetic Ball

250-0000879 SMPT-0079 Blue High Flow Magnetic Ball

250-0000858 SMPT-0058 Yellow Standard Flow Magnetic Ball

250-7000003 SMPT-0003 3/8” FPT Adapter Cap

250-7000006 SMPT-0006 Retainer Clip

250-7000008 SMPT-0008 End Cap

250-7000034 SMPT-0034 Orifice O-Ring 4

044-9000031

044-9000003

044-9000002

044-9000010

Hydraulic drive spray pumps

roller & ceNTrifugal spray pumps

casT iroN roller pumps -

casT iroN ceNTrifugal spray pumps

field compuTer & guidaNce sysTems

micro-Trak sysTems

liquid coNTrol sysTems

Raven Three Boom Valve Kit
744A Console
Vacuum Cup
Sky Trak
Astro 11

floWmeTers & coNTrol valves

floWmeTers

12v buTTerfly regulaTiNg valves

maNual coNTrol valves

elecTric oN/off

TeeJet

elecTric oN/off valves

baNJo poly THreaded 12v valves W/ ss ball & sTem

spray accessories

ricHWay Nozzle sTops & valve parTs

collecTor Heads

sprayers & Weed Wipers

ATV, UTILITY, & SPOT SPRAYERS

3 POINT SPRAYERS

y-drops & sprayer guNs

• Adjustable riser length allows for mid-to late-season nitrogen application

• Breakaway mounting brackets & a flexible riser allow for easier navigation across hills & uneven terrain

• Variable rate nozzles for customizing the rate, time, and placement

• Sprayer mounting kit is brand specific

360 yield ceNTer y-drops

spray guNs & Tips

broadcasT spray Tips

044-0120021 Yellow TTI-11002 VP

044-0120025 Purple TTI-11002.5 VP

044-0120031 Blue TTI-11003 VP

044-0120041 Red TTI-11004 VP

044-0120051 Brown TTI-11005 VP

044-0120061 Gray TTI-11006 VP

044-0120081 White TTI-11008 VP - CE Tip, Cap, & Gasket

044-0120101 Light Blue TTI-11010 VP - CE Tip, Cap, & Gasket

TWiN flaT spray Tips

044-1140311 Blue AITTJ60-11003VP

044-1140041 Red AITTJ60-11004VP

044-1140051 Brown AITTJ60-11005VP

044-1140061 Gray AITTJ60-11006VP

044-1140081 White AITTJ60-11008VP

044-1140101 Light Blue AITTJ60-11010VP

044-1140151 Light Green AITTJ60-11015VP

AITTJ60-11006

AITTJ60-11008

AITTJ60-11010

AITTJ60-11015

broadcasT spray Tips

FDS

80˚ Tips

044-0000866 Orange XR 8001 VS 044-0000873 Green XR 8001.5 VS 044-0000880 Yellow XR 8002 VS 044-0000897 Blue XR 8003 VS 044-0000907 Red XR 8004 VS 044-0000914 Brown XR 8005 VS 044-0000921 Gray XR 8006 VS 044-0000938 White XR 8008 VS 044-0080109 XR 8010 SS 044-0080154 XR 8015 SS 044-0080202 TP 8020 SS 110˚ Tips

044-0000103 Orange XR 11001 VS 044-0000110 Green XR 110015 VS 044-0000127 Yellow XR 11002 VS 044-0000134 Blue XR 11003 VS 044-0000141 Red XR 11004 VS 044-0000158 Brown XR 11005 VS 044-0000165 Gray XR 11006 VS 044-0000189 White XR 11008 VS 044-0110103 XR 11010 SS 044-0110158 XR 11015 SS

raNge flaT spray Tips

044-1150015 Green XRC 8001.5 VS 044-1150021 Yellow XRC 8002 VS 044-1150031 Blue XRC 8003 VS 044-1150041 Red XRC 8004 VS 044-1150051 Brown XRC 8005 VS 044-1150061 Gray XRC 8006 VS

110˚ Tips

044-1140031 Blue XRC 11003 VS 044-0001951 Red XRC 11004 VS 044-0001952 Brown XRC 11005 VS 044-0001953 Gray XRC 11006 VP

044-0001984 White XRC 11008 VP 044-0001955 Light Blue XRC 11010 VP 044-0001956 Light Green XRC 11015 VP 044-0001957 Black XRC 11020 VP

XR8001

XR80015

XR8002

XR80025

exTeNded raNge flaT spray Tips
exTeNded

broadcasT spray Tips

FDS Part #

Color

TeeJet #

044-0110010 Orange TT-11001 VP

044-0110015 Green TT-11001.5 VP

044-0110020 Yellow TT-11002 VP

044-0110025 Purple TT-11002.5 VP

044-0110030 Blue TT-11003 VP

044-0110040 Red TT-11004 VP

044-0110050 Brown TT-11005 VP

044-0110060 Gray TT-11006 VP

044-0110080 White TT-11008 VP

044-0110100 Light Blue TT-11010 VP

044-0110121 Telemagenta TT11012 VP

flaT spray Tips

FDS Part # Color TeeJet #

044-6110021 Yellow TTJ60-11002-VP

044-6110025 Purple TTJ60-11025-VP

044-6110031 Blue TTJ60-11003-VP

044-6110041 Red TTJ60-11004-VP

044-6110051 Brown TTJ60-11005-VP

044-6110061 Gray TTJ60-11006-VP

044-6110081 White TTJ60-11008-VP

044-6110101 Light Blue TTJ60-11010-VP

Droplet Size Classifications

XC

XC

TTJ60-11002

TTJ60-110025

TTJ60-11003

TTJ60-11004

TTJ60-11005

TTJ60-11006 XC

TWiN

broadcasT spray Tips

FDS Part # Color

044-1120015 Green AIC-11001.5 VS 044-1120021 Yellow AIC-11002 VS 044-1120025 Violet AIC-11002.5 VS 044-1120031 Blue AIC-11003 VS 044-1120041 Red AIC-11004 VS 044-1120051 Brown AIC-11005 VS 044-1120061 Gray AIC-11006 VS 044-1120081 White AIC-11008 VS 044-1120101 Light Blue AIC-11010 VS 044-1120151 Light Green AIC-11015 VS

iNducTioN flaT spray Tips

044-1110015 Green AI-11001.5

044-1110021 Yellow

044-1110025 Purple

044-1110031 Blue

044-1110041 Red AI-11004

044-1110051 Brown AI-11005

044-1110061 Gray

044-1110081 White

UC

broadcasT spray Tips

FDS Part # Color TeeJet #

044-0307015 Green

AI3070-015-VP

044-0307021 Yellow AI3070-02-VP

044-0307025 Purple AI3070-025-VP

044-0307031 Blue AI3070-03-VP

044-0307041 Red AI3070-04-VP

044-0307005 Brown AI3070-05-VP

FDS Part # Color

044-1130015 Green

044-1130021 Yellow

044-1130026 Purple

044-1130030 Blue

TeeJet #

AIXR-110015-VP

AIXR-11002-VP

AIXR-110025-VP

AIXR-11003-VP

044-1130042 Red AIXR-11004-VP

044-1130051 Brown

AIXR-11005-VP

044-1130061 Gray AIXR-11006-VP pressure raNges from 15-90 psi (1-6 bar)

AI3070-015

AI3070-02

AI3070-025

AI3070-03

AI3070-04

AI3070-05

AIXR110015

AIXR11002

AIXR110025

AIXR11003

AIXR11004 UC

AIXR11005 UC

AIXR11006 UC

broadcasT spray Tips

Hypro

fasTcap uld - ulTra lo-drifT - Tip, cap, &gaskeT - 120° spray aNgle

• Straight-through design to reduce clogging

• Incredibly uniform application across the boom

• Lower spray heights and pre-orifice technology reduce drift

• Fits directly on stand nozzle bodies

• FastCap® includes tip, cap, and gasket

007-8120015 Green

0.15 GPM

007-8120020 Yellow FC-ULD120-02 0.20 GPM

007-8120025 Lilac FC-ULD120-025 0.25 GPM

007-8120030 Blue FC-ULD120-03 0.30 GPM

007-8120040 Red FC-ULD120-04 0.40 GPM

007-8120050 Brown

0.50 GPM

007-8120060 Gray FC-ULD120-06 0.60 GPM

007-8120080 White FC-ULD120-08 0.80 GPM

007-1700255 Replacement Gasket - 1700-0255

greeNleaf medium pressure Turbo drop Tdxl

• 110° Flat Fan

• Medium droplets for contact chemicals

• Lower spray heights and pre-orifice technology reduce drift

• Easy to clean - Hard to plug

• Long wear life

044-0110023 Yellow-Red TDXL-11002

044-0110026 Purple-Brown TDXL-110025

044-0110031 Blue-Gray TDXL-11003

044-0110043 Red-White TDXL-11004

044-0110053 Brown- Lt Blue TDXL-11005

044-0110063 Gray-Turquoise TDXL-11006

044-0110083 White-Purple TDXL-11008

044-0110101 Black-Blue TDXL-11010

044-0000125 Replacement Gasket -G125

ferTilizer spray Nozzles & regulaTors

007-8414008 White HF140-08

007-8414010 Blue HF140-10

007-8414015 Green HF140-15

007-8414020 Black HF140-20

007-8414030 Tan HF140-30

007-8414040 Gray HF140-40

007-8414050 Purple HF140-50

007-8414060 Yellow HF140-60

007-2211641 Replacement Gasket

Hi-floW 140° Tips

• Straight-through design to reduce clogging

• Incredibly uniform application across the boom

• Lower spray heights and pre-orifice technology reduce drift

• Fits directly on standard nozzle bodies

• FastCap® includes tip, cap, and gasket

verifloW Nozzle

• Controls flow rate on-the-go

• Nozzle will automatically adjust for varying application when used with rate controllers and metering pumps

• Pressure range 15-60 PSI

Steel - All Sizes

Note: Always insert orifice plate with side marked with number facing the outlet.

ferTilizer spray Nozzles

sJ-3 ferTilizer Nozzles

• 3 Solid streams of equal velocity and capacity

• Removable metering orifice for easy cleaning

• Equally spaced distribution at 20” (50 cm) height

• Recommended operating pressure: 20-60 PSI

sJ-7 ferTilizer Nozzles

• 7 Identical fluid streams of equal velocity & capacity

• Excellent spray distribution quality

• Removable metering orifice for easy cleaning

• Recommended operating pressure range of 20-60 PSI

FDS Part # Color TeeJet #

044-0003020 Yellow SJ3-02-VP

044-0003031 Blue SJ3-03-VP

044-0003041 Red SJ3-04-VP

044-0003051 Brown SJ3-05-VP

044-0003061 Gray SJ3-06-VP

044-0003081 White SJ3-08-VP

044-0003010 Light Blue SJ3-10-VP

044-0003015 Light Green SJ3-15-VP

044-0003201 Black SJ3-20-VP

FDS Part # Color TeeJet #

044-0007031 Blue SJ7-03-VP

044-0007041 Red SJ7-04-VP

044-0007051 Brown SJ7-05-VP

044-0007061 Gray SJ7-06-VP

044-0007081 White SJ7-08-VP

044-0007101 Light Blue SJ7-10-VP

044-0007151 Light Green SJ7-15-VP

solid sTream spray Nozzles

• Permits banding fluids at high rig speeds

• Large orifices with no internal obstructions

Tips

FDS Part # TeeJet #

044-0039024 TP0002-SS

044-0039031 TP0003-SS

044-0039048 TP0004-SS

044-0039055 TP0005-SS

044-0039062 TP0006-SS

044-0039086 TP0008-SS

044-0039103 TP0010-SS

044-0039124 TP0012-SS

044-0039155 TP0015-SS

044-0039208 TP0020-SS

044-0039309 TP0030-SS

044-0039402 TP0040-SS

• Lower drift potential

• Recommended operating pressure range of 10-40 PSI for coulTer iNJecTioN sysTems

Nozzles

FDS Part # TeeJet #

044-0038021 H1/4U-SS0002

044-0038031 H1/4U-SS0003

044-0038041 H1/4U-SS0004

044-0038051 H1/4U-SS0005

044-0038061 H1/4U-SS0006

044-0038081 H1/4U-SS0008

044-0038101 H1/4U-SS0010

044-0038151 H1/4U-SS0015

044-0038201 H1/4U-SS0020

044-0038301 H1/4U-SS0030

044-0038401 H1/4U-SS0040

cHafer sTream bars

FDS Part # Description

044-9000015 Stream Bars 15” Spacings

044-9000020 Stream Bars 20” Spacings

see formulas & applicaTioN raTe cHarT

oN page 186

• Quick & simple application rate changes

• 4 Ports are fed independently to ensure even application

• Uneffected by boom height

• Reduces pressure at each outlet producing a stream of only large heavy droplets

ferTilizer spray Nozzles

Wide aNgle

flaT spray Tips

Adjust spray height in the field to overlap approximately 30% of each edge of pattern.

Wide aNgle flaT spray Tips

QTC Cam-Loc Adapter

• Provides easy changeover from high capacity to lower capacity nozzles.

• Adapter fits standard ¾” quick connect Cam-Loc holders.

• Corrosion-resistant stainless steel and polypropylene construction.

• Rated up to 100 PSI (7 bar)

• Use QJT-NYB to retrofit to Quick TeeJet

aNgle flaT spray Tips

044-4000151 Tan QCTF-VS15

044-4000201 White QCTF-VS20

044-4000301 Yellow QCTF-VS30

044-4000401 Red QCTF-VS40

044-4000501 Gray QCTF-VS50

044-4000601 Blue QCTF-VS60

044-4000801 Black QCTF-VS80

044-4001001 Light Blue QCTF-VS100

044-4001201 Orange QCTF-VS120

044-4000037 Gray TFVS 3

044-4000048 White TFVS 4

044-4000059 Light Blue TFVS 5

044-4000075 Light Green TFVS 7.5

044-4000103 Black TFVS 10

044-0000385 TKSS 15

044-0000392 TKSS 20

044-0000402 TKSS 30

044-4000141 QCT Cam-Lock Adapter 044-0013268 CP 1325 Cap

044-0000581 1/4 KSS 15

044-0000598 1/4 KSS 20

Hose drop Tips & fiTTiNgs

double ouTleT flaT spray Tips

044-1500026 150° - 2 Stainless Steel

044-1500037 150° - 3 Stainless Steel

044-1500048 150° - 4 Stainless Steel

044-1500051 150° - 5 Stainless Steel

044-1500068 150° - 6 Stainless Steel

044-1500082 150° - 8 Stainless Steel

044-1500099 150° - 9 Stainless Steel

Hose drops

Hose drops connect to standard and Quick TeeJet nozzle bodies and can also be used with swivels. Available in 15” (380 mm) and 24” (610 mm) lengths. Maximum operating pressure of 125 psi (9 bar).

NoTe: qJ1/4-Nyb caN be aTTacHed To Hose drops for use WiTH quick TeeJeT caps.

A

044-2135362 24” (610 mm)

044-2135348 15” (380 mm) Quick TeeJet Type 1/4” NPT (M)

B 044-2135415 15” (380 mm) 11/16” - 16 TeeJet

044-2135424 24” (610 mm)

044-1902000 QJ 1/4T NYB 1/4” Quick TeeJet

QJ8600 swivel Quick TeeJet nozzle body assemblies provide the same spray tip adjustability of a standard TeeJet threaded swivel plus the quick change and self-aligning features of the Quick TeeJet System. suggesTed for posT-direcTed applicaTioN WiTH Hose drops

quick TeeJeT caps

044-1911588 044-1911589 044-1911590 044-1911591 044-1911592 044-1911593 044-1911594 044-1911596 044-1911599 044-1911595 Black White Red Blue Green Yellow Brown Violet Gray Orange

044-2561001 044-2561002 044-2561003 044-2561004 044-2561005 044-2561006 044-2561007 044-2561008 Black White Red Blue Green Yellow Brown Orange

044-2076307 044-2076308 044-2076309 044-2076310 044-2076311 044-2076312 044-2076313 044-2076315 044-2076316 044-2076314 Black White Red Blue Green Yellow Brown Purple Gray Orange

044-1145001 044-1145011 044-1145012 044-1145013 044-1145002 Black Lt. Blue Magenta Lt. Green White

044-2560001 044-2560002 044-2560003 044-2560004 044-2560005 044-2560006 044-2560007 044-2560008 Black White Red Blue Green Yellow Brown Orange

044-2560801 044-2560802 044-2560803 044-2560804 044-2560805 044-2560806 044-2560807 044-2560808 Black White Red Blue Green Yellow Brown Orange

quick TeeJeT siNgle Nozzle bodies & adapTers

Item FDS Part # - Description

QJ100-Single

QJ100-Double

044-0186359 - 3/8”

044-0186380 - 1/2”

044-0187192 - 3/4”

044-0186361 - 3/8”

044-0186397 - 1/2”

044-0187202 - 3/4”

QJ200-Single 044-0193800 - 3/8”

QJ200-Double

QJ200-Triple

QJ300-Single

QJ300-Double

QJ17560-NYBWet Boom

55240-CELR Snap Fit Adapter Cap

40203 Snap Fit Adapter Cap

044-0193494 - 1/2”

044-0193528 - 3/4”

044-0193804 - 3/8”

044-0193504 - 1/2”

044-0193535 - 3/4”

044-0193510 - 3/8”

044-0193511 - 1/2”

044-0193542 - 3/4”

044-0222497 - 3/8”

044-0222514 - 1/2”

044-0222538 - 3/4”

044-0222501 - 3/8”

044-0222521 - 1/2”

044-0222545 - 3/4”

044-0175621 - 1/2”

044-0175612 - 3/4”

044-0175605 - 1”

044-0552401 - Hardi to TeeJet Adapter Cap

Item FDS Part # - Description

QJ 1/4TT-NYB

QJT - Female Thread

QJ90-1-NYR

QJ Nylon Check Valve w/ Gasket

QJ8360 Nylon Check Valve

QJ8355-1/4-NYB Nylon Check Valve

QJ90-2-NYR

22674-1/4-NYB

Diaphragm End Caps

Diaphragm for Check Valves

50854-NYB Extension Cap

044-1901102 - 1/4” MNPT

044-1901009 - 11/16” FNPT w/ Gasket

044-1901308 - Replacement Gasket for 11/16”

044-1902000 - 1/4” FNPT

044-4676902 - 90° Adapter w/ Gasket

044-0083614 - 11/16” Thread

044-1901308 - Replacement Gasket

044-0083621 - 1/4” MNPT

044-9402031 - Wilger Adapter Cap to TeeJet

044-0083559 - 1/4” FNPT

044-0009021 - Adapter w/ Gasket

044-0226745 - Adapter

044-2195002 - 2 Lb.

044-2195005 - 5 Lb.

044-2195008 - 8 Lb.

044-2195010 - 10 Lb.

044-0219538 - EPDM

044-0219545 - Viton

044-0508541 - 1” Extension

mulTiple Nozzle bodies

mulTiple Nozzle bodies for dry booms

mulTiple Nozzle bodies for WeT booms

spray applicaTioN parTs

Item Description

Nozzle Body 1/4” FNPT Inlet

Nozzle Body 1/4” MNPT Inlet

Nozzle Cap 11/16” FNPT

Hose Shanks

Hose Shank Adapter 11/16” MPT

Double Hose Bodies 11/16” MPT

Single Hose Bodies 11/16” MPT

Outlet Adapter

044-0120944 - Nylon

044-1235120 - Brass

044-1235144 - Stainless Steel

044-0080288 - Nylon

044-0013220 - Brass

044-0013213 - Stainless Steel

044-0802707 - Nylon

044-0013251 - Brass

044-0013268 - Stainless Steel

044-8404066 - 3/8” Nylon

044-8405005 - 1/2” Nylon

044-4251400 - 3/8” SS

044-8400385 - 3/8” Barb

007-7033812 - 1/2” Barb w/ Jam Nut

044-8120407 - 3/8” Nylon

044-0081203 - 1/2” Nylon

044-0122786 - 3/4” Celcon & SS

044-0122023 - 1” Celcon & SS

044-8121408 - 3/8” Nylon

044-0081234 - 1/2” Nylon

044-0121785 - 3/4” Celcon & SS

044-0122016 - 1” Celcon & SS

044-0046781 - 1/4” FNPT Poly

044-0046774 - 1/4” FNPT SS

Item Description

Tip Strainer w/ SS Screens

Tip Strainer & Check 5 PSI - .8 GPM

Tip Check Valve 5 PSI - 1.5 GPM

12328 Diaphragm Check 7 PSI

8360 Diaphragm Check 10 PSI - 2.25 GPM

PVC Check 1 PSI

Check Components

044-0080791- Poly 24M White

044-0080790 - Poly 50M Blue

044-0080783 - Poly 100M Green

044-0050531 - Brass 50M Brass

044-0050524 - Brass 100M Brass

044-0041951 - Poly 50M Blue

044-0041952 - Poly 100M Green

044-0041944 - Brass 50M

044-0041937 - SS Body 50M

044-0117519 - Poly Black

044-0117502 - Stainless Steel

044-0123282 - 1/2” 12 GPM

044-1232811 - 3/4” 16 GPM

044-1233506 - Viton Diaphragm

044-0083607 - 1/4” x 11/16”

044-0046200 - Fairprene Diaphragm

044-0219538 - NS EPDM Diaphragm

044-0219545 - NS Viton Diaphragm

037-0000251 - 1/4” FNPT

019-0272113 - Spring

019-0138091 - Ball

019-0375384 - Washer

1 1/2” Poly Hose Barb x 1” Thread 014-1400010 - Elbow

014-1400011 - Tee

beariNgs & v-belTs

2

3 Hole flaNge

uNibar Wire belT Hooks 12-12” sTrips per box No piN

1” x 1” Heavy duTy Welded selvage mesH belT

Willmar coNveyor/spiNNer parTs

1

2 PTO Latch

2A PTO Clamp

3 1” Pillow Block Bearing

4 Line Shaft Shield

5 Front Line Shaft

6 1” Take-Up Bearing

7 Front Roller Weldment

8 Box Rod Wing Nut

10 1/2” x 5” - 13 UNC SS Bolt

11 7” Conveyor Chain Assy.

12 7” Splice Pin w/ Nut 500-0105131

13 Rear Gate Weldment (Not Pictured)

14 Metering Shaft Assy.

15 6 1/2” V-Idler (Old Style)

15 6 1/2” V-Idler (New Style)

16

Willmar Hopper parTs

cHaNdler parTs

1

300-CL-102H-R Disc w/ Hub 24” Hyd Right 1 270-0005193 300-CL-102H-L Disc w/ Hub 24” Hyd Left 1 270-3001051 300-CL-115R Disc w/ Hub 30” Hyd Right

270-0004921 300-FL-110B-L Blade, 11” LH Heat Treat 055-1127511 Blade Bolt, 5/16” x 1” 055-1111027 Flange Nut, 5/16”

2 270-0005240 300-FL-105R Disc w/ Hub Complete RH Hyd

2 270-0005241 300-FL-105L Disc w/ Hub Complete LH Hyd

270-0005210

300-FL-102R Disc Only, 6 Pattern, RH SS

270-0005200 300-FL-102L Disc Only, 6 Pattern, LH SS

270-0005451 300-FL-101R Disc Only, 6 Pattern, RH MS

270-0005441 300-FL-101L Disc Only, 6 Pattern, LH MS

270-3001022 300-EXW-103 Disc Only, 4 Pattern, RH SS

270-3001023 300-EXW-104 Disc Only, 4 Pattern, LH SS

055-1127511 Blade Bolt, 5/16” x 1”

270-0005053 300-FL-109R Blade, 6” RH SS

270-0005052 300-FL-109L Blade, 6” LH SS

270-3001082 300-FL-108R Blade, 6” RH Heat Treat

270-3001083 300-FL-108L Blade, 6” LH Heat Treat

270-0005051 300-FL-107R Blade, 6” RH MS

270-0005001 300-FL-107L Blade, 6” LH MS

270-3001085 300-EXW-105 Blade, 8” RH Heat Treat

270-3001084 300-EXW-106 Blade, 8” LH Heat Treat

055-1111027 Flange Nut, 5/16”

cHaNdler parTs

Conveyor chain Auger Motor

TeNder parTs

Motor, Tender, Disch. Auger MB12 1

Motor, Tender, Lower Auger MB22

Valve, Single Handle, Detented 270-4001313

Valve, Flow Control RDT

Oil Filter Element

bar coNveyor cHaiN

NeW leader parTs

dalToN spreader rear assembly parTs

FDS Part #

277-0515081

277-0515091

277-0515101

277-0515111

Description

Feed Body Vertical & Discharge Motor TG017

Feed Body Floor Motor TG0405

Side Discharge Motor TG0195

Side Discharge Floor Motor

277-0602121 # 60 Chain 2” x 12”

277-0060162 Spline Coupler Sprocket

277-0060161 Sprocket 6016 x 1 1/2”

277-0605041 Hanger Bracket

277-0220361 Wood Bearing

277-0000108

Hanger Bearing SCHBSC108

277-0066971 4 Bolt 1 1/2” Bearing

277-0000080 # 80 Chain 60” w/ Master

277-0000020 V20SHB Gear Box

277-0515201 1” 2-Bolt Bearing

277-0201351 Hanger Bolt

277-0361701 Bearing HD

277-0000004

IDR04 Sight Gauge

277-0594271 Oil Filter

277-0640191 Idler Shaft

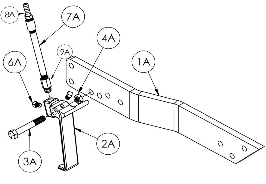
operaTioNs & maiNTeNaNce

Jacks TopWiNd & sideWiNd

1

Hydraulic cyliNder sTroke coNTrol kiTs

TesT & measure

agri-cover roll Tarp parTs

STANDARD STAINLESS STEEL END CAPS FOR SRT-2® SPOOL ROLL TARP

END CAP (SIDE MOUNT AND TOPMOUNT)

Item Part # Description

1 500-0009621 End Cap, Stainless Steel

***SPECIFY WHEN ORDERING*** Side Mount or Top Mount 7” Rise or 12” Rise Width of Box

BOWS & HARDWARE

STANDARD STAINLESS STEEL BOWS

Item Part # Description

1 500-9994060 Bolt, 3/8” x 1” Self Tapping HHD Zinc Plated

2

2 500-7481203 7” SS Bow w/ Extension, Side Mount, 48”-120”

2 500-4812126 12” SS Bow w/ Extension, Top Mount, 48”-120”

2 500-4812123 12” SS Bow w/ Extension, Side Mount, 48”-120” ***SPECIFY BOW LENGTH***

500-0050585 Top

STANDARD RIDGE STRAP 1” WIDE

RIDGE STRAP ASSEMBLY Item Part # Description

1 500-0750428 Ridge Strap Kit, stainless steel up to 10’ Long Box

1 500-0409621 Ridge Strap Kit, stainless steel up to 14’ Long Box

1 500-4096318 Ridge Strap Kit, stainless steel up to 18’ Long Box

1 500-9950008 Ridge Strap Kit, stainless steel up to 24’ Long Box

1 500-7055736 Ridge Strap Kit, stainless steel up to 36’ Long Box

1 500-0705851 Ridge Strap Kit, stainless steel up to 42’ Long Box

1 500-9070613 Ridge Strap Kit, stainless steel up to 50’ Long Box

SRT-2® SPOOL ROLL TARP CABLE

SRT-2 CABLE RATCHET AND STRAP 1" WIDE

500-9994111 Ratchet w/ Adjustable SS Bracket, Short Strap, & Hook SS

1 500-9970989 Ratchet Strap Short w/ Stainless Steel Hook (1")

2 500-9994067 Ratchet Bracket Stainless Steel

3 500-0800331 1” Tie-Down Ratchet

4 500-4001028 3/16” x 1/4” Stainless Steel Bow-Tie Cotter Pin

5 500-4001027 5/16” x 2” Stainless Steel Clevis Pin

6 500-9910927 Bolt, 3/8” x1” GR5, Stainless Steel, 2 Required

7 500-9910928 Nut, 3/8” Stainless Steel

500-4003907 Offset Ratchet Bracket Kit (stainless steel)

8 500-4003906 Offset Ratchet Bracket (stainless steel)

9 500-4003905 3/8” x 3/4” Stainless Steel Carriage Bolt

10 500-9910930 Washer, Flat 3/8” Stainless Steel

11 500-9910929 Washer, Lock 3/8” Stainless Steel

SRT-2 STAINLESS STEEL KIT RIDGE STRAP ASSEMBLIES INCLUDE CAM BUCKLE AND WEBBING WITH HOOK

(NOTE: On SRT-2 Stainless Steel kits, cam buckles are used in place of ratchet)

AND STRAP

NEW STYLE
OLD STYLE

agri-cover roll Tarp parTs

SRT-2® SPOOL ROLL TARP PARTS

CABLES, SPOOLS, SPRINGS,

&

CARTRIDGES

1

Cable 139” Stainless Steel (Up to 103” wide box)

Cable Stainless Steel (104”- 120” wide box)

Bolt, Carriage 5/16” x 1” Zinc Plated 7 500-9940835 15” Right Cartridge Kit (Cartridge, Clamp, Bolt & Nut) 8 500-9940812 15” Left Cartridge Kit (Cartridge, Clamp, Bolt & Nut) 500-9994044 15” Cartridge Spacer, Cotter & Clevis Pins

15” Cartridge Spacer

5/16” x 1-1/2” Stainless Steel Clevis Pin

x

SRT-2® SPOOL ROLL TARP CRANK HANDLE PARTS

TELESCOPIC HANDLES, FLEX DRIVE

AND HOLDERS

500-0060939

5/16" x 2-1/4" Zinc Plated

500-9960067 Nut, Hex Nyloc 5/16" Zinc Plated

500-9994064 Nut, Hex Rev Lock 5/16" Zinc Plated 5 500-9994070 Bolt, 5/16” x 1-3/4” GR5 Hex Zinc Plated 500-9994044 PVC Spacer, Bolt & Nut Kit (For Stainless Steel)

6 500-9994063 Spacer, PVC 1” Long

7 500-4000923

Telescoping Crank Short (handle only) extends to 6' 8"

8 500-4000930 Telescoping Crank, Short w/ Flex Drive (no holders)

agri-cover roll Tarp parTs

ROLL TUBES, STATIONARY TUBES

2" ROLL TUBE AND SPLICE (ALUMINUM)

1 500-9960950 Roll Tube 2” Dia. (Alum.)

2 500-9950050 Splice Tube, 24” Lg. Alum. (For 2” Dia. Roll Tube)

2 **SPECIFY LENGTH (INCHES) WHEN ORDERING**

3" ROLL TUBE AND SPLICE (ALUMINUM)

Item Part # Description

3 500-9910263 Roll Tube 3” Dia. Aluminum

3 **SPECIFY LENGTH (INCHES) WHEN ORDERING**

4 500-9994050 Roll Tube Splicer (3” tubes)

5 500-9960786 Drive Rivet, Tarp to 3” Tube Attachment

STATIONARY TUBE STEEL

Item Part #

6 500-9994072 Drive Rivet , 1" Tube Splice & Tarp to Tube Attachment

7 500-9920905 1 1/8” Dia. Stationary Tube Stainless Steel

7 **SPECIFY LENGTH (INCHES) WHEN ORDERING**

8 500-9950555 Tube End Plug 1” Dia. Stainless Steel (2Pcs.)

9 30546 Tarp Stop Kit (2 SSl Fasteners, 2 Nylon Spacers)

agri-cover Tarp order sHeeT

Semi Grain & Pup Trailer Box Detail Sheet

Stainless Steel Box Detail Sheet for SRT-2® Spool Roll Tarp

STAINLESS STEEL BOX DETAIL SHEET FOR SRT-2® SPOOL ROLL TARP

Please complete form thoroughly.

For tarp only please include the serial number. Located rear of tarp on stationary tube side.

NOTE: Accurate PHYSICAL measurements are ESSENTIAL

NEVER RELY ON UNIVERSAL BOX SIZES.

IMPORTANT:

•Manual crank handle will not work on air systems with rear manifold distributor.

•Manual crank handle will work on most spinner spreaders.

•AirMax/Loral may need an extension so tarp will roll over to clear.

•Ag Chem Spreaders with inside granular bins require a special rear cap, set back 6”.

•Loral units with rear granular attachment utilize same front and rear cap.

To measure radius corners, place a carpenter’s square on the front radius of the trailer. Measure at the point where the radius starts to arch around the front of the trailer.

Figure 3

aNHydrous ammoNia coNTrol sysTems

063-0171-220

211-6317122

117-0159-822

1 1/2” Safety Valve 019-0159-571

1 1/4” Safety Valve 019-0159-245

SCS 450 Console 211-1151785 10’ 115-0171-085

Radar Power Cable 12’ 115-0159-539 211-1159539

Speed Extension Cable 12’ 115-0159-032

115-0159-018

Console Cable

3 Sect 115-0171-836

Sect 115-0171-838

Extension Cable 12’ 115-0159-856 211-1159856 211-1151643 24’ 115-0159-857

Extension Cable 12’ 115-0171-840 211-0171840 211-1151758 24’ 115-0171-841

aNHydrous ammoNia coNTrol sysTems

scs 450 liquid coNTrol sysTem

005-1135811

graNular scs 660 W/ masTer

211-6317254

063-0172-542 115-0159-707

115-0159-032

115-0159-018

211-6317171

063-0171-071 180 CPR (50 RPM)

211-6317114

063-0171-114 36 CPR (250 RPM) 211-6317144

063-0171-443

blu-JeT liquid JeT sTream assembly

blu-JeT liquid kNife assembly

blu-JeT super 1200 coulTer parTs

blu-JeT seal pro ii

blu-JeT seal pro ii spriNg add-oN

blu-JeT disccover sealer

yeTTer 2930 coulTer parTs

yeTTer disc sealer parTs

iNTercHaNgeable dmi coulTer arm assembly

grove coulTer parTs

dalToN Heavy duTy sTyle disc sealer

dalToN side dress iNdepeNdeNT

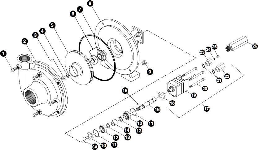
corkeN 521 & 1021 sTaTioNary pumps

blackmer pump for aa ‘84 aNd laTer

scoT 515 pedesTal base ceNTrifugal pump

baNJo self-primiNg poly ceNTrifugal pump

self-primiNg casT iroN ceNTrifugal pump

JoHN blue sp-3340, sp-3350,

SP-3450 4” x 3” SP Pump Unique Parts

JoHN blue Ngp-8050 & Ngp-9050 series

Ngp-6050 & Ngp-7050 series

Plunger- Locking Nut L-1047 L-1047

Valve Cover 115703-01

1/2 Hex Bolt 90704 90705 75 Stainless (2 Bolts Used) 90693/90687 90693/90687

Sprocket Key 106493-01 106493-01

Sprocket Assy. 106532-01 106532-01

Sprocket Assy. RC40-18T 113907-01 113907-01

Sprocket Spacer Assy. 115624-91 115624-91 C Connecting Rod Assy. L-1008-B 113645-91 D Flange Cover Assy. 115725-91 115725-91 E Setting Hub Assy. 115629-91 115629-91

F Setting Pointer Assy. 115630-91 115630-91

G Gasket Kit 115788 115688

G Gasket Kit - Stainless 115788-S 115688-S G Gasket Kit - Fumigant 115788-U 116788-U H Operators Kit 115787 115787

JoHN blue lm-4950 series pump parTs

parTs lisT for HigH speed lm-4450-Hs pumps oNly

Hypro 9305c-Hm3c

ace fmc-200-Hyd-304

ace fmc-cW-150-mag-dx3

ace fmc-75-Hyd

ace pToc-150

ace fmc-Hyd

ace fmc-150-Hyd

cHemTraveller series 400

cT6 pump replacemeNT parTs

dura pump & meTer parTs

Upper Housing

DP-P4002A - 415-4001222

O-ring

EPDM DP-P4004AO-E - 415-0040041

VITON DP-P4004AO-V - 415-1004004

Cartridge

EPDM DP-P6017A-E - 415-0040042

VITON DP-P6017A-V - 415-0040004

Gasket Kit

EPDM DP-G4001A-E KIT - 415-0043000

VITON DP-G4001A-V KIT - 415-0040010

Drive Plate

DP-P4013A - 415-4004013

Bypass Gasket

EPDM DP-P4008G-E - 415-0040080

VITON DP-G4008AG-V - 415-0004008

Bottom Housing Gasket

EPDM DP-P4001AG-E - 415-0400100

VITON DP-P4001AG-V - 415-0400101

Bottom Housing

EPDM/DEF DP-H4001A-E - 415-4001222

VITON DP-H4001A-V - 415-0004001

dura-meTer

Face Plate

DP-MFP01 (Ag) - 415-0000011

DP-MFP01-D (DEF) - 415-0000019

Only sold together as: Meter Body

DP-PMB3000E (EPDM and DEF) - 415-3000111

DP-PMB3000V (Viton) - 415-3000119

DURA PRODUCTS AG CHEMICAL CHART

dura producTs ag cHemical cHarT

COMPOUND COMPOUND

2,4-D Ester

Accord® / Accord® XRT

Ammonium Sulfate

Atrazine

Balance® Flexx

Corvus®

Degree Xtra®

Dicamba / Xtendimax®

DiFlexx® Duo

Duramax® / Durango®

Foliars

ForeFront®

FulTime® NXT

Fungicides

Garlon® 3A

Gaucho® 600

Gramoxone® / Paraquat

Grazon® P+D / GrazonNext

Halex® GT

Huskie®

Instinct®

Lorsban®

/ Crop Oil / Oil Based

Parity™

Prowl® / Pendimethalin

Raxil® PRO

Shredder™ E-99

Stratego® / Stratego® YLD

Stylet-Oil

SureStart® / SureStart® II

Surpass® EC

Tacoma®

TopNotch®

Tordon® 22k

Warrant®

The Dura Products Chemical Compatibility Chart should be considered as a guide only due to the many variables which may affect the compatibility of materials. This guide is based on the most recent information obtained from a variety of suppliers and chemical producers and is believed to be accurate. Actual decisions on materials used need to be tested and evaluated by the customer for each specific application. The responsibility of proper chemical compatibility of equipment and material used is the full responsibility of the customer. Dura Products does not warrant product damaged by non compatibility.

For help with the proper selection of a pump for your application needs, please call (855) 502-3872.

orifice disc cHarT

liquid sTorage TaNks

aNHydrous ammoNia TaNks - exTerior

primer dry Times

dry Times

* Note: Drying times are temperature, humidity, & film thickness dependant.

Notes:

• For best results, sandblast the surface prior to painting

• Products and amount required in gallons

• Includes estimated loss during application

• Square foot coverage is dependent on the solids content of products used, the thickness applied, and degree of loss during application

• The quality of the paint job is dependent upon proper surface preparation and proper mil thickness

• Surface Preparation: Remove all loose and peeling paint, rust, or scale by sandblasting, wire brushing, or sanding. Dull glossy surfaces by sanding or wire brushing. Surfaces should be free from dust, dirt, grease, and other containments

Turn static files into dynamic content formats.

Create a flipbook
Issuu converts static files into: digital portfolios, online yearbooks, online catalogs, digital photo albums and more. Sign up and create your flipbook.