
Olympian Diesel Generator Engine Parts Location
1. Sender coolant temperature ECT engine coolant temperature sensor
2. Switch / Sender oil pressure
3. Engine breather tube
4. Turbocharger
5. Flywheel
6. Flywheel housing
7. Air inlet connection to intake manifold
8. Mount, oil filter mounting base,
9. Water filter, coolant filter,
10. Water pump, coolant pump,

11. Water inlet connection, coolant inlet connection, 12. Lower radiator tube hose assembly, lower coolant hose,
13. Upper radiator tube hose assembly, upper coolant hose,
14. Fan, engine cooling fan,
15. Fan drive hub, fan drive pulley,
16. Oil cooler
17. Exhaust manifold
18. Magnetic pickup, Mag pickup
19. Motor mount assembly, cushion
20. Thermostat
21. MAP Sensor, manifold absolute pressure sensor
22. Camshaft position sensor
23.Belt tensioner assembly
New engine parts for Diesel generators and Gas, spark ignited, generators. Located in USA, worldwide parts delivery available.
Heavy Equipment Restoration Parts
4730 118th Ave
Fennville Michigan 49408 USA
Phone: 269 673 1638, Text: 269 760 8652
email: EngineParts@HeavyEquipmentRestorationParts.com
alternate email: EngineParts2@gmail.com website: www.HeavyEquipmentRestorationParts.com
OLYMPIAN DIESEL GENERATOR ENGINE
Location of engine parts
Front and left side view
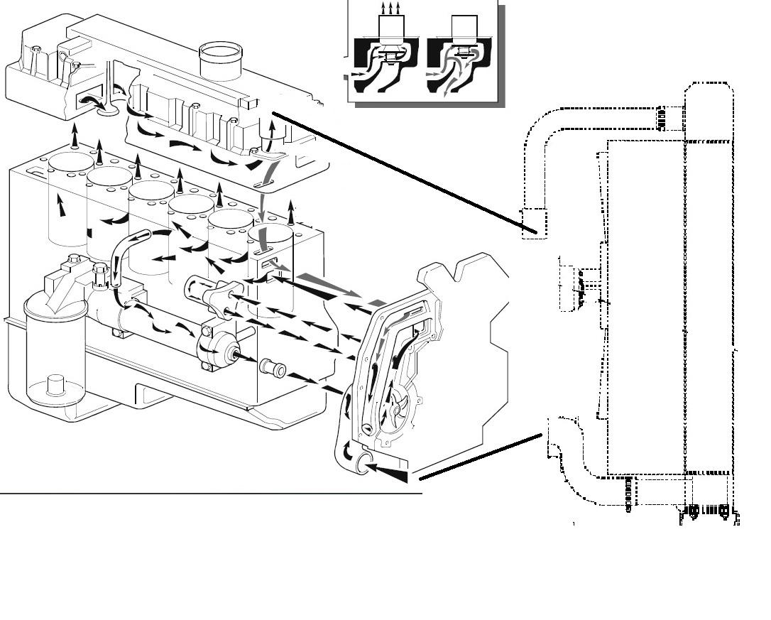
1 Fan, engine cooling fan
2 Wiring harness to the sensor for injection control pressure
3 EOT Engine oil temperature sensor
4 CPS Camshaft position sensor
5 EOP Engine oil pressure sensor
6 Crankshaft damper
7 Oil pan, sump for the engine lubricating oil
8 MAP Sensor, manifold absolute pressure sensor
9 electrical connector for the injector units
10 Fuel supply manifold
11 Lubricating oil filler
12 Engine control module
13 Fuel strainer
14 Canister for the fuel filter
15 Starter motor 16 ICP Injector control pressure sensor
17 IPR Injection pressure regulator, mounted on injection pump

Fuel tube, high pressure fuel injection pump to fuel manifold
Fuel tube, high pressure fuel injection pump to rear of fuel filter housing ICP injector control pressure sensor Fuel return tube, from fuel manifold to rear of fuel filter housing
High pressure fuel injection pump,
IPR Injection pressure regulator, mounted on high pressure fuel injection pump

High pressure fuel hose, high pressure fuel injection pump to fuel manifold
Fuel tube, high pressure fuel injection pump to front of fuel filter housing
New engine parts for Diesel generators and Gas, spark ignited, generators. Located in USA, worldwide parts delivery available. Heavy Equipment Restoration Parts 4730 118th Ave
Fennville Michigan 49408 USA
Phone: 269 673 1638, Text: 269 760 8652
email: EngineParts@HeavyEquipmentRestorationParts.com alternate email: EngineParts2@gmail.com website: www.HeavyEquipmentRestorationParts.com
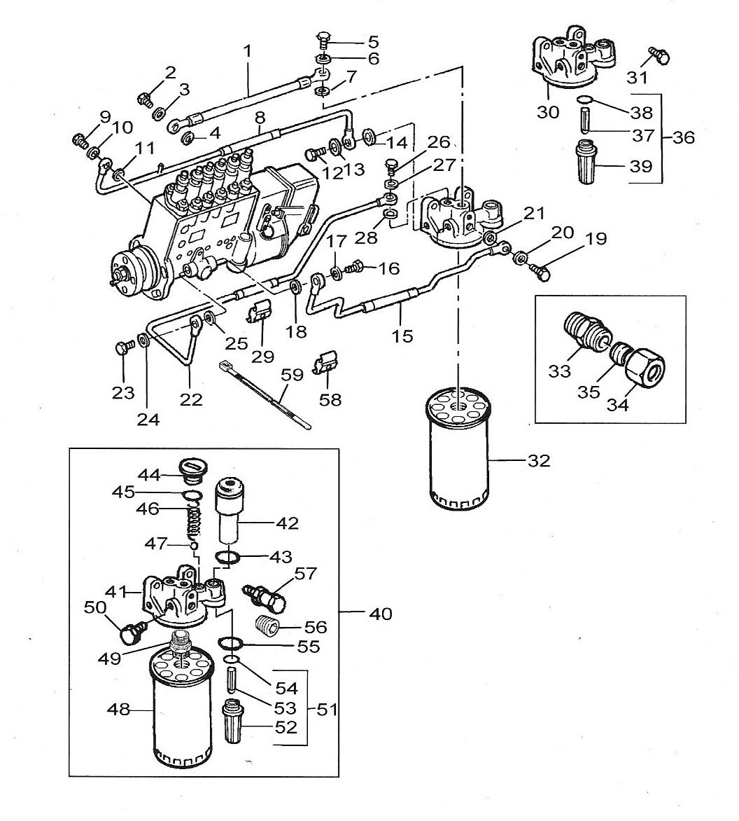
Fuel priming pump, hand fuel pump,

FUEL FLOW
1 Injectors
2 Fuel filter base with fuel primer hand pump
3 Primary fuel filter
4 Secondary fuel filter
5 Injection pump
6 Fuel feed pump Fuel supply pump

1 Fuel return line
8 Fuel return line
15 Fuel line, primary fuel filter to fuel feed pump
22 Fuel line, fuel feed pump to secondary fuel filter,
30 and 41 Fuel filter base with fuel primer hand pump
32 and 48 Secondary fuel filter
42 Fuel primer hand pump
43 Fuel feed pump Fuel supply pump
New engine parts for Diesel generators and Gas, spark ignited, generators. Located in USA, worldwide parts delivery available.
Heavy Equipment Restoration Parts
4730 118th Ave
Fennville Michigan 49408 USA
Phone: 269 673 1638, Text: 269 760 8652
email: EngineParts@HeavyEquipmentRestorationParts.com
alternate email: EngineParts2@gmail.com website: www.HeavyEquipmentRestorationParts.com

